CN210704540U - A tool for high-altitude live remote control electric tightening of wire clamp bolts for transmission lines - Google Patents
A tool for high-altitude live remote control electric tightening of wire clamp bolts for transmission lines Download PDFInfo
- Publication number
- CN210704540U CN210704540U CN201921798610.5U CN201921798610U CN210704540U CN 210704540 U CN210704540 U CN 210704540U CN 201921798610 U CN201921798610 U CN 201921798610U CN 210704540 U CN210704540 U CN 210704540U
- Authority
- CN
- China
- Prior art keywords
- reducer
- controller
- motor
- altitude
- bracket
- Prior art date
- Legal status (The legal status is an assumption and is not a legal conclusion. Google has not performed a legal analysis and makes no representation as to the accuracy of the status listed.)
- Active
Links
Images
Landscapes
- Electric Cable Installation (AREA)
Abstract
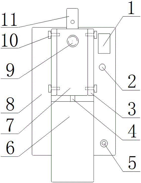
一种输电线路高空带电遥控电动紧固线夹螺栓的工具,主要结构为:控制器(8)上设置有开关(1)、指示灯(2)和充电插口(5),控制器(8)上还固定设置有支架(3),支架(3)内通过螺钉(10)固定设置有减速器(7),减速器(7)的输入轴与电机(6)的输入轴(4)连接,电机(6)固定设置在控制器(8)的壳体上,减速器(7)的壳体上还设置有绝缘杆联接头(9),减速器(7)的输出轴上设置有套筒扳手(11)。本实用新型的有益效果在于:提升工作效率,降低高空作业风险、降低劳动强度、降低安全作业风险;输电线路高空带电遥控电动紧固线夹螺栓工具的使用,解决了传统绝缘盘操作杆费时费力、触电等安全风险问题。
The utility model relates to a high-altitude electrified remote-controlled electric tightening tool for a wire clamp bolt. The main structure is as follows: a controller (8) is provided with a switch (1), an indicator light (2), a charging socket (5), and a controller (8) A bracket (3) is also fixedly arranged on the bracket (3), a reducer (7) is fixedly arranged in the bracket (3) through screws (10), and the input shaft of the reducer (7) is connected with the input shaft (4) of the motor (6), The motor (6) is fixedly arranged on the housing of the controller (8), the housing of the reducer (7) is also provided with an insulating rod coupling head (9), and the output shaft of the reducer (7) is provided with a sleeve Wrench (11). The beneficial effects of the utility model are: improving work efficiency, reducing the risk of high-altitude operation, reducing labor intensity, and reducing the risk of safe operation; the use of high-altitude live remote control electric tightening bolt tools for wire clips solves the problem of time-consuming and labor-intensive traditional insulating disk operating rods , electric shock and other safety risk issues.
Description
技术领域technical field
本发明涉及电网输线路检修施工技术领域,具体地说是一种输电线路高空带电遥控电动紧固线夹螺栓的工具。The invention relates to the technical field of maintenance and construction of power grid transmission lines, in particular to a tool for high-altitude live remote-controlled electric tightening of wire clamp bolts for power transmission lines.
背景技术Background technique
输电线路带电作业工作中,紧固输电线路悬垂线夹螺栓和螺栓型耐张线夹螺栓的工作较难开展。悬垂线夹的螺栓位于悬垂绝缘子正下方,与横担之间相隔一个绝缘子及金具,螺栓型耐张线夹位于距横担边缘约2米导线侧下方,处于检修作业死角,一旦发现线夹螺栓松动,立即要处理缺陷,否则不及时处理缺陷会造成跳闸、断线、倒塔等重大事故。断线、倒塔事故会造成周围人、畜触电死亡,大面积永久性停电等重大事故灾害。普通的登塔作业难以实现悬垂线夹螺栓和螺栓型耐张线夹的螺栓紧固工作,通常需要挂接软梯通过等电位作业的方式进行,在线夹螺栓松动的情况下,挂接软梯进行消缺是非常危险的,螺栓松动会使导线舞动更大,使之断线、倒塔的机率会指数增长,电工处理缺陷的难度、强度、危险度随之也增高。悬垂线夹螺栓和螺栓型耐张线夹的电气螺栓的紧固非常困难,劳动强度大,并存在非常大的安全风险。在同塔双回或多回架设的线路中,因安全距离不足,只能通过申请线路停电才能完成悬垂线夹螺栓和螺栓型耐张线夹的螺栓紧固工作。为解决以上问题,决定在现有绝缘操作杆的基础上进行设计整改,完成悬垂线夹螺栓和螺栓型耐张线夹电气螺栓的带电紧固工作。确保输电线路的安全稳定运行。In the live work of transmission lines, it is difficult to fasten the suspension clamp bolts and bolt-type tension clamp bolts of the transmission line. The bolt of the suspension clamp is located directly under the suspension insulator, separated from the cross arm by an insulator and hardware, and the bolt-type tension clamp is located about 2 meters away from the edge of the cross arm under the wire side, which is in the dead corner of the maintenance operation. Once the clamp bolt is found If it is loose, the defect must be dealt with immediately, otherwise, failure to deal with the defect in time will cause major accidents such as tripping, disconnection, and tower collapse. Accidents such as disconnection and tower collapse will cause the death of surrounding people and animals by electrocution, large-scale permanent power outages and other major accidents and disasters. It is difficult to realize the bolt tightening of suspension clamp bolts and bolt-type tension clamps in ordinary tower climbing operations. Usually, it is necessary to hook up the soft ladder through equipotential operation. When the clamp bolts are loose, hook up the soft ladder to eliminate The defect is very dangerous. Loose bolts will make the wires dance more, so that the probability of disconnection and tower collapse will increase exponentially, and the difficulty, strength and danger of electricians to deal with defects will also increase. Fastening of suspension clamp bolts and electrical bolts of bolt-type tension clamps is very difficult, labor-intensive, and has a very large safety risk. In the double or multi-circuit erected lines on the same tower, due to insufficient safety distance, the bolt tightening of the suspension clamp bolts and the bolt-type tension clamp can only be completed by applying for a power failure of the line. In order to solve the above problems, it is decided to carry out design rectification on the basis of the existing insulating operating rod, and complete the live tightening work of the suspension clamp bolts and the bolt-type tension clamp electrical bolts. Ensure the safe and stable operation of transmission lines.
悬垂线夹螺栓和螺栓型耐张线夹的螺栓松动属危急缺陷,通常通过等电位作业或申请线路停电方式方可消除,带电遥控电动紧固线夹螺栓工具的完善可以解决以上问题,极大地提升输电线路检修效率和供电可靠性。The looseness of the bolts of the suspension clamp bolts and the bolt-type tension clamps is a critical defect, which can usually be eliminated by equipotential operation or applying for line power outage. Improve transmission line maintenance efficiency and power supply reliability.
故研发一种输电线路高空带电遥控电动紧固线夹螺栓的工具,解决悬垂线夹螺栓和螺栓型耐张线夹的螺栓松动而造成断线、倒塔等问题,提升输电作业效率、降低劳动强度、降低安全作业风险。Therefore, a tool for high-altitude live remote-controlled electric tightening of clamp bolts for transmission lines was developed to solve the problems of disconnection and tower collapse caused by loose bolts of suspension clamp bolts and bolt-type tension clamps, improving the efficiency of power transmission operations and reducing labor. strength and reduce the risk of safe operation.
发明内容SUMMARY OF THE INVENTION
根据上述现有技术的不足,本发明提供一种输电线路高空带电遥控电动紧固线夹螺栓的工具,其特征在于:控制器(8)上设置有开关(1)、指示灯(2)和充电插口(5),控制器(8)上还固定设置有支架(3),支架(3)内通过螺钉(10)固定设置有减速器(7),减速器(7)的输入轴与电机(6)的输入轴(4)连接,电机(6)固定设置在控制器(8)的壳体上,减速器(7)的壳体上还设置有绝缘杆联接头(9),减速器(7)的输出轴上设置有套筒扳手(11),控制器(8)内设置有电源,电源分别与电机驱动模块、限流模块、无线传输模块连接,限流模块、无线传输模块分别还与电机驱动模块连接,电机驱动模块与电机连接。According to the above-mentioned deficiencies of the prior art, the present invention provides a high-altitude live remote-controlled electric tightening tool for a wire clamp bolt, which is characterized in that: the controller (8) is provided with a switch (1), an indicator light (2) and A bracket (3) is also fixedly arranged on the charging socket (5) and the controller (8), a reducer (7) is fixedly arranged in the bracket (3) through screws (10), and the input shaft of the reducer (7) and the motor The input shaft (4) of (6) is connected, the motor (6) is fixedly arranged on the casing of the controller (8), and the casing of the reducer (7) is also provided with an insulating rod coupling head (9). The output shaft of (7) is provided with a socket wrench (11), the controller (8) is provided with a power supply, and the power supply is respectively connected with the motor drive module, the current limiting module, and the wireless transmission module, and the current limiting module and the wireless transmission module are respectively connected. It is also connected with the motor drive module, and the motor drive module is connected with the motor.
所述绝缘杆联接头(9)与绝缘杆连接。The insulating rod coupling head (9) is connected with the insulating rod.
主要技术关键点为:The main technical key points are:
完善紧固悬垂线夹螺栓和螺栓型耐张线夹的工具,每套工具通过绝缘操作杆、电动螺栓紧固器、绝缘操作杆升降辅助器、专用套筒、直流电机、驱动模块、电源等配件的配合,实现悬垂线夹螺栓和螺栓型耐张线夹螺栓的紧固,保证足够的扭矩;Perfect tools for tightening suspension clamp bolts and bolt-type tension clamps. Each set of tools is equipped with insulating operating rods, electric bolt tighteners, insulating operating rod lifting aids, special sleeves, DC motors, drive modules, power supplies, etc. The cooperation of accessories can realize the fastening of suspension clamp bolts and bolt-type tension clamp bolts to ensure sufficient torque;
绝缘操作杆升降辅助器采用绝缘绳,上面配置合适的挂钩,满足1380mm、1460mm、1600mm等绝缘子长度型号的需求,满足35kV线路与110kV线路的安全距离;The lifting aid of the insulating operating rod adopts an insulating rope, and is equipped with a suitable hook to meet the requirements of insulator length models such as 1380mm, 1460mm, and 1600mm, and to meet the safety distance between 35kV lines and 110kV lines;
专用套筒选材以合金钢为主要构架,电机具备屏蔽高压电场功能,绝缘操作杆和绝缘操作杆升降辅助器具备足够的机械强度(承力达到15kg以上),经过电气试验并合格。The special sleeve is made of alloy steel as the main frame, the motor has the function of shielding the high-voltage electric field, the insulating operating rod and the insulating operating rod lifting aid have sufficient mechanical strength (the bearing capacity can reach more than 15kg), and it has passed the electrical test and is qualified.
通过遥控器实现电动螺栓紧固器、绝缘操作杆升降辅助器电机的转向可控,确保电机正反转能灵活控制。Through the remote control, the steering of the motor of the electric bolt tightener and the lifting aid of the insulating operating rod can be controlled to ensure that the forward and reverse rotation of the motor can be flexibly controlled.
电流与力矩的结合,达到螺栓紧固程度的远距离测定。The combination of current and torque achieves long-distance determination of bolt tightening degree.
升降辅助器的设计,保证远距离操作装置准确安装到位。The design of the lifting aid ensures that the remote operation device is accurately installed in place.
实现螺栓紧固缺陷带电安全消除,提升设备消缺效率。Realize the safe elimination of bolt tightening defects and improve the efficiency of equipment defect elimination.
本发明的有益效果在于:改进原有的绝缘盘操作杆,加装电动螺栓紧固器、绝缘操作杆升降辅助器,确保高空电工以地电位的方式实现悬垂线夹螺栓和螺栓型耐张线夹的螺栓带电紧固。The beneficial effects of the invention are: improving the original insulating disk operating rod, adding electric bolt fasteners and insulating operating rod lifting aids, to ensure that the high-altitude electrician can realize the suspension clamp bolt and the bolt-type tension wire in the way of ground potential The bolts of the clamps are live-tightened.
主要操作方法关键有以下几点:The main methods of operation are as follows:
1.由一名电工携带传递绳蹬杆或攀爬铁塔到达与需要紧固的电气螺栓(线夹)平行处,并系好安全带及后备保护绳。1. An electrician should carry the transmission rope pedal rod or climb the iron tower to the place parallel to the electric bolt (clamp) to be fastened, and fasten the safety belt and backup protection rope.
2.使用传递绳将操作杆与电动紧固器及操作杆升降辅助器传递至手上。2. Use the transfer rope to transfer the operating rod, electric fastener and operating rod lifting aid to the hand.
3.启动升降辅助器,用绝缘操作杆将升降辅助器挂至横担角铁,利用遥控器启动升降电动按键,调整绝缘操作杆升降至需要紧固螺栓的位置。3. Start the lifting assistant, use the insulating lever to hang the lifting assistant to the cross arm angle iron, use the remote control to start the lifting electric button, and adjust the lifting and lowering of the insulating lever to the position where the bolts need to be tightened.
4.启动电动螺栓紧固器,利用遥控器启动电动螺栓紧固器的紧固或松动按键,可完成工作任务。4. Start the electric bolt tightener, and use the remote control to start the tightening or loosening button of the electric bolt tightener to complete the work task.
5.螺栓型耐张线夹螺栓紧固时,人员需爬至杆塔横担头处,安装悬空绝缘操作杆至线路直角挂板或“U”型环处,为辅助器提供悬挂点,再其进行螺栓紧固工作。通过在直角挂板上加装绝缘操作杆固定器,使之与耐张绝缘子水平方向成一定的夹角,绝缘操作杆头部装有挂钩,挂钩与绝缘操作杆升降辅助器挂钩相联,使之在相应螺栓型悬垂线夹正上方,绝缘操作杆中的绝缘绳与高空带电遥控电动紧固线夹螺栓工具的绝缘操作杆相联,由一名电工持高空带电遥控电动紧固线夹螺栓工具的绝缘操作杆操作,进行螺栓型耐张线夹松动螺栓紧固。5. When the bolt-type tension clamp is fastened, personnel need to climb to the cross-arm head of the tower and install the suspended insulating operating rod to the right-angle hanging plate or "U" ring of the line to provide a suspension point for the auxiliary device. Carry out bolt tightening work. By installing the insulating operating rod holder on the right-angle hanging plate to make it form a certain angle with the horizontal direction of the tensile insulator, the head of the insulating operating rod is equipped with a hook, and the hook is connected with the hook of the lifting aid of the insulating operating rod, so that the Just above the corresponding bolt-type suspension clamp, the insulating rope in the insulating operating rod is connected with the insulating operating rod of the high-altitude live remote control electric tightening clamp bolt tool, and an electrician holds the high-altitude live remote control electric tightening clamp bolt The tool's insulating lever is operated to loosen and tighten the bolt-type tension clamp.
6.以上工作由一名电工完成。6. The above work is done by an electrician.
提升工作效率,降低高空作业风险、降低劳动强度、降低安全作业风险;输电线路高空带电遥控电动紧固线夹螺栓工具的使用,解决了传统绝缘盘操作杆费时费力、触电等安全风险问题。Improve work efficiency, reduce the risk of high-altitude operation, reduce labor intensity, and reduce the risk of safe operation; the use of high-altitude live remote control electric fastening bolt tools for power transmission lines solves the time-consuming and labor-intensive, electric shock and other safety risks of traditional insulating disk operating rods.
附图说明Description of drawings
图1为本发明结构示意图;Fig. 1 is the structural representation of the present invention;
图2为本发明控制器的电路模块图;Fig. 2 is the circuit block diagram of the controller of the present invention;
图3为本发明实施例1的主视图;3 is a front view of
图4为实施例1的左视图;Fig. 4 is the left side view of
图5为实施例1的俯视图;Fig. 5 is the top view of
图6为实施例1的电路模块图;6 is a circuit block diagram of
图7为本发明的使用状态图。FIG. 7 is a use state diagram of the present invention.
其中:1、开关,2、指示灯,3、支架,4、输入轴,5、充电插口,6、电机,7、减速器,8、控制器,9、绝缘杆联接头,10、螺钉,11、套筒扳手;1-1、开关,2-1、指示灯,3-1、挂环,4-1、辅助器,5-1、充电插口,6-1、螺钉,7-1、角钢挂钩,8-1、开口,9-1、绝缘绳。Among them: 1, switch, 2, indicator light, 3, bracket, 4, input shaft, 5, charging socket, 6, motor, 7, reducer, 8, controller, 9, insulating rod joint, 10, screw, 11. Socket wrench; 1-1, switch, 2-1, indicator light, 3-1, hanging ring, 4-1, auxiliary device, 5-1, charging socket, 6-1, screw, 7-1, Angle steel hook, 8-1, opening, 9-1, insulating rope.
具体实施方式Detailed ways
实施例1,本发明提供一种输电线路高空带电遥控电动紧固线夹螺栓的工具,其特征在于:控制器(8)上设置有开关(1)、指示灯(2)和充电插口(5),控制器(8)上还固定设置有支架(3),支架(3)内通过螺钉(10)固定设置有减速器(7),减速器(7)的输入轴与电机(6)的输入轴(4)连接,电机(6)固定设置在控制器(8)的壳体上,减速器(7)的壳体上还设置有绝缘杆联接头(9),减速器(7)的输出轴上设置有套筒扳手(11),控制器(8)内设置有电源,电源分别与电机驱动模块、限流模块、无线传输模块连接,限流模块、无线传输模块分别还与电机驱动模块连接,电机驱动模块与电机连接。
所述绝缘杆联接头(9)与绝缘杆连接。The insulating rod coupling head (9) is connected with the insulating rod.
一种绝缘操作杆升降辅助器工具,其结构为:辅助器(4-1)上设置有开关(1-1)、指示灯(2-1)和充电插口(5-1),辅助器(4-1)的正面固定设置有挂环(3-1),辅助器(4-1)的后面通过螺钉(6-1)固定有角钢挂钩(7-1),辅助器(4-1)底部设置有开口(8-1),开口(8-1)内有绝缘绳(9-1),辅助器(4-1)内设置有电源,电源分别与电机驱动模块、无线传输模块连接,无线传输模块还与电机驱动模块连接,电机驱动模块与电机连接,电机带动绞盘,绝缘绳(9-1)缠绕在绞盘上。An insulating operating rod lifting aid tool, the structure of which is as follows: a switch (1-1), an indicator light (2-1) and a charging socket (5-1) are arranged on the aid (4-1); The front of 4-1) is fixed with a hanging ring (3-1), the rear of the auxiliary device (4-1) is fixed with an angle steel hook (7-1) through screws (6-1), and the auxiliary device (4-1) An opening (8-1) is arranged at the bottom, an insulating rope (9-1) is arranged in the opening (8-1), and a power supply is arranged in the auxiliary device (4-1), and the power supply is respectively connected with the motor drive module and the wireless transmission module. The wireless transmission module is also connected with the motor drive module, the motor drive module is connected with the motor, the motor drives the winch, and the insulating rope (9-1) is wound on the winch.
所述绝缘绳(9-1)由绝缘材料制成。The insulating rope (9-1) is made of insulating material.
一种绝缘操作杆升降辅助器工具辅助一种输电线路高空带电遥控电动紧固线夹螺栓的工具使用的,具体为绝缘绳(9-1)将连接输电线路高空带电遥控电动紧固线夹螺栓的工具的绝缘杆固定起来,起到省时、省力的作用。An insulating operating rod lifting aid tool is used to assist a tool used for high-altitude live remote-controlled electric tightening of wire clip bolts on power transmission lines, specifically an insulating rope (9-1) connecting the high-altitude live live remote control electric tightening wire clip bolts of power transmission lines The insulating rod of the tool is fixed, which saves time and effort.
Claims (2)
Priority Applications (1)
| Application Number | Priority Date | Filing Date | Title |
|---|---|---|---|
| CN201921798610.5U CN210704540U (en) | 2019-10-24 | 2019-10-24 | A tool for high-altitude live remote control electric tightening of wire clamp bolts for transmission lines |
Applications Claiming Priority (1)
| Application Number | Priority Date | Filing Date | Title |
|---|---|---|---|
| CN201921798610.5U CN210704540U (en) | 2019-10-24 | 2019-10-24 | A tool for high-altitude live remote control electric tightening of wire clamp bolts for transmission lines |
Publications (1)
| Publication Number | Publication Date |
|---|---|
| CN210704540U true CN210704540U (en) | 2020-06-09 |
Family
ID=70959523
Family Applications (1)
| Application Number | Title | Priority Date | Filing Date |
|---|---|---|---|
| CN201921798610.5U Active CN210704540U (en) | 2019-10-24 | 2019-10-24 | A tool for high-altitude live remote control electric tightening of wire clamp bolts for transmission lines |
Country Status (1)
| Country | Link |
|---|---|
| CN (1) | CN210704540U (en) |
Cited By (1)
| Publication number | Priority date | Publication date | Assignee | Title |
|---|---|---|---|---|
| CN110653741A (en) * | 2019-10-24 | 2020-01-07 | 国网青海省电力公司西宁供电公司 | Tool for electrically fastening clamp bolt in overhead electrified remote control of power transmission line |
-
2019
- 2019-10-24 CN CN201921798610.5U patent/CN210704540U/en active Active
Cited By (1)
| Publication number | Priority date | Publication date | Assignee | Title |
|---|---|---|---|---|
| CN110653741A (en) * | 2019-10-24 | 2020-01-07 | 国网青海省电力公司西宁供电公司 | Tool for electrically fastening clamp bolt in overhead electrified remote control of power transmission line |
Similar Documents
| Publication | Publication Date | Title |
|---|---|---|
| CN110854739B (en) | Overhead transmission line electricity testing grounding method based on unmanned aerial vehicle | |
| CN105914646B (en) | Working method for replacing 35kV tension insulator strings with power on | |
| CN103066526A (en) | Grounding wire method applied to high-tension transmission line and separated type grounding tool | |
| CN204144479U (en) | A kind of earth connection | |
| CN103368110B (en) | The charged installation and removal construction method of non-bearing connecting clip | |
| CN203674624U (en) | A sleeve-type combination tool for fastening and draining wire clips | |
| CN110653741A (en) | Tool for electrically fastening clamp bolt in overhead electrified remote control of power transmission line | |
| CN210704540U (en) | A tool for high-altitude live remote control electric tightening of wire clamp bolts for transmission lines | |
| CN210957558U (en) | Lifting assistor tool for insulated operating rod | |
| CN211238572U (en) | ground clip | |
| CN210040624U (en) | A remote control electric multipurpose power line grounding wire | |
| CN104348122B (en) | Ground potential mounting type shunt wire clamp device and mounting method thereof | |
| CN110649507A (en) | An anti-vibration hammer replacement system for transmission lines | |
| CN204030026U (en) | Gravity self-locking formula Anti-dropping earthing clip | |
| CN209626447U (en) | A kind of transformer substation grounding wire extended line connector | |
| CN202846443U (en) | Electrified overhauling wrench | |
| CN103388418B (en) | Utilize the method for transmission line of electricity non-self-supporting tower bracing wire repairing and backup protection type connector connecting stay wire | |
| CN110601077A (en) | Lifting assistor tool for insulated operating rod | |
| CN110854644A (en) | Grounding device and grounding method for substation equipment externally mounted on unmanned aerial vehicle | |
| CN205385267U (en) | Parallel groove clamp for power transmission and transformation | |
| CN210779813U (en) | Special tool for adjusting sag of 220kV vertically-arranged double-bundle conductor in electrified manner | |
| CN205882560U (en) | Special circulation cord rack device of distribution live working earth potential | |
| CN206022675U (en) | Universal shaped cable clamp earth lead | |
| CN108847617A (en) | The device and method of UHV transmission line live-line replacing strain wire jumper insulator chain | |
| CN209434754U (en) | Replace the combination tool of direct current grounding pole route suspension string |
Legal Events
| Date | Code | Title | Description |
|---|---|---|---|
| GR01 | Patent grant | ||
| GR01 | Patent grant |
