CN210700545U - Superfine grinding device is used in chinese herbal medicine processing - Google Patents
Superfine grinding device is used in chinese herbal medicine processing Download PDFInfo
- Publication number
- CN210700545U CN210700545U CN202020643095.XU CN202020643095U CN210700545U CN 210700545 U CN210700545 U CN 210700545U CN 202020643095 U CN202020643095 U CN 202020643095U CN 210700545 U CN210700545 U CN 210700545U
- Authority
- CN
- China
- Prior art keywords
- pulverizing
- cavity
- chamber
- groove
- discharge pipe
- Prior art date
- Legal status (The legal status is an assumption and is not a legal conclusion. Google has not performed a legal analysis and makes no representation as to the accuracy of the status listed.)
- Expired - Fee Related
Links
Images
Landscapes
- Disintegrating Or Milling (AREA)
Abstract
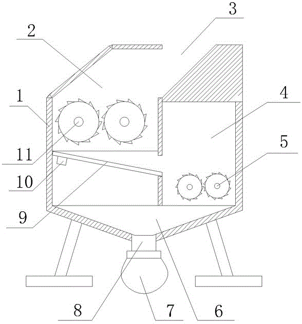
本实用新型公开了一种中草药加工用超微粉碎装置,包括粉碎室,粉碎室上设有进料口,粉碎室的内部的上端设有粉碎腔一,粉碎腔一内设有两个相邻的粉碎齿一,粉碎腔一的下端设有倾斜的过滤网,过滤网上设有振动器,粉碎室内设有与粉碎腔一相通的粉碎腔二,粉碎腔二内设有两个相邻的粉碎齿二,粉碎室内部的下端设有收集腔,收集腔的下端设有出料管,出料管远离收集腔的一端设有凹槽,凹槽的一端指向出料管远离收集腔的端面,凹槽的另一端垂直设置有与其相通的容纳腔,物料收集袋的上端设有环形连接块,环形连接块的内壁上设有与凹槽和容纳腔形状相适配的突出部。本实用新型物料粉碎效果好,物料收集袋和出料管之间的固定和拆开方便,工作效率高。
The utility model discloses an ultra-fine pulverizing device for processing Chinese herbal medicine, which comprises a pulverizing chamber, a feeding port is arranged on the pulverizing chamber, a pulverizing chamber is arranged at the upper end of the inner part of the pulverizing chamber, and two adjacent pulverizing chambers are arranged in the first pulverizing chamber. The first grinding tooth, the lower end of the grinding chamber one is provided with an inclined filter screen, the filter screen is provided with a vibrator, the grinding chamber is provided with a grinding chamber two that communicates with the grinding chamber one, and two adjacent grinding Tooth 2, the lower end of the crushing chamber is provided with a collection cavity, the lower end of the collection cavity is provided with a discharge pipe, the end of the discharge pipe away from the collection cavity is provided with a groove, and one end of the groove points to the end face of the discharge pipe away from the collection cavity, The other end of the groove is vertically provided with a accommodating cavity communicating with it, the upper end of the material collection bag is provided with an annular connecting block, and the inner wall of the annular connecting block is provided with a protrusion adapted to the shape of the groove and the accommodating cavity. The material crushing effect of the utility model is good, the fixing and disassembling between the material collecting bag and the discharging pipe are convenient, and the working efficiency is high.
Description
技术领域technical field
本实用新型涉及粉碎装置技术领域,具体涉及一种中草药加工用超微粉碎装置。The utility model relates to the technical field of pulverizing devices, in particular to an ultrafine pulverizing device for processing Chinese herbal medicines.
背景技术Background technique
粉碎是借助机械力将大块固体物质碎成适当细度的操作过程;粉碎的目的主要有:增加药物的表面积,促进药物溶解;有利于制备各种药物剂型;加速药材中有效成分的溶解;便于调配、服用和发挥药效;便于新鲜药材的干燥和贮存,因此药物粉碎具有重要的意义,而药物粉碎过程中需要使用粉碎机,使用粉碎机能实现药物的快速粉碎,更有利于药物的规模化生产。Pulverization is an operation process in which large solid materials are broken into appropriate fineness by mechanical force; the main purposes of pulverization are: to increase the surface area of the drug, to promote the dissolution of the drug; to facilitate the preparation of various pharmaceutical dosage forms; to accelerate the dissolution of active ingredients in medicinal materials; It is easy to prepare, take and exert the effect of medicine; it is convenient for the drying and storage of fresh medicinal materials, so the pulverization of medicine is of great significance, and the pulverizer is needed in the process of pulverizing the medicine. production.
但是现有的粉碎装置只有单一的粉碎机构,造成粉碎不均匀使得粉碎物料需要重新粉碎,这就导致效率较低,并且在完成粉碎后需要对物料进行收集,传统的粉碎物料的收集是通过在混料机上的出料管上用铁丝固定一个物料收集袋,经常会发生由于铁丝松动而导致整个物料收集袋掉落,从而导致后面的物料直接掉落在地面上直接与地面上的灰尘接触,造成对物料的污染,而且,采用铁丝固定的方式固定和拆开都非常的麻烦,大大降低了工作效率。However, the existing pulverizing device only has a single pulverizing mechanism, resulting in uneven pulverization and requiring re-pulverization of the pulverized materials, which leads to low efficiency, and the materials need to be collected after the pulverization is completed. A material collection bag is fixed with iron wire on the discharge pipe on the mixer. It often happens that the whole material collection bag falls due to the loose iron wire, which causes the material behind to fall directly on the ground and directly contact with the dust on the ground. It causes pollution to the material, and it is very troublesome to fix and disassemble by means of wire fixing, which greatly reduces the work efficiency.
发明内容SUMMARY OF THE INVENTION
本实用新型所要解决的问题是:提供一种中草药加工用超微粉碎装置,物料粉碎效果好,物料收集袋和出料管之间的固定和拆开方便,工作效率高。The problem to be solved by the utility model is: to provide an ultra-fine pulverizing device for processing Chinese herbal medicine, which has good material pulverizing effect, convenient fixing and disassembling between the material collecting bag and the discharging pipe, and high working efficiency.
本实用新型为解决上述问题所提供的技术方案为:一种中草药加工用超微粉碎装置,包括粉碎室,所述粉碎室上设有进料口,所述粉碎室的内部的上端设有粉碎腔一,还包括物料收集袋,所述粉碎腔一内设有两个相邻的粉碎齿一,所述粉碎腔一的下端设有倾斜的过滤网,所述过滤网上设有振动器,所述粉碎室内设有与所述粉碎腔一相通的粉碎腔二,所述粉碎腔二内设有两个相邻的粉碎齿二,所述粉碎室内部的下端设有收集腔,所述收集腔的下端设有出料管,所述出料管远离收集腔的一端设有凹槽,所述凹槽沿着所述出料管的轴向设置,所述凹槽的一端指向出料管远离所述收集腔的端面,所述凹槽的另一端垂直设置有与其相通的容纳腔,所述物料收集袋的上端设有环形连接块,所述环形连接块的内壁上设有与所述凹槽和容纳腔形状相适配的突出部。The technical scheme provided by the utility model to solve the above problems is as follows: an ultra-fine pulverizing device for processing Chinese herbal medicine, comprising a pulverizing chamber, a feeding port is arranged on the pulverizing chamber, and a pulverizing chamber is arranged on the upper end of the inner part of the pulverizing chamber The first cavity also includes a material collection bag. There are two adjacent pulverizing
优选的,所述环形连接块和所述物料收集袋为一体成型结构。采用一体成型的结构能够使得环形连接块和所述物料收集袋之间的连接更加的稳定,提升使用寿命。Preferably, the annular connecting block and the material collection bag are integrally formed. The use of an integrally formed structure can make the connection between the annular connecting block and the material collection bag more stable and improve the service life.
优选的,所述凹槽和容纳腔的结构有两对,分别设置在所述出料管的两侧,所述突出部为两个且分别与所述两对凹槽和容纳腔的结构的位置相对应。通过设置两对凹槽和容纳腔的结构和两个突出部,两个突出部分别与凹槽和容纳腔配合,使得环形连接块与出料管之间的连接更加的稳定,不易失效。Preferably, there are two pairs of the structures of the grooves and the accommodating cavity, which are respectively arranged on both sides of the discharge pipe, and the two protruding parts are respectively matched with the structures of the two pairs of grooves and the accommodating cavity. corresponding to the location. By setting the structure of two pairs of grooves and accommodating cavity and two protruding parts, the two protruding parts cooperate with the groove and the accommodating cavity respectively, so that the connection between the annular connecting block and the discharge pipe is more stable and not easy to fail.
与现有技术相比,本实用新型的优点是:本实用新型通过设置粉碎腔一和粉碎腔二,经过粉碎腔一内的粉碎齿一进行首次粉碎,符合规格的物料经过过滤网进入到收集腔内,不符合规格的物料从倾斜的过滤网滑落到粉碎腔二内,经过粉碎腔二内的粉碎齿的再次粉碎,使得物料达标,粉碎效果更好;本实用新型通过在出料管上设置凹槽和容纳腔的结构,并且在环形连接块上设置与凹槽和容纳腔的结构相适配的突出块,当需要对物料进行收集时,只需要将突出块对准环形连接块上的凹槽,然后往上用力,将突出块推入到凹槽内,推到凹槽的底部之后,然后旋转环形连接块,将突出部旋入到容纳腔内从而完成环形连接块与出料管的固定,在需要取下物料收集袋的时候,只需要将环形连接块往反方向旋转,然后向下施力将环形连接块与出料管脱离,结构简单,物料收集袋和出料管之间的固定和拆开方便,工作效率高,固定不容易失效。Compared with the prior art, the advantages of the present utility model are as follows: the utility model is provided with a crushing
附图说明Description of drawings
此处所说明的附图用来提供对本实用新型的进一步理解,构成本实用新型的一部分,本实用新型的示意性实施例及其说明用于解释本实用新型,并不构成对本实用新型的不当限定。The accompanying drawings described here are used to provide a further understanding of the present utility model and constitute a part of the present utility model. The schematic embodiments of the present utility model and their descriptions are used to explain the present utility model and do not constitute an improper limitation to the present utility model. .
图1是本实用新型的整体结构示意图;Fig. 1 is the overall structure schematic diagram of the present utility model;
图2是本实用新型出料管、环形连接块和物料收集袋的放大示意图;Fig. 2 is the enlarged schematic diagram of the discharge pipe, the annular connecting block and the material collection bag of the present invention;
附图标注:1、粉碎室,2、粉碎腔一,3、进料口,4、粉碎腔二,5、粉碎齿二,6、收集腔,7、物料收集袋,8、出料管,9、过滤网,10、振动器,11、粉碎齿一,12、容纳腔,13、凹槽,14、突出部,15、环形连接块。Notes on the drawings: 1. Crushing chamber, 2. Crushing
具体实施方式Detailed ways
以下将配合附图及实施例来详细说明本实用新型的实施方式,借此对本实用新型如何应用技术手段来解决技术问题并达成技术功效的实现过程能充分理解并据以实施。The embodiments of the present invention will be described in detail below with reference to the accompanying drawings and examples, so as to fully understand and implement the implementation process of how the present invention applies technical means to solve technical problems and achieve technical effects.
本实用新型的具体实施例如图1和图2所示,一种中草药加工用超微粉碎装置,包括粉碎室1,所述粉碎室1上设有进料口3,所述粉碎室1的内部的上端设有粉碎腔一2,还包括物料收集袋7,所述粉碎腔一2内设有两个相邻的粉碎齿一11,所述粉碎腔一2的下端设有倾斜的过滤网9,所述过滤网9上设有振动器10,所述粉碎室1内设有与所述粉碎腔一2相通的粉碎腔二4,所述粉碎腔二4内设有两个相邻的粉碎齿二5,所述粉碎室1内部的下端设有收集腔6,所述收集腔6的下端设有出料管8,所述出料管8远离收集腔6的一端设有凹槽13,所述凹槽13沿着所述出料管8的轴向设置,所述凹槽13的一端指向出料管8远离所述收集腔6的端面,所述凹槽13的另一端垂直设置有与其相通的容纳腔12,所述物料收集袋7的上端设有环形连接块15,所述环形连接块15的内壁上设有与所述凹槽13和容纳腔12形状相适配的突出部14。A specific embodiment of the present invention is shown in FIG. 1 and FIG. 2 , an ultra-fine pulverizing device for processing Chinese herbal medicine, including a pulverizing
作为本实用新型的另一个实施例,所述环形连接块15和所述物料收集袋7为一体成型结构。As another embodiment of the present invention, the annular connecting
作为本实用新型的另一个实施例,所述凹槽13和容纳腔12的结构有两对,分别设置在所述出料管8的两侧,所述突出部14为两个且分别与所述两对凹槽13和容纳腔12的结构的位置相对应。As another embodiment of the present invention, the
以上仅就本实用新型的最佳实施例作了说明,但不能理解为是对权利要求的限制。本实用新型不仅局限于以上实施例,其具体结构允许有变化。凡在本实用新型独立权利要求的保护范围内所作的各种变化均在本实用新型保护范围内。The above only describes the best embodiment of the present utility model, but should not be construed as a limitation on the claims. The present invention is not limited to the above embodiments, and its specific structure is allowed to be changed. All changes made within the protection scope of the independent claims of the present utility model are all within the protection scope of the present utility model.
Claims (3)
Priority Applications (1)
| Application Number | Priority Date | Filing Date | Title |
|---|---|---|---|
| CN202020643095.XU CN210700545U (en) | 2020-05-09 | 2020-05-09 | Superfine grinding device is used in chinese herbal medicine processing |
Applications Claiming Priority (1)
| Application Number | Priority Date | Filing Date | Title |
|---|---|---|---|
| CN202020643095.XU CN210700545U (en) | 2020-05-09 | 2020-05-09 | Superfine grinding device is used in chinese herbal medicine processing |
Publications (1)
| Publication Number | Publication Date |
|---|---|
| CN210700545U true CN210700545U (en) | 2020-06-09 |
Family
ID=70957834
Family Applications (1)
| Application Number | Title | Priority Date | Filing Date |
|---|---|---|---|
| CN202020643095.XU Expired - Fee Related CN210700545U (en) | 2020-05-09 | 2020-05-09 | Superfine grinding device is used in chinese herbal medicine processing |
Country Status (1)
| Country | Link |
|---|---|
| CN (1) | CN210700545U (en) |
-
2020
- 2020-05-09 CN CN202020643095.XU patent/CN210700545U/en not_active Expired - Fee Related
Similar Documents
| Publication | Publication Date | Title |
|---|---|---|
| CN109569839B (en) | Medicine crushing device for medicine analysis and crushing method thereof | |
| CN207238082U (en) | A kind of pulverizing medicinal materials device | |
| CN110124827A (en) | Portable automatic oral medicine flour mill | |
| CN109225412A (en) | Horizontal rolling type kudzu vine root smashing and separating processing integrated machine | |
| CN209379159U (en) | A pharmaceutical intermediate crushing device | |
| CN210700545U (en) | Superfine grinding device is used in chinese herbal medicine processing | |
| CN208146131U (en) | A kind of processing unit (plant) of medicine medication powder | |
| CN207357326U (en) | A kind of integral type for traditional Chinese powder medicine production crushes and screens device | |
| CN211099250U (en) | Traditional Chinese medicine pulverizer | |
| CN202460789U (en) | Secondary Coal Crushing System | |
| CN205462642U (en) | Mineral substance fuel rubbing crusher | |
| CN205308479U (en) | Sophora alopecuroide rubbing crusher | |
| CN104759314B (en) | A kind of medical grinder | |
| CN208612646U (en) | It is a kind of for medicament production drug be pulverized and mixed device | |
| CN207667734U (en) | A kind of replaceable pulverizer for crushing Saw blade | |
| CN211463385U (en) | A kind of traditional Chinese medicine ultrafine pulverizer | |
| CN206152875U (en) | Flour milling machine | |
| CN208177578U (en) | A kind of Chinese medicine material crushing machine tool equipment | |
| CN209531094U (en) | A fluidized bed jet mill | |
| CN211801138U (en) | A crushing and screening system for preparing high-purity graphite | |
| CN213102378U (en) | Classifying type medicinal material pulverizer | |
| CN222034539U (en) | A kind of ointment raw material crushing device | |
| CN221638381U (en) | Traditional Chinese medicine reducing mechanism is used in animal remedy preparation | |
| CN207325004U (en) | A kind of lapping device of solid drugs | |
| CN217249639U (en) | A medicinal material pulverizer with screening function |
Legal Events
| Date | Code | Title | Description |
|---|---|---|---|
| GR01 | Patent grant | ||
| GR01 | Patent grant | ||
| CF01 | Termination of patent right due to non-payment of annual fee | ||
| CF01 | Termination of patent right due to non-payment of annual fee |
Granted publication date: 20200609 |
