CN210667182U - Movable environmental protection traffic signal lamp - Google Patents

Movable environmental protection traffic signal lamp Download PDF

Info

Publication number
CN210667182U
CN210667182U CN201921952437.XU CN201921952437U CN210667182U CN 210667182 U CN210667182 U CN 210667182U CN 201921952437 U CN201921952437 U CN 201921952437U CN 210667182 U CN210667182 U CN 210667182U
Authority
CN
China
Prior art keywords
fixedly connected
signal lamp
traffic signal
base
worm
Prior art date
Legal status (The legal status is an assumption and is not a legal conclusion. Google has not performed a legal analysis and makes no representation as to the accuracy of the status listed.)
Expired - Fee Related
Application number
CN201921952437.XU
Other languages
Chinese (zh)
Inventor
刘亮
陈志祥
管小兰
Current Assignee (The listed assignees may be inaccurate. Google has not performed a legal analysis and makes no representation or warranty as to the accuracy of the list.)
Jiangsu Shiyuan Transportation Engineering Co ltd
Original Assignee
Jiangsu Shiyuan Transportation Engineering Co ltd
Priority date (The priority date is an assumption and is not a legal conclusion. Google has not performed a legal analysis and makes no representation as to the accuracy of the date listed.)
Filing date
Publication date
Application filed by Jiangsu Shiyuan Transportation Engineering Co ltd filed Critical Jiangsu Shiyuan Transportation Engineering Co ltd
Priority to CN201921952437.XU priority Critical patent/CN210667182U/en
Application granted granted Critical
Publication of CN210667182U publication Critical patent/CN210667182U/en
Expired - Fee Related legal-status Critical Current
Anticipated expiration legal-status Critical

Links

Images

Landscapes

  • Traffic Control Systems (AREA)

Abstract

本实用新型涉及交通信号灯技术领域,尤其涉及一种可移动式环保交通信号灯,包括底座、安装板、驱动电机、转轴、蜗杆、蜗轮、L形杆、活动杆、升降板和万向轮,所述底座的底部为开口状,所述安装板固定连接在底座内部的中部,所述驱动电机通过支撑架固定连接在安装板顶部的中部,所述转轴固定连接在驱动电机的输出轴上,所述转轴的底部贯穿并延伸至安装板的底部,所述蜗杆固定连接在转轴的底部。该实用新型L形杆向上移动,会通过活动杆使得升降板向上移动,使得万向轮收缩至底座的内部,使得底座的底部与地面接触,提高与地面的接触面积,保证了本实用新型的稳定性,防止交通信号灯出现位移的情况,提高了安全性。

Figure 201921952437

The utility model relates to the technical field of traffic signal lamps, in particular to a movable environmental protection traffic signal lamp, which comprises a base, a mounting plate, a driving motor, a rotating shaft, a worm, a worm wheel, an L-shaped rod, a movable rod, a lifting plate and a universal wheel. The bottom of the base is open, the mounting plate is fixedly connected to the middle of the base, the drive motor is fixedly connected to the middle of the top of the mounting plate through the support frame, and the rotating shaft is fixedly connected to the output shaft of the drive motor. The bottom of the rotating shaft penetrates and extends to the bottom of the mounting plate, and the worm is fixedly connected to the bottom of the rotating shaft. The L-shaped rod of the utility model moves upward, and the lifting plate moves upward through the movable rod, so that the universal wheel shrinks to the inside of the base, so that the bottom of the base is in contact with the ground, and the contact area with the ground is improved, so as to ensure the safety of the utility model. Stability, prevents traffic lights from shifting and improves safety.

Figure 201921952437

Description

Movable environmental protection traffic signal lamp
Technical Field
The utility model relates to a traffic signal lamp technical field especially relates to a movable environmental protection traffic signal lamp.
Background
At the crossroad, all hanging red, yellow, green, three-colour traffic signal lamp on the four sides, it is "traffic police" that does not make a sound, and the traffic lights is international unified traffic signal lamp, and the red light is stop signal, and the green light is the signal of passing, and the crossroad, the car that several directions come all collect here, and some will go straight, and some will turn round, let who walk earlier on the end, and this is exactly to listen to the traffic lights and command, and the traffic signal lamp divide into: motor vehicle signal lamps, non-motor vehicle signal lamps, pedestrian crossing signal lamps, direction indicating lamps, lane signal lamps, flashing warning signal lamps, road and railway plane crossing signal lamps and the like.
Traffic signal lamp's appearance makes the traffic effectively control, to dredging the traffic flow, improve road traffic capacity, it has obvious effect to reduce the traffic accident, when the traffic signal lamp of suspension type breaks down, can adopt portable simple and easy traffic signal lamp to do emergent use, present portable traffic signal lamp adopts the gyro wheel to remove, however the gyro wheel supports traffic signal lamp, can make to support traffic signal lamp and place the unstability, the condition of displacement appears easily, there is certain potential safety hazard.
SUMMERY OF THE UTILITY MODEL
Technical problem to be solved
Not enough to prior art, the utility model provides a movable environmental protection traffic signal lamp possesses the stable advantage of being convenient for, has solved the gyro wheel and has supported traffic signal lamp, can make to support traffic signal lamp and place the unstability, and the condition of displacement appears easily, has the problem of certain potential safety hazard.
(II) technical scheme
In order to realize the technical problem, the utility model provides a movable environmental-friendly traffic signal lamp, which comprises a base, a mounting plate, a driving motor, a rotating shaft, a worm wheel, an L-shaped rod, a movable rod, a lifting plate and a universal wheel, wherein the bottom of the base is in an open shape, the mounting plate is fixedly connected at the middle part inside the base, the driving motor is fixedly connected at the middle part of the top of the mounting plate through a support frame, the rotating shaft is fixedly connected on an output shaft of the driving motor, the bottom of the rotating shaft penetrates through and extends to the bottom of the mounting plate, the worm is fixedly connected at the bottom of the rotating shaft, the worm wheel is fixedly connected at the bottom of the mounting plate through a support seat, teeth of the worm wheel are meshed with teeth of the worm, the L-shaped rod is fixedly connected at one side of the worm wheel, the lifter plate swing joint is in the bottom of movable rod, the quantity of universal wheel is four, four universal wheel fixed connection is in the four corners department of lifter plate bottom.
Further, a strip-shaped groove is formed in the top of the mounting plate and penetrates through the mounting plate, the strip-shaped groove is located right above the L-shaped rod, and the width of the strip-shaped groove is larger than that of the L-shaped rod.
Further, the sliding sleeves are inlaid on two sides of the interior of the lifting plate, the sliding rods are fixedly connected to the bottom of the mounting plate, and the bottoms of the sliding rods penetrate through the sliding sleeves and extend to the bottom of the lifting plate.
Furthermore, the bottom of the slide bar is fixedly connected with a cross bar, and one end of the cross bar is fixedly connected to the inner wall of the base.
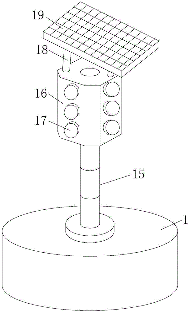
Further, the middle part fixedly connected with stand at base top, the top fixedly connected with installing frame of stand, fixedly connected with signal lamp on the installing frame.
Further, the top fixedly connected with bracing piece of installing frame, the top fixedly connected with solar panel of bracing piece.
(III) advantageous effects
The utility model provides a movable environmental protection traffic signal lamp possesses following beneficial effect:
1. this movable environmental protection traffic signal lamp, through the mounting panel, driving motor, the apparatus further comprises a rotating shaft, the worm wheel, L shape pole, the movable rod, the cooperation of lifter plate and universal wheel is used, driving motor clockwise operation, it is rotatory to drive the worm through the pivot, the teeth of a cogwheel of worm wheel can roll along the helicoid of worm, and then drive L shape pole rebound, make lifter plate rebound through the movable rod, make the universal wheel shrink to the inside of base, make the bottom and the ground contact of base, improve the area of contact with ground, guaranteed the utility model discloses a stability prevents that the condition of displacement from appearing in traffic signal lamp, has improved the security.
2. This movable environmental protection traffic signal lamp uses through the cooperation of sliding sleeve, slide bar and horizontal pole, when the lifter plate reciprocates, can make the horizontal pole at the slip about the inside wall of sliding sleeve, has guaranteed the stability when the lifter plate reciprocates.
3. This movable environmental protection traffic signal lamp, through the setting in bar groove, the bar groove is located L shape pole directly over, can be so that L shape pole wobbling more steady, simultaneously, is convenient for adjust reciprocating of lifter plate.
Drawings
FIG. 1 is a schematic structural view of the present invention;
fig. 2 is a cross-sectional view of the base structure of the present invention.
In the figure: 1. a base; 2. mounting a plate; 3. a drive motor; 4. a rotating shaft; 5. a worm; 6. a worm gear; 7. an L-shaped rod; 8. a movable rod; 9. a lifting plate; 10. a universal wheel; 11. a strip-shaped groove; 12. a sliding sleeve; 13. a slide bar; 14. a cross bar; 15. a column; 16. installing a frame; 17. a signal lamp; 18. a support bar; 19. a solar panel.
Detailed Description
The technical solutions in the embodiments of the present invention will be described clearly and completely with reference to the accompanying drawings in the embodiments of the present invention, and it is obvious that the described embodiments are only some embodiments of the present invention, not all embodiments. Based on the embodiments in the present invention, all other embodiments obtained by a person skilled in the art without creative work belong to the protection scope of the present invention.
Referring to fig. 1-2, a movable environmental traffic signal lamp includes a base 1, a mounting plate 2, a driving motor 3, a rotating shaft 4, a worm 5, a worm wheel 6, an L-shaped rod 7, a movable rod 8, a lifting plate 9 and a universal wheel 10, wherein the bottom of the base 1 is open, the mounting plate 2 is fixedly connected to the middle part of the inside of the base 1, the driving motor 3 is fixedly connected to the middle part of the top of the mounting plate 2 through a support frame, the rotating shaft 4 is fixedly connected to an output shaft of the driving motor 3, the bottom of the rotating shaft 4 penetrates through and extends to the bottom of the mounting plate 2, the worm 5 is fixedly connected to the bottom of the rotating shaft 4, the worm wheel 6 is fixedly connected to the bottom of the mounting plate 2 through a support seat, teeth of the worm wheel 6 are engaged with teeth of the worm 5, the L-shaped rod 7 is fixedly connected to one side of the worm, 9 swing joint of lifter plate is in the bottom of movable rod 8, the quantity of universal wheel 10 is four, four universal wheel 10 fixed connection are in the four corners department of lifter plate 9 bottom, through mounting panel 2, driving motor 3, pivot 4, worm 5, worm wheel 6, L shape pole 7, the movable rod 8, lifter plate 9 and universal wheel 10's cooperation is used, the clockwise operation of driving motor 3, it is rotatory to drive worm 5 through pivot 4, the teeth of a cogwheel of worm wheel 6 can roll along worm 5's helicoid, and then drive L shape pole 7 rebound, make lifter plate 9 rebound through movable rod 8, make universal wheel 10 shrink to base 1's inside, make base 1's bottom and ground contact, improve the area of contact with ground, guaranteed the utility model discloses a stability, prevent that the condition of displacement from appearing in the traffic signal lamp, the security has been improved.
The top of the mounting plate 2 is provided with a through strip-shaped groove 11, the strip-shaped groove 11 is positioned right above the L-shaped rod 7, the width of the strip-shaped groove 11 is larger than that of the L-shaped rod 7, through the arrangement of the strip-shaped groove 11, the strip-shaped groove 11 is positioned right above the L-shaped rod 7, so that the L-shaped rod 7 can swing more stably, meanwhile, the up-and-down movement of the lifting plate 9 is convenient to adjust, sliding sleeves 12 are embedded on two sides of the interior of the lifting plate 9, a sliding rod 13 is fixedly connected to the bottom of the mounting plate 2, the bottom of the sliding rod 13 penetrates through the sliding sleeves 12 and extends to the bottom of the lifting plate 9, a cross rod 14 is fixedly connected to the bottom of the sliding rod 13, one end of the cross rod 14 is fixedly connected to the inner wall of the base 1, and the sliding sleeves 12, the sliding rods 13 and the cross rod 14 are matched for use, when the lifting plate 9 moves up and down, the cross rod 14 can slide up and down on the inner side wall of the sliding sleeve 12, and the stability of the lifting plate 9 during up and down movement is ensured.
The middle part fixedly connected with stand 15 at base 1 top, the top fixedly connected with installing frame 16 of stand 15, fixedly connected with signal lamp 17 on the installing frame 16, the top fixedly connected with bracing piece 18 of installing frame 16, the top fixedly connected with solar panel 19 of bracing piece 18.
Will the utility model discloses remove behind the suitable position, the clockwise operation of driving motor 3, it is rotatory to drive worm 5 through pivot 4, the teeth of a cogwheel of worm wheel 6 can roll along worm 5's helicoid, and then drive L shape pole 7 rebound, L shape pole 7 can penetrate to the inside in bar groove 11, make lifter plate 9 rebound through movable rod 8, make universal wheel 10 shrink to the inside of base 1, make base 1's bottom and ground contact, improve the area of contact with ground, guaranteed the utility model discloses a stability, prevent that the condition of displacement from appearing in traffic signal lamp, improved the security, when lifter plate 9 reciprocates, can make horizontal pole 14 the slip about the inside wall of sliding sleeve 12, guaranteed the stability when lifter plate 9 reciprocates.
The utility model discloses a control mode comes automatic control through the controller, and the control circuit of controller can realize through the simple programming of technical staff in this field, and the supply also belongs to the common general knowledge in this field, and the utility model discloses mainly used protects mechanical device, so the utility model discloses no longer explain control mode and circuit connection in detail.
It is noted that, herein, relational terms such as first and second, and the like may be used solely to distinguish one entity or action from another entity or action without necessarily requiring or implying any actual such relationship or order between such entities or actions. Also, the terms "comprises," "comprising," or any other variation thereof, are intended to cover a non-exclusive inclusion, such that a process, method, article, or apparatus that comprises a list of elements does not include only those elements but may include other elements not expressly listed or inherent to such process, method, article, or apparatus.
Although embodiments of the present invention have been shown and described, it will be appreciated by those skilled in the art that changes, modifications, substitutions and alterations can be made in these embodiments without departing from the principles and spirit of the invention, the scope of which is defined in the appended claims and their equivalents.

Claims (6)

1. The utility model provides a movable environmental protection traffic signal lamp, includes base (1), mounting panel (2), driving motor (3), pivot (4), worm (5), worm wheel (6), L shape pole (7), movable rod (8), lifter plate (9) and universal wheel (10), its characterized in that: the bottom of base (1) is the opening form, mounting panel (2) fixed connection is at the inside middle part of base (1), driving motor (3) are through the middle part at mounting panel (2) top of support frame fixed connection, pivot (4) fixed connection is on the output shaft of driving motor (3), the bottom of pivot (4) is run through and is extended to the bottom of mounting panel (2), worm (5) fixed connection is in the bottom of pivot (4), worm wheel (6) are through supporting seat fixed connection in the bottom of mounting panel (2), and the tooth of worm wheel (6) meshes with the tooth of worm (5), L shape pole (7) fixed connection is in one side of worm wheel (6), the one end of worm wheel (6) is kept away from through round pin axle swing joint in L shape pole (7) in movable rod (8), lifter plate (9) swing joint is in the bottom of movable rod (8), the number of the universal wheels (10) is four, and the four universal wheels (10) are fixedly connected to four corners of the bottom of the lifting plate (9).
2. The movable environmental-friendly traffic signal lamp as recited in claim 1, wherein: a penetrating strip-shaped groove (11) is formed in the top of the mounting plate (2), the strip-shaped groove (11) is located right above the L-shaped rod (7), and the width of the strip-shaped groove (11) is larger than that of the L-shaped rod (7).
3. The movable environmental-friendly traffic signal lamp as recited in claim 1, wherein: sliding sleeves (12) are inlaid in two sides of the interior of the lifting plate (9), sliding rods (13) are fixedly connected to the bottom of the mounting plate (2), and the bottoms of the sliding rods (13) penetrate through the sliding sleeves (12) and extend to the bottom of the lifting plate (9).
4. The movable environmental-friendly traffic signal lamp as recited in claim 3, wherein: the bottom of the sliding rod (13) is fixedly connected with a cross rod (14), and one end of the cross rod (14) is fixedly connected to the inner wall of the base (1).
5. The movable environmental-friendly traffic signal lamp as recited in claim 1, wherein: the middle part fixedly connected with stand (15) at base (1) top, the top fixedly connected with installing frame (16) of stand (15), fixedly connected with signal lamp (17) on installing frame (16).
6. The movable environmental-friendly traffic signal lamp as recited in claim 5, wherein: the top fixedly connected with bracing piece (18) of installing frame (16), the top fixedly connected with solar panel (19) of bracing piece (18).
CN201921952437.XU 2019-11-13 2019-11-13 Movable environmental protection traffic signal lamp Expired - Fee Related CN210667182U (en)

Priority Applications (1)

Application Number Priority Date Filing Date Title
CN201921952437.XU CN210667182U (en) 2019-11-13 2019-11-13 Movable environmental protection traffic signal lamp

Applications Claiming Priority (1)

Application Number Priority Date Filing Date Title
CN201921952437.XU CN210667182U (en) 2019-11-13 2019-11-13 Movable environmental protection traffic signal lamp

Publications (1)

Publication Number Publication Date
CN210667182U true CN210667182U (en) 2020-06-02

Family

ID=70810187

Family Applications (1)

Application Number Title Priority Date Filing Date
CN201921952437.XU Expired - Fee Related CN210667182U (en) 2019-11-13 2019-11-13 Movable environmental protection traffic signal lamp

Country Status (1)

Country Link
CN (1) CN210667182U (en)

Cited By (2)

* Cited by examiner, † Cited by third party
Publication number Priority date Publication date Assignee Title
CN113284438A (en) * 2021-05-14 2021-08-20 陕西中医药大学 Image-text display device for health management
CN115691179A (en) * 2022-11-10 2023-02-03 浙江芯源交通电子有限公司 Traffic signal lamp

Cited By (2)

* Cited by examiner, † Cited by third party
Publication number Priority date Publication date Assignee Title
CN113284438A (en) * 2021-05-14 2021-08-20 陕西中医药大学 Image-text display device for health management
CN115691179A (en) * 2022-11-10 2023-02-03 浙江芯源交通电子有限公司 Traffic signal lamp

Similar Documents

Publication Publication Date Title
CN207008870U (en) A traffic signal light device with height adjustment function
CN206639387U (en) One kind can self-cleaning Mobile traffic light
CN203242175U (en) A traffic warning apparatus
CN205782709U (en) Scalable traffic signal lamp support
CN207123947U (en) A kind of drag chain type highway signs lamp mounting bracket
CN210667182U (en) Movable environmental protection traffic signal lamp
CN206480155U (en) A kind of liftable moving traffic light
CN208186156U (en) A collapsible street lamp
CN110453627A (en) Collapse Road Divider
CN211621321U (en) Traffic signal lamp for town road
CN212061444U (en) Outdoor signal indicator lamp
CN204627063U (en) Parking of automobile frame
CN209842873U (en) LED signal lamp for traffic safety
CN209387467U (en) A kind of traffic lights with air detection display function
CN205399289U (en) Spacing stake of cross walk intelligence
CN212406344U (en) Protection warning fence for cleaning road of cleaner
CN212516152U (en) A smart city intelligent traffic light
CN213449787U (en) But municipal works reuse rail
CN211454803U (en) Light intensity self-adaptation signal lamp with protective structure
CN103255732A (en) Height limiting facility for preventing ultrahigh wagon from passing
CN214147665U (en) Intelligent building information lighting device
CN209560727U (en) An intelligent traffic signal indicator light
CN203438930U (en) Vehicle-mounted traffic indicator
CN207993245U (en) A kind of intelligent traffic lamp Fast Installation structure
CN205189009U (en) Siren is lost to inspection shaft lid

Legal Events

Date Code Title Description
GR01 Patent grant
GR01 Patent grant
CF01 Termination of patent right due to non-payment of annual fee
CF01 Termination of patent right due to non-payment of annual fee

Granted publication date: 20200602