CN210633431U - a grinding device - Google Patents

a grinding device Download PDF

Info

Publication number
CN210633431U
CN210633431U CN201921711547.7U CN201921711547U CN210633431U CN 210633431 U CN210633431 U CN 210633431U CN 201921711547 U CN201921711547 U CN 201921711547U CN 210633431 U CN210633431 U CN 210633431U
Authority
CN
China
Prior art keywords
water
funnel
fixedly assembled
worktable
assembled
Prior art date
Legal status (The legal status is an assumption and is not a legal conclusion. Google has not performed a legal analysis and makes no representation as to the accuracy of the status listed.)
Expired - Fee Related
Application number
CN201921711547.7U
Other languages
Chinese (zh)
Inventor
吴昊
张文斌
江洁
郭德伟
王鸿钧
Current Assignee (The listed assignees may be inaccurate. Google has not performed a legal analysis and makes no representation or warranty as to the accuracy of the list.)
Honghe University
Original Assignee
Honghe University
Priority date (The priority date is an assumption and is not a legal conclusion. Google has not performed a legal analysis and makes no representation as to the accuracy of the date listed.)
Filing date
Publication date
Application filed by Honghe University filed Critical Honghe University
Priority to CN201921711547.7U priority Critical patent/CN210633431U/en
Application granted granted Critical
Publication of CN210633431U publication Critical patent/CN210633431U/en
Expired - Fee Related legal-status Critical Current
Anticipated expiration legal-status Critical

Links

Images

Landscapes

  • Grinding-Machine Dressing And Accessory Apparatuses (AREA)

Abstract

本实用新型公开了一种打磨装置,包括工作台,所述工作台的表面两侧均固定装配有侧板,两个所述侧板的顶端固定装配有顶板,所述顶板的表面固定装配有打磨机主体,所述工作台的下表面一侧铰接装配有支架,所述工作台的下表面另一侧固定装配有橡胶块。通过漏斗和滤网的配合,携带着碎屑的水从漏斗处流入到水槽中进行重复的利用,滤网对碎屑进行过滤,通过螺栓和套筒的配合,转动套筒改变螺栓在套筒中的位置,使工作台处于倾斜的状态,使水流能够沿凹槽的表面流动,从而方便对水进行收集,能够对打磨加工的工作台进行清理,在清理的同时对清理的打磨碎屑进行收集,省去了手动清理的时间,避免污染工作环境,操作简单,实用性能强。

Figure 201921711547

The utility model discloses a grinding device, comprising a worktable, side plates are fixedly assembled on both sides of the surface of the worktable, a top plate is fixedly assembled on the top ends of the two side plates, and a surface of the top plate is fixedly assembled with a top plate. For the main body of the grinding machine, a bracket is hingedly assembled on one side of the lower surface of the worktable, and a rubber block is fixedly assembled on the other side of the lower surface of the worktable. Through the cooperation of the funnel and the filter screen, the water carrying debris flows from the funnel into the water tank for repeated use. It makes the worktable in an inclined state, so that the water can flow along the surface of the groove, so as to facilitate the collection of water, clean the grinding worktable, and clean the cleaned grinding debris at the same time. Collect, save the time of manual cleaning, avoid polluting the working environment, simple operation and strong practical performance.

Figure 201921711547

Description

Polishing device
Technical Field
The utility model relates to a grinding device technical field, concrete field is a grinding device.
Background
The grinding industry is the workers of the grinding and polishing processes of the machine manufacturing industry, the processing industry, the die industry, the wood industry, the leather industry and the like. The working purpose is to remove burrs on the surface of a product workpiece, to make the workpiece smooth and easy to continue processing or to reach a finished product, the used tools are mainly grinding machines, grinding wheel mills and the like, smaller hand workshops are also provided with angle grinders, the angle grinders are manually operated by abrasive paper, a lot of chips can appear when the workpiece is ground and processed, the workpiece is not easy to collect and clean, and the practicability is poor.
SUMMERY OF THE UTILITY MODEL
An object of the utility model is to provide a grinding device to solve the problem that proposes among the above-mentioned background art.
In order to achieve the above object, the utility model provides a following technical scheme: a polishing device comprises a workbench, wherein two sides of the surface of the workbench are fixedly provided with side plates, the top ends of the two side plates are fixedly provided with a top plate, the surface of the top plate is fixedly provided with a polisher body, one side of the lower surface of the workbench is hinged with a support, the other side of the lower surface of the workbench is fixedly provided with a rubber block, the bottom end of the rubber block is fixedly provided with a bolt, the outer wall of the bottom end of the bolt is sleeved with a loop bar, the upper surface of the workbench is provided with a groove, one side of the workbench, which is close to the rubber block, is fixedly provided with a funnel in a penetrating manner, the funnel is communicated with the groove, one side of the workbench, which is far away from the funnel, is fixedly provided with a sleeve in a penetrating manner, the sleeve is communicated with the groove, the bottom end of the inner wall of the, the one end of pipe is fixed to be equipped with the shower nozzle, the bottom mounting of outlet pipe is equipped with the water pump, one side of water pump is fixed to be equipped with the inlet tube, the below of workstation is equipped with the basin, the inlet tube runs through the basin, the basin is close to one side inner wall fixed assembly of funnel and is equipped with the filter screen.
Preferably, a cover plate is inserted between the inner wall of the water tank and the filter screen and is positioned below the funnel, a cylinder is fixedly assembled below the cover plate, a through hole is formed in the surface of the cover plate, a circular plate is rotatably assembled on the inner wall of the through hole, a rubber pad is fixedly assembled on the surface of the circular plate, and a rubber strip is fixedly assembled on the surface of the rubber pad.
Preferably, the top end of the water tank is buckled with a top cover, one side of the top cover, which is close to the funnel, is provided with an opening, and the funnel penetrates through the opening.
Preferably, the rib is made of rubber.
Compared with the prior art, the beneficial effects of the utility model are that: the utility model provides a grinding device, cooperation through basin and inlet tube, through the cooperation of water pump with the blow water pipe, in the in-process of processing of polishing, the external power supply of switch-on water pump, water in with the basin is transported to the outlet pipe through the inlet tube and is at last by the shower nozzle blowout, spun rivers flow at the inner wall of recess, the piece that produces when will polishing simultaneously washes away, cooperation through funnel and filter screen, carry clastic water and carry out iterative utilization in flowing into the basin from the funnel department, the filter screen filters the piece, through bolt and telescopic cooperation, it changes the position of bolt in the sleeve to rotate the sleeve, make the workstation be in the state of slope, make the rivers can follow the surface flow of recess, thereby the convenience is collected water, avoid causing the waste of water resource.
The utility model provides a grinding device can clear up the workstation of processing of polishing, collects the piece of polishing of clearance in the clearance, has saved the time of manual clearance, avoids polluting operational environment, easy operation, and practicality is strong.
Drawings
Fig. 1 is a schematic structural view of the present invention;
FIG. 2 is an enlarged view of the structure at A in FIG. 1;
FIG. 3 is a top view of the structure of the working table of the present invention;
fig. 4 is a schematic view of the structure of the rotating circular plate of the present invention.
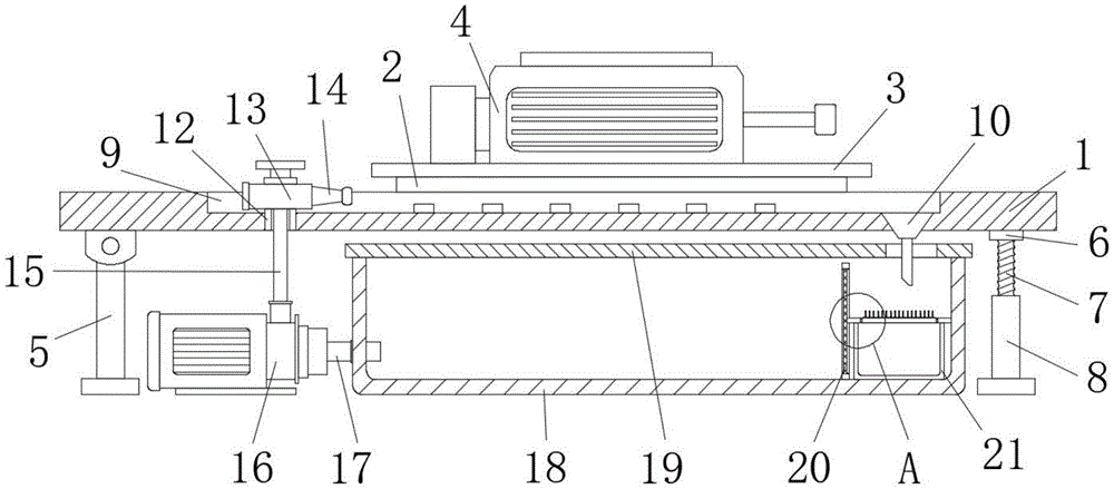
In the figure: 1-workbench, 2-side plate, 3-top plate, 4-sander body, 5-support, 6-rubber block, 7-bolt, 8-loop bar, 9-groove, 10-funnel, 11-rib, 12-sleeve, 13-guide pipe, 14-spray head, 15-water outlet pipe, 16-water pump, 17-water inlet pipe, 18-water tank, 19-top cover, 20-filter screen, 21-cylinder, 22-cover plate, 23-circular plate, 24-rubber pad, 25-rubber strip.
Detailed Description
The technical solutions in the embodiments of the present invention will be described clearly and completely with reference to the accompanying drawings in the embodiments of the present invention, and it is obvious that the described embodiments are only some embodiments of the present invention, not all embodiments. Based on the embodiments in the present invention, all other embodiments obtained by a person skilled in the art without creative work belong to the protection scope of the present invention.
Referring to fig. 1-4, the present invention provides a technical solution: a polishing device comprises a workbench 1, side plates 2 are fixedly assembled on two sides of the surface of the workbench 1, a top plate 3 is fixedly assembled on the top ends of the two side plates 2, a polisher body 4 is fixedly assembled on the surface of the top plate 3, a support 5 is hinged on one side of the lower surface of the workbench 1, a rubber block 6 is fixedly assembled on the other side of the lower surface of the workbench 1, a bolt 7 is fixedly assembled at the bottom end of the rubber block 6, a loop bar 8 is sleeved on the outer wall of the bottom end of the bolt 7, a groove 9 is formed in the upper surface of the workbench 1, a funnel 10 is fixedly penetrated on one side of the workbench 1 close to the rubber block 6, the funnel 10 is communicated with the groove 9, a sleeve 12 is fixedly penetrated on one side of the workbench 1 far away from the funnel 10, the sleeve 12 is communicated with the groove 9, a rib 11 is fixedly assembled at the bottom end of the inner wall of, the one end of pipe 13 is fixed with shower nozzle 14, and the bottom mounting of outlet pipe 15 is equipped with water pump 16, and one side of water pump 16 is fixed with inlet tube 17, and the below of workstation 1 is equipped with basin 18, and inlet tube 17 runs through basin 18, and the one side inner wall that basin 18 is close to funnel 10 is fixed with filter screen 20.
Before polishing, water is stored in a water tank 18, when polishing is carried out, an external power supply of a water pump 16 is switched on, the water pump 16 starts to work, the water pump 16 pumps the water in the water tank 18 into a water outlet pipe 15 through a water inlet pipe 17, the water is discharged from a spray head 14 through a guide pipe 13 and flows in a groove 9, the shape of a convex edge 11 is shown in figure 3, the water impacting on the convex edge 11 flows to the edge of the groove 9 along the convex edge 11, the water drives chips falling on a worktable 1 to flow in the flowing process, finally the water is discharged from a funnel 10 and flows back to the water tank 18, the water is recycled, waste is avoided, a filter screen 20 filters the water, the chips are prevented from flowing into the water inlet pipe 17 again, a sleeve rod 8 is rotated, internal threads are arranged on the inner wall of the sleeve rod 8, the position of a bolt 7 in the sleeve rod 8 is changed, and the bottom end of the bolt 7 is enabled to extend into the sleeve rod 8 more, at the moment, the workbench 1 swings at the top end of the bracket 5, and the rubber block 6 deforms, so that the workbench 1 inclines to the position of the funnel 10, and the water flows conveniently.
Specifically, a cover plate 22 is inserted between the inner wall of the water tank 18 and the filter screen 20, the cover plate 22 is located below the funnel 10, a cylinder 21 is fixedly assembled below the cover plate 22, a through hole is formed in the surface of the cover plate 22, a circular plate 23 is rotatably assembled on the inner wall of the through hole, a rubber pad 24 is fixedly assembled on the surface of the circular plate 23, and a rubber strip 25 is fixedly assembled on the surface of the rubber pad 24.
When using, the water that carries the piece flows out from funnel 10, flows to rubber pad 24 on, returns the speed that reduces rivers under the blockking of rubber strip 25 to make the piece have sufficient settling time, partly attached to on rubber strip 25, use a period of time after, rotate plectane 23, make plectane 23 be in vertical state, the water washes rubber pad 24, and barrel 21 accomodates the piece, convenient clearance.
Specifically, a top cover 19 is fastened to the top end of the water tank 18, an opening is opened on the side of the top cover 19 close to the funnel 10, and the funnel 10 is inserted through the opening.
The top cover 19 is fastened on the water tank 18 to shield the top end of the water tank 18, so that other impurities are prevented from entering the water tank 18 to block the water inlet pipe 17.
Specifically, the rib 11 is made of rubber.
The slight deformation can take place for the bead 11 of rubber material under the impact of rivers at the in-process of using, avoids the piece card on bead 11.
The working principle is as follows: before polishing, water is stored in the water tank 18, when polishing, an external power supply of the water pump 16 is connected, the water pump 16 starts to work, the water pump 16 pumps the water in the water tank 18 into the water outlet pipe 15 through the water inlet pipe 17, the water is discharged from the spray head 14 through the guide pipe 13 and flows in the groove 9, the water drives the fragments falling onto the workbench 1 to flow in the flowing process, finally the water is discharged from the funnel 10 and flows back into the water tank 18, the filter screen 20 filters the water, the loop bar 8 is rotated, the bottom end of the bolt 7 extends into the loop bar 8 more, at the moment, the workbench 1 swings at the top end of the support 5, and meanwhile, the rubber block 6 deforms, so that the workbench 1 inclines towards the position of the funnel 10, and the fragments are convenient to collect.
In the description of the present invention, unless expressly stated or limited otherwise, the terms "disposed," "mounted," "connected," and "fixed" are to be construed broadly, e.g., as meaning either a fixed connection, a removable connection, or an integral part; can be mechanically or electrically connected; either directly or indirectly through intervening media, either internally or in any other relationship. The specific meaning of the above terms in the present invention can be understood in specific cases to those skilled in the art.
The utility model discloses the standard part that uses all can purchase from the market, and dysmorphism piece all can be customized according to the description with the record of drawing of description, and the concrete connection mode of each part all adopts conventional means such as ripe bolt, rivet, welding among the prior art, and machinery, part and setting are equipped with and all adopt prior art, and conventional model is including circuit connection adopts conventional connection mode among the prior art, and the detail is not repeated here.
Although embodiments of the present invention have been shown and described, it will be appreciated by those skilled in the art that changes, modifications, substitutions and alterations can be made in these embodiments without departing from the principles and spirit of the invention, the scope of which is defined in the appended claims and their equivalents.

Claims (4)

1.一种打磨装置,包括工作台(1),其特征在于:所述工作台(1)的表面两侧均固定装配有侧板(2),两个所述侧板(2)的顶端固定装配有顶板(3),所述顶板(3)的表面固定装配有打磨机主体(4),所述工作台(1)的下表面一侧铰接装配有支架(5),所述工作台(1)的下表面另一侧固定装配有橡胶块(6),所述橡胶块(6)的底端固定装配有螺栓(7),所述螺栓(7)的底端外壁套接有套杆(8),所述工作台(1)的上表面开设有凹槽(9),所述工作台(1)靠近橡胶块(6)的一侧固定贯穿有漏斗(10),所述漏斗(10)与凹槽(9)相连通,所述工作台(1)远离漏斗(10)的一侧固定贯穿有套筒(12),所述套筒(12)与凹槽(9)相连通,所述凹槽(9)的内壁底端固定装配有凸棱(11),所述套筒(12)的内壁插接有出水管(15),所述出水管(15)的顶端固定装配有导管(13),所述导管(13)的一端固定装配有喷头(14),所述出水管(15)的底端固定装配有水泵(16),所述水泵(16)的一侧固定装配有进水管(17),所述工作台(1)的下方设有水槽(18),所述进水管(17)贯穿水槽(18),所述水槽(18)靠近漏斗(10)的一侧内壁固定装配有滤网(20)。1. A grinding device, comprising a workbench (1), characterized in that: both sides of the surface of the workbench (1) are fixedly equipped with side plates (2), and the top ends of the two side plates (2) A top plate (3) is fixedly assembled, the surface of the top plate (3) is fixedly assembled with a grinder main body (4), and a bracket (5) is hingedly assembled on one side of the lower surface of the worktable (1). The other side of the lower surface of (1) is fixedly fitted with a rubber block (6), the bottom end of the rubber block (6) is fixedly fitted with a bolt (7), and the outer wall of the bottom end of the bolt (7) is sleeved with a sleeve A rod (8), a groove (9) is provided on the upper surface of the worktable (1), and a funnel (10) is fixed through the side of the worktable (1) close to the rubber block (6). (10) is communicated with the groove (9), a sleeve (12) is fixed through the side of the table (1) away from the funnel (10), and the sleeve (12) is connected with the groove (9) The bottom end of the inner wall of the groove (9) is fixedly fitted with a convex rib (11), the inner wall of the sleeve (12) is inserted with a water outlet pipe (15), and the top of the water outlet pipe (15) is fixed A conduit (13) is assembled, one end of the conduit (13) is fixedly assembled with a spray head (14), the bottom end of the water outlet pipe (15) is fixedly assembled with a water pump (16), one side of the water pump (16) is fixedly assembled A water inlet pipe (17) is fixedly assembled, a water tank (18) is arranged below the worktable (1), the water inlet pipe (17) runs through the water tank (18), and the water tank (18) is close to the bottom of the funnel (10). A filter screen (20) is fixedly assembled on the inner wall of one side. 2.根据权利要求1所述的一种打磨装置,其特征在于:所述水槽(18)的内壁与滤网(20)之间插接有盖板(22),所述盖板(22)位于漏斗(10)下方,所述盖板(22)的下方固定装配有筒体(21),所述盖板(22)的表面开设有通孔,所述通孔的内壁转动装配有圆板(23),所述圆板(23)的表面固定装配有橡胶垫(24),所述橡胶垫(24)的表面固定装配有橡胶条(25)。2. A grinding device according to claim 1, characterized in that: a cover plate (22) is inserted between the inner wall of the water tank (18) and the filter screen (20), and the cover plate (22) Below the funnel (10), a cylindrical body (21) is fixedly assembled under the cover plate (22), a through hole is formed on the surface of the cover plate (22), and the inner wall of the through hole is rotatably assembled with a circular plate (23), a rubber pad (24) is fixedly assembled on the surface of the circular plate (23), and a rubber strip (25) is fixedly assembled on the surface of the rubber pad (24). 3.根据权利要求1所述的一种打磨装置,其特征在于:所述水槽(18)的顶端扣合有顶盖(19),所述顶盖(19)靠近漏斗(10)的一侧开设有开口,所述漏斗(10)贯穿开口。3. A grinding device according to claim 1, characterized in that: a top cover (19) is fastened to the top of the water tank (18), and the top cover (19) is close to the side of the funnel (10). An opening is provided, and the funnel (10) penetrates through the opening. 4.根据权利要求1所述的一种打磨装置,其特征在于:所述凸棱(11)为橡胶材质。4 . The grinding device according to claim 1 , characterized in that: the ridges ( 11 ) are made of rubber. 5 .
CN201921711547.7U 2019-10-14 2019-10-14 a grinding device Expired - Fee Related CN210633431U (en)

Priority Applications (1)

Application Number Priority Date Filing Date Title
CN201921711547.7U CN210633431U (en) 2019-10-14 2019-10-14 a grinding device

Applications Claiming Priority (1)

Application Number Priority Date Filing Date Title
CN201921711547.7U CN210633431U (en) 2019-10-14 2019-10-14 a grinding device

Publications (1)

Publication Number Publication Date
CN210633431U true CN210633431U (en) 2020-05-29

Family

ID=70800743

Family Applications (1)

Application Number Title Priority Date Filing Date
CN201921711547.7U Expired - Fee Related CN210633431U (en) 2019-10-14 2019-10-14 a grinding device

Country Status (1)

Country Link
CN (1) CN210633431U (en)

Cited By (1)

* Cited by examiner, † Cited by third party
Publication number Priority date Publication date Assignee Title
CN114939817A (en) * 2022-06-16 2022-08-26 秦皇岛市东旭达黏胶制品有限公司 Metal plate grinding machine

Cited By (1)

* Cited by examiner, † Cited by third party
Publication number Priority date Publication date Assignee Title
CN114939817A (en) * 2022-06-16 2022-08-26 秦皇岛市东旭达黏胶制品有限公司 Metal plate grinding machine

Similar Documents

Publication Publication Date Title
CN213885149U (en) A dust-removing device for the production of light-collecting mirrors
CN213532061U (en) A metal workpiece grinding device for recycling scraps
CN210633431U (en) a grinding device
CN213034321U (en) Hand-held grinder with dust absorption function
CN212635333U (en) Decoration and fitment are with taking dust extraction's wall polisher
CN210815414U (en) Grinding device for medicine detection
CN208977405U (en) A kind of waste material collection device of turn-milling complex machining center
CN218746897U (en) Workpiece surface grinding machine with dust fall capability
CN216179346U (en) Six-axis linkage numerical control abrasive belt grinding machine
CN213970428U (en) Grinding machine for machining
CN214817525U (en) Environment-friendly grinding machine for machining
CN214351293U (en) A universal cylindrical grinder with good dust removal effect
CN210997855U (en) Novel surface grinding machine
CN213106059U (en) Hardware surface polishing and spraying processing equipment
CN212553118U (en) Clean efficient pottery apparatus for producing that polishes
CN213351893U (en) Grinding device for machining with dust collection function
CN210173214U (en) Combined cutting blade grinding machine
CN209754849U (en) Steel pipe surface polishing grinding device
CN218110339U (en) Dust leakage prevention sander in sealed environment
CN222857617U (en) Abrasive grinding wheel convenient for ash removal
CN216859254U (en) Dust collecting device of grinding machine for furniture
CN209477861U (en) A kind of novel dust removing abrasive machine
CN218696932U (en) Steel plate polishing mechanism
CN213647079U (en) Burnishing machine convenient to remove bits
CN220051396U (en) Surface grinder dust keeper

Legal Events

Date Code Title Description
GR01 Patent grant
GR01 Patent grant
CF01 Termination of patent right due to non-payment of annual fee

Granted publication date: 20200529

Termination date: 20201014

CF01 Termination of patent right due to non-payment of annual fee