CN210631935U - Waste gas spray tower - Google Patents

Waste gas spray tower Download PDF

Info

Publication number
CN210631935U
CN210631935U CN201921525722.3U CN201921525722U CN210631935U CN 210631935 U CN210631935 U CN 210631935U CN 201921525722 U CN201921525722 U CN 201921525722U CN 210631935 U CN210631935 U CN 210631935U
Authority
CN
China
Prior art keywords
waste gas
working chamber
tower body
assembly
left end
Prior art date
Legal status (The legal status is an assumption and is not a legal conclusion. Google has not performed a legal analysis and makes no representation as to the accuracy of the status listed.)
Expired - Fee Related
Application number
CN201921525722.3U
Other languages
Chinese (zh)
Inventor
王勇
王玲
潘国强
柴虎
Current Assignee (The listed assignees may be inaccurate. Google has not performed a legal analysis and makes no representation or warranty as to the accuracy of the list.)
Suzhou Tianlu Environmental Protection Technology Co Ltd
Original Assignee
Suzhou Tianlu Environmental Protection Technology Co Ltd
Priority date (The priority date is an assumption and is not a legal conclusion. Google has not performed a legal analysis and makes no representation as to the accuracy of the date listed.)
Filing date
Publication date
Application filed by Suzhou Tianlu Environmental Protection Technology Co Ltd filed Critical Suzhou Tianlu Environmental Protection Technology Co Ltd
Priority to CN201921525722.3U priority Critical patent/CN210631935U/en
Application granted granted Critical
Publication of CN210631935U publication Critical patent/CN210631935U/en
Expired - Fee Related legal-status Critical Current
Anticipated expiration legal-status Critical

Links

Images

Landscapes

  • Treating Waste Gases (AREA)

Abstract

本实用新型涉及废气处理设备附属装置的技术领域,特别是涉及一种废气喷淋塔,其增设了固体沉淀清理机构来清理塔体的固体沉淀,因此降低了将塔体底部的固体沉淀较为彻底清理的难度,极大地降低了人工清理塔体底部固体沉淀的频率,因而提高了废气喷淋塔的使用便捷性;包括塔体、填料组件、喷淋组件、循环泵组件、排污泵组件和除雾器组件,塔体的内部设置有工作腔,工作腔的顶端和左端中下部区域分别连通设置有排气管、进气管和氧气管,喷淋组件安装在工作腔的顶部,循环泵组件和排污泵组件分别安装在塔体的底部区域右端和左端;还包括减速电机、动力轴、动力转向齿轮、从动转向齿轮、转轴、稳固轴承和刮板。

Figure 201921525722

The utility model relates to the technical field of auxiliary devices of waste gas treatment equipment, in particular to a waste gas spray tower, which adds a solid precipitation cleaning mechanism to clean the solid precipitation in the tower body, thereby reducing the solid precipitation at the bottom of the tower body. The difficulty of cleaning greatly reduces the frequency of manual cleaning of solid deposits at the bottom of the tower body, thus improving the convenience of use of the waste gas spray tower; including the tower body, packing components, spray components, circulating pump components, sewage pump components and removal The atomizer assembly, the inside of the tower body is provided with a working cavity, the top of the working cavity and the middle and lower areas of the left end are respectively connected with an exhaust pipe, an intake pipe and an oxygen pipe, the spray assembly is installed on the top of the working cavity, and the circulating pump assembly and The sewage pump assemblies are respectively installed on the right and left ends of the bottom area of the tower body; it also includes a reduction motor, a power shaft, a power steering gear, a driven steering gear, a rotating shaft, a stable bearing and a scraper.

Figure 201921525722

Description

Waste gas spray tower
Technical Field
The utility model relates to a waste gas treatment equipment auxiliary device's technical field especially relates to a waste gas spray column.
Background
As is well known, before industrial waste gas is discharged into the atmosphere, it needs to be purified to reduce the pollution degree of the waste gas to the air, wherein a waste gas spray tower is a device for performing desulfurization, dust removal and other treatments on waste gas in the process of industrial waste gas discharge, and is widely used in the field of waste gas treatment; the existing waste gas spray tower comprises a tower body, a filler component, a spray component, a circulating pump component, a sewage pump component and a demister component, wherein a working chamber is arranged inside the tower body, the top end and the middle-lower region of the left end of the working chamber are respectively communicated and provided with an exhaust pipe, an air inlet pipe and an oxygen pipe, the spray component is arranged at the top of the working chamber, the circulating pump component and the sewage pump component are respectively arranged at the right end and the left end of the bottom region of the tower body, the input end of the circulating pump component and the input end of the sewage pump component are both positioned at the bottom of the working chamber, the output end of the circulating pump component is communicated with the input end of the spray component, the filler component is arranged in the middle-upper region of the working chamber, the demister component is arranged at the top end of the working; when the existing waste gas spray tower is used, firstly, a specified amount of spray liquid is filled into a working cavity of a tower body through a liquid supplementing pipe, then the spray liquid in the working cavity is pumped into a spray assembly by a circulating pump assembly, the spray liquid is sprayed to the top of a packing assembly through the spray assembly, at the moment, waste gas and oxygen are respectively introduced into the working cavity through an air inlet pipe and an oxygen pipe, the waste gas and the oxygen are in full contact reaction with the spray liquid in the packing assembly to achieve the aim of waste gas desulfurization, the desulfurized waste gas is subjected to water vapor removal by a demister assembly and then is discharged out of the tower body through an exhaust pipe, the reacted spray liquid passes through the packing assembly and falls to the bottom of the working cavity, and a blowdown pump assembly pumps solid sediment at the bottom of the tower body and the desulfurized spray liquid to a specified mechanism at intervals; the discovery is used in current waste gas spray tower, and the solid deposit mobility of tower body working chamber bottom is relatively poor, and when spraying liquid after extracting solid deposit and reaction through blowdown pump package spare, the degree of difficulty of comparatively thoroughly clearing up the solid deposit of tower body bottom is great, consequently needs carry out artifical clearance after waste gas spray tower stops, therefore has reduced waste gas spray tower's use convenience to it is relatively poor to lead to the practicality.
SUMMERY OF THE UTILITY MODEL
In order to solve the technical problem, the utility model provides an it clears up the solid deposit of tower body to have add solid deposit clearance mechanism, has consequently reduced the degree of difficulty with the comparatively thorough clearance of the solid deposit of tower body bottom, has greatly reduced the frequency of artifical clearance tower body bottom solid deposit, therefore has improved the use convenience of waste gas spray column to strengthen the waste gas spray column of practicality.
The utility model discloses a waste gas spray tower, comprising a tower body, the filler subassembly, the spray assembly, the circulating pump subassembly, blowdown pump subassembly and defroster subassembly, the inside of tower body is provided with the working chamber, the lower part region communicates respectively and is provided with the blast pipe in the top and the left end of working chamber, intake pipe and oxygen hose, the spray assembly is installed at the top of working chamber, circulating pump subassembly and blowdown pump subassembly are installed respectively at the regional right-hand member in bottom and the left end of tower body, the input of circulating pump subassembly is located the bottom of working chamber, the output of circulating pump subassembly communicates with the input of spray assembly, the filler subassembly is installed in the upper middle part region of working chamber, the defroster subassembly is installed at the top of working chamber, filler subassembly and defogging subassembly are located the downside and the upside of spray assembly respectively, the lower part region communicates and; the tower body, the tower body and the tower body are connected in a lower region, an insertion hole is formed in the lower region in the left end of the working cavity, the output end of the speed reduction motor penetrates through the insertion hole and extends into the working cavity from the outside of the tower body in a sealing and rotating mode, the output end of the speed reduction motor is connected with the left end of the power shaft, the right end of the power shaft is connected with the left end of the power steering gear, a stabilizing groove is formed in the middle of the bottom end of the working cavity, the outer side wall of the stabilizing bearing is fixedly connected with the inner side wall of the stabilizing groove, the stabilizing bearing is in interference connection with the bottom end of the rotating shaft, the top end of the rotating shaft is connected with the bottom end of the driven steering gear, and the bottom region of the power steering gear is meshed with the left region of the driven steering gear, the left end of scraper blade is connected with the regional right-hand member in bottom of pivot, the bottom of scraper blade is provided with the scraper, the bottom of scraper slides with the bottom of working chamber and hugs closely, the bottom left side intercommunication of working chamber is provided with the groove that gathers materials, the left end intercommunication of groove that gathers materials is provided with stretches into the hole, the input of blowdown pump package spare is passed from the left side of tower body is sealed stretches into the hole and stretches into to the groove that gathers materials in.
The utility model discloses a waste gas spray tower still includes anchor strut and anchor ring, lower part regional connection in the left end of anchor strut and the left end of working chamber, the regional bottom in right part of anchor strut is connected with the top of anchor ring, the anchor ring rotates the suit with the power shaft.
The utility model discloses a waste gas spray tower still includes filter and collar, the right-hand member of collar is connected with the right-hand member bottom region of working chamber, the right-hand member of collar communicates with circulating pump assembly's input, the regional lateral wall in left part of collar is provided with the external screw thread, the right-hand member of filter is provided with the mounting groove, be provided with the internal thread in the mounting groove, the mounting groove is adorned with the regional spiral shell in left part of collar, the left end of the mounting groove of filter runs through and is provided with the filtration pore, be provided with the fine filtration net on the filtration pore.
The utility model discloses a waste gas spray tower still includes the brush cleaner, the bottom of brush cleaner is connected with the top right side of scraper blade, the right-hand member of brush cleaner is provided with the multiunit brush hair, the right-hand member of multiunit brush hair all slides with the left end of thin filter screen and hugs closely.
The utility model discloses a waste gas spray tower still includes the protection bearing, the fixed suit of reinforcing ring and protection bearing, the protection bearing is connected with the power shaft interference.
The utility model discloses a waste gas spray tower still includes the guard ring, the guard ring rotates sealed suit with the bottom region of pivot, the bottom of guard ring is connected with the bottom of working chamber.
The utility model discloses a waste gas spray column, the bottom right side of collecting groove is provided with the inclined plane.
The utility model discloses a waste gas spray tower still includes the link, the left end upside and the bottom right side of link are run through respectively and are provided with two sets of support holes, two sets of support holes respectively with power shaft and pivot bearing suit.
Compared with the prior art, the beneficial effects of the utility model are that: in the process of treating waste gas in the waste gas spray tower, after a period of time, work needs to start a speed reducing motor to enable an output end of the speed reducing motor to drive a power shaft to rotate, then the power shaft drives a rotating shaft to rotate under the limit of a stable bearing through the matching of a power steering gear and a driven steering gear, at the moment, a scraper blade synchronously rotates along with the rotation of the rotating shaft, in the rotating process of the scraper blade, a scraper blade of the scraper blade scrapes solid sediment at the bottom of the tower body and pushes the solid sediment to rotate along with the scraper blade, when the solid sediment moves to the top of a material collecting tank, the solid sediment falls into the material collecting tank, then a sewage discharging pump assembly is started to enable the sewage discharging pump assembly to discharge the solid sediment accumulated in the material collecting tank and spray liquid after reaction out of the tower body, and therefore, the solid sediment cleaning mechanism is additionally arranged to clean, the difficulty of thoroughly cleaning the solid sediment at the bottom of the tower body is reduced, and the frequency of manually cleaning the solid sediment at the bottom of the tower body is greatly reduced, so that the use convenience of the waste gas spray tower is improved, and the practicability is enhanced.
Drawings
Fig. 1 is a schematic structural diagram of the present invention;
fig. 2 is a schematic view of a partially enlarged structure of a;
FIG. 3 is a schematic view of the connection structure of the scraper and the rotating shaft of the present invention;
FIG. 4 is a schematic view of the connection structure of the reinforcing ring and the reinforcing rod of the present invention;
FIG. 5 is a schematic view of the connection structure of the filter plate and the fine filter screen according to the present invention;
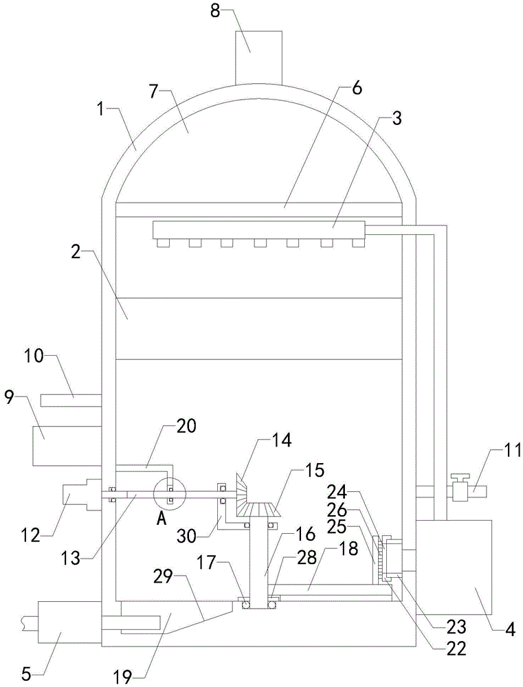
in the drawings, the reference numbers: 1. a tower body; 2. a packing assembly; 3. a spray assembly; 4. a circulating pump assembly; 5. a blowdown pump assembly; 6. a demister assembly; 7. a working chamber; 8. an exhaust pipe; 9. an air inlet pipe; 10. an oxygen tube; 11. a liquid supplementing pipe; 12. a reduction motor; 13. a power shaft; 14. a power steering gear; 15. a driven steering gear; 16. a rotating shaft; 17. stabilizing the bearing; 18. a squeegee; 19. a material collecting groove; 20. a reinforcing rod; 21. a reinforcing ring; 22. a filter plate; 23. a mounting ring; 24. a fine filter screen; 25. cleaning with a brush; 26. a plurality of groups of bristles; 27. a protection bearing; 28. a guard ring; 29. a bevel; 30. and a connecting frame.
Detailed Description
The following detailed description of the embodiments of the present invention is provided with reference to the accompanying drawings and examples. The following examples are intended to illustrate the invention, but are not intended to limit the scope of the invention.
As shown in figures 1 to 5, the waste gas spray tower of the utility model comprises a tower body 1, a packing component 2, a spray component 3, a circulating pump component 4, a sewage pump component 5 and a demister component 6, wherein a working chamber 7 is arranged inside the tower body 1, the middle lower part area of the top end and the left end of the working chamber 7 are respectively communicated with an exhaust pipe 8, an air inlet pipe 9 and an oxygen pipe 10, the spray component 3 is arranged at the top of the working chamber 7, the circulating pump component 4 and the sewage pump component 5 are respectively arranged at the right end and the left end of the bottom area of the tower body 1, the input end of the circulating pump component 4 is arranged at the bottom of the working chamber 7, the output end of the circulating pump component 4 is communicated with the input end of the spray component 3, the packing component 2 is arranged at the middle upper part area of the working chamber 7, the demister component 6 is arranged at the top end of, a liquid supplementing pipe 11 is communicated with the middle lower area of the right end of the working cavity 7; the tower crane further comprises a speed reducing motor 12, a power shaft 13, a power steering gear 14, a driven steering gear 15, a rotating shaft 16, a stabilizing bearing 17 and a scraper 18, wherein the right end of the speed reducing motor 12 is connected with the middle-lower part area of the left end of the tower body 1, the middle-lower part area of the left end of the working cavity 7 is communicated with a through hole, the output end of the speed reducing motor 12 hermetically rotates from the outer side of the tower body 1, penetrates through the through hole and extends into the working cavity 7, the output end of the speed reducing motor 12 is connected with the left end of the power shaft 13, the right end of the power shaft 13 is connected with the left end of the power steering gear 14, a stabilizing groove is arranged in the middle of the bottom end of the working cavity 7, the outer side wall of the stabilizing bearing 17 is fixedly connected with the inner side wall of the stabilizing groove, the stabilizing bearing 17 is in interference connection with the bottom end of the rotating shaft 16, the left end of the scraper 18 is connected with the right end of the bottom area of the rotating shaft 16, the bottom end of the scraper 18 is provided with a scraper, the bottom end of the scraper is closely attached to the bottom end of the working chamber 7 in a sliding manner, the left side of the bottom end of the working chamber 7 is communicated with a material collecting groove 19, the left end of the material collecting groove 19 is communicated with a stretching hole, and the input end of the sewage discharging pump assembly 5 hermetically penetrates through the stretching hole from the left side of the tower body 1 and stretches into the material collecting groove 19; in the process of treating waste gas in the waste gas spray tower, after a period of time, work needs to start a speed reducing motor to enable an output end of the speed reducing motor to drive a power shaft to rotate, then the power shaft drives a rotating shaft to rotate under the limit of a stable bearing through the matching of a power steering gear and a driven steering gear, at the moment, a scraper blade synchronously rotates along with the rotation of the rotating shaft, in the rotating process of the scraper blade, a scraper blade of the scraper blade scrapes solid sediment at the bottom of the tower body and pushes the solid sediment to rotate along with the scraper blade, when the solid sediment moves to the top of a material collecting tank, the solid sediment falls into the material collecting tank, then a sewage discharging pump assembly is started to enable the sewage discharging pump assembly to discharge the solid sediment accumulated in the material collecting tank and spray liquid after reaction out of the tower body, and therefore, the solid sediment cleaning mechanism is additionally arranged to clean, the difficulty of thoroughly cleaning the solid sediment at the bottom of the tower body is reduced, and the frequency of manually cleaning the solid sediment at the bottom of the tower body is greatly reduced, so that the use convenience of the waste gas spray tower is improved, and the practicability is enhanced.
The utility model discloses a waste gas spray tower, still include anchor strut 20 and strengthening ring 21, the left end of anchor strut 20 is connected with the lower part region in the left end of working chamber 7, the right part regional bottom of anchor strut 20 is connected with the top of strengthening ring 21, strengthening ring 21 and power shaft 13 rotate the suit; the power shaft is limited through the matching of the reinforcing rods and the reinforcing rings, so that the rotating stability of the power shaft and the power gear is improved, and the stability is enhanced.
The utility model discloses a waste gas spray tower, still include filter 22 and collar 23, the right-hand member of collar 23 is connected with the right-hand member bottom region of working chamber 7, the right-hand member of collar 23 communicates with the input of circulating pump subassembly 4, the outer lateral wall of the left part of collar 23 is provided with the external screw thread, the right-hand member of filter 22 is provided with the mounting groove, be provided with the internal thread in the mounting groove, mounting groove and the left part regional spiral shell dress of collar 23, the left end of the mounting groove of filter 22 runs through and is provided with the filtration pore, be provided with fine filter screen 24 on the filtration pore; through the fine filter screen of the filter on the mounting ring, the probability that the circulating pump assembly pumps solid impurities in the tower body bottom spray liquid to the spray assembly is reduced, namely, the probability that the spray assembly is blocked is reduced, so that the practicability is enhanced.
The utility model discloses a waste gas spray tower, still include the brush cleaner 25, the bottom of the brush cleaner 25 is connected with the top right side of the scraper blade 18, the right-hand member of the brush cleaner 25 is provided with the multiunit brush hair 26, the right-hand member of the multiunit brush hair 26 all slips and clings to with the left end of the fine filter screen 24; when the solid sediment of tower body bottom is cleared up through the scraper blade, at this moment the brush cleaner rotates along with the rotation of scraper blade, when the brush cleaner rotated thin filter screen side, at this moment the multiunit brush hair then brushed thin filter screen's lateral wall to clean adsorbed debris on thin filter screen, reduced thin filter screen and blockked up the probability, thereby strengthened the practicality.
The utility model discloses a waste gas spray tower, which also comprises a protective bearing 27, a reinforcing ring 21 is fixedly sleeved with the protective bearing 27, and the protective bearing 27 is connected with the power shaft 13 in an interference manner; sliding friction between the power shaft and the reinforcing ring is changed into rolling friction through the protective bearing, abrasion of the reinforcing ring of the power shaft is reduced, and therefore practicability is enhanced.
The utility model discloses a waste gas spray tower, which also comprises a protective ring 28, wherein the protective ring 28 is rotatably and hermetically sleeved with the bottom area of the rotating shaft 16, and the bottom end of the protective ring 28 is connected with the bottom end of the working cavity 7; the stabilizing bearing is protected by the protection ring, so that the probability of entering fixed impurities in the stabilizing bearing is reduced, and the practicability is enhanced.
In the waste gas spray tower of the utility model, the right side of the bottom end of the material collecting groove 19 is provided with an inclined plane 29; the inclined plane in the material collecting groove plays a role in guiding the distribution of solid sediment in the material collecting groove, so that the solid sediment in the material collecting groove is cleaned more thoroughly, and the practicability is enhanced.
The utility model discloses a waste gas spray tower, which also comprises a connecting frame 30, wherein two groups of supporting holes are respectively arranged on the upper side of the left end and the right side of the bottom end of the connecting frame 30 in a penetrating way, and are respectively sleeved with a power shaft 13 and a rotating shaft 16 in a bearing way; the power shaft and the rotating shaft are limited through the connecting frame, so that the slippage probability of the power steering gear and the driven steering gear is reduced, and the stability is enhanced.
The utility model discloses a waste gas spray tower, it is at work, at first fill into appointed volume spray liquid to the work intracavity of tower body through the moisturizing pipe, then circulating pump subassembly then with the spray liquid pump in the work intracavity send spray assembly to, and spray assembly sprays spray liquid to the top of packing subassembly, at this moment let in waste gas and oxygen to the work intracavity respectively through intake pipe and oxygen pipe, waste gas and oxygen are then in packing subassembly abundant contact reaction with spray liquid at this moment, in order to reach the purpose of waste gas desulfurization, the waste gas after the desulfurization is discharged the tower body by the blast pipe after demister subassembly removes vapor, and the spray liquid after the reaction passes packing subassembly and drops to the bottom of work chamber, in the course that waste gas spray tower handled waste gas, after the one end time, work needs to start gear motor so that gear motor's output drives the power shaft and rotates, then the power shaft drive the pivot through power steering gear and driven steering gear cooperation and rotate under the spacing of firm bearing, at this moment the scraper blade then rotates along with the rotation of pivot in step, at scraper blade pivoted in-process, the scraper of scraper blade then scrapes the solid deposit of tower body bottom and promotes the solid deposit and rotate along with the scraper, when the solid deposit removed the top to the collecting tank, then the solid deposit then dropped to the collecting tank in, then start the blowdown pump subassembly and make the interior accumulational solid deposit of collecting tank of blowdown pump subassembly and the spray liquid discharge tower body that the reaction finishes can.
The terms "front", "rear", "left", "right" and the like as used herein are for illustrative purposes only.
The foregoing is only a preferred embodiment of the present invention, and it should be noted that, for those skilled in the art, a plurality of modifications and variations can be made without departing from the technical principle of the present invention, and these modifications and variations should also be regarded as the protection scope of the present invention.

Claims (8)

1.一种废气喷淋塔,包括塔体(1)、填料组件(2)、喷淋组件(3)、循环泵组件(4)、排污泵组件(5)和除雾器组件(6),塔体(1)的内部设置有工作腔(7),工作腔(7)的顶端和左端中下部区域分别连通设置有排气管(8)、进气管(9)和氧气管(10),喷淋组件(3)安装在工作腔(7)的顶部,循环泵组件(4)和排污泵组件(5)分别安装在塔体(1)的底部区域右端和左端,循环泵组件(4)的输入端位于工作腔(7)的底部,循环泵组件(4)的输出端与喷淋组件(3)的输入端连通,填料组件(2)安装在工作腔(7)的中上部区域,除雾器组件(6)安装在工作腔(7)的顶端,填料组件(2)和除雾组件分别位于喷淋组件(3)的下侧和上侧,工作腔(7)的右端中下部区域连通设置有补液管(11);其特征在于,还包括减速电机(12)、动力轴(13)、动力转向齿轮(14)、从动转向齿轮(15)、转轴(16)、稳固轴承(17)和刮板(18),所述减速电机(12)的右端与塔体(1)的左端中下部区域连接,所述工作腔(7)的左端中下部区域连通设置有插入孔,所述减速电机(12)的输出端自塔体(1)的外侧密封转动穿过插入孔并且伸入至工作腔(7)内,所述减速电机(12)的输出端与动力轴(13)的左端连接,所述动力轴(13)的右端与动力转向齿轮(14)的左端连接,所述工作腔(7)的底端中部设置有稳固槽,所述稳固轴承(17)外侧壁与稳固槽的内侧壁固定连接,所述稳固轴承(17)与转轴(16)的底端过盈连接,所述转轴(16)的顶端与从动转向齿轮(15)的底端连接,所述动力转向齿轮(14)的底部区域与从动转向齿轮(15)的左部区域啮合,所述刮板(18)的左端与转轴(16)的底部区域右端连接,所述刮板(18)的底端设置有刮刀,所述刮刀的底端与工作腔(7)的底端滑动紧贴,所述工作腔(7)的底端左侧连通设置有集料槽(19),所述集料槽(19)的左端连通设置有伸入孔,所述排污泵组件(5)的输入端自塔体(1)的左侧密封穿过伸入孔并且伸入至集料槽(19)内。1. An exhaust gas spray tower, comprising a tower body (1), a packing assembly (2), a spray assembly (3), a circulating pump assembly (4), a sewage pump assembly (5) and a mist eliminator assembly (6) , the interior of the tower body (1) is provided with a working cavity (7), and the top and the middle and lower regions of the left end of the working cavity (7) are respectively connected with an exhaust pipe (8), an air intake pipe (9) and an oxygen pipe (10) , the spray assembly (3) is installed on the top of the working chamber (7), the circulating pump assembly (4) and the sewage pump assembly (5) are installed on the right and left ends of the bottom area of the tower body (1) respectively, and the circulating pump assembly (4) The input end of ) is located at the bottom of the working chamber (7), the output end of the circulating pump assembly (4) is communicated with the input end of the spray assembly (3), and the packing assembly (2) is installed in the middle and upper area of the working chamber (7). , the mist eliminator assembly (6) is installed at the top of the working chamber (7), the packing assembly (2) and the mist eliminator assembly are located on the lower side and the upper side of the spray assembly (3), respectively, in the right end of the working chamber (7). A liquid replenishing pipe (11) is communicated and arranged in the lower area; it is characterized in that it also includes a reduction motor (12), a power shaft (13), a power steering gear (14), a driven steering gear (15), a rotating shaft (16), a stable Bearings (17) and scrapers (18), the right end of the geared motor (12) is connected to the middle and lower regions of the left end of the tower body (1), and the middle and lower regions of the left end of the working chamber (7) are communicated and provided with insertion holes , the output end of the reduction motor (12) is sealed and rotated from the outside of the tower body (1), passes through the insertion hole and extends into the working chamber (7), and the output end of the reduction motor (12) is connected to the power shaft ( 13) is connected with the left end of the power shaft (13), the right end of the power shaft (13) is connected with the left end of the power steering gear (14), the middle of the bottom end of the working chamber (7) is provided with a stable groove, and the outside of the stable bearing (17) The wall is fixedly connected with the inner side wall of the stable groove, the stable bearing (17) is connected with the bottom end of the rotating shaft (16) by interference, and the top end of the rotating shaft (16) is connected with the bottom end of the driven steering gear (15), The bottom area of the power steering gear (14) meshes with the left area of the driven steering gear (15), the left end of the scraper (18) is connected to the right end of the bottom area of the rotating shaft (16), and the scraper ( 18) The bottom end is provided with a scraper, and the bottom end of the scraper is in sliding contact with the bottom end of the working chamber (7), and the left side of the bottom end of the working chamber (7) is communicated with a collecting trough (19), The left end of the collecting trough (19) is communicated with a protruding hole, and the input end of the sewage pump assembly (5) is sealed from the left side of the tower body (1) through the protruding hole and protrudes into the collecting trough (19). 2.如权利要求1所述的一种废气喷淋塔,其特征在于,还包括加固杆(20)和加固环(21),所述加固杆(20)的左端与工作腔(7)的左端中下部区域连接,所述加固杆(20)的右部区域底端与加固环(21)的顶端连接,所述加固环(21)与动力轴(13)转动套装。2. An exhaust gas spray tower according to claim 1, characterized in that, further comprising a reinforcement rod (20) and a reinforcement ring (21), the left end of the reinforcement rod (20) being connected to the left end of the working chamber (7) The middle and lower regions of the left end are connected, and the bottom end of the right region of the reinforcing rod (20) is connected to the top end of a reinforcing ring (21), which is rotatably sleeved with the power shaft (13). 3.如权利要求2所述的一种废气喷淋塔,其特征在于,还包括过滤板(22)和安装环(23),所述安装环(23)的右端与工作腔(7)的右端底部区域连接,所述安装环(23)的右端与循环泵组件(4)的输入端连通,所述安装环(23)的左部区域外侧壁设置有外螺纹,所述过滤板(22)的右端设置有安装槽,所述安装槽内设置有内螺纹,所述安装槽与安装环(23)的左部区域螺装,所述过滤板(22)的安装槽的左端贯穿设置有过滤孔,所述过滤孔上设置有细过滤网(24)。3. A waste gas spray tower as claimed in claim 2, characterized in that, further comprising a filter plate (22) and a mounting ring (23), the right end of the mounting ring (23) being connected to the end of the working chamber (7) The bottom region of the right end is connected, the right end of the mounting ring (23) is communicated with the input end of the circulating pump assembly (4), the outer side wall of the left region of the mounting ring (23) is provided with external threads, and the filter plate (22) ) is provided with an installation groove on the right end, an internal thread is provided in the installation groove, the installation groove is screwed with the left area of the installation ring (23), and the left end of the installation groove of the filter plate (22) is provided with a A filter hole is provided with a fine filter screen (24). 4.如权利要求3所述的一种废气喷淋塔,其特征在于,还包括清扫刷(25),所述清扫刷(25)的底端与刮板(18)的顶端右侧连接,所述清扫刷(25)的右端设置有多组刷毛(26),所述多组刷毛(26)的右端均与细过滤网(24)的左端滑动紧贴。4. The waste gas spray tower according to claim 3, characterized in that it further comprises a cleaning brush (25), the bottom end of the cleaning brush (25) being connected to the top right side of the scraper (18), The right end of the cleaning brush (25) is provided with a plurality of groups of bristles (26), and the right ends of the plurality of groups of bristles (26) all slide and closely adhere to the left end of the fine filter screen (24). 5.如权利要求4所述的一种废气喷淋塔,其特征在于,还包括防护轴承(27),所述加固环(21)与防护轴承(27)固定套装,所述防护轴承(27)与动力轴(13)过盈连接。5 . The waste gas spray tower according to claim 4 , further comprising a protective bearing ( 27 ), the reinforcing ring ( 21 ) and the protective bearing ( 27 ) are fixedly sleeved, and the protective bearing ( 27 ). 6 . ) is connected with the power shaft (13) by interference. 6.如权利要求5所述的一种废气喷淋塔,其特征在于,还包括防护环(28),所述防护环(28)与转轴(16)的底部区域转动密封套装,所述防护环(28)的底端与工作腔(7)的底端连接。6 . The waste gas spray tower according to claim 5 , further comprising a protective ring ( 28 ), the protective ring ( 28 ) and the bottom area of the rotating shaft ( 16 ) are rotated and sealed, and the protective ring ( 28 ) The bottom end of the ring (28) is connected with the bottom end of the working chamber (7). 7.如权利要求6所述的一种废气喷淋塔,其特征在于,所述集料槽(19)的底端右侧设置有斜面(29)。7 . The waste gas spray tower according to claim 6 , wherein a slope ( 29 ) is provided on the right side of the bottom end of the collecting trough ( 19 ). 8 . 8.如权利要求7所述的一种废气喷淋塔,其特征在于,还包括连接架(30),所述连接架(30)的左端上侧和底端右侧分别贯穿设置有两组支持孔,所述两组支持孔分别与动力轴(13)和转轴(16)轴承套装。8 . The waste gas spray tower according to claim 7 , further comprising a connecting frame ( 30 ), and two groups of two groups are respectively provided through the upper left end and the right side of the bottom end of the connecting frame ( 30 ). Support holes, the two groups of support holes are respectively fitted with the bearings of the power shaft (13) and the rotating shaft (16).
CN201921525722.3U 2019-09-12 2019-09-12 Waste gas spray tower Expired - Fee Related CN210631935U (en)

Priority Applications (1)

Application Number Priority Date Filing Date Title
CN201921525722.3U CN210631935U (en) 2019-09-12 2019-09-12 Waste gas spray tower

Applications Claiming Priority (1)

Application Number Priority Date Filing Date Title
CN201921525722.3U CN210631935U (en) 2019-09-12 2019-09-12 Waste gas spray tower

Publications (1)

Publication Number Publication Date
CN210631935U true CN210631935U (en) 2020-05-29

Family

ID=70791509

Family Applications (1)

Application Number Title Priority Date Filing Date
CN201921525722.3U Expired - Fee Related CN210631935U (en) 2019-09-12 2019-09-12 Waste gas spray tower

Country Status (1)

Country Link
CN (1) CN210631935U (en)

Cited By (3)

* Cited by examiner, † Cited by third party
Publication number Priority date Publication date Assignee Title
CN112755769A (en) * 2020-12-26 2021-05-07 盐城市雷击环保科技有限公司 Factory production waste gas desulfurization and denitrification tower and purification method thereof
CN116274329A (en) * 2023-03-17 2023-06-23 江苏环保产业技术研究院股份公司 Polluted soil isolation structure device capable of being automatically cleaned
CN120919792A (en) * 2025-08-11 2025-11-11 烟台奥维环保科技有限公司 Integrated VOCs waste gas pretreatment equipment

Cited By (4)

* Cited by examiner, † Cited by third party
Publication number Priority date Publication date Assignee Title
CN112755769A (en) * 2020-12-26 2021-05-07 盐城市雷击环保科技有限公司 Factory production waste gas desulfurization and denitrification tower and purification method thereof
CN116274329A (en) * 2023-03-17 2023-06-23 江苏环保产业技术研究院股份公司 Polluted soil isolation structure device capable of being automatically cleaned
CN116274329B (en) * 2023-03-17 2023-10-13 江苏环保产业技术研究院股份公司 Polluted soil isolation structure device capable of being automatically cleaned
CN120919792A (en) * 2025-08-11 2025-11-11 烟台奥维环保科技有限公司 Integrated VOCs waste gas pretreatment equipment

Similar Documents

Publication Publication Date Title
CN210631935U (en) Waste gas spray tower
CN209934359U (en) Feed workshop dust collector
CN215138279U (en) Exhaust treatment device for environmental engineering
CN208927837U (en) A kind of equipment handling organic exhaust gas
CN117225127B (en) Self-cleaning treatment equipment for waste gas containing particulate pollutants
CN112892141A (en) Multi-element dust purification equipment in factory
CN213965853U (en) Dust collector is used in processing of waterborne polyurethane waterproofing paint
CN219355652U (en) Waste gas spray tower equipment
CN117357988A (en) Metallurgical waste gas dust collection treatment device
CN208678692U (en) A kind of semiconductor waste gas cleaning equipment
CN117000024B (en) Efficient steel smelting waste gas dust removal device and method thereof
CN218740990U (en) PP (polypropylene) waste gas treatment cyclone tower
CN216295588U (en) Waste gas treatment device for industrial production convenient to clearance dust
CN216062716U (en) Efficient flue gas desulfurization device for thermal power plant
CN216677520U (en) Low temperature is dust removal pipeline for flue gas
CN215842259U (en) A dust treatment device for production and processing workshop
CN213699321U (en) A high-efficient dust collecting equipment for investment casting
CN117138504A (en) A wet slag bin dust collector
CN115403209A (en) Environment-friendly industrial pipeline pollution discharge filter and use method thereof
CN210560300U (en) Natural gas conveying air pressure adjusting device
CN220968525U (en) Anti-blocking waste gas treatment equipment
CN212594672U (en) A waste gas treatment device for environmental engineering
CN218458928U (en) Multi-functional air purifier with denitration function
CN221761993U (en) A dust suppression device for underground mining
CN220824948U (en) Automatic cleaning system of high-voltage electrostatic tar precipitator

Legal Events

Date Code Title Description
GR01 Patent grant
GR01 Patent grant
CF01 Termination of patent right due to non-payment of annual fee
CF01 Termination of patent right due to non-payment of annual fee

Granted publication date: 20200529