CN210607661U - A 10KV cable welding intermediate joint - Google Patents

A 10KV cable welding intermediate joint Download PDF

Info

Publication number
CN210607661U
CN210607661U CN201922080976.5U CN201922080976U CN210607661U CN 210607661 U CN210607661 U CN 210607661U CN 201922080976 U CN201922080976 U CN 201922080976U CN 210607661 U CN210607661 U CN 210607661U
Authority
CN
China
Prior art keywords
connecting sleeve
intermediate joint
wall
conductor
sets
Prior art date
Legal status (The legal status is an assumption and is not a legal conclusion. Google has not performed a legal analysis and makes no representation as to the accuracy of the status listed.)
Expired - Fee Related
Application number
CN201922080976.5U
Other languages
Chinese (zh)
Inventor
刘军波
吴彩霞
黄承业
张海涛
Current Assignee (The listed assignees may be inaccurate. Google has not performed a legal analysis and makes no representation or warranty as to the accuracy of the list.)
Joca Jiangsu Intelligent Electric Power Technology Co ltd
Original Assignee
Joca Jiangsu Intelligent Electric Power Technology Co ltd
Priority date (The priority date is an assumption and is not a legal conclusion. Google has not performed a legal analysis and makes no representation as to the accuracy of the date listed.)
Filing date
Publication date
Application filed by Joca Jiangsu Intelligent Electric Power Technology Co ltd filed Critical Joca Jiangsu Intelligent Electric Power Technology Co ltd
Priority to CN201922080976.5U priority Critical patent/CN210607661U/en
Application granted granted Critical
Publication of CN210607661U publication Critical patent/CN210607661U/en
Expired - Fee Related legal-status Critical Current
Anticipated expiration legal-status Critical

Links

Images

Landscapes

  • Cable Accessories (AREA)

Abstract

本实用新型公开了一种10KV电缆熔接中间接头,包括电缆本体,电缆本体的内部包裹式设置有导体,导体的外壁包裹设置有铜屏蔽,铜屏蔽的外壁包裹设置有内保护套,内保护套的外壁包裹设置有外保护套,导体的一端套设有连接套筒,连接套筒的内部两端套设有固定卡圈,通过旋拧连接套筒上的两组紧固螺栓,使紧固螺栓的底端挤压固定卡圈,从而使固定卡圈的两端向内收缩,将导体两端固定连接住,避免了传统的围压式或支架包裹式,导致连接不牢固,同时设置的固定卡圈还可以通过更换,以适应不同直径导体的电缆,在连接套筒两端设置的内热缩中间接头,包裹住铜屏蔽,避免了传统的中间接头方式,导致导体与中间接头的套筒之间留有间隙。

Figure 201922080976

The utility model discloses a 10KV cable welding intermediate joint, which comprises a cable body, the inner part of the cable body is provided with a conductor, the outer wall of the conductor is wrapped with a copper shield, the outer wall of the copper shield is wrapped with an inner protective sleeve, and the inner protective sleeve The outer wall of the conductor is covered with an outer protective sleeve, one end of the conductor is sleeved with a connecting sleeve, and the inner two ends of the connecting sleeve are sleeved with fixed collars. By screwing two sets of fastening bolts on the connecting sleeve, the fastening The bottom end of the bolt squeezes the fixed collar, so that the two ends of the fixed collar shrink inwardly, and the two ends of the conductor are fixedly connected, avoiding the traditional confining pressure type or bracket wrapping type, resulting in an unstable connection. The fixed collar can also be replaced to adapt to cables with conductors of different diameters. The inner heat-shrinkable intermediate joints set at both ends of the connecting sleeve wrap the copper shield, avoiding the traditional intermediate joint method. There are gaps in between.

Figure 201922080976

Description

10KV cable welding intermediate joint
Technical Field
The utility model belongs to the technical field of the cable intermediate head, concretely relates to 10KV cable butt fusion intermediate head.
Background
The cable mainly comprises the following 4 parts, 1, a conductive wire core: made of a high conductivity material (copper or aluminum). According to the requirements of laying use conditions on the flexibility degree of the cable, each wire core can be formed by twisting a single wire or a plurality of wires, and 2, an insulating layer: the insulating material used for the cable should have high insulation resistance, high breakdown field strength, low dielectric loss and low dielectric constant, the insulating materials commonly used in the cable are oil-impregnated paper, polyvinyl chloride, polyethylene, cross-linked polyethylene, rubber, etc., the cable is often classified by the insulating materials, such as oil-impregnated paper-insulated cable, polyvinyl chloride cable, cross-linked polyethylene cable, etc., 3, sealing sheath: protecting the insulated wire core from damage by mechanical, moisture, humidity, chemicals, light, etc., for moisture-sensitive insulation, a lead or aluminum extrusion sealing sheath is generally used, 4, a protective covering layer: the cable is used for protecting a sealing sheath from mechanical damage, a galvanized steel strip, a steel wire or a copper strip, a copper wire and the like are generally adopted as armor to wrap the sheath (called an armored cable), an armor layer simultaneously plays a role in electric field shielding and preventing external electromagnetic wave interference, in order to avoid corrosion of surrounding media to the steel strip and the steel wire, asphalt is generally coated or a jute layer is wrapped or a polyethylene and polyvinyl chloride sleeve is extruded outside the steel strip and the steel wire, most of the existing cables are subjected to confining pressure during intermediate butt joint, the installation is complicated, and gaps are easily left between two ends of an intermediate joint and a conductor, so that the sealing is not tight or a good waterproof effect cannot be achieved, and therefore the prior art needs to be improved to solve the problems.
SUMMERY OF THE UTILITY MODEL
An object of the utility model is to provide a 10KV cable butt fusion intermediate head to solve the problem that proposes among the above-mentioned background art.
In order to achieve the above object, the utility model provides a following technical scheme: the utility model provides a 10KV cable butt fusion intermediate head, including the cable body, the inside parcel formula of cable body is provided with the conductor, the outer wall parcel of conductor is provided with the copper shielding, the outer wall parcel of copper shielding is provided with interior protective sheath, the outer wall parcel of interior protective sheath is provided with outer protective sheath, the pot head of conductor is equipped with connecting sleeve, connecting sleeve's inside both ends cover is equipped with fixed rand, connecting sleeve's inside and the fixed metal conducting block that is provided with in the centre that is located two sets of fixed rands, the fixed screw hole that is provided with in connecting sleeve's top both sides, there is fastening bolt through threaded connection in the screw hole on the connecting sleeve, fastening bolt runs through the screw hole and extends to connecting sleeve's inside and contacts with fixed rand, two sets of scale grooves have been seted up to connecting sleeve's bottom outer wall, the.
Further, the cable body is provided with two sets.
Further, two sets of fixed rands are by the component of taking elastic metal material to make, and two sets of fixed rand one end are disconnected formula structure, and one end stack on the other end, and thickness is greater than the thickness of both ends disconnection department in the middle of two sets of fixed rands, makes the both ends of fixed rand be rich in elasticity, can be with the fastening more of conductor parcel.
Furthermore, two sets of scale groove positions set up in the both sides that are located metal conducting block, when carrying out the girdling to the copper shielding, aim at the scale groove with the one end of cable body to do the mark on the copper shielding and carry out the girdling, can guarantee that the one end of cutting back conductor can contact the inside metal conducting block of connecting sleeve.
Furthermore, two sets of fastening bolts are arranged to be bolts with inner hexagon nuts, so that the outer wall of the connecting sleeve is smooth, and the outer thermal shrinkage intermediate joint is conveniently wrapped.
Furthermore, the connecting part of the outer protective sleeve and the inner protective sleeve, the connecting part of the inner protective sleeve and the copper shield and the connecting part of the copper shield and the conductor are provided with steps, so that an outer heat-shrinkable intermediate joint and an inner heat-shrinkable intermediate joint are conveniently sleeved.
Furthermore, the two ends of the outer heat-shrinkable intermediate joint wrap the outer wall of the inner protective sleeve, and the two ends of the inner heat-shrinkable intermediate joint wrap the outer wall of the copper shield, so that a gap between the conductor and the sleeve of the intermediate joint caused by a traditional intermediate joint mode is avoided.
Compared with the prior art, the beneficial effects of the utility model are that: this a 10KV cable butt fusion intermediate head, its inside cover that sets up is equipped with two sets of fixed rand of being made by elastic metal material in addition, when the inside conductor of cable body inserts fixed rand inside, through twisting two sets of fastening bolt on the adapter sleeve soon, make fastening bolt's bottom extrusion fixed rand, thereby make the both ends of fixed rand shrink inwards, live conductor both ends fixed connection, traditional formula or support parcel formula of enclosing has been avoided, lead to the insecure connection, the fixed rand that sets up simultaneously can also be through changing, with the cable of the different diameter conductors of adaptation, the internal heat that sets up at the adapter sleeve both ends contracts the intermediate head, wrap up the copper shield, traditional intermediate head mode has been avoided, lead to leaving the clearance between the sleeve of conductor and intermediate head.
Drawings
The accompanying drawings are included to provide a further understanding of the invention, and are incorporated in and constitute a part of this specification, illustrate embodiments of the invention, and together with the description serve to explain the invention and not to limit the invention. In the drawings:
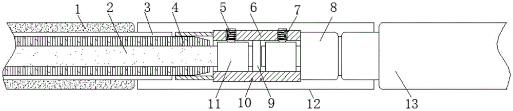
FIG. 1 is an overall view of the present invention;
fig. 2 is a left side view of the connecting sleeve of the present invention.
In the figure: 1. an outer protective sheath; 2. a conductor; 3. an inner protective sheath; 4. shielding copper; 5. fastening a bolt; 6. A connecting sleeve; 7. a threaded hole; 8. an inner heat-shrinkable intermediate joint; 9. a metal conductive block; 10. a scale groove; 11. a fixed collar; 12. an outer heat-shrinkable intermediate joint; 13. a cable body.
Detailed Description
The technical solutions in the embodiments of the present invention will be described clearly and completely with reference to the accompanying drawings in the embodiments of the present invention, and it is obvious that the described embodiments are only some embodiments of the present invention, not all embodiments. Based on the embodiments in the present invention, all other embodiments obtained by a person skilled in the art without creative work belong to the protection scope of the present invention.
Referring to fig. 1-2, the present invention provides a technical solution: a10 KV cable fusion intermediate joint comprises a cable body 13, a conductor 2 is arranged in the cable body 13 in a wrapping mode, a copper shield 4 is arranged on the outer wall of the conductor 2 in a wrapping mode, an inner protective sleeve 3 is arranged on the outer wall of the copper shield 4 in a wrapping mode, an outer protective sleeve 1 is arranged on the outer wall of the inner protective sleeve 3 in a wrapping mode, a connecting sleeve 6 is sleeved at one end of the conductor 2, fixing clamping rings 11 are sleeved at two ends of the inner portion of the connecting sleeve 6, a metal conductive block 9 is fixedly arranged in the connecting sleeve 6 and located in the middle of the two groups of fixing clamping rings 11, threaded holes 7 are fixedly arranged on two sides of the top end of the connecting sleeve 6, fastening bolts 5 are connected in the threaded holes 7 in the connecting sleeve 6 through threads, the fastening bolts 5 penetrate through the threaded holes 7 and extend to the inner portion of, the two ends of the connecting sleeve 6 are fixedly provided with inner heat-shrinkable intermediate joints 8, and the outer wall of the connecting sleeve 6 is wrapped with outer heat-shrinkable intermediate joints 12.
As shown in fig. 1, the cable body 13 is provided with two sets.
As shown in fig. 2, two sets of fixing collars 11 are members made of elastic metal materials, one end of each of the two sets of fixing collars 11 is of a disconnected structure, and one end of each of the two sets of fixing collars 11 is superposed on the other end of each of the two sets of fixing collars, and the thickness of the middle of each of the two sets of fixing collars 11 is greater than that of the disconnected parts at the two ends of each of the two sets of fixing collars, so that the two ends of each of the fixing collars 11 are.
As shown in fig. 1, two sets of scale grooves 10 are disposed on two sides of the metal conductive block 9, when the copper shield 4 is subjected to circular cutting, one end of the cable body 13 is aligned with the scale grooves 10, and marks are made on the copper shield 4 for circular cutting, so that one end of the cut conductor 2 can be ensured to contact the metal conductive block 9 inside the connecting sleeve 6.
As shown in fig. 1, the two sets of fastening bolts 5 are provided as bolts with hexagon socket head cap nuts, so that the outer wall of the connecting sleeve 6 is flat, thereby facilitating the wrapping of the outer heat-shrinkable intermediate joint 12.
As shown in fig. 1, steps are provided at the joint of the outer protective sleeve 1 and the inner protective sleeve 3, the joint of the inner protective sleeve 3 and the copper shield 4, and the joint of the copper shield 4 and the conductor 2, so as to conveniently sleeve the outer thermal contraction intermediate joint 12 and the inner thermal contraction intermediate joint 8.
As shown in fig. 1, two ends of the outer heat-shrinkable intermediate joint 12 are wrapped on the outer wall of the inner protective sleeve 3, and two ends of the inner heat-shrinkable intermediate joint 8 are wrapped on the outer wall of the copper shield 4, so that a gap between the conductor 2 and the sleeve of the intermediate joint caused by a traditional intermediate joint mode is avoided.
The utility model discloses a theory of operation and use flow: when the 10KV cable fusion-splicing intermediate joint is used, the outer protective sleeve 1, the inner protective sleeve 2 and the copper shield 4 are sequentially cut off in an annular mode according to installation specifications of two cable bodies 13 according to actual needs, attention is paid to the fact that when the copper shield 4 is subjected to annular cutting, one ends of the two cable bodies 13 are aligned to the scale groove 10, marks are marked on the copper shield 4 for annular cutting, it can be guaranteed that one end of the cut conductor 2 can contact the metal conducting block 9 inside the connecting sleeve 6, the exposed part of the conductor 2 is inserted into the connecting sleeve 6 after the annular cutting is completed, end faces of the two conductors 2 are in contact with the metal conducting block 9, after the insertion, the fastening bolt 5 is screwed through a wrench, the bottom end of the fastening bolt 5 extrudes the fixing clamping ring 11, so that two ends of the fixing clamping ring 11 are inwardly contracted, two ends of the conductor 2 are fixedly connected, and the traditional confining pressure type or support wrapping type is avoided, lead to connecting insecure, the fixed rand 1 that sets up simultaneously can also be through changing to adapt to the cable of different diameter conductors 2, fixed completion back, through the interior heat shrink intermediate head 8 at external equipment heating connecting sleeve 6 both ends, wrap up the clearance of the installation between copper shield 4 and the connecting sleeve 6, then with outer heat shrink intermediate head 12 through external equipment heating can.
It should be noted that, in this document, the terms "upper", "lower", "inner", "outer", "front end", "rear end", "both ends", "one end", "the other end", etc. indicate the orientation or positional relationship based on the orientation or positional relationship shown in the drawings, which are only for convenience of describing the present invention and simplifying the description, but do not indicate or imply that the device or element referred to must have a specific orientation, be constructed and operated in a specific orientation, and thus, should not be construed as limiting the present invention.
Although embodiments of the present invention have been shown and described, it will be appreciated by those skilled in the art that changes, modifications, substitutions and alterations can be made in these embodiments without departing from the principles and spirit of the invention, the scope of which is defined in the appended claims and their equivalents.

Claims (7)

1.一种10KV电缆熔接中间接头,包括电缆本体(13),其特征在于:所述电缆本体(13)的内部包裹式设置有导体(2),所述导体(2)的外壁包裹设置有铜屏蔽(4),所述铜屏蔽(4)的外壁包裹设置有内保护套(3),所述内保护套(3)的外壁包裹设置有外保护套(1),所述导体(2)的一端套设有连接套筒(6),所述连接套筒(6)的内部两端套设有固定卡圈(11),所述连接套筒(6)的内部且位于两组固定卡圈(11)的中间固定设置有金属导电块(9),所述连接套筒(6)的顶端两侧固定设置有螺纹孔(7),所述连接套筒(6)上的螺纹孔(7)内通过螺纹连接有紧固螺栓(5),所述紧固螺栓(5)贯穿螺纹孔(7)并延伸至连接套筒(6)的内部与固定卡圈(11)相接触,所述连接套筒(6)的底部外壁开设有两组刻度槽(10),所述连接套筒(6)的两端固定设置有内热缩中间接头(8),所述连接套筒(6)的外壁包裹式设置有外热缩中间接头(12)。1. A 10KV cable welding intermediate joint, comprising a cable body (13), characterized in that: the inner wrapping of the cable body (13) is provided with a conductor (2), and the outer wall of the conductor (2) is wrapped and provided with A copper shield (4), the outer wall of the copper shield (4) is wrapped with an inner protective cover (3), the outer wall of the inner protective cover (3) is wrapped with an outer protective cover (1), the conductor (2) One end of the connecting sleeve (6) is sleeved with a connecting sleeve (6), the inner two ends of the connecting sleeve (6) are sleeved with a fixing collar (11), and the inside of the connecting sleeve (6) is located in two groups of fixed A metal conductive block (9) is fixedly arranged in the middle of the clamping ring (11), threaded holes (7) are fixedly arranged on both sides of the top end of the connecting sleeve (6), and the threaded holes on the connecting sleeve (6) (7) A tightening bolt (5) is threadedly connected inside, and the tightening bolt (5) penetrates the threaded hole (7) and extends to the interior of the connecting sleeve (6) to be in contact with the fixing collar (11), The bottom outer wall of the connecting sleeve (6) is provided with two sets of scale grooves (10), both ends of the connecting sleeve (6) are fixedly provided with inner heat shrinkable intermediate joints (8), and the connecting sleeve (6) The outer wall of the ) is provided with an outer heat shrinkable intermediate joint (12). 2.根据权利要求1所述的一种10KV电缆熔接中间接头,其特征在于:所述电缆本体(13)设置有两组。2. A 10KV cable welding intermediate joint according to claim 1, characterized in that: the cable body (13) is provided with two groups. 3.根据权利要求1所述的一种10KV电缆熔接中间接头,其特征在于:两组所述固定卡圈(11)由带弹性的金属材料制成的构件,两组所述固定卡圈(11)一端为断开式结构,且一端叠加在另一端上,两组所述固定卡圈(11)中间厚度大于两端断开处的厚度。3. A 10KV cable welding intermediate joint according to claim 1, characterized in that: the two sets of said fixing collars (11) are made of elastic metal materials, and the two sets of said fixing collars (11) are made of elastic metal materials. 11) One end is a disconnected structure, and one end is superimposed on the other end, and the middle thickness of the two sets of the fixing collars (11) is greater than the thickness at the disconnected ends. 4.根据权利要求1所述的一种10KV电缆熔接中间接头,其特征在于:两组所述刻度槽(10)位置设置在位于金属导电块(9)的两侧。4. The 10KV cable welding intermediate joint according to claim 1, wherein the two sets of scale grooves (10) are positioned on both sides of the metal conductive block (9). 5.根据权利要求1所述的一种10KV电缆熔接中间接头,其特征在于:两组所述紧固螺栓(5)设置为带有内六角螺帽的螺栓。5 . The 10KV cable welding intermediate joint according to claim 1 , wherein the two sets of fastening bolts ( 5 ) are provided as bolts with inner hexagon nuts. 6 . 6.根据权利要求1所述的一种10KV电缆熔接中间接头,其特征在于:所述外保护套(1)与内保护套(3)的连接处、内保护套(3)与铜屏蔽(4)的连接处和铜屏蔽(4)与导体(2)的连接处均设置有台阶。6. A 10KV cable welding intermediate joint according to claim 1, characterized in that: the connection between the outer protective sleeve (1) and the inner protective sleeve (3), the inner protective sleeve (3) and the copper shield ( Steps are provided at the junction of 4) and the junction between the copper shield (4) and the conductor (2). 7.根据权利要求1所述的一种10KV电缆熔接中间接头,其特征在于:所述外热缩中间接头(12)的两端包裹在内保护套(3)的外壁,所述内热缩中间接头(8)的两端包裹在铜屏蔽(4)的外壁。7. A 10KV cable welding intermediate joint according to claim 1, characterized in that: both ends of the outer heat shrinkable intermediate joint (12) are wrapped around the outer wall of the inner protective sheath (3), and the inner heat shrinkable intermediate joint (12) is wrapped around the outer wall of the inner protective sleeve (3). Both ends of the connector (8) are wrapped around the outer wall of the copper shield (4).
CN201922080976.5U 2019-11-27 2019-11-27 A 10KV cable welding intermediate joint Expired - Fee Related CN210607661U (en)

Priority Applications (1)

Application Number Priority Date Filing Date Title
CN201922080976.5U CN210607661U (en) 2019-11-27 2019-11-27 A 10KV cable welding intermediate joint

Applications Claiming Priority (1)

Application Number Priority Date Filing Date Title
CN201922080976.5U CN210607661U (en) 2019-11-27 2019-11-27 A 10KV cable welding intermediate joint

Publications (1)

Publication Number Publication Date
CN210607661U true CN210607661U (en) 2020-05-22

Family

ID=70688262

Family Applications (1)

Application Number Title Priority Date Filing Date
CN201922080976.5U Expired - Fee Related CN210607661U (en) 2019-11-27 2019-11-27 A 10KV cable welding intermediate joint

Country Status (1)

Country Link
CN (1) CN210607661U (en)

Cited By (1)

* Cited by examiner, † Cited by third party
Publication number Priority date Publication date Assignee Title
CN118866446A (en) * 2024-07-08 2024-10-29 承德可得电子有限责任公司 A water-resistant and flame-retardant cable

Cited By (1)

* Cited by examiner, † Cited by third party
Publication number Priority date Publication date Assignee Title
CN118866446A (en) * 2024-07-08 2024-10-29 承德可得电子有限责任公司 A water-resistant and flame-retardant cable

Similar Documents

Publication Publication Date Title
CN111145950B (en) Anti-corrosion fireproof cable
CN206023168U (en) A kind of three core high-pressure undersea bottom power cable connector boxes
CN205211465U (en) Insulating welding corrugated aluminium sheath polymer sheath power cable of middling pressure crosslinked polyethylene
CN105305362A (en) Cable connector
CN210607661U (en) A 10KV cable welding intermediate joint
CN101777706A (en) Cable reducer conductor connecting structure for nuclear power plant
CN205230649U (en) Insulating welding wrinkle aluminum alloy cover polymer sheath high tension cable of crosslinked polyethylene
CN209029896U (en) One kind is around packet mode transition joint
CN209963294U (en) Insulating sealing joint and connecting structure thereof
CN111293664A (en) Cable terminal tail pipe and connecting process thereof
CN207800161U (en) A kind of multi-core power cable
CN203562236U (en) Medium-voltage lead sheath cable
CN201222643Y (en) Inner waterproofing type middle, low-voltage crosslinked polyetylene insulated cable shrinking straight joint
CN115308867B (en) Down conductor of OPGW and method of adopting the down conductor insulated optical unit
KR20120038177A (en) Structure for connecting alumimum sheath of power cable and outer case of joint box
CN208093772U (en) A waterproof cable fusion joint
KR20200101857A (en) Jointing Structure Of Power Cable
CN217689508U (en) connection device
CN117080988A (en) Manufacturing method of cold-shrink terminal end of three-core high-voltage crosslinked polyethylene insulated cable
CN203260362U (en) High-voltage and extra-high voltage flexible direct-current power transmission fiber composite extrusion insulation power cable
CN210535927U (en) Connecting device for cable
CN204068186U (en) cable connection assembly
KR20230099232A (en) Insulation cover of electric wire sleeve
CN204087902U (en) Novel expanding self cooling pre-branch power cable
CN215496101U (en) Integrated control cable accessory

Legal Events

Date Code Title Description
GR01 Patent grant
GR01 Patent grant
CF01 Termination of patent right due to non-payment of annual fee

Granted publication date: 20200522

CF01 Termination of patent right due to non-payment of annual fee