CN210606735U - Environment-friendly water-blocking fire-resistant cable - Google Patents

Environment-friendly water-blocking fire-resistant cable Download PDF

Info

Publication number
CN210606735U
CN210606735U CN201921728870.5U CN201921728870U CN210606735U CN 210606735 U CN210606735 U CN 210606735U CN 201921728870 U CN201921728870 U CN 201921728870U CN 210606735 U CN210606735 U CN 210606735U
Authority
CN
China
Prior art keywords
retardant
flame
layer
cable
fire
Prior art date
Legal status (The legal status is an assumption and is not a legal conclusion. Google has not performed a legal analysis and makes no representation as to the accuracy of the status listed.)
Expired - Fee Related
Application number
CN201921728870.5U
Other languages
Chinese (zh)
Inventor
周伟
Current Assignee (The listed assignees may be inaccurate. Google has not performed a legal analysis and makes no representation or warranty as to the accuracy of the list.)
Hubei Lisheng Cable Co ltd
Original Assignee
Hubei Lisheng Cable Co ltd
Priority date (The priority date is an assumption and is not a legal conclusion. Google has not performed a legal analysis and makes no representation as to the accuracy of the date listed.)
Filing date
Publication date
Application filed by Hubei Lisheng Cable Co ltd filed Critical Hubei Lisheng Cable Co ltd
Priority to CN201921728870.5U priority Critical patent/CN210606735U/en
Application granted granted Critical
Publication of CN210606735U publication Critical patent/CN210606735U/en
Expired - Fee Related legal-status Critical Current
Anticipated expiration legal-status Critical

Links

Images

Landscapes

  • Insulating Bodies (AREA)

Abstract

The utility model discloses an environment-friendly fire resisting cable that blocks water, including first cable conductor, second cable conductor, thread bush, internal thread, seal ring, conductor, thread plate, external screw thread, through-hole, fire-retardant oversheath, the zone of blocking water, first fixed cloth layer, first flexure strip, second flexure strip, the fixed cloth layer of second, fire-retardant filling layer, fire-retardant insulating core cover, insulating mica layer, annealing round copper line, the fire-retardant soft strip in middle part, round hole and stretch-proofing rope. The utility model has reasonable structure, improves the flame-retardant effect of the cable through the matching effect of the insulating wire core, the flame-retardant filling layer, the middle flame-retardant soft strip and the flame-retardant outer sheath, simultaneously, the water-blocking tape layer enables the cable to have the water-blocking effect, improves the overall compression resistance of the cable through the compression-resistant elastic layer, and is not easy to damage when being stressed; be provided with joint design, be convenient for carry on connecting between two cables.

Description

Environment-friendly water-blocking fire-resistant cable
Technical Field
The utility model relates to a cable specifically is an environment-friendly fire resisting cable that blocks water belongs to cable application technical field.
Background
With the continuous development of urban construction, hospitals, movie theaters, subways, tunnels, railways, airports, stations, large-scale gymnasiums, large supermarkets, hotels and high-rise buildings and other large-scale public places are more and more, the loss caused by fire disasters due to cable breakdown is increasingly serious, the development of urban construction and the life of people are seriously influenced, and therefore higher requirements are put forward on cables.
The fire-resistant cables popular in the market at present comprise mineral insulated cables, the products generally adopt magnesium hydroxide and mica as materials for insulation, adopt a straight copper pipe and a copper pipe with a braid as a sheath, are influenced by self process, have large bending radius and need to use special tools, and are mainly suitable for fire-fighting or emergency systems, the use in common occasions is rare, and the application range is small. Therefore, an environment-friendly water-blocking fire-resistant cable is provided for solving the problems.
SUMMERY OF THE UTILITY MODEL
The utility model aims at providing an environment-friendly fire resisting cable that blocks water in order to solve above-mentioned problem.
The utility model discloses a following technical scheme realizes above-mentioned purpose, an environment-friendly fire resisting cable that blocks water, including first cable conductor, second cable conductor and joint design, first cable conductor and second cable conductor constitute by fire-retardant oversheath, the band layer that blocks water, first fixed cloth layer, resistance to compression elastic layer, fire-retardant filling layer, the fixed cloth layer of second, insulating core and the fire-retardant soft strip in middle part, insulating core's figure is five, and five insulating core are the fire-retardant soft strip in middle part of annular array gomphosis distribution, fill fire-retardant filling layer between the fire-retardant soft strip in middle part and the second fixed cloth layer, resistance to compression elastic layer sets up between first fixed cloth layer and second fixed cloth layer, the band layer parcel that blocks water is in the first fixed cloth layer outside, fire-retardant oversheath parcel is in the outside of the band layer that blocks water.
Preferably, the joint structure includes thread bush, seal ring and thread disc, threaded connection between the face of cylinder of thread disc and the inner circle of thread bush, the figure of sealing the ring is two, and two seals the gomphosis of ring and install the both ends at the thread bush.
Preferably, the cylindrical surface of the threaded disc is provided with external threads, the side wall of the threaded disc is provided with five through holes distributed in an annular array, and the through holes are connected with the conductor in a embedding manner.
Preferably, the thread bush is of a circular tube type structure, and the inner wall of the thread bush is provided with an internal thread.
Preferably, the compression-resistant elastic layer is composed of a first elastic sheet and a second elastic sheet, the number of the first elastic sheet and the number of the second elastic sheet are a plurality, and the plurality of first elastic sheets and the plurality of second elastic sheets are distributed in an annular array.
Preferably, the flame-retardant filling layer is composed of a plurality of alkali-free flame-retardant rock wool ropes, and the flame-retardant filling layer is wrapped on the outer side of the insulating wire core.
Preferably, the insulated wire core is composed of a conductor, a flame-retardant insulated wire core sleeve and an insulated mica layer, the insulated mica layer is wrapped on the conductor, and the flame-retardant insulated wire core sleeve is wrapped on the outer side of the insulated mica layer.
Preferably, the conductor is composed of a plurality of annealed round copper wires.
Preferably, the periphery of the middle flame-retardant soft strip is provided with a groove, and the groove is fixedly embedded and connected with the insulated wire core.
Preferably, the middle part of the middle flame-retardant soft strip is provided with a tensile rope, and the inside of the middle flame-retardant soft strip is provided with a plurality of circular holes distributed in an annular array.
The utility model has the advantages that:
1. the environment-friendly water-blocking fire-resistant cable improves the fire-retardant effect of the cable through the matching effect of the insulating wire core, the fire-retardant filling layer, the middle fire-retardant soft strip and the fire-retardant outer sheath, and meanwhile, the water-blocking tape layer enables the cable to have the water-blocking effect;
2. the environment-friendly water-blocking fire-resistant cable is provided with a joint structure, so that two cables can be conveniently connected, after the conductors between the two cables are connected, the through holes of the thread discs are penetrated by the conductors to form mounting positions, the installation of the thread sleeves is facilitated through the arrangement of the external threads and the internal threads, the sealing rings are filled at the two ends of the thread sleeves, the joint structure can be sealed, the protection of a joint is realized, the operation is simple, and fewer external tools are used;
3. this fire-resistant cable that blocks water of environment-friendly passes through the setting of the fire-retardant soft strip in middle part, provides the mounted position for insulating core, can avoid insulating core to appear removing, for the middle part provides the packing, has improved the tensile property of whole cable simultaneously, through the setting of round hole, buffering when can pushing down produces deformation to compressive property has been improved.
Drawings
In order to more clearly illustrate the embodiments of the present invention or the technical solutions in the prior art, the drawings needed to be used in the description of the embodiments or the prior art will be briefly described below, it is obvious that the drawings in the following description are only some embodiments of the present invention, and for those skilled in the art, other drawings can be obtained according to the drawings without inventive exercise.
FIG. 1 is a schematic view of the overall structure of the present invention;
fig. 2 is a schematic view of the structure of the first cable, the second cable and the threaded disc of the present invention;
FIG. 3 is a schematic view of the structure of the threaded sleeve and the threaded disc of the present invention;
FIG. 4 is a schematic view of the structure of the threaded plate of the present invention;
FIG. 5 is a schematic view of the sealing ring structure of the present invention;
fig. 6 is a schematic cross-sectional structure view of the first cable and the second cable of the present invention.
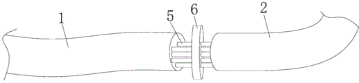
In the figure: 1. the cable comprises a first cable, a second cable, a third cable, a fourth cable, a fifth cable, a sixth cable, a seventh cable, an eighth cable, a seventh cable, a.
Detailed Description
In order to make the objects, features and advantages of the present invention more obvious and understandable, the drawings in the embodiments of the present invention are combined below to clearly and completely describe the technical solutions in the embodiments of the present invention, and obviously, the embodiments described below are only some embodiments of the present invention, but not all embodiments. Based on the embodiments in the present invention, all other embodiments obtained by a person skilled in the art without creative efforts belong to the protection scope of the present invention.
The technical solution of the present invention is further explained by the following embodiments with reference to the accompanying drawings.
In the description of the present invention, it is to be understood that the terms "upper", "lower", "top", "bottom", "inner", "outer", and the like indicate orientations or positional relationships based on those shown in the drawings, and are only for convenience of description and simplicity of description, and do not indicate or imply that the device or element referred to must have a particular orientation, be constructed and operated in a particular orientation, and therefore should not be construed as limiting the present invention.
Referring to fig. 1-6, an environment-friendly water-blocking fire-resistant cable includes a first cable 1, a second cable 2 and a joint structure, the first cable 1 and the second cable 2 are respectively composed of a flame-retardant outer sheath 7, a water-blocking tape layer 8, a first fixing cloth layer 9, a compression-resistant elastic layer, a flame-retardant filling layer 13, a second fixing cloth layer 12, insulating wire cores and middle flame-retardant soft strips 17, the number of the insulating wire cores is five, five insulated wire cores are embedded and distributed around the middle flame-retardant soft strip 17 in an annular array, a flame-retardant filling layer 13 is filled between the middle flame-retardant soft strip 17 and the second fixed cloth layer 12, the compression-resistant elastic layer is arranged between the first fixed cloth layer 9 and the second fixed cloth layer 12, the water blocking tape layer 8 is wrapped on the outer side of the first fixed cloth layer 9, and the flame-retardant outer sheath 7 is wrapped on the outer side of the water blocking tape layer 8.
The joint structure comprises a threaded sleeve 3, two sealing rings 4 and a threaded disc 6, the cylindrical surface of the threaded disc 6 is in threaded connection with the inner ring of the threaded sleeve 3, the two sealing rings 4 are embedded at two ends of the threaded sleeve 3, the threaded disc 6 is used for being in threaded connection with the threaded sleeve 3, the threaded sleeve 3 provides coverage protection for the joint of the first cable 1 and the second cable 2, and the sealing rings 4 are provided with notches and can be sleeved on the first cable 1 and the second cable 2; the cylindrical surface of the threaded disc 6 is provided with external threads 601, the side wall of the threaded disc 6 is provided with five through holes 602 distributed in an annular array, the through holes 602 are connected with the conductor 5 in a embedding manner, and the through holes 602 are used for the conductor 5 to pass through; the threaded sleeve 3 is of a circular tube type structure, an internal thread 301 is formed in the inner wall of the threaded sleeve 3, and the internal thread 301 is connected with an external thread 601; the compression-resistant elastic layer is composed of a plurality of first elastic pieces 10 and a plurality of second elastic pieces 11, the number of the first elastic pieces 10 and the number of the second elastic pieces 11 are a plurality, the plurality of first elastic pieces 10 and the plurality of second elastic pieces 11 are distributed in an annular array, and when the first elastic pieces 10 and the second elastic pieces 11 are pressed down, elastic deformation is generated, buffering can be carried out, and the compression resistance is improved; the flame-retardant filling layer 13 is composed of a plurality of alkali-free flame-retardant rock wool ropes, the flame-retardant filling layer 13 is wrapped on the outer side of the insulating wire core, and the alkali-free flame-retardant rock wool ropes improve the fire resistance; the insulated wire core is composed of a conductor 5, a flame-retardant insulated wire core sleeve 14 and an insulated mica layer 15, the insulated mica layer 15 is wrapped on the conductor 5, the flame-retardant insulated wire core sleeve 14 is wrapped on the outer side of the insulated mica layer 15, and the flame-retardant insulated wire core sleeve 14 and the insulated mica layer 15 are flame-retardant and flame-retardant; the conductor 5 consists of a plurality of annealed round copper wires 16, and the annealed round copper wires 16 form the conductor 5 for transmission; the periphery of the middle flame-retardant soft strip 17 is provided with a groove, the groove is fixedly embedded and connected with the insulated wire core, and the groove provides a mounting position for the insulated wire core; the middle part of the middle flame-retardant soft strip 17 is provided with a tensile rope 19, the inside of the middle flame-retardant soft strip 17 is provided with a plurality of circular holes 18 distributed in an annular array, the tensile rope 19 and the middle flame-retardant soft strip 17 improve the tensile property, and when being pressed, the circular holes 18 can be deformed to buffer.
When the utility model is used, when the first cable conductor 1 and the second cable conductor 2 are connected, the thread disc 6 is in threaded connection with the thread sleeve 3 through the external thread 601 ring and the internal thread 301, the through hole 602 of the thread disc 6 is embedded with the conductor 5 of the first cable conductor 1 to pass through the through hole, then the conductor 5 of the first cable conductor 1 is connected with the conductor 5 of the second cable conductor, then the sealing ring 4 is sleeved on the first cable conductor 1 and the second cable conductor 2, and the two ends of the thread sleeve 3 are plugged by pushing the sealing ring 4 to realize sealing;
the flame-retardant effect of the cable is improved through the matching effect of the insulating wire core, the flame-retardant filling layer 13, the middle flame-retardant soft strip 17 and the flame-retardant outer sheath 7, meanwhile, the water blocking tape layer 8 has the water blocking effect, the overall compression resistance of the cable is improved through the compression-resistant elastic layer, and the cable is not easy to damage when being subjected to pressure;
through the setting of the fire-retardant soft strip 17 in middle part, for the insulation core provides the mounted position, can avoid the insulation core to appear removing, for the middle part provides the packing, has improved the tensile strength of whole cable simultaneously, through the setting of round hole 18, buffering when can pushing down produces deformation to compressive property has been improved.
The sealing ring 4, the flame-retardant outer sheath 7, the first elastic sheet 10, the second elastic sheet 11, the flame-retardant insulating wire core sleeve 14 and the middle flame-retardant soft strip 17 are all made of cross-linked halogen-free low-smoke flame-retardant polyolefin material; the water blocking tape layer 8 is composed of water blocking tapes and is wrapped by adopting a wrapping process to form the water blocking tape layer 8; the first fixed cloth layer 9 and the second fixed cloth layer 12 are both formed by wrapping and fixing fixed cloth, and the fixed cloth is preferably a double-sided alkali-free rubberized fabric tape; the insulating mica layer 15 is made of mica tapes, and the mica tapes are formed by a multilayer overlapping wrapping process.
It is obvious to a person skilled in the art that the invention is not restricted to details of the above-described exemplary embodiments, but that it can be implemented in other specific forms without departing from the spirit or essential characteristics of the invention. The present embodiments are therefore to be considered in all respects as illustrative and not restrictive, the scope of the invention being indicated by the appended claims rather than by the foregoing description, and all changes which come within the meaning and range of equivalency of the claims are therefore intended to be embraced therein. Any reference sign in a claim should not be construed as limiting the claim concerned.
The above embodiments are only used to illustrate the technical solution of the present invention, and not to limit the same; although the present invention has been described in detail with reference to the foregoing embodiments, it should be understood by those skilled in the art that: the technical solutions described in the foregoing embodiments may still be modified, or some technical features may be equivalently replaced; such modifications and substitutions do not depart from the spirit and scope of the present invention in its corresponding aspects.

Claims (10)

1. The utility model provides an environment-friendly fire resisting cable that blocks water which characterized in that: the cable comprises a first cable (1), a second cable (2) and a joint structure, wherein the first cable (1) and the second cable (2) are respectively composed of a flame-retardant outer sheath (7), a water-blocking tape layer (8), a first fixed cloth layer (9), a compression-resistant elastic layer, a flame-retardant filling layer (13), a second fixed cloth layer (12), insulating wire cores and a middle flame-retardant soft strip (17), the number of the insulating wire cores is five, and five insulated wire cores are embedded and distributed around the middle flame-retardant soft strip (17) in an annular array, a flame-retardant filling layer (13) is filled between the middle flame-retardant soft strip (17) and the second fixed cloth layer (12), the compression-resistant elastic layer is arranged between the first fixed cloth layer (9) and the second fixed cloth layer (12), the water blocking tape layer (8) is wrapped on the outer side of the first fixing cloth layer (9), and the flame-retardant outer sheath (7) is wrapped on the outer side of the water blocking tape layer (8).
2. The environment-friendly water-blocking fire-resistant cable according to claim 1, wherein: the joint structure comprises a threaded sleeve (3), sealing rings (4) and a threaded disc (6), wherein the cylindrical surface of the threaded disc (6) is in threaded connection with the inner ring of the threaded sleeve (3), the number of the sealing rings (4) is two, and the two sealing rings (4) are embedded at two ends of the threaded sleeve (3).
3. The environment-friendly water-blocking fire-resistant cable according to claim 2, wherein: the cylindrical surface of the threaded disc (6) is provided with external threads (601), the side wall of the threaded disc (6) is provided with five through holes (602) distributed in an annular array, and the through holes (602) are connected with the conductor (5) in a embedding manner.
4. The environment-friendly water-blocking fire-resistant cable according to claim 2, wherein: the thread bush (3) is of a circular tube type structure, and an internal thread (301) is formed in the inner wall of the thread bush (3).
5. The environment-friendly water-blocking fire-resistant cable according to claim 1, wherein: the compression-resistant elastic layer is composed of a first elastic sheet (10) and a second elastic sheet (11), the number of the first elastic sheet (10) and the number of the second elastic sheet (11) are a plurality of, and the first elastic sheet (10) and the second elastic sheet (11) are distributed in an annular array.
6. The environment-friendly water-blocking fire-resistant cable according to claim 1, wherein: the flame-retardant filling layer (13) is composed of a plurality of alkali-free flame-retardant rock wool ropes, and the flame-retardant filling layer (13) is wrapped on the outer side of the insulating wire core.
7. The environment-friendly water-blocking fire-resistant cable according to claim 1, wherein: the insulation wire core is composed of a conductor (5), a flame-retardant insulation wire core sleeve (14) and an insulation mica layer (15), the insulation mica layer (15) is wrapped on the conductor (5), and the flame-retardant insulation wire core sleeve (14) is wrapped on the outer side of the insulation mica layer (15).
8. The environment-friendly water-blocking fire-resistant cable according to claim 7, wherein: the conductor (5) is composed of a plurality of annealed round copper wires (16).
9. The environment-friendly water-blocking fire-resistant cable according to claim 1, wherein: and grooves are formed around the middle flame-retardant soft strip (17) and are fixedly embedded and connected with the insulated wire cores.
10. The environment-friendly water-blocking fire-resistant cable according to claim 1, wherein: the middle part of the middle flame-retardant soft strip (17) is provided with a tensile rope (19), and the inside of the middle flame-retardant soft strip (17) is provided with a plurality of circular holes (18) distributed in an annular array.
CN201921728870.5U 2019-10-15 2019-10-15 Environment-friendly water-blocking fire-resistant cable Expired - Fee Related CN210606735U (en)

Priority Applications (1)

Application Number Priority Date Filing Date Title
CN201921728870.5U CN210606735U (en) 2019-10-15 2019-10-15 Environment-friendly water-blocking fire-resistant cable

Applications Claiming Priority (1)

Application Number Priority Date Filing Date Title
CN201921728870.5U CN210606735U (en) 2019-10-15 2019-10-15 Environment-friendly water-blocking fire-resistant cable

Publications (1)

Publication Number Publication Date
CN210606735U true CN210606735U (en) 2020-05-22

Family

ID=70693613

Family Applications (1)

Application Number Title Priority Date Filing Date
CN201921728870.5U Expired - Fee Related CN210606735U (en) 2019-10-15 2019-10-15 Environment-friendly water-blocking fire-resistant cable

Country Status (1)

Country Link
CN (1) CN210606735U (en)

Cited By (2)

* Cited by examiner, † Cited by third party
Publication number Priority date Publication date Assignee Title
CN110600182A (en) * 2019-10-15 2019-12-20 湖北力生电缆有限公司 Environment-friendly water-blocking fire-resistant cable
CN114898937A (en) * 2022-06-16 2022-08-12 江苏珠影特种电缆有限公司 Composite multi-core cable and preparation method thereof

Cited By (3)

* Cited by examiner, † Cited by third party
Publication number Priority date Publication date Assignee Title
CN110600182A (en) * 2019-10-15 2019-12-20 湖北力生电缆有限公司 Environment-friendly water-blocking fire-resistant cable
CN114898937A (en) * 2022-06-16 2022-08-12 江苏珠影特种电缆有限公司 Composite multi-core cable and preparation method thereof
CN114898937B (en) * 2022-06-16 2023-11-10 江苏珠影特种电缆有限公司 Composite multi-core cable and preparation method thereof

Similar Documents

Publication Publication Date Title
CN204596511U (en) The fire-resistant mesolow photoelectric compound cable of LSOH anti-flaming
CN211264999U (en) Aluminum alloy core inorganic mineral composite insulation flexible fireproof cable
CN210606735U (en) Environment-friendly water-blocking fire-resistant cable
CN201126729Y (en) Deep well synthetic detective cable
CN201965987U (en) Medium-voltage power cable
CN202694951U (en) Light flame-resistant polrvinyl chloride-insulated and sheathed power cable
CN110600182A (en) Environment-friendly water-blocking fire-resistant cable
CN204596510U (en) In, low pressure protection against rodents, anti-ant optoelectronic composite cable
CN201994126U (en) Multifunctional power cable
CN105976913A (en) Improved-type medium-voltage fireproof power cable
CN211957210U (en) Crosslinked polyethylene insulated control cable
CN203260337U (en) Fireproof composite cable
CN202534408U (en) Fireproof cable equipped with S-shape aluminum alloy self-locking sheath
CN202632816U (en) Ceramic fire-resistant environment-friendly type control flexible cable
CN206849553U (en) A high-strength fireproof cable
CN215868674U (en) Multi-core flexible fireproof communication cable for security system
CN213519326U (en) A New Flexible Inorganic Mineral Insulated Cable
CN202677932U (en) A flexible electric power cable used for a drag chain
CN201749714U (en) A new type of fire-resistant composite shielded armored oxygen barrier computer cable
CN201956114U (en) Irradiated cross-linked polyolefin insulated flame-retardant power cable with enhanced sheath
CN208460445U (en) A kind of anti-extrusion cable of high resiliency
CN201893161U (en) Soft type low smoke zero halogen cable for ship
CN208077657U (en) A kind of high fire-retardance aluminium alloy cable
CN107331464B (en) Flexible power cable with protection frame
CN217788040U (en) Explosion-proof antimagnetic fireproof cable for flexible machine room power supply

Legal Events

Date Code Title Description
GR01 Patent grant
GR01 Patent grant
CF01 Termination of patent right due to non-payment of annual fee

Granted publication date: 20200522

CF01 Termination of patent right due to non-payment of annual fee