CN210557073U - Dust storage box of dust collection station - Google Patents

Dust storage box of dust collection station Download PDF

Info

Publication number
CN210557073U
CN210557073U CN201921181053.2U CN201921181053U CN210557073U CN 210557073 U CN210557073 U CN 210557073U CN 201921181053 U CN201921181053 U CN 201921181053U CN 210557073 U CN210557073 U CN 210557073U
Authority
CN
China
Prior art keywords
dust
main body
dust storage
box
upper cover
Prior art date
Legal status (The legal status is an assumption and is not a legal conclusion. Google has not performed a legal analysis and makes no representation as to the accuracy of the status listed.)
Active
Application number
CN201921181053.2U
Other languages
Chinese (zh)
Inventor
杨中华
杜玉谭
刘琦
汪金山
杜珈乐
杨贺然
Current Assignee (The listed assignees may be inaccurate. Google has not performed a legal analysis and makes no representation or warranty as to the accuracy of the list.)
Liaoning Jiadehua Environmental Equipment Technology Co ltd
Original Assignee
Liaoning Jiadehua Environmental Equipment Technology Co ltd
Priority date (The priority date is an assumption and is not a legal conclusion. Google has not performed a legal analysis and makes no representation as to the accuracy of the date listed.)
Filing date
Publication date
Application filed by Liaoning Jiadehua Environmental Equipment Technology Co ltd filed Critical Liaoning Jiadehua Environmental Equipment Technology Co ltd
Priority to CN201921181053.2U priority Critical patent/CN210557073U/en
Application granted granted Critical
Publication of CN210557073U publication Critical patent/CN210557073U/en
Active legal-status Critical Current
Anticipated expiration legal-status Critical

Links

Images

Landscapes

  • Refuse-Collection Vehicles (AREA)

Abstract

The utility model provides a dust storage box at dust collecting station, solves the structure that prior art exists and too simple, the function is single, concentrates the leakproofness in the transportation poor, and the secondary pollution of dust is serious, lacks the problem of practicality. Including the inside case main part that is provided with the dust storage chamber, its characterized in that: one end of the upper box wall of the box main body is provided with a dust storage inlet communicated with the dust storage cavity; a sliding upper cover is arranged above the dust storage inlet, and the end parts of the two sides of the sliding upper cover are respectively connected with the upper cover sliding rails on the two sides of the upper part of the box main body in a sliding manner; an upper cover hydraulic cylinder which is horizontally arranged is arranged at one end of the upper part of the box main body, which is far away from the dust storage inlet, and the telescopic end of the upper cover hydraulic cylinder is connected with the sliding upper cover; an ash discharge back door is movably arranged on an ash discharge port arranged at one end of the dust storage box. Its reasonable in design, compact structure, the leakproofness is good, and the function is various, the centralized processing of the dust of being convenient for with clear fortune, avoid the raise dust, reduced the vehicle empty rate of driving, promote the effective time of cleaning of road, the practicality is strong.

Description

Dust storage box of dust collection station
Technical Field
The utility model belongs to the technical field of environmental protection mechanical equipment, concretely relates to leakproofness is good, and the function is various, and the centralized processing of the dust of being convenient for and clearance, avoid the raise dust reduce the vehicle empty rate of going, promote the effective cleaning time of road, the dust storage box at dust collecting station that the practicality is strong.
Background
The motor sweeper collects road dust into a motor sweeper compartment through a mechanical and negative pressure induced air system, but due to the fact that the storage capacity of the motor sweeper is not large in winter, the compartment dust is often dumped in a removal construction site and an idle empty place nearby after being fully loaded, and then secondary sweeping operation is carried out; in addition, in the dumping process, a large amount of dust is raised under the action of the dumping impact force, and small-particle dust floats with wind to cause dust pollution. Although the sweeper solves the problem of non-point source pollution of urban roads in the sweeping process and becomes a necessary operation mode for improving the environmental sanitation quality of the urban roads, the terminal sweeping dust dumping operation in the implementation process is changed into centralized severe pollution of another area, and the use of the sweeper is embarrassed. However, if the sweeper truck is used to directly transport the fully loaded dust to the landfill site, the effective operation time of the sweeper truck is inevitably reduced, and the idle running rate and the operation cost of the truck are increased. In addition, the existing dust storage device for dumping and cleaning the collection station of dust has the defects of too simple structure, single function, poor sealing performance in the centralized transportation process, serious secondary pollution of dust and lack of practicability. There is a need for an improved dust storage device for a dust collection station of the prior art.
SUMMERY OF THE UTILITY MODEL
The utility model discloses just to above-mentioned problem, it is good to provide a leakproofness, and the function is various, and the centralized processing of the dust of being convenient for and clearance, avoid the raise dust reduce the vehicle empty rate of driving, promote the effective cleaning time of road, the dust storage box of dust collecting station that the practicality is strong.
The utility model adopts the technical proposal that: this dust storage box at dust collection station includes case main part, its characterized in that: a dust storage cavity is arranged in the box main body, a dust storage inlet is formed in one end of the upper box wall of the box main body, and the dust storage inlet is communicated with the dust storage cavity; a sliding upper cover is arranged above the dust storage inlet, the end parts of the two sides of the sliding upper cover are respectively connected with upper cover sliding rails arranged on the two sides of the upper part of the box main body in a sliding manner, an upper cover hydraulic cylinder horizontally arranged along the direction of the upper cover sliding rails is arranged at the upper part of the box main body and at one end far away from the dust storage inlet, the fixed end of the upper cover hydraulic cylinder is fixedly connected with one end of the upper part of the box main body, and the telescopic end of the upper cover hydraulic cylinder is connected with the sliding upper cover; one end of the box main body of the dust storage box is provided with an ash discharge opening, and an ash discharge back door is movably arranged on the ash discharge opening.
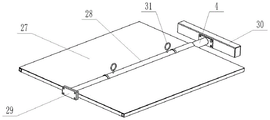
The sliding upper cover arranged above the dust storage inlet is composed of a cover plate main body, an arc-shaped groove arranged along the direction of an upper cover sliding rail is arranged on the lower side of the middle part of the cover plate main body, and the cover plate main body of the sliding upper cover is buckled on the upper side of the upper cover hydraulic cylinder through the arc-shaped groove; the fixed end of the upper cover hydraulic cylinder is fixedly connected with one end of the upper part of the box main body through the box body connecting part, and the telescopic end of the upper cover hydraulic cylinder is connected with the upper cover cylinder connecting part at the front end of the cover plate main body. The assembly size between the sliding upper cover and the upper cover hydraulic cylinder is reduced, and then the dust storage volume of the dust storage box is effectively increased in a limited space.
An ash pushing mechanism is arranged in the dust storage cavity of the dust storage box and right below the dust storage inlet, the ash pushing mechanism comprises an ash pushing scraper blade, and a push plate sliding frame is arranged on the rear side of the ash pushing scraper blade; the upper part and the lower part of the left side and the right side of the push plate sliding frame are respectively connected with a push plate upper slideway and a push plate lower slideway which are arranged above and below the push plate sliding frame in a sliding way through a sliding frame sliding wheel; the push plate upper slideways on two sides in the dust storage cavity of the dust storage box and the push plate lower slideways on two sides are respectively connected with the inner wall of the dust storage box through a slideway connecting beam; the lower part of the push plate sliding frame is provided with an ash pushing hydraulic cylinder arranged along the direction of the push plate slide way, the telescopic end of the ash pushing hydraulic cylinder is connected with an ash pushing scraper plate, and the fixed end of the ash pushing hydraulic cylinder is connected with the inner side wall of the dust storage box through a hydraulic cylinder connecting frame. In order to drive through pushing away the flexible push pedal sliding frame who pushes away grey scraper blade and rear portion, along the push pedal glide slope reciprocating motion of the push pedal of the left and right sides and push pedal glide slope to with the accumulational dust in the dust storage box, push away uniformly and scrape the rear side and the front end in dust storage chamber, make full use of dust storage chamber's space.
The ash pushing scraper consists of a push plate main body which is vertically arranged, a supporting frame is arranged at the rear side of the push plate main body, and an ash pushing cylinder connecting part is arranged in the middle of the supporting frame; the left end and the right end of the supporting frame are respectively provided with a guide vertical plate, and the upper end and the lower end of each guide vertical plate are respectively provided with a slide channel bayonet which is matched and clamped with the push plate upper slide channel and the push plate lower slide channel; and the telescopic end of the ash pushing hydraulic cylinder is connected with the ash pushing cylinder connecting part of the ash pushing scraper plate. The ash pushing scraper is guided along the reciprocating sliding of the push plate upper slide way and the push plate lower slide way by utilizing the slide way bayonets at the upper end and the lower end of the guide vertical plates at the left side and the right side of the push plate main body, so that the moving stability of the ash pushing scraper is improved, and the running reliability is high.
The upper end and the lower end of the guide vertical plate are respectively provided with a wear-resistant guide block detachably at the side part of the edge of the slide bayonet. So as to effectively prolong the service life of the guide vertical plate while further increasing the running stability.
The dust discharging rear door arranged at the dust discharging port of the dust storage box is composed of a rear door body, the upper end of the rear door body is provided with a hinged lug plate, the rear door body is also provided with a vent, and the vent is slidably provided with a vent door; the back door body is hinged with the upper part of the ash discharge port through a hinged lug plate, and back door opening mechanisms are respectively arranged between the left side and the right side of the back door body and the two outer sides of the ash discharge port. So as to drive the back door body to be upwards turned and opened around the hinged point at the upper end of the back door opening mechanism, thereby dumping out dust in the dust storage box through the dust discharge port.
The rear door opening mechanism comprises a first swing clamping jaw, the first swing clamping jaw is composed of a first clamping jaw main body, a box body hinge hole is formed in the middle of the first clamping jaw main body, a clamping groove is formed in the lower side of the front end of the first clamping jaw main body, and a rear door cylinder hinge hole is formed in the upper side of the rear end of the first clamping jaw main body; the first swing clamping jaw is hinged with the side wall of the box main body outside the ash discharge port through a box body hinge hole, a rear door cylinder hinge hole of the first swing clamping jaw is hinged with the fixed end of a rear door hydraulic cylinder, and a telescopic end of the rear door hydraulic cylinder is hinged with the side part of the upper end of the rear door body; meanwhile, locking clamping columns are respectively arranged at the two side parts of the rear door body and the positions corresponding to the clamping grooves of the first swing clamping claws. The first swing clamping jaw is driven to swing upwards around the hinge hole of the box body by utilizing the stretching of the rear door hydraulic cylinder, so that the locking of the first swing clamping jaw on the rear door body is released, and the rear door body is driven to turn upwards and open around the hinge point at the upper end of the rear door hydraulic cylinder synchronously.
A second swing clamping jaw is arranged below the first swing clamping jaw and consists of a second clamping jaw main body, a box body hinge hole is formed in the middle of the second clamping jaw main body, a clamping groove is formed in the lower side of the front end of the second clamping jaw main body, a connecting rod hinge hole is formed in the rear end of the second clamping jaw main body, the second swing clamping jaw is hinged to the side wall of the box main body outside the ash discharge port through the box body hinge hole, and meanwhile, locking clamping columns are also respectively arranged at the two sides of the rear door body and at positions corresponding to the clamping groove of the second swing clamping jaw; correspondingly, the rear end of the first jaw body of the first swing jaw is also provided with a connecting rod hinge hole, and the first swing jaw is connected with the rear end part of the second swing jaw through a linkage connecting rod; the linkage connecting rod is composed of a connecting rod main body, claw hinge holes are formed in two ends of the connecting rod main body respectively, and the linkage connecting rod is hinged to the connecting rod hinge holes of the first swing claw and the second swing claw through the claw hinge holes in the two ends respectively. The first swing clamping jaw and the second swing clamping jaw are driven to swing synchronously through the linkage connecting rod, so that the fastening degree of the rear door opening mechanism for locking the dust discharging rear door is improved, and the sealing reliability of the dust storage box is improved.
The locking clamping columns are respectively arranged at two side parts of the rear door body through clamping column connecting plates, and the clamping column connecting plates are movably connected with the side parts of the rear door body through bolts penetrating through long round holes in the clamping column connecting plates; the side part of the clamping column connecting plate is provided with an adjusting screw rod for adjusting and locking the position of the clamping column. So as to facilitate the adjustment of the locking position of the swing claw of the back door opening mechanism and facilitate the use.
The utility model has the advantages that: because the utility model adopts the box main body internally provided with the dust storage cavity, one end of the upper side box wall of the box main body is provided with the dust storage inlet communicated with the dust storage cavity; a sliding upper cover is arranged above the dust storage inlet, and the end parts of the two sides of the sliding upper cover are respectively connected with the upper cover sliding rails on the two sides of the upper part of the box main body in a sliding manner; an upper cover hydraulic cylinder which is horizontally arranged along the direction of an upper cover sliding track is arranged at one end of the upper part of the box main body, which is far away from the dust storage inlet, the fixed end of the upper cover hydraulic cylinder is fixedly connected with one end of the upper part of the box main body, and the telescopic end of the upper cover hydraulic cylinder is connected with the sliding upper cover; one end of the box main body of the dust storage box is provided with the dust discharging port, and the dust discharging port is movably provided with the structural form of the dust discharging rear door, so that the dust storage box has the advantages of reasonable design, compact structure, good sealing performance, multiple functions, convenience for centralized treatment and cleaning of dust and capability of avoiding dust raising; the motor sweeper can dump dust in a short distance, the empty running rate of the motor sweeper is reduced by utilizing a large-tonnage transfer mode, the effective cleaning time of a road is prolonged, and the practicability is high.
Drawings
Fig. 1 is a schematic structural diagram of the present invention.
Fig. 2 is a view in the direction a of fig. 1.
Fig. 3 is a sectional view of the internal structure of fig. 1.
Fig. 4 is a schematic structural diagram of the ash pushing mechanism in fig. 3.
Fig. 5 is a view from direction B of fig. 4.
Fig. 6 is a schematic view of a structure of the ash pushing scraper in fig. 5.
Fig. 7 is a schematic view of a structure of the sliding cover of fig. 1.
Fig. 8 is a schematic view of the ash pushing hydraulic cylinder in fig. 3 in a use state of retracting and driving the ash pushing scraper to push and scrape backwards.
Fig. 9 is a schematic view of a coupling structure of the dust discharge back door and the back door opening mechanism of fig. 1.
Fig. 10 is a schematic view of a structure of the first swing claw in fig. 9.
Fig. 11 is a schematic view of a structure of the second swing claw in fig. 9.
Fig. 12 is a schematic view of a construction of the interlocking connecting rod of fig. 9.
Fig. 13 is a schematic view showing a state of use when the ash discharge rear door of fig. 9 is closed.
Fig. 14 is a schematic view showing a state in which the ash discharge back door of fig. 9 is opened.
The sequence numbers in the figures illustrate: 1 box main body, 2 dust storage inlet, 3 sliding upper cover, 4 upper cover hydraulic cylinder, 5 upper cover sliding track, 6 ash discharging back door, 7 ventilation door, 8 back door opening mechanism, 9 rolling wheel, 10 hanging hook ring, 11 dust storage cavity, 12 ash pushing mechanism, 13 ash pushing scraper, 14 push plate sliding frame, 15 push plate lower slideway, 16 push plate upper slideway, 17 ash pushing hydraulic cylinder, 18 hydraulic cylinder connecting frame, 19 slideway connecting beam, 20 slide frame sliding wheel, 21 push plate main body, 22 supporting frame, 23 ash pushing cylinder connecting part, 24 guiding vertical plate, 25 slideway bayonet, 26 wear-resisting guiding block, 27 cover plate main body, 28 arc groove, 29 upper cover cylinder connecting part, 30 box body connecting part, 31 hanging ring, 32 ash discharging opening, 33 back door body, 34 ventilation opening, 35 hinged lug plate, 36 back door hydraulic cylinder, 37 first swinging claw, 38 linked connecting rod, 39 second swinging claw, 40 upper swinging stopper, 41 locking clamping columns, 42 clamping column connecting plates, 43 adjusting screws, 44 first jaw bodies, 45 clamping grooves, 46 box body hinge holes, 47 rear door cylinder hinge holes, 48 connecting rod hinge holes, 49 second jaw bodies, 50 connecting rod bodies and 51 jaw hinge holes.
Detailed Description
The specific structure of the present invention will be described in detail with reference to fig. 1 to 14. The dust storage box of the dust collection station comprises a box main body 1, wherein a dust storage cavity 11 is arranged inside the box main body 1; the side part of the box main body 1 is provided with a hook ring 10 for facilitating the hook arm vehicle to drag the dust storage box, and the lower part of the box main body 1 is provided with a rolling wheel 9 for facilitating the movement. The dust storage inlet 2 is arranged at one end, close to the dumping position of the sweeper truck, of the upper side tank wall of the tank main body 1, and the dust storage inlet 2 is communicated with the dust storage cavity 11. The dust storage inlet 2 at the upper side of the dust storage box is communicated with a dust discharging port for dumping dust on the ground of the motor sweeper through a sealed pipeline. A sliding upper cover 3 is arranged above the dust storage inlet 2, and the end parts at two sides of the sliding upper cover 3 are respectively connected with upper cover sliding rails 5 arranged at two sides of the upper part of the box main body 1 in a sliding way; and an upper cover hydraulic cylinder 4 horizontally arranged along the direction of an upper cover sliding rail 5 is arranged at one end of the upper part of the box main body 1 far away from the dust storage inlet 2.
The sliding upper cover 3 is composed of a cover plate main body 27, an arc-shaped groove 28 arranged along the direction of the upper cover sliding rail 5 is arranged on the lower side of the middle part of the cover plate main body 27, the shape of the arc-shaped groove 28 is matched with the shape of the outer arc surface of the cylinder body of the upper cover hydraulic cylinder 4, a hanging ring 31 convenient for hoisting is arranged on the upper side of the arc-shaped groove 28, and a plurality of reinforcing ribs arranged along the arc surface on the upper side of the arc-shaped groove 28 are further arranged. Meanwhile, the cover plate main body 27 of the sliding upper cover 3 is tightly buckled on the upper side of the upper cover hydraulic cylinder 4 through the arc-shaped groove 28, so that the assembly size between the sliding upper cover 3 and the upper cover hydraulic cylinder 4 is reduced, and the dust storage volume of the dust storage box is effectively increased in a limited space. The fixed end of the upper cover hydraulic cylinder 4 is fixedly connected with one end of the upper part of the box main body 1 through a box body connecting part 30, and the telescopic end of the upper cover hydraulic cylinder 4 is connected with an upper cover cylinder connecting part 29 at the front end of the cover plate main body 27. Thereby, the dust that the motor sweeper cleaned is via the dust storage entry 2 that is linked together with unloading the ash hole, pour into the dust storage chamber 11 of dust storage box to, when dust storage box was filled with dust, needs transportation, utilize upper cover pneumatic cylinder 4 to drive slip upper cover 3 and close dust storage entry 2, convenient transportation.
In the dust storage cavity 11 of dust storage box, be provided with ash pushing mechanism 12 under the dust storage entry 2, ash pushing mechanism 12 is including pushing away grey scraper blade 13, pushes away grey scraper blade 13 and comprises vertical arrangement's rectangle push pedal main part 21, and the rear side of push pedal main part 21 is provided with braced frame 22, and braced frame 22's middle part is provided with and pushes away ash jar connecting portion 23. The left end and the right end of a supporting frame 22 of the ash pushing scraper 13 are respectively provided with a guide vertical plate 24, and the upper end and the lower end of each guide vertical plate 24 are respectively provided with a V-shaped slide bayonet 25 which is matched and clamped with the push plate upper slide 16 and the push plate lower slide 15; and then the slide bayonets 25 at the upper and lower ends of the guide vertical plate 24 at the left and right sides of the push plate main body 21 are utilized to guide the reciprocating sliding of the ash pushing scraper 13 along the push plate upper slide 16 and the push plate lower slide 15, so that the moving stability of the ash pushing scraper 13 is improved. In order to further increase the running stability of the ash pushing scraper 13, the upper end and the lower end of the guide vertical plate 24 are respectively provided with a wear-resistant guide block 26 in a detachable manner at the side part of the edge of the V-shaped slide bayonet 25, and simultaneously, the service life of the guide vertical plate 24 is effectively prolonged.
A push plate sliding frame 14 is arranged at the rear side of the dust pushing scraper 13, and a dust falling opening which is beneficial to the dust dumping and passing is formed in the middle of the push plate sliding frame 14; the upper part and the lower part of the left side and the right side of the push plate sliding frame 14 are respectively connected with a push plate upper slideway 16 and a push plate lower slideway 15 which are arranged above and below the push plate sliding frame through a sliding frame sliding wheel 20 in a sliding way; the push plate upper slide 16 and the push plate lower slide 15 may be made of angle steel. And the push plate upper slideways 16 and the push plate lower slideways 15 which are arranged on two sides in the dust storage cavity 11 of the dust storage box are respectively and fixedly connected with the inner wall of the dust storage box through a slideway connecting beam 19. An ash pushing hydraulic cylinder 17 arranged along the direction of the push plate slideway is arranged below the push plate sliding frame 14, the telescopic end of the ash pushing hydraulic cylinder 17 is connected with an ash pushing cylinder connecting part 23 of the ash pushing scraper 13, and the fixed end of the ash pushing hydraulic cylinder 17 is connected with the inner side wall of the dust storage box through a hydraulic cylinder connecting frame 18. And then the dust pushing scraper 13 and the push plate sliding frame 14 at the rear part thereof are driven by the extension and contraction of the dust pushing hydraulic cylinder 17 to reciprocate along the push plate upper slide way 16 and the push plate lower slide way 15 at the left side and the right side, so that dust accumulated in the dust storage box is uniformly pushed and scraped to the rear side and the front end of the dust storage cavity 11, and the space of the dust storage cavity 11 is fully utilized.
One end of the main body 1 of the dust storage box is provided with an ash discharge port 32, and an ash discharge back door 6 is movably arranged on the ash discharge port 32. The ash discharging rear door 6 is composed of a rear door body 33, a hinged lug plate 35 is arranged at the upper end of the rear door body 33, a vent 34 used for being connected with a dust removing pipeline is further arranged on the rear door body 33, and a vent door 7 is arranged at the vent 34 in a sliding mode. The rear door body 33 is hinged with the upper part of the ash discharge opening 32 through a hinged lug plate 35, and rear door opening mechanisms 8 are respectively arranged between the left side and the right side of the rear door body 33 and the two outer sides of the ash discharge opening 32. The rear door opening mechanism 8 comprises a first swing jaw 37, the first swing jaw 37 is composed of a first jaw main body 44, a box body hinge hole 46 is formed in the middle of the first jaw main body 44, a clamping groove 45 is formed in the lower side of the front end of the first jaw main body 44, and a rear door cylinder hinge hole 47 is formed in the upper side of the rear end of the first jaw main body 44; and the rear end of the first jaw body 44 of the first swing jaw 37 is provided with a link hinge hole 48. The first swing claw 37 is hinged with the side wall of the box body 1 outside the ash discharge port 32 through a box body hinge hole 46, a rear door cylinder hinge hole 47 of the first swing claw 37 is hinged with the fixed end of the rear door hydraulic cylinder 36, and the telescopic end of the rear door hydraulic cylinder 36 is hinged with the side part of the upper end of the rear door body 33. An upper swing limiting block 40 for limiting the swing position of the swing claw is arranged above the middle part of the first swing claw 37 and on the outer side part of the ash discharge opening 32.
The second swing jaw 39 is arranged below the first swing jaw 37, the second swing jaw 39 is composed of a second jaw main body 49, a box body hinge hole 46 is formed in the middle of the second jaw main body 49, a clamping groove 45 is formed in the lower side of the front end of the second jaw main body 49, a connecting rod hinge hole 48 is also formed in the rear end of the second jaw main body 49, and the second swing jaw 39 is hinged to the side wall of the box main body 1 outside the ash discharge port 32 through the box body hinge hole 46. It can be understood that the upper swing limiting block 40 can be arranged above the middle part of the second swing claw 39 and at the outer side part of the ash discharge opening 32 according to specific use requirements. The rear end portions of the first swing claw 37 and the second swing claw 39 are connected by a link connecting rod 38; the linkage connecting rod 38 is composed of a connecting rod body 50, both ends of the connecting rod body 50 are respectively provided with a jaw hinge hole 51, and the linkage connecting rod 38 is respectively hinged with the connecting rod hinge hole 48 of the first swing jaw 37 and the connecting rod hinge hole 48 of the second swing jaw 39 through the jaw hinge holes 51 at both ends.
Meanwhile, locking and fastening columns 41 are respectively arranged at the two side parts of the rear door body 33 and the positions corresponding to the fastening grooves 45 of the first swing claw 37 and the second swing claw 39. The locking columns 41 are respectively arranged at two side parts of the rear door body 33 through column connecting plates 42, and the column connecting plates 42 are movably connected with the side parts of the rear door body 33 by bolts penetrating through oblong holes on the column connecting plates. The side of the clamp column connecting plate 42 is also provided with an adjusting screw 43 for adjusting the position of the clamp column connecting plate 42 and locking the clamp column 41 thereon, so that the locking position of the swing clamping jaw of the back door opening mechanism 8 can be adjusted conveniently, and the use is convenient. The first swing claw 37 and the second swing claw 39 are driven to swing upwards and synchronously around the corresponding box body hinge holes 46 by utilizing the expansion and contraction of the rear door hydraulic cylinder 36 and the linkage of the linkage connecting rod 38, so that the locking of the first swing claw 37 and the second swing claw 39 on the rear door body 33 is released; and the rear door body 33 is driven synchronously to turn upwards and open around the hinged point at the upper end of the rear door body by the rear door hydraulic cylinder 36, so that dust in the dust storage box is centralized through the dust discharge port 32 to be poured. And the fastening degree of the rear door opening mechanism 8 to the dust discharge rear door 6 is effectively improved by utilizing the structural form that the first swing clamping jaw 37 and the second swing clamping jaw 39 are matched and clamped, so that the sealing reliability of the dust storage box is improved.
When the dust storage box of the dust collection station is used, firstly, the lower part of a dust discharging opening for dumping dust of the motor sweeper is connected with the dust storage inlet 2 at the upper side of the dust storage box, and the sliding upper cover 3 is in an open state (as shown in figure 3); then, a dust removing pipeline is used for connecting the vent 34 on the dust storage box dust discharging back door 6 with the air inlet of the bag-type dust remover. The motor sweeper dumps the swept dust into the dust storage cavity 11 of the dust storage box through the dust storage inlet 2, and at the moment, the dust pushing hydraulic cylinder 17 of the dust pushing mechanism 12 is in an extending state (shown in figure 3). Meanwhile, the dust removal fan is started to suck the raised dust generated in the dust pouring process into the bag-type dust remover. After piling up the height of dust in the dust storage chamber 11 of dust storage box and surpassing and push away grey scraper blade 13, through pushing away the flexible push pedal sliding frame 14 that drives that pushes away grey scraper blade 13 and rear portion of grey pneumatic cylinder 17, along push pedal glide slope 16 and the reciprocating motion of push pedal glide slope 15 of the left and right sides, and then with the accumulational dust in the dust storage box, push away the rear side and the front end of scraping dust storage chamber 11 uniformly to make full use of dust storage chamber 11's space.
When the dust poured into the dust storage box reaches the upper limit of the set tonnage, the dust removal fan is closed, then the upper cover hydraulic cylinder 4 is extended, the sliding upper cover 3 is closed, and the ventilation opening 34 on the dust discharge rear door 6 is closed by the ventilation door 7. Then, the closed dust storage box filled with dust is transported to a centralized dumping place by using a hook arm vehicle, and extends out of a rear door hydraulic cylinder 36 of the rear door opening mechanism 8 to drive a first swing claw 37 and a second swing claw 39 to swing upwards synchronously so as to release the locking of the rear door body 33; meanwhile, the extended rear door hydraulic cylinder 36 is used for synchronously driving the rear door body 33 to turn upwards and open around the hinge point at the upper end of the rear door body; then, the dust in the dust storage box is intensively dumped out through the dust discharge port 32.

Claims (9)

1. A dust storage box of a dust collecting station, comprising a box body (1), characterized in that: a dust storage cavity (11) is arranged in the box main body (1), a dust storage inlet (2) is arranged at one end of the upper side box wall of the box main body (1), and the dust storage inlet (2) is communicated with the dust storage cavity (11); a sliding upper cover (3) is arranged above the dust storage inlet (2), the end parts of the two sides of the sliding upper cover (3) are respectively in sliding connection with upper cover sliding rails (5) arranged on the two sides of the upper part of the box main body (1), an upper cover hydraulic cylinder (4) horizontally arranged along the direction of the upper cover sliding rails (5) is arranged at one end of the upper part of the box main body (1) far away from the dust storage inlet (2), the fixed end of the upper cover hydraulic cylinder (4) is fixedly connected with one end of the upper part of the box main body (1), and the telescopic end of the upper cover hydraulic cylinder (4) is connected with the sliding upper cover (3); one end of the box main body (1) of the dust storage box is provided with an ash discharge port (32), and an ash discharge rear door (6) is movably arranged on the ash discharge port (32).
2. A dust bin for a dust collection station according to claim 1, wherein: the sliding upper cover (3) arranged above the dust storage inlet (2) is composed of a cover plate main body (27), an arc-shaped groove (28) arranged along the direction of the upper cover sliding rail (5) is formed in the lower side of the middle of the cover plate main body (27), and the cover plate main body (27) of the sliding upper cover (3) is buckled on the upper side of the upper cover hydraulic cylinder (4) through the arc-shaped groove (28); the fixed end of the upper cover hydraulic cylinder (4) is fixedly connected with one end of the upper part of the box main body (1) through a box body connecting part (30), and the telescopic end of the upper cover hydraulic cylinder (4) is connected with an upper cover cylinder connecting part (29) at the front end of the cover plate main body (27).
3. A dust bin for a dust collection station according to claim 1, wherein: an ash pushing mechanism (12) is arranged in a dust storage cavity (11) of the dust storage box and right below the dust storage inlet (2), the ash pushing mechanism (12) comprises an ash pushing scraper (13), and a push plate sliding frame (14) is arranged on the rear side of the ash pushing scraper (13); the upper part and the lower part of the left side and the right side of the push plate sliding frame (14) are respectively connected with a push plate upper slideway (16) and a push plate lower slideway (15) which are arranged above and below the push plate sliding frame in a sliding way through a sliding frame sliding wheel (20); the push plate upper slideways (16) on two sides in the dust storage cavity (11) of the dust storage box and the push plate lower slideways (15) on two sides are respectively connected with the inner wall of the dust storage box through a slideway connecting beam (19); the dust storage box is characterized in that a dust pushing hydraulic cylinder (17) arranged along the direction of a push plate slide way is arranged below the push plate sliding frame (14), the telescopic end of the dust pushing hydraulic cylinder (17) is connected with a dust pushing scraper (13), and the fixed end of the dust pushing hydraulic cylinder (17) is connected with the inner side wall of the dust storage box through a hydraulic cylinder connecting frame (18).
4. A dust bin for a dust collection station according to claim 3, wherein: the ash pushing scraper (13) is composed of a vertically arranged push plate main body (21), a supporting frame (22) is arranged on the rear side of the push plate main body (21), and an ash pushing cylinder connecting part (23) is arranged in the middle of the supporting frame (22); the left end and the right end of the supporting frame (22) are respectively provided with a guide vertical plate (24), and the upper end and the lower end of each guide vertical plate (24) are respectively provided with a slide channel bayonet (25) which is matched and clamped with the push plate upper slide channel (16) and the push plate lower slide channel (15); the telescopic end of the ash pushing hydraulic cylinder (17) is connected with an ash pushing cylinder connecting part (23) of the ash pushing scraper plate (13).
5. The dust bin of a dust collection station of claim 4, wherein: the upper end and the lower end of the vertical guide plate (24) are respectively provided with a wear-resistant guide block (26) in a detachable manner at the side part of the edge of the slide bayonet (25).
6. A dust bin for a dust collection station according to claim 1, wherein: the dust discharging rear door (6) arranged at the dust discharging opening (32) of the dust storage box is composed of a rear door body (33), the upper end of the rear door body (33) is provided with a hinged lug plate (35), the rear door body (33) is also provided with a vent hole (34), and the vent hole (34) is provided with a vent door (7) in a sliding manner; the rear door body (33) is hinged with the upper part of the ash discharge port (32) through a hinged lug plate (35), and rear door opening mechanisms (8) are respectively arranged between the left side and the right side of the rear door body (33) and the two outer sides of the ash discharge port (32).
7. The dust bin of a dust collection station of claim 6, wherein: the rear door opening mechanism (8) comprises a first swing clamping jaw (37), the first swing clamping jaw (37) is composed of a first clamping jaw main body (44), a box body hinge hole (46) is formed in the middle of the first clamping jaw main body (44), a clamping groove (45) is formed in the lower side of the front end of the first clamping jaw main body (44), and a rear door cylinder hinge hole (47) is formed in the upper side of the rear end of the first clamping jaw main body (44); the first swing clamping jaw (37) is hinged with the side wall of the box main body (1) outside the ash discharge port (32) through a box body hinge hole (46), a rear door cylinder hinge hole (47) of the first swing clamping jaw (37) is hinged with the fixed end of a rear door hydraulic cylinder (36), and the telescopic end of the rear door hydraulic cylinder (36) is hinged with the side part of the upper end of a rear door body (33); meanwhile, locking clamping columns (41) are respectively arranged at the two side parts of the rear door body (33) and the positions corresponding to the clamping grooves (45) of the first swing clamping claws (37).
8. A dust bin for a dust collection station according to claim 7, wherein: a second swing clamping jaw (39) is arranged below the first swing clamping jaw (37), the second swing clamping jaw (39) is composed of a second clamping jaw main body (49), a box body hinge hole (46) is formed in the middle of the second clamping jaw main body (49), a clamping groove (45) is formed in the lower side of the front end of the second clamping jaw main body (49), a connecting rod hinge hole (48) is formed in the rear end of the second clamping jaw main body (49), the second swing clamping jaw (39) is hinged to the side wall of the box main body (1) outside the ash discharge port (32) through the box body hinge hole (46), and meanwhile, locking clamping columns (41) are also respectively arranged at the positions, corresponding to the clamping groove (45) of the second swing clamping jaw (39), of the two side portions of the rear door body (33); correspondingly, the rear end of the first jaw body (44) of the first swing jaw (37) is also provided with a connecting rod hinge hole (48), and the first swing jaw (37) is connected with the rear end of the second swing jaw (39) through a linkage connecting rod (38); the linkage connecting rod (38) is composed of a connecting rod main body (50), the two ends of the connecting rod main body (50) are respectively provided with a jaw hinge hole (51), and the linkage connecting rod (38) is respectively hinged with the connecting rod hinge holes (48) of the first swing jaw (37) and the second swing jaw (39) through the jaw hinge holes (51) at the two ends.
9. A dust bin for a dust collection station according to claim 7, wherein: the locking clamping columns (41) are respectively arranged at two side parts of the rear door body (33) through clamping column connecting plates (42), and the clamping column connecting plates (42) are movably connected with the side parts of the rear door body (33) through bolts penetrating through long round holes in the clamping column connecting plates; the side part of the clamping column connecting plate (42) is provided with an adjusting screw rod (43) for adjusting and locking the position of the clamping column (41).
CN201921181053.2U 2019-07-25 2019-07-25 Dust storage box of dust collection station Active CN210557073U (en)

Priority Applications (1)

Application Number Priority Date Filing Date Title
CN201921181053.2U CN210557073U (en) 2019-07-25 2019-07-25 Dust storage box of dust collection station

Applications Claiming Priority (1)

Application Number Priority Date Filing Date Title
CN201921181053.2U CN210557073U (en) 2019-07-25 2019-07-25 Dust storage box of dust collection station

Publications (1)

Publication Number Publication Date
CN210557073U true CN210557073U (en) 2020-05-19

Family

ID=70633372

Family Applications (1)

Application Number Title Priority Date Filing Date
CN201921181053.2U Active CN210557073U (en) 2019-07-25 2019-07-25 Dust storage box of dust collection station

Country Status (1)

Country Link
CN (1) CN210557073U (en)

Cited By (1)

* Cited by examiner, † Cited by third party
Publication number Priority date Publication date Assignee Title
CN110255012A (en) * 2019-07-25 2019-09-20 辽宁佳德华环境装备科技有限公司 A kind of dust storage tank of dust gathering station

Cited By (2)

* Cited by examiner, † Cited by third party
Publication number Priority date Publication date Assignee Title
CN110255012A (en) * 2019-07-25 2019-09-20 辽宁佳德华环境装备科技有限公司 A kind of dust storage tank of dust gathering station
CN110255012B (en) * 2019-07-25 2024-03-29 辽宁佳德华环境装备科技有限公司 Dust storage box of dust collecting station

Similar Documents

Publication Publication Date Title
CN110255012B (en) Dust storage box of dust collecting station
CN104016049B (en) A kind of side loading compression type garbage truck
CN106395205B (en) Holding barrels formula garbage truck
CN110027825A (en) A kind of multi-functional refuse collecting truck/dredging vehicle
CN104499450A (en) Waste sweeper
CN109867073B (en) A city underground garbage transfer and treatment system
CN210557073U (en) Dust storage box of dust collection station
CN206278547U (en) Hang tub garbage truck
CN110697299A (en) A new type of side-mounted compressor
CN106379675A (en) Can hanging type garbage truck
CN210365419U (en) Sweeping dust collecting station of motor sweeper
CN111691340A (en) Street sweeper garbage bin mounting structure convenient to dump rubbish
CN110924342A (en) Circulating automatic tipping bucket sweeper
CN112681198B (en) A vehicle-mounted foreign body collector
CN110371545B (en) Dust collecting station for sweeping machine
CN210557049U (en) Municipal construction is with garbage bin that can incline automatically
CN211139135U (en) A residue cleaning device for coal mine transport vechicle
CN210557119U (en) Automatic water seepage prevention garbage truck capable of compressing garbage automatically
CN218578644U (en) Garbage disposal station
CN105858023B (en) Sorting rubbish recycles compartment
CN210527437U (en) Dust storage box body
CN217314640U (en) Concrete clout recovery unit is used in bridge construction
CN211253942U (en) A new type of side-mounted compressor
CN214826252U (en) Non-leakage electric kitchen garbage collecting and transporting vehicle
CN214826251U (en) Rear-loading and unloading kitchen garbage truck

Legal Events

Date Code Title Description
GR01 Patent grant
GR01 Patent grant