CN210533244U - Device for rapidly detecting wall thickness of cylinder sleeve - Google Patents

Device for rapidly detecting wall thickness of cylinder sleeve Download PDF

Info

Publication number
CN210533244U
CN210533244U CN201921914291.XU CN201921914291U CN210533244U CN 210533244 U CN210533244 U CN 210533244U CN 201921914291 U CN201921914291 U CN 201921914291U CN 210533244 U CN210533244 U CN 210533244U
Authority
CN
China
Prior art keywords
rod
wall thickness
wall
shaped
clamping plate
Prior art date
Legal status (The legal status is an assumption and is not a legal conclusion. Google has not performed a legal analysis and makes no representation as to the accuracy of the status listed.)
Active
Application number
CN201921914291.XU
Other languages
Chinese (zh)
Inventor
林岚
Current Assignee (The listed assignees may be inaccurate. Google has not performed a legal analysis and makes no representation or warranty as to the accuracy of the list.)
Fujian Longsheng Machinery Co ltd
Original Assignee
Fujian Longsheng Machinery Co ltd
Priority date (The priority date is an assumption and is not a legal conclusion. Google has not performed a legal analysis and makes no representation as to the accuracy of the date listed.)
Filing date
Publication date
Application filed by Fujian Longsheng Machinery Co ltd filed Critical Fujian Longsheng Machinery Co ltd
Priority to CN201921914291.XU priority Critical patent/CN210533244U/en
Application granted granted Critical
Publication of CN210533244U publication Critical patent/CN210533244U/en
Active legal-status Critical Current
Anticipated expiration legal-status Critical

Links

Images

Landscapes

  • A Measuring Device Byusing Mechanical Method (AREA)

Abstract

The utility model discloses a device of short-term test cylinder liner wall thickness, including the detection device body, the detection device body includes L shape support, and threaded fastening has last bracing piece on the L shape support, and the below of going up the bracing piece is equipped with the lower support bar of threaded fastening on L shape support, goes up the equal slip cap of bracing piece and lower support bar and establishes on L shape support, and threaded fastening has a plurality of percentage tables on going up the bracing piece, and the below of percentage table is equipped with rather than the spherical detection head that corresponds, the U-shaped groove that front side and rear side were opening setting is seted up at the top of lower support bar, and the bottom inner wall in U-shaped groove and the bottom fixed mounting of spherical detection head set up the cavity that is located U-shaped groove below on the lower support bar. The utility model relates to a rationally, convenient operation is convenient for carry out the centre gripping to the cylinder liner and fixes, avoids moving the phenomenon of skew about the in-process cylinder liner appearance that detects, avoids detecting the error, satisfies the user demand, is favorable to the use.

Description

Device for rapidly detecting wall thickness of cylinder sleeve
Technical Field
The utility model relates to a check out test set technical field especially relates to a device of short-term test cylinder liner wall thickness.
Background
The wall thickness difference is an important technical index of the cylinder sleeve, the wall thickness difference is required to be detected and controlled during processing of each process and detection of finished products of the cylinder sleeve, the detection method of the wall thickness difference of the traditional cylinder sleeve generally adopts a vernier caliper, a wall thickness micrometer and other common measurement methods, wherein when the wall thickness of the cylinder sleeve is measured by using the vernier caliper and the wall thickness micrometer, due to the limitation of the vernier caliper and the wall thickness micrometer, the measurement range can only be limited to the wall thickness difference of the edge of the opening part of a measured workpiece, when the workpiece is large and wide, the wall thickness difference of the middle section of the cylinder sleeve cannot be detected, and through retrieval, an authorization notice number CN203337058U3 discloses a cylinder sleeve wall thickness rapid detection device which comprises an L-shaped bracket, wherein a bottom transverse plate of the L-shaped bracket is a detection platform, an upper support rod and a lower support rod which are respectively vertical to the longitudinal rod are arranged on the longitudinal rod of the L-shaped bracket, the lower support rod is connected with the longitudinal rod of the L-shaped bracket in a vertical sliding manner, and more than two spherical detection heads are arranged on the lower support rod; go up the bracing piece and the vertical pole upper portion fixed connection of L shape support, it corresponds and is fixed with the percentage table to go up the bracing piece directly over the lower support bar sets up spherical detection head, owing to adopt one with gliding lower support bar and cylinder liner contact from top to bottom, be provided with more than two spherical detection heads on the bracing piece simultaneously, thereby can realize detecting the cylinder liner of different wall thickness differences, can also detect the wall thickness difference of two more points on the cylinder liner simultaneously, again because spherical detection head on the lower support bar can set up at the difference, the wall thickness difference of detectable cylinder liner different positions like this.
But above-mentioned patent still exists some not enoughly, is not convenient for carry out quick centre gripping fixed to the cylinder liner when detecting the cylinder liner wall thickness, and the phenomenon of skew about causing the cylinder liner because of the cylinder liner is touched to the mistake easily at the in-process that detects the cylinder liner, and then causes detection error easily, can not satisfy the user demand, therefore we have proposed a device of short-term test cylinder liner wall thickness and be used for solving above-mentioned problem.
SUMMERY OF THE UTILITY MODEL
The utility model aims at solving the defects existing in the prior art and providing a device for rapidly detecting the wall thickness of a cylinder sleeve.
In order to achieve the above purpose, the utility model adopts the following technical scheme:
a device for rapidly detecting the wall thickness of a cylinder sleeve comprises a detection device body, wherein the detection device body comprises an L-shaped support, an upper support rod is fastened on the L-shaped support in a threaded manner, a lower support rod is fastened on the L-shaped support in a threaded manner below the upper support rod, the upper support rod and the lower support rod are sleeved on the L-shaped support in a sliding manner, a plurality of dial indicators are fastened on the upper support rod in a threaded manner, spherical detection heads corresponding to the dial indicators are arranged below the dial indicators, U-shaped grooves with openings at the front sides and the rear sides are formed in the top of the lower support rod, the inner wall at the bottom of the U-shaped groove and the bottom of the spherical detection heads are fixedly installed, a cavity below the U-shaped groove is formed in the lower support rod, the same positioning rod is fixedly installed between the inner walls at the two sides of the cavity, two clamping plates are sleeved on the positioning rod in, two fixing blocks are fixedly sleeved on the positioning rod, the two fixing blocks are both positioned between the two clamping plates, one side of each clamping plate, which is close to each other, is fixedly connected with a plurality of first springs respectively with the corresponding fixing block, the same rotating shaft is rotatably arranged between the inner walls of the other two sides of the cavity, the rotating shaft is positioned at one side of one clamping plate, which is far away from the other clamping plate, of the two clamping plates, two winding shafts are fixedly arranged on the rotating shaft, pull ropes are fixedly arranged at one sides, which are close to each other, of the two clamping plates, the two pull ropes are not positioned on the same horizontal line, a fixed pulley is rotatably arranged on the inner wall of the rear side of the cavity, one end, which is far away from the corresponding clamping plate, of one pull rope of the two pull ropes bypasses the fixed pulley and is far away from one side of one clamping plate and is fixedly, first through-hole has been seted up on the front side inner wall of cavity, the rectangular channel has been seted up in extending to first through-hole to the one end of pivot, sliding sleeve is equipped with T shape pole in the rectangular channel, a plurality of second springs of fixedly connected with between its open-ended one side inner wall are kept away from to the one end of T shape pole and rectangular channel, one side of T shape pole extends outside the lower support bar, the front side bonding of lower support bar is fixed with the rubber circle, the rubber circle cover is established on T shape pole, inside one side of T shape pole is a plurality of connecting rods of annular fixedly connected with, the connecting rod is close to the sharp piece of one end fixedly connected with of lower support bar, the most advanced of sharp piece and one side in close.
Preferably, bearings are fixedly mounted on the inner walls of the other two sides of the cavity, and inner rings of the bearings are fixedly sleeved with the outer side of the rotating shaft.
Preferably, the top inner wall and the bottom inner wall of the rectangular groove are fixedly provided with sliding blocks, sliding grooves are formed in the top and the bottom of the inner side of the T-shaped rod, and the sliding blocks are connected with the corresponding sliding grooves in a sliding mode.
Preferably, the outer side of the rotating shaft is slidably connected with the side wall of the first through hole.
Preferably, a first rectangular hole is formed in one side of the clamping plate, and the side wall of the first rectangular hole is in sliding connection with the outer side of the positioning rod.
Preferably, two second rectangular holes are formed in the inner wall of the top of the cavity, and the inner walls of two sides of each second rectangular hole are respectively in sliding connection with two sides of the corresponding clamping plate.
Preferably, the anti-skid rubber is fixedly bonded on one side of each of the two clamping plates close to each other.
Compared with the prior art, the beneficial effects of the utility model are that:
the cylinder sleeve is sleeved on the lower supporting rod through the matching of the lower supporting rod, the upper supporting rod, the dial indicator, the spherical detection head, the cavity, the positioning rod, the clamping plates, the first spring, the pull rope, the rotating shaft, the winding shaft, the rectangular groove, the T-shaped rod, the second spring, the connecting rods and the rubber ring with the first through hole, the cylinder sleeve is positioned between the two clamping plates, when the cylinder sleeve needs to be fixed, the T-shaped rod is pulled to the direction far away from the lower supporting rod to drive the connecting rods to move, the T-shaped rod stretches the second springs, the connecting rods drive the sharp blocks to be separated from the rubber ring, the rotating shaft is simultaneously driven to rotate through the two sliding blocks by forward rotation of the T-shaped rod, the rotating shaft drives the two winding shafts to respectively wind the corresponding pull ropes, the pull ropes drive the corresponding clamping plates to slide on the positioning rod and compress the first spring, the two clamping plates move to the directions close to each other and respectively drive the corresponding anti-skid rubber, immediately, the stall T shape pole, slowly relax the pulling force to T shape pole this moment, the elasticity of second spring resets and drives a plurality of connecting rods through T shape pole and remove to the direction that is close to the lower support bar, and the connecting rod drives in a plurality of sharp pieces that correspond insert the rubber circle, and then makes two splint fixed for it is fixed to be convenient for carry out the centre gripping to the cylinder liner.
The utility model relates to a rationally, convenient operation is convenient for carry out the centre gripping to the cylinder liner and fixes, avoids moving the phenomenon of skew about the in-process cylinder liner appearance that detects, avoids detecting the error, satisfies the user demand, is favorable to the use.
Drawings
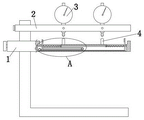
Fig. 1 is a schematic structural diagram of a device for rapidly detecting the wall thickness of a cylinder liner provided by the present invention;
fig. 2 is a schematic cross-sectional structural view of a device for rapidly detecting the wall thickness of a cylinder liner provided by the present invention;
FIG. 3 is a schematic view of part A of FIG. 2;
FIG. 4 is a schematic side sectional view of the lower support rod, the spherical detection head, the rotating shaft, the bobbin, the T-shaped rod, the connecting rod, the tip block, the rubber ring and the second spring connector in FIG. 3.
In the figure: the device comprises a lower supporting rod 1, an upper supporting rod 2, a 3-percent meter, a 4-spherical detection head, a 5-cavity, a 6-positioning rod, a 7-clamping plate, a 8-shaped first spring, a 9-stay cord, a 10-rotating shaft, a 11-winding shaft, a 12-rectangular groove, a 13T-shaped rod, a 14-shaped second spring, a 15-connecting rod, a 16-rubber ring and a 17-shaped first through hole.
Detailed Description
The technical solutions in the embodiments of the present invention will be described clearly and completely with reference to the accompanying drawings in the embodiments of the present invention, and it is obvious that the described embodiments are only some embodiments of the present invention, not all embodiments.
Referring to fig. 1-4, a device for rapidly detecting the wall thickness of a cylinder sleeve comprises a detection device body, the detection device body comprises an L-shaped bracket, an upper support rod 2 is fastened on the L-shaped bracket through screw threads, a lower support rod 1 is fastened on the L-shaped bracket through screw threads below the upper support rod 2, the upper support rod 2 and the lower support rod 1 are both slidably sleeved on the L-shaped bracket, a plurality of dial indicators 3 are fastened on the upper support rod 2 through screw threads, spherical detection heads 4 corresponding to the dial indicators 3 are arranged below the dial indicators 3, U-shaped grooves with openings at the front side and the rear side are arranged at the top of the lower support rod 1, the bottom inner walls of the U-shaped grooves and the bottoms of the spherical detection heads 4 are fixedly installed, a cavity 5 below the U-shaped grooves is arranged on the lower support rod 1, the same positioning rod 6 is fixedly installed between the inner walls at two sides, the top of the clamping plate 7 extends into the U-shaped groove, the spherical detection heads 4 are positioned between the two clamping plates 7, the positioning rod 6 is fixedly sleeved with two fixing blocks, the two fixing blocks are positioned between the two clamping plates 7, one side of the two clamping plates 7, which is close to each other, is fixedly connected with a plurality of first springs 8 with the corresponding fixing blocks, the other two side inner walls of the cavity 5 are rotatably provided with a same rotating shaft 10, the rotating shaft 10 is positioned at one side of one clamping plate 7 of the two clamping plates 7, which is far away from the other clamping plate 7, the rotating shaft 10 is fixedly sleeved with two winding shafts 11, one side of the two clamping plates 7, which is close to each other, is fixedly provided with the pull ropes 9, the two pull ropes 9 are not on the same horizontal line, the inner wall at the rear side of the cavity 5 is rotatably provided with the fixed pulley, one end of one pull rope 9, which is far away from the corresponding clamping plate 7, bypasses the fixed, one end of the other pull rope 9 far away from the corresponding clamping plate 7 is fixedly connected with the other winding shaft 11, one clamping plate 7 is movably sleeved on the two pull ropes 9, a first through hole 17 is arranged on the inner wall of the front side of the cavity 5, one end of the rotating shaft 10 extends into the first through hole 17 and is provided with a rectangular groove 12, a T-shaped rod 13 is sleeved in the rectangular groove 12 in a sliding way, a plurality of second springs 14 are fixedly connected between one end of the T-shaped rod 13 and the inner wall of one side of the rectangular groove 12 far away from the opening of the rectangular groove, one side of the T-shaped rod 13 extends out of the lower support rod 1, a rubber ring 16 is fixedly bonded on the front side of the lower support rod 1, the rubber ring 16 is sleeved on the T-shaped rod 13, a plurality of connecting rods 15 are fixedly connected on one side of the T-shaped rod 13 in an annular manner, one end of the connecting rod 15 near the lower support rod 1, convenient operation is convenient for carry out the centre gripping to the cylinder liner and fixes, avoids moving the phenomenon of skew about the in-process cylinder liner that detects appears, avoids detecting error, satisfies the user demand, is favorable to the use.
In the utility model, the inner walls of the other two sides of the cavity 5 are all fixedly provided with bearings, the inner ring of the bearing is fixedly sleeved with the outer side of the rotating shaft 10, the inner walls of the top and the bottom of the rectangular groove 12 are all fixedly provided with sliders, the inner top and the inner bottom of the T-shaped rod 13 are both provided with chutes, the sliders are in sliding connection with the corresponding chutes, the outer side of the rotating shaft 10 is in sliding connection with the side wall of the first through hole 17, one side of the clamping plate 7 is provided with a first rectangular hole, the side wall of the first rectangular hole is in sliding connection with the outer side of the positioning rod 6, the inner wall of the top of the cavity 5 is provided with two second rectangular holes, the inner walls of the two sides of the second rectangular hole are respectively in sliding connection with the two sides of the corresponding clamping plate 7, and the mutually adjacent sides of the two clamping plates 7 are both bonded and fixed with anti-skid rubber sheets, the utility model has reasonable design and convenient, avoid detection error, satisfy the user demand, be favorable to using.
The working principle is as follows: when the device is used, a cylinder sleeve is sleeved on a lower supporting rod 1, the cylinder sleeve is positioned between two clamping plates 7, the side wall of the cylinder sleeve is contacted with the tops of a plurality of spherical detection heads 4, the top of the cylinder sleeve is contacted with the bottoms of a plurality of dial indicators 3 by adjusting the position of the lower supporting rod 1, then a T-shaped rod 13 is pulled in the direction far away from the lower supporting rod 1, the T-shaped rod 13 drives a plurality of connecting rods 15 to move while moving, the T-shaped rod 13 drives two sliding grooves to respectively slide on corresponding sliding blocks while moving, the T-shaped rod 13 stretches a plurality of second springs 14 while moving, the connecting rods 15 drive a plurality of corresponding sharp blocks to move, so that the sharp blocks are separated from a rubber ring 16, the fixation of the T-shaped rod 13 is eliminated, the T-shaped rod 13 is rotated in the positive direction, the T-shaped rod 13 drives a rotating shaft 10 to rotate through the two sliding blocks simultaneously, the rotating shaft 10 drives the two winding shafts 11 to rotate, the two winding shafts 11 respectively wind the corresponding pull ropes 9 while rotating, so that the pull ropes 9 drive the corresponding clamping plates 7 to slide on the positioning rod 6, the corresponding first springs 8 are compressed while the clamping plates 7 move, the two clamping plates 7 move towards the mutually approaching direction and respectively drive the corresponding anti-skid rubber sheets to clamp and fix the cylinder sleeve, when the two anti-skid rubber sheets are tightly contacted with the cylinder sleeve, the T-shaped rod 13 stops rotating, the tension on the T-shaped rod 13 is slowly released at the moment, the second spring 14 in the compressed state resets, the elastic force of the second spring 14 drives the T-shaped rod 13 to move, the T-shaped rod 13 drives the connecting rods 15 to move towards the direction close to the lower supporting rod 1, the connecting rods 15 drive the corresponding sharp blocks to be inserted into the rubber ring 16, under the friction force between the sharp blocks and the rubber ring 16, t shape pole 13 is fixed, and then makes two splint 7 fixed for it is fixed to be convenient for carry out the centre gripping to the cylinder liner, avoids moving the phenomenon of skew about the in-process cylinder liner that detects appears.
The above, only be the concrete implementation of the preferred embodiment of the present invention, but the protection scope of the present invention is not limited thereto, and any person skilled in the art is in the technical scope of the present invention, according to the technical solution of the present invention and the utility model, the concept of which is equivalent to replace or change, should be covered within the protection scope of the present invention.

Claims (7)

1. A device for rapidly detecting the wall thickness of a cylinder sleeve comprises a detection device body, the detection device body comprises an L-shaped support, an upper supporting rod (2) is fastened on the L-shaped support through threads, a lower supporting rod (1) which is fastened on the L-shaped support through threads is arranged below the upper supporting rod (2), the upper supporting rod (2) and the lower supporting rod (1) are sleeved on the L-shaped support in a sliding mode, a plurality of dial indicators (3) are fastened on the upper supporting rod (2) through threads, spherical detection heads (4) corresponding to the dial indicators are arranged below the dial indicators (3), the detection device is characterized in that the top of the lower supporting rod (1) is provided with a U-shaped groove, the front side and the rear side of the U-shaped groove are both provided with openings, the inner wall of the bottom of the U-shaped groove and the bottom of the spherical detection heads (4) are fixedly installed, a cavity (5) positioned below the U-shaped groove is arranged on the lower, two clamping plates (7) are slidably sleeved on the positioning rod (6), the tops of the clamping plates (7) extend into the U-shaped groove, the spherical detection heads (4) are positioned between the two clamping plates (7), two fixing blocks are fixedly sleeved on the positioning rod (6) and positioned between the two clamping plates (7), one side, close to each other, of the two clamping plates (7) is fixedly connected with a plurality of first springs (8) with the corresponding fixing blocks, the same rotating shaft (10) is rotatably arranged between the inner walls of the other two sides of the cavity (5), the rotating shaft (10) is positioned on one side, away from the other clamping plate (7), of one clamping plate (7) in the two clamping plates (7), two winding shafts (11) are fixedly sleeved on the rotating shaft (10), pull ropes (9) are fixedly arranged on one side, close to each other, of the two clamping plates (7), and the two pull ropes (9) are not on, a fixed pulley is rotatably arranged on the inner wall of the rear side of the cavity (5), one end of one pull rope (9) in the two pull ropes (9), which is far away from the corresponding clamping plate (7), bypasses the fixed pulley and is far away from one side of the clamping plate (7) and is fixedly connected with one winding shaft (11) in the two winding shafts (11), one end of the other pull rope (9), which is far away from the corresponding clamping plate (7), is fixedly connected with the other winding shaft (11), one clamping plate (7) is movably sleeved on the two pull ropes (9), a first through hole (17) is formed in the inner wall of the front side of the cavity (5), one end of a rotating shaft (10) extends into the first through hole (17) and is provided with a rectangular groove (12), a T-shaped rod (13) is slidably sleeved in the rectangular groove (12), and a plurality of second springs (14) are fixedly connected between one end of the T-shaped rod (13) and the inner wall of the rectangular groove (, outside one side of T shape pole (13) extended to lower support bar (1), the front side bonding of lower support bar (1) was fixed with rubber circle (16), rubber circle (16) cover was established on T shape pole (13), and inside one side of T shape pole (13) is a plurality of connecting rods of annular fixedly connected with (15), and connecting rod (15) are close to the sharp piece of one end fixedly connected with of lower support bar (1), the most advanced one side in close contact with of rubber circle (16) of sharp piece.
2. The device for rapidly detecting the wall thickness of the cylinder sleeve as claimed in claim 1, wherein bearings are fixedly mounted on the inner walls of the other two sides of the cavity (5), and inner rings of the bearings are fixedly sleeved with the outer side of the rotating shaft (10).
3. The device for rapidly detecting the wall thickness of the cylinder sleeve as claimed in claim 1, wherein sliding blocks are fixedly mounted on the inner walls of the top and the bottom of the rectangular groove (12), sliding grooves are formed in the top and the bottom of the inner side of the T-shaped rod (13), and the sliding blocks are slidably connected with the corresponding sliding grooves.
4. The device for rapidly detecting the wall thickness of the cylinder liner according to claim 1, wherein the outer side of the rotating shaft (10) is in sliding connection with the side wall of the first through hole (17).
5. The device for rapidly detecting the wall thickness of the cylinder sleeve as claimed in claim 1, wherein a first rectangular hole is formed in one side of the clamping plate (7), and the side wall of the first rectangular hole is slidably connected with the outer side of the positioning rod (6).
6. The device for rapidly detecting the wall thickness of the cylinder sleeve as claimed in claim 1, wherein two second rectangular holes are formed in the inner wall of the top of the cavity (5), and the inner walls of two sides of each second rectangular hole are respectively in sliding connection with two sides of the corresponding clamping plate (7).
7. The device for rapidly detecting the wall thickness of the cylinder sleeve as claimed in claim 1, wherein the anti-skid rubber is fixedly bonded to the side, close to each other, of each of the two clamping plates (7).
CN201921914291.XU 2019-11-08 2019-11-08 Device for rapidly detecting wall thickness of cylinder sleeve Active CN210533244U (en)

Priority Applications (1)

Application Number Priority Date Filing Date Title
CN201921914291.XU CN210533244U (en) 2019-11-08 2019-11-08 Device for rapidly detecting wall thickness of cylinder sleeve

Applications Claiming Priority (1)

Application Number Priority Date Filing Date Title
CN201921914291.XU CN210533244U (en) 2019-11-08 2019-11-08 Device for rapidly detecting wall thickness of cylinder sleeve

Publications (1)

Publication Number Publication Date
CN210533244U true CN210533244U (en) 2020-05-15

Family

ID=70608459

Family Applications (1)

Application Number Title Priority Date Filing Date
CN201921914291.XU Active CN210533244U (en) 2019-11-08 2019-11-08 Device for rapidly detecting wall thickness of cylinder sleeve

Country Status (1)

Country Link
CN (1) CN210533244U (en)

Cited By (1)

* Cited by examiner, † Cited by third party
Publication number Priority date Publication date Assignee Title
CN112556538A (en) * 2020-12-18 2021-03-26 江苏昆轴精密机电有限公司 Bearing groove wall thickness difference measuring instrument

Cited By (1)

* Cited by examiner, † Cited by third party
Publication number Priority date Publication date Assignee Title
CN112556538A (en) * 2020-12-18 2021-03-26 江苏昆轴精密机电有限公司 Bearing groove wall thickness difference measuring instrument

Similar Documents

Publication Publication Date Title
CN208297282U (en) Friction testing equipment and detection system
CN203758827U (en) Fixing platform for material indentation test
CN210533244U (en) Device for rapidly detecting wall thickness of cylinder sleeve
CN117250098A (en) Power cable tension detection device
CN110926953A (en) Pressure detection mechanism of cement pressure plate
CN218973396U (en) Forging diameter measuring device
CN216869989U (en) Detection device is used in annular nut production
CN215768985U (en) Lightweight geological radar detection equipment for unlined tunnel
CN218787875U (en) Auxiliary measuring device for steel cable tension
CN216560021U (en) Tensile resistance detection device for power cable production
CN215677523U (en) Auto-parts detection tool
CN214213559U (en) Valve element measuring position degree clamp
CN215339273U (en) Power line tension and torsion testing machine convenient to operate
CN116952742A (en) Material detection method and equipment for curtain wall
CN212620426U (en) Gear face runout and face parallelism detection device
CN111458065B (en) Conveniently-fixed wire harness tension detection device for spinning and detection method thereof
CN211234486U (en) Clamp for detection equipment
CN210388335U (en) Workpiece clamping device for numerical control machine tool
CN217304229U (en) Large-diameter circular saw web stress detector
CN216144616U (en) Product tension test equipment
CN222259034U (en) Stable-clamping hardness tester for mold detection
CN214622040U (en) Novel clamp for grid cloth tensile test
CN221465092U (en) Clamp for tensile strength testing machine
CN216464147U (en) Accurate anchor clamps are used in TO product encapsulation
CN205228946U (en) Make things convenient for screw tensile test machine

Legal Events

Date Code Title Description
GR01 Patent grant
GR01 Patent grant