CN210532837U - A vacuum rotary vacuum dryer - Google Patents

A vacuum rotary vacuum dryer Download PDF

Info

Publication number
CN210532837U
CN210532837U CN201921554083.3U CN201921554083U CN210532837U CN 210532837 U CN210532837 U CN 210532837U CN 201921554083 U CN201921554083 U CN 201921554083U CN 210532837 U CN210532837 U CN 210532837U
Authority
CN
China
Prior art keywords
fixedly connected
wall
rod
vacuum
helical gear
Prior art date
Legal status (The legal status is an assumption and is not a legal conclusion. Google has not performed a legal analysis and makes no representation as to the accuracy of the status listed.)
Expired - Fee Related
Application number
CN201921554083.3U
Other languages
Chinese (zh)
Inventor
欧阳继东
Current Assignee (The listed assignees may be inaccurate. Google has not performed a legal analysis and makes no representation or warranty as to the accuracy of the list.)
Guangzhou Haoxiaoxin Medical Equipment Co ltd
Original Assignee
Guangzhou Haoxiaoxin Medical Equipment Co ltd
Priority date (The priority date is an assumption and is not a legal conclusion. Google has not performed a legal analysis and makes no representation as to the accuracy of the date listed.)
Filing date
Publication date
Application filed by Guangzhou Haoxiaoxin Medical Equipment Co ltd filed Critical Guangzhou Haoxiaoxin Medical Equipment Co ltd
Priority to CN201921554083.3U priority Critical patent/CN210532837U/en
Application granted granted Critical
Publication of CN210532837U publication Critical patent/CN210532837U/en
Expired - Fee Related legal-status Critical Current
Anticipated expiration legal-status Critical

Links

Images

Landscapes

  • Drying Of Solid Materials (AREA)

Abstract

本实用新型涉及干燥机技术领域,且公开了一种真空回转式真空干燥机,包括底座,底座的上端左右对称固定连接有两个支架,两个支架的上端对称开设有通孔且通孔内通过滚珠轴承转动套接有转筒,两个转筒之间固定连接有同一个料筒,两个转筒内通过密封轴承转动套接有同一根转杆,转杆位于料筒内的杆壁均匀固定连接有多个搅拌杆,搅拌杆远离转杆的一端固定连接有弧形翻料板,转杆的两端和料筒的筒壁均固定套接有第一从动斜齿轮,支架的外壁固定连接有多个轴承座,多个轴承座内通过滚珠轴承转动套接有同一根连接杆。本实用新型能够实现对物料的快速分散,使得物料的干燥更加全面,提高了干燥效率。

Figure 201921554083

The utility model relates to the technical field of dryers, and discloses a vacuum rotary vacuum dryer, which comprises a base, the upper end of the base is fixedly connected with two brackets symmetrically from left to right, the upper ends of the two brackets are symmetrically provided with through holes, and the through holes are arranged inside the through holes. A rotating drum is rotatably sleeved through the ball bearing, the same material barrel is fixedly connected between the two rotating drums, and the same rotating rod is rotatably sleeved through the sealed bearing in the two rotating drums, and the rotating rod is located on the rod wall in the material barrel. A plurality of stirring rods are evenly and fixedly connected, and an arc-shaped turning plate is fixedly connected to one end of the stirring rod away from the rotating rod. The two ends of the rotating rod and the barrel wall of the material barrel are fixedly sleeved with a first driven helical gear. The outer wall is fixedly connected with a plurality of bearing seats, and a same connecting rod is rotatably sleeved in the plurality of bearing seats through a ball bearing. The utility model can realize the rapid dispersion of materials, make the drying of materials more comprehensive, and improve the drying efficiency.

Figure 201921554083

Description

Vacuum rotary vacuum drier
Technical Field
The utility model relates to a desiccator technical field especially relates to a vacuum rotation vacuum drying machine.
Background
The vacuum drier is a vacuum low-temperature device for heating materials. The vacuum dryer is used for dehydrating and drying agricultural and sideline products, health products, foods, medicinal materials, fruits and vegetables, chemical raw materials and the like with high added value and heat sensitivity; the method is used for low-temperature concentration of chemical products, removal of crystal water, drying of enzyme preparations and the like, and vacuum extraction of Chinese herbal medicines, and is suitable for experiments in scientific research institutions.
Present vacuum drying machine realizes the quick overall drying to the material through the mode of upset to the jar body, nevertheless can gather in one side of the jar body most at the in-process material of actually overturning and slide for the material can not effectually carry out comprehensive dispersion drying, has influenced drying efficiency, the people's of not being convenient for use.
SUMMERY OF THE UTILITY MODEL
The utility model aims at solving among the prior art vacuum drying machine and realizing the quick overall drying to the material through the mode through the upset to the jar body, nevertheless can gather in one side of the jar body most at the in-process material of actually overturning and slide for the material can not effectually carry out comprehensive dispersion drying, has influenced drying efficiency, the problem of the use of people of being not convenient for, and the vacuum rotation vacuum drying machine that proposes.
In order to achieve the above purpose, the utility model adopts the following technical scheme:
a vacuum rotary vacuum drier comprises a base, wherein two supports are fixedly connected to the upper end of the base in a bilateral symmetry manner, through holes are symmetrically formed in the upper ends of the two supports, rotary drums are rotatably sleeved in the through holes through ball bearings, a same material cylinder is fixedly connected between the two rotary drums, a same rotary rod is rotatably sleeved in the two rotary drums through sealing bearings, a plurality of stirring rods are uniformly and fixedly connected to the rod wall of the rotary rod in the material cylinder, an arc-shaped material turning plate is fixedly connected to one end, away from the rotary rod, of each stirring rod, a first driven helical gear is fixedly sleeved at each of the two ends of the rotary rod and the cylinder wall of the material cylinder, a plurality of bearing seats are fixedly connected to the outer wall of each support, a same connecting rod is rotatably sleeved in the bearing seats through the ball bearings, and a first driving helical gear meshed with the first driven helical gear is fixedly connected to, the lower extreme fixedly connected with second driven helical gear of connecting rod, the upper end center department fixedly connected with double-shaft motor of base, the equal fixedly connected with pivot of output shaft at double-shaft motor both ends, the one end that double-shaft motor was kept away from in the pivot runs through the second initiative helical gear that stretches out the support outer and fixedly connected with and the meshing of second driven helical gear.
Preferably, the wall of the charging barrel is symmetrically and fixedly communicated with a feeding hopper and a discharging hopper.
Preferably, the outer wall of the support and the upper end of the base are fixedly connected with a protective shell.
Preferably, the outer wall of the arc-shaped material turning plate is tightly attached to the inner wall of the charging barrel.
Preferably, the first driven bevel gear outside the rotary cylinder and the first driven bevel gears at two ends of the rotary rod are arranged oppositely.
Compared with the prior art, the utility model provides a vacuum rotation vacuum drying machine possesses following beneficial effect:
1. this vacuum rotation vacuum drying machine, double-shaft motor through being equipped with, when drying, the material that will nevertheless be dry is placed in the feed cylinder through the feeder hopper, start double-shaft motor, double-shaft motor drives the pivot and rotates and then drives second initiative helical gear and rotate, the meshing that utilizes second initiative helical gear and second driven helical gear drives the connecting rod and rotates and then drive first initiative helical gear and rotate, the meshing that utilizes first initiative helical gear and first driven helical gear drives bull stick and rotary drum antiport, and then can make the material overturn in the feed cylinder, feed cylinder and bull stick antiport make the material at the in-process of upset, the puddler drives that the arc material turning plate is reverse to mix the material, can realize the fast dispersion to the material, make the drying of material more comprehensive, drying efficiency is improved.
2. This vacuum rotation vacuum drying machine through the protecting crust that is equipped with, can carry out effectual protection to drive mechanism, and safety protection nature is good.
And the part that does not relate to among the device all is the same with prior art or can adopt prior art to realize, the utility model discloses can realize the fast dispersion to the material for the drying of material is more comprehensive, has improved drying efficiency.
Drawings
Fig. 1 is a schematic structural view of a vacuum rotary vacuum dryer according to the present invention;
fig. 2 is the utility model provides a connecting structure sketch map of puddler and arc material turning plate of vacuum rotation vacuum drying machine.
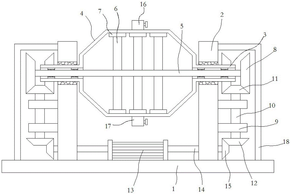
In the figure: the device comprises a base 1, a support 2, a rotating drum 3, a charging barrel 4, a rotating rod 5, a stirring rod 6, an arc material stirring plate 7, a first driven bevel gear 8, a bearing seat 9, a connecting rod 10, a first driving bevel gear 11, a second driven bevel gear 12, a double-shaft motor 13, a rotating shaft 14, a second driving bevel gear 15, a feeding hopper 16, a discharging hopper 17 and a protective shell 18.
Detailed Description
The technical solutions in the embodiments of the present invention will be described clearly and completely with reference to the accompanying drawings in the embodiments of the present invention, and it is obvious that the described embodiments are only some embodiments of the present invention, not all embodiments.
In the description of the present invention, it is to be understood that the terms "upper", "lower", "front", "rear", "left", "right", "top", "bottom", "inner", "outer", and the like indicate orientations or positional relationships based on the orientations or positional relationships shown in the drawings, and are only for convenience of description and simplicity of description, and do not indicate or imply that the device or element being referred to must have a particular orientation, be constructed and operated in a particular orientation, and therefore, should not be construed as limiting the present invention.
Referring to fig. 1-2, a vacuum rotary vacuum dryer comprises a base 1, wherein two supports 2 are symmetrically and fixedly connected to the upper end of the base 1, through holes are symmetrically formed in the upper ends of the two supports 2, rotary drums 3 are rotatably sleeved in the through holes through ball bearings, a same material barrel 4 is fixedly connected between the two rotary drums 3, a same rotary rod 5 is rotatably sleeved in the two rotary drums 3 through sealing bearings, a plurality of stirring rods 6 are uniformly and fixedly connected to the rod wall of the rotary rod 5 in the material barrel 4, an arc-shaped material turning plate 7 is fixedly connected to one end, away from the rotary rod 5, of each stirring rod 6, first driven bevel gears 8 are fixedly sleeved at the two ends of the rotary rod 5 and the barrel wall of the material barrel 4, a plurality of bearing seats 9 are fixedly connected to the outer wall of the base 2, a same connecting rod 10 is rotatably sleeved in the plurality of bearing seats 9, a first bevel gear driving gear 11 meshed with the first driven bevel gears is, the lower extreme fixedly connected with second driven helical gear 12 of connecting rod 10, the upper end center fixedly connected with double-shaft motor 13 of base 1 department, the equal fixedly connected with pivot 14 of output shaft at double-shaft motor 13 both ends, the one end that double-shaft motor 13 was kept away from in pivot 14 runs through and stretches out the support 2 outside and fixedly connected with and the second driven helical gear 12 joggled second initiative helical gear 15.
The wall symmetry of feed cylinder 4 is fixed the intercommunication has feeder hopper 16 and play hopper 17, is convenient for the blowing to get the material.
The outer wall of the bracket 2 and the upper end of the base 1 are fixedly connected with a protective shell 18, so that the transmission mechanism is effectively protected.
The outer wall of the arc-shaped material turning plate 7 is tightly attached to the inner wall of the charging barrel 4, so that the materials can be conveniently turned.
The first driven bevel gear 8 outside the rotary drum 3 is opposite to the first driven bevel gear 8 at the two ends of the rotary rod 5.
In the utility model, when in use, when drying, the dried material is placed in the material cylinder 4 through the feed hopper 16 by the double-shaft motor 13, the double-shaft motor 13 is started, the double-shaft motor 13 drives the rotating shaft 14 to rotate so as to drive the second driving bevel gear 15 to rotate, the connecting rod 10 is driven to rotate by the meshing action of the second driving bevel gear 15 and the second driven bevel gear 12 so as to drive the first driving bevel gear 11 to rotate, the rotating rod 5 and the rotary drum 3 are driven to rotate reversely by the meshing action of the first driving bevel gear 11 and the first driven bevel gear 8, so that the material can be overturned in the material cylinder 4, the material is stirred by the stirring rod 6 driving the arc-shaped material overturning plate 7 reversely in the overturning process by the reverse rotation of the material cylinder 4 and the rotary rod 5, the rapid dispersion of the material can be realized, the drying of the material is more comprehensive, and the drying efficiency is improved, through the protective housing 18 that is equipped with, can carry out effectual protection to drive mechanism, safety protection nature is good.
The above, only be the concrete implementation of the preferred embodiment of the present invention, but the protection scope of the present invention is not limited thereto, and any person skilled in the art is in the technical scope of the present invention, according to the technical solution of the present invention and the utility model, the concept of which is equivalent to replace or change, should be covered within the protection scope of the present invention.

Claims (5)

1. A vacuum rotary vacuum drier comprises a base (1) and is characterized in that the upper end of the base (1) is fixedly connected with two supports (2) in a bilateral symmetry mode, the upper ends of the two supports (2) are symmetrically provided with through holes, rotating drums (3) are rotatably sleeved in the through holes through ball bearings, a same material cylinder (4) is fixedly connected between the two rotating drums (3), a same rotating rod (5) is rotatably sleeved in the two rotating drums (3) through sealing bearings, rod walls of the rotating rod (5) positioned in the material cylinder (4) are uniformly and fixedly connected with a plurality of stirring rods (6), one ends, far away from the rotating rod (5), of the stirring rods (6) are fixedly connected with arc-shaped material turning plates (7), both ends of the rotating rod (5) and the cylinder wall of the material cylinder (4) are fixedly sleeved with first driven bevel gears (8), the outer wall of each support (2) is fixedly connected with a plurality of bearing seats (9), it is a plurality of it has cup jointed same connecting rod (10) to rotate through ball bearing in bearing frame (9), the upper end fixedly connected with of connecting rod (10) and first initiative helical gear (11) of first driven helical gear (8) meshing, the driven helical gear (12) of lower extreme fixedly connected with second of connecting rod (10), fixedly connected with double-shaft motor (13) are located at the upper end center of base (1), the equal fixedly connected with pivot (14) of output shaft at double-shaft motor (13) both ends, the one end that double-shaft motor (13) were kept away from in pivot (14) runs through the second initiative helical gear (15) that stretches out the outer and fixedly connected with of support (2) and second driven helical gear (12) meshing.
2. A vacuum rotary vacuum drier according to claim 1, characterized in that the wall of the charging barrel (4) is symmetrically and fixedly connected with a feeding hopper (16) and a discharging hopper (17).
3. Vacuum rotary vacuum dryer according to claim 1, characterized in that the outer wall of the support (2) and the upper end of the base (1) are fixedly connected with a protective shell (18).
4. A vacuum rotary vacuum dryer as claimed in claim 1, wherein the outer wall of the arc-shaped material-turning plate (7) is closely attached to the inner wall of the charging barrel (4).
5. A vacuum rotary vacuum dryer as in claim 1, wherein the first driven bevel gear (8) at the outer side of the rotary drum (3) and the first driven bevel gears (8) at the two ends of the rotary rod (5) are oppositely arranged.
CN201921554083.3U 2019-09-18 2019-09-18 A vacuum rotary vacuum dryer Expired - Fee Related CN210532837U (en)

Priority Applications (1)

Application Number Priority Date Filing Date Title
CN201921554083.3U CN210532837U (en) 2019-09-18 2019-09-18 A vacuum rotary vacuum dryer

Applications Claiming Priority (1)

Application Number Priority Date Filing Date Title
CN201921554083.3U CN210532837U (en) 2019-09-18 2019-09-18 A vacuum rotary vacuum dryer

Publications (1)

Publication Number Publication Date
CN210532837U true CN210532837U (en) 2020-05-15

Family

ID=70606445

Family Applications (1)

Application Number Title Priority Date Filing Date
CN201921554083.3U Expired - Fee Related CN210532837U (en) 2019-09-18 2019-09-18 A vacuum rotary vacuum dryer

Country Status (1)

Country Link
CN (1) CN210532837U (en)

Cited By (2)

* Cited by examiner, † Cited by third party
Publication number Priority date Publication date Assignee Title
CN111468707A (en) * 2020-05-22 2020-07-31 安徽省繁昌县皖南阀门铸造有限公司 Efficient valve casting assembly line
CN111707062A (en) * 2020-06-28 2020-09-25 铜陵铜基粉体科技有限公司 Efficient vacuum rotary drying device for copper powder drying and using method

Cited By (2)

* Cited by examiner, † Cited by third party
Publication number Priority date Publication date Assignee Title
CN111468707A (en) * 2020-05-22 2020-07-31 安徽省繁昌县皖南阀门铸造有限公司 Efficient valve casting assembly line
CN111707062A (en) * 2020-06-28 2020-09-25 铜陵铜基粉体科技有限公司 Efficient vacuum rotary drying device for copper powder drying and using method

Similar Documents

Publication Publication Date Title
CN210532837U (en) A vacuum rotary vacuum dryer
CN212109345U (en) Powdered ore drying device is used in tantalum-tungsten alloy production
CN217189187U (en) Dried orange peel extract and oligosaccharide syrup mixing and stirring device
CN207894185U (en) A kind of rotating disc type drier for medicinal materials
CN206868312U (en) A kind of cement raw material drying and crushing device
CN209558825U (en) A kind of drying device of baby nutrition compounding rice flour
CN210230182U (en) A simple-structured drying and pulverizing device for Chinese medicinal materials
CN204412427U (en) The dry breaker of calcium carbonate cement raw material material loading
CN209246575U (en) A kind of drying device for capsule production line
CN208475908U (en) Chinese medicinal material drying equipment for drying
CN211133903U (en) Reation kettle is used in pesticide processing
CN220728849U (en) Drying device is used in polyurethane production
CN214250496U (en) Pharmacy department washs drying device with traditional chinese medicine
CN214257921U (en) Drying device is used in walnut production and processing convenient to use
CN207948764U (en) A kind of preserved fruit making fruit drying unit
CN207702952U (en) The device for discharging of conical vacuum dryer
CN113834300B (en) A tea seed storage device for tea-oil camellia processing
CN205156543U (en) Vacuum drum desiccator is used in dacron processing
CN212081933U (en) Drying equipment for pharmacy
CN207922702U (en) One kind trembling a drying machine
CN217979616U (en) A traditional chinese medicine granule desiccator for traditional chinese medicine processing
CN115388629A (en) Plastic granules processing equipment of plastics production usefulness
CN109676996B (en) Tabletting and drying integrated machine for producing chewable tablets
CN208504922U (en) A kind of organic fertilizer drying unit convenient for discharging
CN209287493U (en) A kind of diatomite crushing and drying device

Legal Events

Date Code Title Description
GR01 Patent grant
GR01 Patent grant
CF01 Termination of patent right due to non-payment of annual fee

Granted publication date: 20200515

CF01 Termination of patent right due to non-payment of annual fee