CN210525890U - A walnut cold press - Google Patents

A walnut cold press Download PDF

Info

Publication number
CN210525890U
CN210525890U CN201920732863.6U CN201920732863U CN210525890U CN 210525890 U CN210525890 U CN 210525890U CN 201920732863 U CN201920732863 U CN 201920732863U CN 210525890 U CN210525890 U CN 210525890U
Authority
CN
China
Prior art keywords
oil
squeezing
cage
strips
head
Prior art date
Legal status (The legal status is an assumption and is not a legal conclusion. Google has not performed a legal analysis and makes no representation as to the accuracy of the status listed.)
Expired - Fee Related
Application number
CN201920732863.6U
Other languages
Chinese (zh)
Inventor
杨学华
Current Assignee (The listed assignees may be inaccurate. Google has not performed a legal analysis and makes no representation or warranty as to the accuracy of the list.)
Hubei Dongfanghong Grain Machinery Co ltd
Original Assignee
Hubei Dongfanghong Grain Machinery Co ltd
Priority date (The priority date is an assumption and is not a legal conclusion. Google has not performed a legal analysis and makes no representation as to the accuracy of the date listed.)
Filing date
Publication date
Application filed by Hubei Dongfanghong Grain Machinery Co ltd filed Critical Hubei Dongfanghong Grain Machinery Co ltd
Priority to CN201920732863.6U priority Critical patent/CN210525890U/en
Application granted granted Critical
Publication of CN210525890U publication Critical patent/CN210525890U/en
Expired - Fee Related legal-status Critical Current
Anticipated expiration legal-status Critical

Links

Images

Landscapes

  • Fats And Perfumes (AREA)

Abstract

本实用新型涉及一种核桃冷榨机,包括榨笼,榨笼水平安装在机架上,其内壁上沿其周向安装有多根分别延伸至其两端敞口处的榨条,多根榨条沿榨笼的周向均匀间隔分布,多根榨条的一端共同构成进料口,另一端连接并连通设有排渣口;进料通道,其沿榨笼的轴向安装在机架上,其一端与进料口连接并连通,其上部设有加料口;推料冷压机构,其安装在进料通道的另一端,用于将加料口添加的料物推入多根榨条之间进行挤压;校饼头,校饼头与驱动机构传动连接,驱动机构用于驱动校饼头沿榨笼的轴向水平移动至与排渣口相抵或分离。优点:能够实现连续压榨,副产品能够回收深加工,设备作业劳动强度小,无环境污染;使用简单,维修方便,生产效率高。

Figure 201920732863

The utility model relates to a walnut cold pressing machine, comprising a pressing cage, which is horizontally installed on a frame, and a plurality of pressing bars extending to the openings at both ends of the pressing cage are installed on its inner wall along its circumferential direction. The press bars are evenly spaced along the circumference of the press cage. One end of the plurality of press bars forms the feed port together, and the other end is connected and communicated with a slag discharge port; the feed channel is installed on the frame along the axial direction of the press cage. One end is connected and communicated with the feeding port, and the upper part is provided with a feeding port; the pushing cold pressing mechanism is installed on the other end of the feeding channel, and is used to push the material added by the feeding port into a plurality of press bars Squeeze between them; the cake-calibrating head, which is connected with the drive mechanism, is used to drive the cake-calibrating head to move horizontally along the axial direction of the squeezing cage until it touches or separates from the slag discharge port. Advantages: continuous pressing can be realized, by-products can be recovered and processed, the labor intensity of equipment operation is low, and there is no environmental pollution; it is simple to use, easy to maintain, and has high production efficiency.

Figure 201920732863

Description

Walnut cold press
Technical Field
The utility model relates to an oil equipment, in particular to walnut cold press.
Background
The walnut oil is rich in nutrition and beneficial to human health, and is known as 'east olive oil' in the international market and is highly popular with consumers.
At present, walnut oil pressing is a difficult problem, because the oil content of walnuts is up to percent, when hot pressing is adopted, part of additives such as walnut shells and the like are added in walnut kernels, nutrient substances of the walnut oil after the hot pressing are damaged and cannot be used as high-grade edible oil, cake dregs are basically used as feed and cannot be used as byproducts for deep processing, so that the serious waste of walnut protein resources is caused, and the current walnut oil pressing process is small-sized hot pressing and cannot be used for large-scale production.
SUMMERY OF THE UTILITY MODEL
The utility model aims to solve the technical problem that a walnut cold press is provided, the effectual defect of overcoming prior art.
The utility model provides an above-mentioned technical problem's technical scheme as follows: a walnut cold squeezer comprises a squeezing cage, wherein the squeezing cage is horizontally arranged on a rack, a plurality of squeezing strips extending to openings at two ends of the squeezing cage are arranged on the inner wall of the squeezing cage along the circumferential direction of the squeezing cage respectively, the squeezing strips are uniformly distributed at intervals along the circumferential direction of the squeezing cage, one ends of the squeezing strips form a feeding hole together, and the other ends of the squeezing strips are connected and communicated with a slag discharge hole; the feeding channel is arranged on the frame along the axial direction of the squeezing cage, one end of the feeding channel is connected and communicated with the feeding hole, and the upper part of the feeding channel is provided with a feeding hole; the pushing cold pressing mechanism is arranged at the other end of the feeding channel and is used for pushing the material added by the feeding port into a plurality of squeezing strips for squeezing; the cake correcting head is arranged at one end of the residue discharge port, which is far away from the squeezing cage, and is in transmission connection with a driving mechanism, and the driving mechanism is used for driving the cake correcting head to horizontally move along the axial direction of the squeezing cage to be abutted against or separated from the residue discharge port.
The utility model has the advantages that: the design is reasonable, the walnut pure kernels can be continuously squeezed, and the nutrient substances of the squeezed edible oil are not damaged; the byproducts can be recycled and deeply processed, can be fully utilized, and has small labor intensity of equipment operation and no environmental pollution; simple use, convenient maintenance and high production efficiency.
On the basis of the technical scheme, the utility model discloses can also do following improvement.
Further, the pressing strips are ironwood strips.
The beneficial effects of adopting above-mentioned further scheme are that it does not contain the metal to have higher wearability, processing technology is simple, and the pure wood material can not cause the pollution to the edible oil.
Furthermore, the other end of the squeezing cage is provided with a base fixed on the frame, the base is provided with a slag discharge channel which horizontally penetrates through the base corresponding to the other end of the plurality of squeezing strips, and the slag discharge channel forms the slag discharge port.
The beneficial effects of adopting above-mentioned further scheme are that the structure is more firm, do benefit to the stable discharge of dregs of fat to and do benefit to the good cooperation of school cake head and row cinder notch.
Further, the longitudinal section of the slag discharge port is round, and the interface area of the slag discharge port is gradually increased from one end close to the plurality of the squeezing strips to the other end.
The oil residue discharge device has the beneficial effect that the oil residue can be smoothly discharged from the residue discharge port.
Furthermore, one end of the cake correcting head, which is close to the slag discharge port, is provided with a spherical surface corresponding to the slag discharge port, and the driving mechanism is used for driving one end of the cake correcting head, which is provided with the spherical surface, to horizontally move along the axial direction of the squeezing cage, extend into the slag discharge port, and abut against the inner wall of the slag discharge port, or move and retreat out of the slag discharge port.
The beneficial effect of adopting above-mentioned further scheme is that its shape reasonable in design can with arrange the good matching of cinder notch, does benefit to the good recovery of dregs of fat.
Further, the pushing and cold-pressing mechanism comprises a cylinder body and a hydraulic head, the cylinder body is horizontally arranged, one end of the cylinder body is open, and the open end of the cylinder body is connected and communicated with the other end of the feeding channel through a connecting sleeve; the hydraulic head is arranged in the cylinder body and is connected with the inner wall of the cylinder body in a sealing way, an oil cavity is formed between the hydraulic head and the closed end of the cylinder body, the side wall of the oil cavity is respectively provided with an oil inlet and an oil return port, and the oil inlet and the oil return port are respectively connected and communicated with the hydraulic station through pipelines; one end of the hydraulic head, which deviates from the oil chamber, is provided with a pushing rod matched with the feeding channel, and the pushing rod can horizontally move to two sides of the feeding port along the feeding channel under the hydraulic action.
The beneficial effects of adopting above-mentioned further scheme are that material pushing cold press constructs simple design, and is reasonable, and the extrusion pressure is adjustable, and the hydraulic pressure head and the removal stroke frequency that bulldozes the pole are adjustable, and simple to use, easy maintenance, production efficiency is high.
Further, the driving mechanism is a hand jack which is fixed on the frame, and the telescopic end of the driving mechanism horizontally faces the cake correcting head and is fixedly connected with one end of the cake correcting head, which is far away from the press cage.
The beneficial effects of adopting above-mentioned further scheme are easy operation, the size of the regulation dregs of fat export that can be effective and accurate.
Further, still including connecing the oil groove, above-mentioned oil groove that connects sets up in the below of above-mentioned press cage.
The beneficial effect of adopting above-mentioned further scheme is that make things convenient for the operation personnel to collect the fluid of squeezing out.
Further, an oil outlet is arranged at the lower part of one end of the oil receiving groove, and the oil receiving groove is provided with an output mechanism used for conveying oil to the oil outlet.
Adopt the beneficial effect of above-mentioned further scheme to be convenient for connect the discharge of silo interior fluid and collect.
Further, above-mentioned output mechanism includes hob and drive arrangement, the above-mentioned one end outside that connects the oil groove be equipped with the play oil box of above-mentioned oil-out intercommunication, the bottom of the above-mentioned box that goes out oil is equipped with the oil outlet, the above-mentioned hob level sets up, its one end with the above-mentioned other end lower part that connects the inside of oil groove rotates and is connected, its other end passes above-mentioned oil-out and above-mentioned box that goes out oil in proper order to straighten above-mentioned box that goes out oil and deviate from the above-mentioned one end that connects the oil groove, above-mentioned drive arrangement is connected with the other end transmission.
The beneficial effects of adopting above-mentioned further scheme are that structural design is reasonable, and easy operation is convenient, can carry out good output collection by the fluid in the automatic butt joint silo.
Drawings
Fig. 1 is the structure schematic diagram of the walnut cold press of the utility model.
In the drawings, the components represented by the respective reference numerals are listed below:
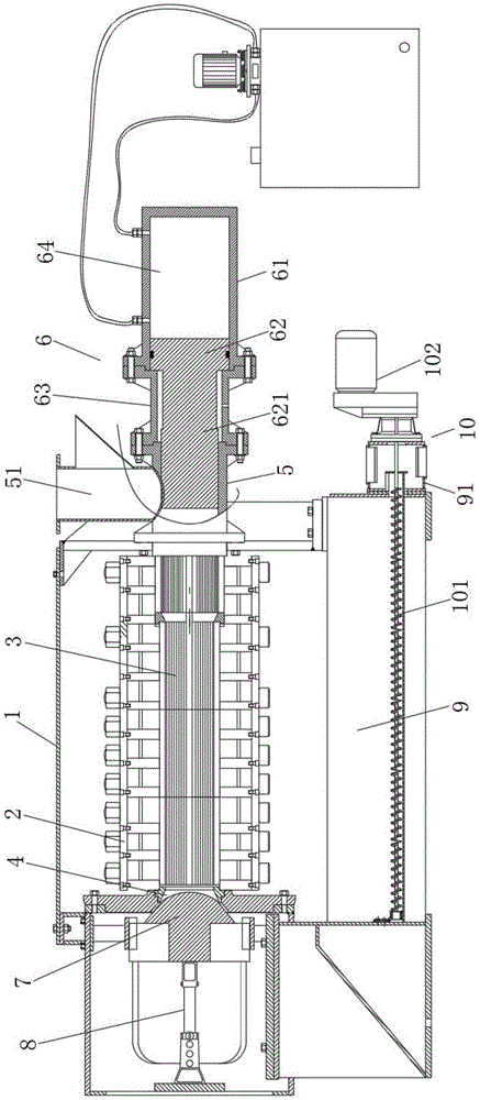
1. the device comprises a rack, 2, a squeezing cage, 3, a squeezing strip, 4, a slag discharge port, 5, a feeding channel, 6, a pushing and cold pressing mechanism, 7, a cake correcting head, 8, a driving mechanism, 9, an oil receiving groove, 10, an output mechanism, 51, a feeding port, 61, a cylinder body, 62, a hydraulic head, 63, a connecting sleeve, 64, an oil chamber, 91, an oil outlet box, 101, a screw rod, 102, a driving device, 621 and a pushing rod.
Detailed Description
The principles and features of the present invention are described below in conjunction with the following drawings, the examples given are only intended to illustrate the present invention and are not intended to limit the scope of the present invention.
Example (b): as shown in fig. 1, the walnut cold squeezer of the embodiment comprises a squeezing cage 2, wherein the squeezing cage 2 is horizontally installed on a frame 1, a plurality of squeezing strips 3 respectively extending to openings at two ends of the squeezing cage are installed on the inner wall of the squeezing cage 2 along the circumferential direction of the squeezing cage, the plurality of squeezing strips 3 are uniformly distributed at intervals along the circumferential direction of the squeezing cage 2, one ends of the plurality of squeezing strips 3 jointly form a feeding hole, and the other ends of the plurality of squeezing strips 3 are connected and communicated with a slag discharge hole 4; a feeding channel 5, wherein the feeding channel 5 is arranged on the frame 1 along the axial direction of the squeezing cage 2, one end of the feeding channel is connected and communicated with the feeding hole, and the upper part of the feeding channel is provided with a feeding hole 51; the pushing material cold pressing mechanism 6 is arranged at the other end of the feeding channel 5 and is used for pushing the material added by the feeding port 51 into the space among the plurality of the pressing strips 3 for extrusion; and the cake correcting head 7 is arranged at one end of the residue discharge port 4, which is far away from the squeezing cage 2, and is in transmission connection with a driving mechanism 8, and the driving mechanism 8 is used for driving the cake correcting head 7 to horizontally move along the axial direction of the squeezing cage 2 to be abutted against or separated from the residue discharge port 4.
The squeezing cage 2 is in a cylinder structure, a plurality of squeezing strips 3 form a cylinder structure, a slag discharge port 4 is a cylinder port which is matched with the other ends of the squeezing strips 3 and is coaxially arranged, a liquid level cylinder channel of a feeding channel 5 is coaxially arranged with the squeezing strips 3 to form the cylinder structure, and the inner diameter of the cylinder channel is equal, so that smooth feeding of raw materials is facilitated.
The working principle of the cold press is as follows:
the method comprises the steps of driving a cake correcting head 7 to move through a driving mechanism 8 according to raw materials to be pressed, adjusting the distance between the outer surface of the cake correcting head 7 and the inner wall of a slag discharging port 4 (namely the distance of an outlet area of oil slag) to ensure that the distance is smaller than the grain diameter of the raw materials, then starting a material pushing and cold pressing mechanism 6, adding nutlets or raw materials capable of pressing oil into a feeding channel 5 at a feeding port 51 (wherein the distance between two adjacent pressing strips 3 is adjusted according to the grain diameter of the raw materials to be pressed to ensure that the raw materials cannot fall from the space between the pressing strips 3), next, after adding the sequential raw materials, pushing the raw materials in the feeding channel 5 into an oil pressing area between the pressing strips 3 through the material pushing and cold pressing mechanism 6, repeating the operations for multiple times to enable the oil pressing area to be filled with the raw materials, and in the process, under the combined action of the material pushing and cold pressing mechanism 6 and the cake correcting, oil is mechanically extruded from raw materials in an oil extraction area, the raw materials drop downwards through the area between the oil extraction strips 3 and the vacant sites on the extraction cage 2, an operator can collect the oil below the extraction cage 2, the raw materials are intermittently added at a feeding port 51 in the whole process, meanwhile, oil residues are continuously extruded from the area between the outer surface of a cake correcting head 7 and the inner wall of a residue discharge port 4 (namely, an oil residue outlet area), the operator can collect fried cakes, the whole operation can realize continuous oil extraction, the mechanical cold extraction is adopted in the whole process, the extracted edible oil nutrient substances are not damaged, and the oil residues cakes can be conveniently recycled and deeply processed again, so that the oil residues can be fully utilized; the whole operation process has low labor intensity and no environmental pollution; the equipment is simple to use, convenient to maintain and high in oil pressing efficiency.
In a preferred embodiment, the reason why the compressed wood noodles 3 are made of ironwood is that: the pressing strip of the traditional oil press is formed by cold drawing 20# steel, is subjected to nitriding and quenching and tempering after being sawn into required length, the hardness and the wear resistance are increased, the pressing strip processed by the material cannot influence the quality of oil in the production of common vegetable oil, but can influence the content of trace metal elements in the oil in the high-end oil processing process to a certain extent, therefore, the pressing strip is made of iron-wood materials, does not contain metal and has higher wear resistance, the processing technology is simple, and the pure wood materials cannot pollute edible oil.
In a preferred embodiment, the other end of the squeezing cage 2 is provided with a seat fixed to the frame 1, and the seat is provided with the slag discharge passage horizontally penetrating the seat corresponding to the other end of the plurality of squeezing strips 3, and the slag discharge passage forms the slag discharge opening 4, and the design of the slag discharge opening 4 is such that the structure is relatively firm and the displacement change is not easily generated.
As a preferred embodiment, the longitudinal section of the slag discharge port 4 is a circle, the interface area of the slag discharge port is gradually increased from one end close to the plurality of squeezing strips 3 to the other end, and the gradual change design of the section size of the slag discharge port 4 is beneficial to good extrusion of oil slag, so that the daily blockage condition of the slag discharge port 4 can be improved.
As a preferred embodiment, one end of the cake correcting head 7 close to the residue discharge port 4 is provided with a spherical surface corresponding to the residue discharge port 4, the driving mechanism 8 is used for driving one end of the cake correcting head 7 provided with the spherical surface to horizontally move along the axial direction of the squeezing cage 2, extend into the residue discharge port 4 and abut against the inner wall of the residue discharge port 4, or move and retreat out of the residue discharge port 4, the spherical surface is smooth in design, when oil residue cakes are discharged from the area between the spherical surface and the residue discharge port 4, the oil residue cakes can well slide (be discharged) along the spherical surface, and the spherical surface is designed to enable the intervals of the annular area where the oil residue cakes are discharged to be equal, so that the oil residue cakes are better discharged and recovered.
As a preferred embodiment, the pushing material cold pressing mechanism 6 includes a cylinder 61 and a hydraulic head 62, the cylinder 61 is horizontally disposed, and one end of the cylinder is open, the open end of the cylinder 61 is connected and communicated with the other end of the feeding channel 5 through a coupling sleeve 63; the hydraulic head 62 is installed in the cylinder 61 and is connected with the inner wall of the cylinder 61 in a sealing manner, an oil chamber 64 is formed between the hydraulic head 62 and the closed end of the cylinder 61, an oil inlet and an oil return opening are respectively formed in the side wall of the oil chamber 64, and the oil inlet and the oil return opening are respectively connected and communicated with a hydraulic station through pipelines; a pushing rod 621 matched with the feeding channel 5 is arranged at one end of the hydraulic head 62, which is away from the oil chamber 64, the pushing rod 621 can horizontally move to two sides of the feeding port 51 along the feeding channel 5 under the hydraulic action, and in the operation process, the hydraulic station drives the hydraulic head 62 to axially move along the cylinder body 61 in a mode of injecting or recovering oil into the oil chamber 64, so that the pushing rod 621 is driven to continuously push the raw material entering the feeding channel 5 into the area between the pressing strips 3 and extrude the raw material, the purpose of continuous hydraulic operation is achieved, and the pushing pressure is adjustable; the moving stroke frequency of the hydraulic head 62 and the pushing rod 621 is adjustable, the use is simple, the maintenance is convenient, and the production efficiency is high; particularly, the material pushing and cold pressing mechanism 6 is matched with cold pressing of woody oil materials as the best choice, and the oil pressing effect is quite excellent.
As a preferred embodiment, the driving mechanism 8 is a hand jack, which is fixed on the frame 1, and the telescopic end of the hand jack horizontally faces the cake calibrating head 7, and is fixedly connected to the end of the cake calibrating head 7 away from the press cage 2, and the cake calibrating head 7 is driven to horizontally move by a shaking manner to achieve the purpose of adjusting the distance between the outer surface of the cake calibrating head 7 and the inner wall of the residue discharge opening 4 (i.e. the region of the residue discharge opening).
As a preferred embodiment, the device further comprises an oil receiving groove 9, wherein the oil receiving groove 9 is arranged below the squeezing cage 2, so that oil can be conveniently received and taken in the processing process, and the labor intensity of operators is reduced.
As a preferred embodiment, an oil outlet is arranged at the lower part of one end of the oil receiving tank 9, the oil receiving tank 9 is provided with an output mechanism 10 for conveying oil to the oil outlet, and the design can enable the relatively viscous oil in the oil receiving tank 9 to be smoothly discharged and collected through the oil outlet through the output mechanism 10, so that the difficulty of oil collection is reduced.
As a more preferable embodiment, the output mechanism 10 includes a screw rod 101 and a driving device 102, an oil outlet box 91 communicated with the oil outlet is disposed outside one end of the oil receiving tank 9, an oil outlet hole is disposed at the bottom of the oil outlet box 91, the screw rod 101 is horizontally disposed, one end of the screw rod 101 is rotatably connected to the lower portion of the other end inside the oil receiving tank 9, the other end of the screw rod passes through the oil outlet and the oil outlet box 91 in sequence, and straightens one end of the oil outlet box 91 away from the oil receiving tank 9, the driving device 102 is in transmission connection with the other end of the screw rod 101 for driving the screw rod 101 to rotate, during operation, the driving device 102 drives the screw rod 101 to rotate around the axis thereof, so as to push the oil inside the oil receiving tank 9 towards the oil outlet, the oil will continuously enter the oil outlet box 91 through the oil outlet hole and finally flow out through the oil outlet hole for collection, the design of the oil outlet box 91 is beneficial to the reasonable assembly of the driving device 102, ensures the good and stable use of the whole output mechanism 10, and achieves the purpose of smoothly discharging and collecting oil.
The driving device 102 is generally a combination of a motor and a reduction gearbox, an output shaft of the motor is in transmission connection with an input end of the reduction gearbox, an output end of the reduction gearbox is in transmission connection with the other end of the screw rod 101, and the rotating speed of the screw rod 101 can be adjusted through the reduction gearbox, so that the flow speed and the flow of oil discharged from the oil outlet are indirectly adjusted.
The following are specifically mentioned: the walnut cold press in this embodiment is not limited to the oil extraction production of walnut kernel, and any nut or large granule crop raw materials can all carry out the oil extraction production.
The above description is only for the preferred embodiment of the present invention, and is not intended to limit the present invention, and any modifications, equivalent replacements, improvements, etc. made within the spirit and principle of the present invention should be included within the protection scope of the present invention.

Claims (10)

1. The utility model provides a walnut cold press which characterized in that includes:
the squeezing cage (2) is horizontally arranged on the rack (1), a plurality of squeezing strips (3) extending to openings at two ends of the squeezing cage are arranged on the inner wall of the squeezing cage (2) along the circumferential direction of the squeezing cage, the squeezing strips (3) are uniformly distributed at intervals along the circumferential direction of the squeezing cage (2), one ends of the squeezing strips (3) jointly form a feeding hole, and the other ends of the squeezing strips are connected and communicated with a slag discharging hole (4);
the feeding channel (5) is arranged on the rack (1) along the axial direction of the squeezing cage (2), one end of the feeding channel (5) is connected and communicated with the feeding hole, and the upper part of the feeding channel is provided with a feeding hole (51);
the pushing material cold pressing mechanism (6) is arranged at the other end of the feeding channel (5) and is used for pushing the material added by the feeding port (51) into a plurality of squeezing strips (3) for extrusion;
the cake correcting head (7) is arranged at the position, away from the slag discharge port (4), of one end of the squeezing cage (2) and is in transmission connection with a driving mechanism (8), the driving mechanism (8) is used for driving the cake correcting head (7) to move horizontally in the axial direction of the squeezing cage (2) to abut against or separate from the slag discharge port (4).
2. The walnut cold press according to claim 1, characterized in that: the squeezing strips (3) are iron wood strips.
3. The walnut cold press according to claim 1, characterized in that: the other end of the squeezing cage (2) is provided with a base body fixed on the frame (1), the base body is provided with a slag discharge channel horizontally penetrating through the base body corresponding to the other ends of the squeezing strips (3), and the slag discharge channel forms the slag discharge port (4).
4. A walnut cold press according to claim 3, characterized in that: the longitudinal section of the slag discharge port (4) is round, and the interface area of the slag discharge port is gradually increased from one end close to the plurality of the squeezing strips (3) to the other end.
5. The walnut cold press according to claim 4, characterized in that: school cake head (7) are close to the one end of row's cinder notch (4) set up into with the sphere that row's cinder notch (4) correspond, actuating mechanism (8) are used for the drive school cake head (7) set up to the one end edge of sphere the axial horizontal migration of extraction cage (2) stretches into in row cinder notch (4) to offset with the inner wall of row cinder notch (4), or remove and withdraw to outside row cinder notch (4).
6. A walnut cold press according to any one of claims 1 to 5, characterized in that: the material pushing and cold pressing mechanism (6) comprises a cylinder body (61) and a hydraulic head (62), the cylinder body (61) is horizontally arranged, one end of the cylinder body is open, and the open end of the cylinder body (61) is connected and communicated with the other end of the feeding channel (5) through a connecting sleeve (63); the hydraulic head (62) is arranged in the cylinder body (61) and is hermetically connected with the inner wall of the cylinder body (61), an oil cavity (64) is formed between the hydraulic head (62) and the closed end of the cylinder body (61), an oil inlet and an oil return opening are respectively arranged on the side wall of the oil cavity (64), and the oil inlet and the oil return opening are respectively connected and communicated with a hydraulic station through pipelines; one end of the hydraulic head (62) departing from the oil chamber (64) is provided with a pushing rod (621) matched with the feeding channel (5), and the pushing rod (621) can horizontally move to two sides of the charging opening (51) along the feeding channel (5) under the hydraulic action.
7. A walnut cold press according to any one of claims 1 to 5, characterized in that: the driving mechanism (8) is a hand jack and is fixed on the rack (1), the telescopic end of the driving mechanism horizontally faces the cake correcting head (7), and one end of the cake correcting head (7) deviating from the pressing cage (2) is fixedly connected.
8. A walnut cold press according to any one of claims 1 to 5, characterized in that: the improved oil extraction device is characterized by further comprising an oil receiving groove (9), wherein the oil receiving groove (9) is formed in the lower portion of the squeezing cage (2).
9. The walnut cold press according to claim 8, characterized in that: an oil outlet is formed in the lower portion of one end of the oil receiving groove (9), and an output mechanism (10) used for conveying oil to the oil outlet is arranged on the oil receiving groove (9).
10. The walnut cold press according to claim 9, characterized in that: output mechanism (10) include hob (101) and drive arrangement (102), connect the one end outside of oil groove (9) be equipped with go out oil box (91) of oil-out intercommunication, the bottom of going out oil box (91) is equipped with the oil outlet, hob (101) level sets up, its one end with connect the inside other end lower part of oil groove (9) to rotate and connect, its other end passes in proper order the oil-out with go out oil box (91), and straighten go out oil box (91) deviate from connect the one end of oil groove (9), drive arrangement (102) with the other end transmission of hob (101) is connected, is used for the drive hob (101) rotate.
CN201920732863.6U 2019-05-21 2019-05-21 A walnut cold press Expired - Fee Related CN210525890U (en)

Priority Applications (1)

Application Number Priority Date Filing Date Title
CN201920732863.6U CN210525890U (en) 2019-05-21 2019-05-21 A walnut cold press

Applications Claiming Priority (1)

Application Number Priority Date Filing Date Title
CN201920732863.6U CN210525890U (en) 2019-05-21 2019-05-21 A walnut cold press

Publications (1)

Publication Number Publication Date
CN210525890U true CN210525890U (en) 2020-05-15

Family

ID=70593450

Family Applications (1)

Application Number Title Priority Date Filing Date
CN201920732863.6U Expired - Fee Related CN210525890U (en) 2019-05-21 2019-05-21 A walnut cold press

Country Status (1)

Country Link
CN (1) CN210525890U (en)

Cited By (1)

* Cited by examiner, † Cited by third party
Publication number Priority date Publication date Assignee Title
CN112873957A (en) * 2021-01-19 2021-06-01 金华职业技术学院 Oil pressing device free of shutdown and capable of achieving stepless adjustment of axial clearance

Cited By (1)

* Cited by examiner, † Cited by third party
Publication number Priority date Publication date Assignee Title
CN112873957A (en) * 2021-01-19 2021-06-01 金华职业技术学院 Oil pressing device free of shutdown and capable of achieving stepless adjustment of axial clearance

Similar Documents

Publication Publication Date Title
CN102774029A (en) Household two-level pressing low temperature oil press
CN210525890U (en) A walnut cold press
CN204764929U (en) Juice extractor with prevent that feeding is returned and move back function
CN111420752B (en) An integrated processing equipment for crushing and rolling of edible oil raw materials before pressing
CN109228480A (en) A kind of edible oil processing discharging device
CN206196817U (en) Crab meat squash type meat-taking machine
CN202623333U (en) Household secondary pressing low-temperature oil press
CN105266557A (en) Efficient automatic fruit juicer and juicing method thereof
CN108943804A (en) A kind of Oil press convenient for receiving oil slag
CN112873954B (en) Juicing device for food processing
CN114343196A (en) Orange juice apparatus for producing of removing skin from
CN106308438A (en) Domestic oil and juice squeezing machine
CN104397831A (en) Fruit and vegetable horizontal basket juicer
CN114471332B (en) A high-quality olive oil processing equipment
CN110126329A (en) A kind of walnut cold pressing expeller
CN102815009A (en) High oil plant loading double-helix oil press
CN111169076A (en) Synchronous rolling type oil press for extracting walnut oil
CN208068952U (en) A kind of edible oil oil expression robot being convenient to clean
CN116369537A (en) Industrial fruit juice extractor
CN219446226U (en) Edible oil squeezing and refining device
CN203236729U (en) Cleaning mechanism for medicinal plant trichosanthes kirilowii seed oil expelling device
CN219272286U (en) Anti-blocking filtering device for edible vegetable oil production
CN204317436U (en) A kind of sleeping basket juice extractor of fruits and vegetables
CN104664209A (en) Raw starch processing preprocessor
CN204509166U (en) The particle mechanism of novel fecula making machine

Legal Events

Date Code Title Description
GR01 Patent grant
GR01 Patent grant
CF01 Termination of patent right due to non-payment of annual fee
CF01 Termination of patent right due to non-payment of annual fee

Granted publication date: 20200515