CN210519685U - Watering ware is planted to oranges and tangerines - Google Patents

Watering ware is planted to oranges and tangerines Download PDF

Info

Publication number
CN210519685U
CN210519685U CN201921214633.7U CN201921214633U CN210519685U CN 210519685 U CN210519685 U CN 210519685U CN 201921214633 U CN201921214633 U CN 201921214633U CN 210519685 U CN210519685 U CN 210519685U
Authority
CN
China
Prior art keywords
watering
pipe
annular
truck
pipes
Prior art date
Legal status (The legal status is an assumption and is not a legal conclusion. Google has not performed a legal analysis and makes no representation as to the accuracy of the status listed.)
Expired - Fee Related
Application number
CN201921214633.7U
Other languages
Chinese (zh)
Inventor
王源
杨友婷
邱霞
熊博
周志扬
高逸飞
江欣瑶
韩燕�
邓丽丽
Current Assignee (The listed assignees may be inaccurate. Google has not performed a legal analysis and makes no representation or warranty as to the accuracy of the list.)
Sichuan Agricultural University
Original Assignee
Sichuan Agricultural University
Priority date (The priority date is an assumption and is not a legal conclusion. Google has not performed a legal analysis and makes no representation as to the accuracy of the date listed.)
Filing date
Publication date
Application filed by Sichuan Agricultural University filed Critical Sichuan Agricultural University
Priority to CN201921214633.7U priority Critical patent/CN210519685U/en
Application granted granted Critical
Publication of CN210519685U publication Critical patent/CN210519685U/en
Expired - Fee Related legal-status Critical Current
Anticipated expiration legal-status Critical

Links

Images

Classifications

    • YGENERAL TAGGING OF NEW TECHNOLOGICAL DEVELOPMENTS; GENERAL TAGGING OF CROSS-SECTIONAL TECHNOLOGIES SPANNING OVER SEVERAL SECTIONS OF THE IPC; TECHNICAL SUBJECTS COVERED BY FORMER USPC CROSS-REFERENCE ART COLLECTIONS [XRACs] AND DIGESTS
    • Y02TECHNOLOGIES OR APPLICATIONS FOR MITIGATION OR ADAPTATION AGAINST CLIMATE CHANGE
    • Y02ATECHNOLOGIES FOR ADAPTATION TO CLIMATE CHANGE
    • Y02A40/00Adaptation technologies in agriculture, forestry, livestock or agroalimentary production
    • Y02A40/10Adaptation technologies in agriculture, forestry, livestock or agroalimentary production in agriculture
    • Y02A40/22Improving land use; Improving water use or availability; Controlling erosion

Landscapes

  • Fertilizing (AREA)

Abstract

本实用新型公开了一种柑橘种植浇灌器,该浇灌器包括浇灌车和两个浇灌支管;所述浇灌车由上而下依次设有进料斗、拌合仓和水箱;所述浇灌车顶部设有进水阀,所述进水阀与水箱通过进水管连通;所述浇灌车顶部设有两个供浇灌支管连接的连接管,所述连接管上均设有电磁阀;所述浇灌支管的顶端均设有喷淋器,所述喷淋器包括环形出水管,所述环形出水管的底部均匀布置有多个喷淋头。本实用新型所提出的柑橘种植浇灌器操控简单,可实现同时对两个柑橘树的浇灌,且方便进行控制,提高浇灌的效果,交底了浇灌系统的铺设成本,节约了水资源。

Figure 201921214633

The utility model discloses a watering device for citrus planting. The watering device comprises a watering truck and two watering branch pipes; the watering truck is sequentially provided with a feeding hopper, a mixing bin and a water tank from top to bottom; A water inlet valve is provided, and the water inlet valve is communicated with the water tank through a water inlet pipe; the top of the watering truck is provided with two connecting pipes for connecting watering branch pipes, and electromagnetic valves are arranged on the connecting pipes; the watering branch pipes The top of the water outlet is provided with a sprinkler, and the sprinkler includes an annular water outlet pipe, and a plurality of sprinkler heads are evenly arranged at the bottom of the annular water outlet pipe. The citrus planting waterer provided by the utility model is easy to operate, can water two citrus trees at the same time, is convenient to control, improves the watering effect, clears the laying cost of the watering system, and saves water resources.

Figure 201921214633

Description

Watering ware is planted to oranges and tangerines
Technical Field
The utility model belongs to the technical field of fruit growing, concretely relates to watering ware is planted to oranges and tangerines.
Background
Citrus plants belonging to Rutaceae of Citrus prefer warm and humid climate, and have slightly stronger cold resistance than pomelo, lime and sweet orange; china is one of the important native areas of citrus, the citrus resources are rich, the excellent varieties are various, the cultivation history is more than 4000 years, and the citrus becomes a precious fruit for human beings through long-term cultivation and selection. The citrus fruit has rich nutrition, good color, flavor and taste, and rich vitamin C, carotene, anthocyanin and flavonoid, and has antioxidant and cardiovascular disease preventing effects. Because citrus trees have large requirements on water and fertilizers, the conventional fertilizer and water management technology for citrus adopts the traditional manual fertilizer and water application, so that the mode of applying fertilizer and supplying water is uneven, the workload is large, the efficiency is high, and the manpower is wasted; at present in the orchard, for the convenience of watering to oranges and tangerines, irrigation system has been built in the orchard, though this irrigation system realizes the automatic watering to a plurality of oranges and tangerines, construction cost is higher, and can't control the watering process, also can't reach the purpose of fertiliziing, has reduced the effect of fertilization and watering, has wasted the water resource.
SUMMERY OF THE UTILITY MODEL
Not enough to prior art, the utility model aims to provide an watering ware is planted to oranges and tangerines, this watering ware passes through artificial simple and easy control, can realize simultaneously the watering to two citrus trees, and conveniently controls, improves the effect of watering, has handed over the cost of laying of end irrigation system, has practiced thrift the water resource.
In order to achieve the above purpose, the utility model adopts the technical scheme that:
a citrus planting irrigator comprises an irrigator and two irrigation branch pipes, wherein the end parts of the two irrigation branch pipes are respectively and movably fixed on the irrigator, and the directions of the two irrigation branch pipes are opposite;
the irrigation vehicle is sequentially provided with a feed hopper, a mixing bin and a water tank from top to bottom, the feed hopper is positioned at the top of the irrigation vehicle and inside the mixing bin and the water tank, the bottom of the feed hopper is communicated with the mixing bin, the bottom of the mixing bin is provided with a feed inlet communicated with the water tank, and a stirring mechanism for mixing fertilizers is arranged inside the mixing bin; a water inlet valve is arranged at the top of the watering cart and is communicated with the water tank through a water inlet pipe; the top of the watering cart is provided with two connecting pipes for connecting the watering branch pipes, and the connecting pipes are provided with electromagnetic valves; the lower ends of the connecting pipes extend into the water tank, the lower ends of the two connecting pipes are connected with a water pumping pipe through a three-way connector, and a submersible pump is arranged at the position of the water pumping pipe;
the top of watering branch pipe all is equipped with the shower, the shower includes annular outlet pipe, a plurality of shower heads have evenly been arranged to the bottom of annular outlet pipe, the shower head is by annular outlet pipe center towards the outside downward sloping of annular outlet pipe.
Further, for the convenience of fixing the watering branch pipe, the watering cart top is equipped with the fixed slot that is used for fixed watering branch pipe, the fixed slot has two and distributes and be located the outer wall of connecting pipe, the fixed slot outer wall is equipped with a plurality of spacing grooves that are used for carrying on spacingly to watering branch pipe.
Further, in order to stabilize the connection between the irrigation branch pipe and the connecting pipe, an annular connector which is embedded into the fixing groove and is fixed is arranged at the bottom end of the irrigation branch pipe, the thickness of the annular connector is smaller than that of the connecting pipe, and a limiting body which is embedded into the limiting groove and is fixed is arranged on the outer wall of the annular connector.
Further, in order to guarantee the leakproofness that watering branch pipe and connecting pipe are connected, the fixed slot bottom is equipped with first gasket with annular connector bottom junction, watering branch pipe bottom is equipped with the second gasket with connecting pipe top junction, annular connector inner wall is equipped with third annular gasket with connecting pipe outer wall contact department.
Furthermore, a feeding electromagnetic valve is arranged at the feeding port, after the fertilizer is stirred in the mixing bin, the feeding electromagnetic valve is opened, and the fertilizer enters the water tank from the feeding port.
Furthermore, in order to facilitate the movement of the irrigator, four moving wheels are arranged at the bottom of the side wall of the irrigator.
Furthermore, in order to facilitate the plant-growing staff to push the watering cart to move forward, a handle for pushing the watering cart to move is arranged on the outer side of the watering cart.
Further, in order to facilitate the placing of agricultural tools and improve the convenience for citrus management, both sides of the watering cart are provided with tool boxes for placing agricultural tools.
Further, rabbling mechanism includes (mixing) shaft, stirring leaf and driving motor, driving motor is located watering car inside and is located the outside in mix storehouse, driving motor's drive shaft links to each other with the (mixing) shaft, (mixing) shaft one end links to each other with the drive shaft, and the other end passes through the bearing to be fixed at mix storehouse lateral wall, the stirring leaf has a plurality ofly and evenly arranges at the (mixing) shaft outer wall.
Furthermore, the side wall of the watering cart is provided with a control panel for controlling a driving motor, an electromagnetic valve and the like.
The utility model has the advantages that:
(1) the citrus planting irrigator provided by the utility model can irrigate citrus trees on both sides of a road simultaneously, irrigation or fertilization can be performed on each citrus tree in sequence by moving the irrigator, fertilization and irrigation of each citrus in a citrus tree orchard are realized, the operation is simple and convenient, manpower resources are saved, and the laying cost of an irrigation system is also saved; by controlling the irrigator, fertilizer or water can be prevented from irrigating to other places except the oranges, and the waste of the fertilizer and water resources is reduced;
(2) the irrigation branch pipe on the citrus planting irrigator provided by the utility model can be disassembled, is convenient to store, and reduces the occupation of space when not in use; moreover, the irrigation branch pipes with proper lengths can be selected for irrigation according to the height of the citrus trees to be irrigated or the specific object to be irrigated, so that the irrigation effect is ensured;
(3) meanwhile, agricultural tools are placed in the tool boxes on the two sides of the irrigator, so that the convenience of workers is greatly improved.
Drawings
Fig. 1 is a front view of the present invention;
fig. 2 is a side view of the present invention;
fig. 3 is a top view of the present invention;
fig. 4 is a cross-sectional view of the present invention;
FIG. 5 is a partial schematic view of the annular connector of the irrigation manifold of the present invention;
FIG. 6 is a partial schematic view of the annular outlet pipe of the central irrigation branch pipe according to the present invention;
fig. 7 is a schematic view of the connecting pipe of the present invention;
fig. 8 is a top view of the middle connection pipe of the present invention.
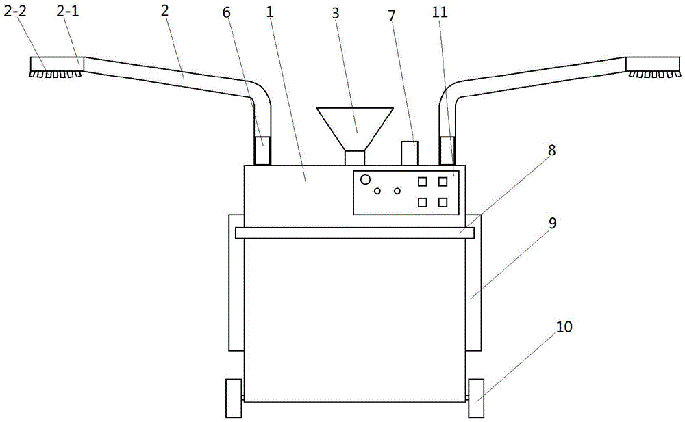
In the figure: 1. an irrigation vehicle; 2. irrigating branch pipes; 2-1, an annular water outlet pipe; 2-2, a spray header; 3. a feed hopper; 4. a mixing bin; 4-1, a stirring shaft; 4-2, stirring leaves; 4-3, driving a motor; 5. a water tank; 5-1, a feeding electromagnetic valve; 6. a connecting pipe; 6-1, fixing grooves; 6-2, limiting grooves; 7. a water inlet valve; 8. a handle; 9. a tool box; 10. a moving wheel; 11. a control panel; 12. a water pumping pipe; 13. a submersible pump; 14. an annular connector; 14-1 and a limiting body.
Detailed Description
In order to make the objects, technical solutions and advantages of the present invention clearer, the present invention will be further explained with reference to the accompanying drawings.
In the embodiment, as shown in fig. 1-8, the watering device for citrus planting comprises a watering cart 1 and two watering branches 2, wherein the ends of the two watering branches 2 are respectively and movably fixed on the watering cart 1, and the two watering branches 2 are oppositely oriented;
watering cart 1 is sequentially provided with a feed hopper 3, a mixing bin 4 and a water tank 5 from top to bottom, wherein the feed hopper 3 is positioned at the top of watering cart 1, the mixing bin 4 and the water tank 5 are arranged inside watering cart 1, the bottom of the feed hopper 3 is communicated with the mixing bin 4, the bottom of the mixing bin 4 is provided with a feed inlet communicated with the water tank 5, the feed inlet is provided with a feed electromagnetic valve 5-1, after fertilizer is stirred in the mixing bin 4, the feed electromagnetic valve 5-1 is opened, the fertilizer enters the water tank 5 from the feed inlet, a stirring mechanism for mixing the fertilizer is arranged inside the mixing bin 4 and comprises a stirring shaft 4-1, a stirring blade 4-2 and a driving motor 4-3, the driving motor 4-3 is positioned inside watering cart 1 and outside the mixing bin 4, and the driving shaft of the driving motor 4-3 is connected with the stirring shaft 4-1, one end of the stirring shaft 4-1 is connected with the driving shaft, the other end of the stirring shaft is fixed on the side wall of the mixing bin 4 through a bearing, and a plurality of stirring blades 4-2 are uniformly arranged on the outer wall of the stirring shaft 4-1; a water inlet valve 7 is arranged at the top of the watering cart 1, and the water inlet valve 7 is communicated with the water tank 5 through a water inlet pipe; the top of the watering cart 1 is provided with two connecting pipes 6 for connecting the watering branch pipes 2, and the connecting pipes 6 are provided with electromagnetic valves; the lower ends of the connecting pipes 6 extend into the water tank 5, the lower ends of the two connecting pipes 6 are connected with a water pumping pipe 12 through a three-way connector, and a submersible pump 13 is arranged at the position of the water pumping pipe 12;
the top ends of the irrigation branch pipes 2 are respectively provided with a sprayer, each sprayer comprises an annular water outlet pipe 2-1, a plurality of spray headers 2-2 are uniformly arranged at the bottom of each annular water outlet pipe 2-1, and the spray headers 2-2 are all downwards inclined towards the outside of the annular water outlet pipe 2-1 from the center of the annular water outlet pipe; in order to fix the irrigation branch pipe 2 conveniently, the top of the irrigation trolley 1 is provided with two fixing grooves 6-1 for fixing the irrigation branch pipe 2, the two fixing grooves 6-1 are distributed on the outer wall of the connecting pipe 6, and the outer wall of each fixing groove 6-1 is provided with a plurality of limiting grooves 6-2 for limiting the irrigation branch pipe 2; in order to ensure that the irrigation branch pipe 2 is stably connected with the connecting pipe 6, an annular connecting body 14 which is embedded into a fixing groove 6-1 for fixing is arranged at the bottom end of the irrigation branch pipe 2, the thickness of the annular connecting body 14 is smaller than that of the connecting pipe 6, and a limiting body 14-1 which is embedded into a limiting groove 6-2 for fixing is arranged on the outer wall of the annular connecting body 14; in order to ensure the connection tightness of the irrigation branch pipe 2 and the connecting pipe 6, a first sealing sheet is arranged at the joint of the bottom of the fixing groove 6-1 and the bottom of the annular connecting body 14, a second sealing sheet is arranged at the joint of the bottom of the irrigation branch pipe 2 and the top of the connecting pipe 6, and a third annular sealing sheet is arranged at the contact position of the inner wall of the annular connecting body 14 and the outer wall of the connecting pipe 6;
in order to facilitate the movement of the irrigator, the bottom of the side wall of the irrigator 1 is provided with four moving wheels 10, in order to facilitate the grower to push the irrigator 1 to move forward, the outer side of the irrigator 1 is provided with a handle 8 for pushing the irrigator 1 to move; in order to facilitate the placement of agricultural tools and improve the convenience of citrus management, tool boxes 9 for placing agricultural tools are arranged on two sides of the watering cart 1; and a control panel 11 for controlling the driving motors 4-3, the electromagnetic valves and the like is arranged on the side wall of the watering cart 1.
The utility model discloses when specifically using, at first adding water through water intaking valve 7 toward water tank 5, then add fertilizer through feeder hopper 3 toward mixing in the storehouse 4, open driving motor 4-3, (mixing) shaft 4-1 drives stirring leaf 4-2 and stirs fertilizer, guarantees the homogeneous mixing of fertilizer, opens feeding solenoid valve 5-1, and fertilizer gets into and mixes in the aquatic in water tank 5. Selecting a proper irrigation branch pipe 2 according to the height of the citrus, fixing the irrigation branch pipe 2 at the connecting pipe 6, embedding an annular connecting body 14 at the bottom end of the irrigation branch pipe 2 into a fixing groove 6-1 in the outer wall of the connecting pipe 6, embedding a limiting body 14-1 in the outer wall of the annular connecting body 14 into a limiting groove 6-2, and pushing an irrigation vehicle 1 to irrigate after the two irrigation branch pipes 2 are fixed; when irrigation is carried out, the handle 8 is pushed by hand, the irrigation vehicle 1 is driven by the moving wheel 10 to move, the submersible pump 13 is controlled by the control panel 11, water is pumped from the water tank 5, enters the irrigation branch pipe 2 through the connecting pipe 6 and is finally sprayed out from the spray header 2-2.
The basic principles and the main features of the invention and the advantages of the invention have been shown and described above. It will be understood by those skilled in the art that the present invention is not limited to the above embodiments, and that the foregoing embodiments and descriptions are provided only to illustrate the principles of the present invention without departing from the spirit and scope of the present invention. The scope of the invention is defined by the appended claims and equivalents thereof.

Claims (10)

1.一种柑橘种植浇灌器,其特征在于:该浇灌器包括浇灌车(1)和两个浇灌支管(2),两个浇灌支管(2)的端部分别活动固定在浇灌车(1)上且两个浇灌支管(2)的朝向相反;1. A watering device for citrus planting, characterized in that: the watering device comprises a watering vehicle (1) and two watering branch pipes (2), and the ends of the two watering branch pipes (2) are movably fixed on the watering vehicle (1) respectively. and the orientation of the two irrigation branch pipes (2) is opposite; 所述浇灌车(1)由上而下依次设有进料斗(3)、拌合仓(4)和水箱(5),所述进料斗(3)位于浇灌车(1)的顶部,拌合仓(4)和水箱(5)内部浇灌车(1)的内部,所述进料斗(3)的底部与拌合仓(4)连通,拌合仓(4)底部设有与水箱(5)连通的进料口,所述拌合仓(4)内部设有对肥料进行拌合的搅拌机构;所述浇灌车(1)顶部设有进水阀(7),所述进水阀(7)与水箱(5)通过进水管连通;所述浇灌车(1)顶部设有两个供浇灌支管(2)连接的连接管(6),所述连接管(6)上均设有电磁阀;所述连接管(6)的下端均延伸至水箱(5)内部,且两个连接管(6)的下端通过三通连接头与抽水管(12)相连,所述抽水管(12)处设有潜水泵(13);The watering truck (1) is sequentially provided with a feeding hopper (3), a mixing bin (4) and a water tank (5) from top to bottom, and the feeding hopper (3) is located on the top of the watering truck (1), The inside of the mixing bin (4) and the water tank (5) is poured into the interior of the truck (1), the bottom of the feeding hopper (3) is communicated with the mixing bin (4), and the bottom of the mixing bin (4) is provided with a (5) A connected feeding port, a stirring mechanism for mixing fertilizers is arranged inside the mixing bin (4); a water inlet valve (7) is provided on the top of the watering truck (1), and the water inlet The valve (7) is communicated with the water tank (5) through the water inlet pipe; the top of the watering truck (1) is provided with two connecting pipes (6) for connecting the watering branch pipes (2), and the connecting pipes (6) are both provided with There is a solenoid valve; the lower ends of the connecting pipes (6) all extend to the inside of the water tank (5), and the lower ends of the two connecting pipes (6) are connected with the suction pipe (12) through a three-way connector, and the suction pipes ( 12) is provided with a submersible pump (13); 所述浇灌支管(2)的顶端均设有喷淋器,所述喷淋器包括环形出水管(2-1),所述环形出水管(2-1)的底部均匀布置有多个喷淋头(2-2),所述喷淋头(2-2)均由环形出水管(2-1)中心朝环形出水管(2-1)外部向下倾斜。The tops of the irrigation branch pipes (2) are all provided with sprinklers, the sprinklers include annular water outlet pipes (2-1), and a plurality of sprinklers are evenly arranged at the bottom of the annular water outlet pipes (2-1). The shower head (2-2) is inclined downward from the center of the annular water outlet pipe (2-1) toward the outside of the annular water outlet pipe (2-1). 2.根据权利要求1所述的柑橘种植浇灌器,其特征在于:所述浇灌车(1)顶部设有用于固定浇灌支管(2)的固定槽(6-1),所述固定槽(6-1)有两个且分布位于连接管(6)的外壁,所述固定槽(6-1)外壁设有多个用于对浇灌支管(2)进行限位的限位槽(6-2)。2. The citrus planting waterer according to claim 1, characterized in that: the top of the watering truck (1) is provided with a fixing groove (6-1) for fixing the watering branch pipe (2), and the fixing groove (6) -1) There are two and are distributed on the outer wall of the connecting pipe (6), the outer wall of the fixing groove (6-1) is provided with a plurality of limiting grooves (6-2) for limiting the position of the irrigation branch pipe (2). ). 3.根据权利要求2所述的柑橘种植浇灌器,其特征在于:所述浇灌支管(2)的底端设有嵌入固定槽(6-1)中进行固定的环形连接体(14),所述环形连接体(14)的厚度小于连接管(6)的厚度,所述环形连接体(14)的外壁设有嵌入限位槽(6-2)进行固定的限位体(14-1)。3. The citrus planting waterer according to claim 2, characterized in that: the bottom end of the watering branch pipe (2) is provided with an annular connector (14) embedded in the fixing groove (6-1) for fixing, so The thickness of the annular connecting body (14) is smaller than the thickness of the connecting pipe (6), and the outer wall of the annular connecting body (14) is provided with a limiting body (14-1) embedded in the limiting groove (6-2) for fixing . 4.根据权利要求3所述的柑橘种植浇灌器,其特征在于:所述固定槽(6-1)底部与环形连接体(14)底部连接处设有第一密封片,所述浇灌支管(2)底部与连接管(6)顶部连接处设有第二密封片,所述环形连接体(14)内壁与连接管(6)外壁接触处设有第三环形密封片。4. The citrus planting waterer according to claim 3, characterized in that: a first sealing sheet is provided at the junction between the bottom of the fixing groove (6-1) and the bottom of the annular connecting body (14), and the watering branch pipe ( 2) A second sealing sheet is provided at the connection between the bottom and the top of the connecting pipe (6), and a third annular sealing sheet is provided at the contact between the inner wall of the annular connecting body (14) and the outer wall of the connecting pipe (6). 5.根据权利要求2-4任一项所述的柑橘种植浇灌器,其特征在于:所述进料口处设有进料电磁阀(5-1)。5. The citrus planting waterer according to any one of claims 2-4, characterized in that: a feeding solenoid valve (5-1) is provided at the feeding port. 6.根据权利要求5所述的柑橘种植浇灌器,其特征在于:所述浇灌车(1)的侧壁底部设有四个移动轮(10)。6. The citrus planting waterer according to claim 5, characterized in that: the bottom of the side wall of the watering truck (1) is provided with four moving wheels (10). 7.根据权利要求6所述的柑橘种植浇灌器,其特征在于:所述浇灌车(1)外侧设有用于推动该浇灌车(1)行走的把手(8)。7. The citrus planting waterer according to claim 6, characterized in that: the outside of the watering truck (1) is provided with a handle (8) for pushing the watering truck (1) to walk. 8.根据权利要求7所述的柑橘种植浇灌器,其特征在于:所述浇灌车(1)两侧均设有用于放置农用工具的工具箱(9)。8. The citrus planting waterer according to claim 7, characterized in that: tool boxes (9) for placing agricultural tools are provided on both sides of the watering truck (1). 9.根据权利要求8所述的柑橘种植浇灌器,其特征在于:所述搅拌机构包括搅拌轴(4-1)、搅拌叶(4-2)和驱动电机(4-3),所述驱动电机(4-3)位于浇灌车(1)内部且位于拌合仓(4)的外部,所述驱动电机(4-3)的驱动轴与搅拌轴(4-1)相连,所述搅拌轴(4-1)一端与驱动轴相连,另一端通过轴承固定在拌合仓(4)侧壁,所述搅拌叶(4-2)有多个且均匀布置在搅拌轴(4-1)外壁。9. The citrus planting waterer according to claim 8, wherein the stirring mechanism comprises a stirring shaft (4-1), a stirring blade (4-2) and a driving motor (4-3), and the driving The motor (4-3) is located inside the watering vehicle (1) and is located outside the mixing bin (4), and the drive shaft of the drive motor (4-3) is connected with the stirring shaft (4-1), the stirring shaft (4-1) One end is connected to the drive shaft, and the other end is fixed to the side wall of the mixing bin (4) through a bearing, and the mixing blades (4-2) are multiple and evenly arranged on the outer wall of the mixing shaft (4-1). . 10.根据权利要求9所述的柑橘种植浇灌器,其特征在于:所述浇灌车(1)侧壁设有用于对驱动电机(4-3)、电磁阀等进行控制的控制面板(11)。10. The citrus planting waterer according to claim 9, characterized in that: the side wall of the watering truck (1) is provided with a control panel (11) for controlling the driving motor (4-3), the solenoid valve, etc. .
CN201921214633.7U 2019-07-30 2019-07-30 Watering ware is planted to oranges and tangerines Expired - Fee Related CN210519685U (en)

Priority Applications (1)

Application Number Priority Date Filing Date Title
CN201921214633.7U CN210519685U (en) 2019-07-30 2019-07-30 Watering ware is planted to oranges and tangerines

Applications Claiming Priority (1)

Application Number Priority Date Filing Date Title
CN201921214633.7U CN210519685U (en) 2019-07-30 2019-07-30 Watering ware is planted to oranges and tangerines

Publications (1)

Publication Number Publication Date
CN210519685U true CN210519685U (en) 2020-05-15

Family

ID=70599822

Family Applications (1)

Application Number Title Priority Date Filing Date
CN201921214633.7U Expired - Fee Related CN210519685U (en) 2019-07-30 2019-07-30 Watering ware is planted to oranges and tangerines

Country Status (1)

Country Link
CN (1) CN210519685U (en)

Cited By (1)

* Cited by examiner, † Cited by third party
Publication number Priority date Publication date Assignee Title
CN114600691A (en) * 2022-03-11 2022-06-10 广西壮族自治区亚热带作物研究所(广西亚热带农产品加工研究所) Method for simultaneously preventing and treating citrus huanglongbing and canker

Cited By (1)

* Cited by examiner, † Cited by third party
Publication number Priority date Publication date Assignee Title
CN114600691A (en) * 2022-03-11 2022-06-10 广西壮族自治区亚热带作物研究所(广西亚热带农产品加工研究所) Method for simultaneously preventing and treating citrus huanglongbing and canker

Similar Documents

Publication Publication Date Title
CN210519685U (en) Watering ware is planted to oranges and tangerines
CN213044195U (en) Water and fertilizer integrated irrigation system suitable for greenhouse
CN208080019U (en) A kind of greenhouse with automation control
CN216438138U (en) Agricultural greenhouse watering device
CN221178784U (en) Automatic fertilizer injection unit of green house
CN112616813A (en) Agricultural pesticide and liquid fertilizer spraying device
CN219894127U (en) Water-saving drip irrigation device beneficial to planting of Chinese herbal medicines in sloping fields
CN208370544U (en) A kind of irrigation system in forest growing and cultivation
CN207692814U (en) A kind of pesticide automatic sprinkler system for greenhouse
CN202232141U (en) Greenhouse rail fertilizer and pesticide applicator
CN215957156U (en) Agricultural water-saving irrigation fertilizer injection unit
CN215819564U (en) Intelligent water-saving water-fertilizer-pesticide integrated irrigation device for oranges
CN212232153U (en) Tea garden fertilizer distributor
CN210869024U (en) Energy-concerving and environment-protective type green house irrigation equipment
CN109169593B (en) Pesticide sprinkler for vegetable greenhouse
CN218680499U (en) Greenhouse planting is with driping irrigation device
CN208691945U (en) It is a kind of to be automatically used for hillside orchard irrigation rig
CN221829474U (en) Fertilizer device for vegetable planting
CN214902398U (en) Ecological farming's of wisdom multi-functional frame
CN216163400U (en) A liquid manure medicine integrated device for momordica grosvenori is planted
CN112369148A (en) Soil loosening and irrigating device
CN215011614U (en) A fertilization sprinkling irrigation ware of giving medicine to poor free of charge for herbivorous large-scale production
CN213755933U (en) An agricultural intelligent IoT management device
CN216292164U (en) Water and fertilizer integrated sprinkling irrigation system for bletilla striata planting
CN210537448U (en) System with green water manure, pesticide spraying function of planting

Legal Events

Date Code Title Description
GR01 Patent grant
GR01 Patent grant
CF01 Termination of patent right due to non-payment of annual fee

Granted publication date: 20200515

Termination date: 20210730

CF01 Termination of patent right due to non-payment of annual fee