CN210491583U - Paddy field intertillage weeder - Google Patents

Paddy field intertillage weeder Download PDF

Info

Publication number
CN210491583U
CN210491583U CN201921081269.1U CN201921081269U CN210491583U CN 210491583 U CN210491583 U CN 210491583U CN 201921081269 U CN201921081269 U CN 201921081269U CN 210491583 U CN210491583 U CN 210491583U
Authority
CN
China
Prior art keywords
weeding
wheel
walking
plate
paddy field
Prior art date
Legal status (The legal status is an assumption and is not a legal conclusion. Google has not performed a legal analysis and makes no representation as to the accuracy of the status listed.)
Expired - Fee Related
Application number
CN201921081269.1U
Other languages
Chinese (zh)
Inventor
田亮
曹成茂
陈威
彭美乐
米占喜
缪保玉
王成武
Current Assignee (The listed assignees may be inaccurate. Google has not performed a legal analysis and makes no representation or warranty as to the accuracy of the list.)
Anhui Agricultural University AHAU
Original Assignee
Anhui Agricultural University AHAU
Priority date (The priority date is an assumption and is not a legal conclusion. Google has not performed a legal analysis and makes no representation as to the accuracy of the date listed.)
Filing date
Publication date
Application filed by Anhui Agricultural University AHAU filed Critical Anhui Agricultural University AHAU
Priority to CN201921081269.1U priority Critical patent/CN210491583U/en
Application granted granted Critical
Publication of CN210491583U publication Critical patent/CN210491583U/en
Expired - Fee Related legal-status Critical Current
Anticipated expiration legal-status Critical

Links

Images

Landscapes

  • Soil Working Implements (AREA)

Abstract

本实用新型公开了一种水田中耕除草机,包括机架、行走装置、限深装置、除草装置和除草深度调节控制装置,所述机架的末端设有汽油机,所述机架中部的下方设有液压缸,所述液压缸和除草装置固定连接,所述汽油机的上方设有方向盘,所述方向盘的一侧设有行走调节手柄,所述限深装置包括防缠刀和限深板,所述限深装置设在除草装置前端的下方,所述除草装置设在机架前端的下方,所述除草装置后方装有刮板,所述除草深度调节控制装置设在除草装置的内部。该水田中耕除草机,能够同时除去水田株间和行间杂草,作业性能稳定,实现了水田除草机械化、智能化,减少了环境污染,提高了作业效率,降低了劳动强度。

Figure 201921081269

The utility model discloses a paddy field cultivator weeding machine, comprising a frame, a traveling device, a depth limiting device, a weeding device and a weeding depth adjustment control device. A gasoline engine is arranged at the end of the frame, and a lower part of the middle of the frame is arranged There is a hydraulic cylinder, the hydraulic cylinder is fixedly connected with the weeding device, a steering wheel is arranged above the gasoline engine, and a walking adjustment handle is arranged on one side of the steering wheel, and the depth limiting device includes an anti-winding knife and a depth limiting plate. The depth limiting device is arranged below the front end of the weeding device, the weeding device is arranged below the front end of the frame, a scraper is installed behind the weeding device, and the weeding depth adjustment control device is arranged inside the weeding device. The paddy field cultivator weeding machine can simultaneously remove weeds between plants and rows of paddy fields, has stable operation performance, realizes mechanization and intelligence of weeding in paddy fields, reduces environmental pollution, improves operation efficiency, and reduces labor intensity.

Figure 201921081269

Description

Paddy field intertillage weeder
Technical Field
The utility model relates to the technical field of agricultural machinery, especially, relate to a paddy field intertillage weeder.
Background
Farmland weeds have been one of the major disasters in agricultural production. Weeds compete with crops for resources such as water, nutrients, space, sunlight and the like, and have the advantages that the crops do not have, so that the survival and growth of the crops are seriously damaged, the crops are seriously reduced in yield, the harm caused in agricultural production is large and wide, and the crop yield loss caused by the weeds in China is nearly billions of kilograms.
Mechanical weeding is a key production technology in agricultural sustainable development. The weeding machine can regularly weed by utilizing various measures such as plowing, raking, intertillage soil loosening and the like, loosen soil in seedling zones, reduce water evaporation, and ensure complete grass, full seedlings, clean land and small soil. Compared with artificial weeding, mechanical weeding is more time-saving and labor-saving, has low cost, is more environment-friendly than chemical weeding, and becomes an important technical means for controlling the growth of weeds in agricultural production.
In order to realize the mechanized weeding in paddy field, the utility model discloses a paddy field intertillage weeder is the power supply of weeder complete machine by the gasoline engine, and running gear is by gasoline engine transmission power, and the walking of drive intertillage weeder to for weeding device provides power, turn to about steering wheel control running gear, weeding operation between the weeding device row, trunk, limit dark device and the degree of depth adjusting device restriction of weeding and the degree of depth of burying of adjusting weeding device.
SUMMERY OF THE UTILITY MODEL
An object of the utility model is to provide a paddy field intertillage weeder to solve artifical weeding work inefficiency, intensity of labour is big, the problem of chemical weeding polluted environment.
In order to achieve the above object, the utility model provides a following technical scheme: a paddy field intertillage weeding machine comprises a frame, a walking device, a depth limiting device, a weeding device and a weeding depth adjusting and controlling device, wherein a gasoline engine is arranged at the tail end of the frame, a hydraulic cylinder is arranged below the middle part of the frame, a power supply is arranged below the front end of the frame, the hydraulic cylinder is fixedly connected with the weeding device, a seat is arranged on one side of the gasoline engine, a steering wheel is arranged above the gasoline engine, a walking adjusting handle is arranged on the right side of the steering wheel, a gearbox is arranged below the walking adjusting handle, the walking device comprises a walking rear wheel and a walking front wheel, the depth limiting device comprises an anti-winding cutter and a depth limiting plate, the depth limiting device is arranged below the front end of the weeding device, the weeding device is arranged below the front end of the frame, a scraper is arranged behind the weeding device, and walking supporting wheels are arranged on two sides of the weeding, the walking supporting wheel comprises a supporting wheel, a supporting seat and a supporting rod, and the weeding depth adjusting and controlling device is arranged in the weeding device.
Preferably, a walking rear wheel transmission shaft of the walking device is meshed with an output shaft of the gasoline engine, and the steering wheel is meshed with a steering shaft of the walking device.
Preferably, the weeding device comprises an inter-row weeding device and an inter-plant weeding device, the inter-row weeding device is connected with the square shaft in an engaged mode, and the inter-plant weeding device is connected with the round shaft in an engaged mode.
Preferably, the two depth limiting devices are arranged, and the two depth limiting devices are respectively arranged on two sides of the bottom of the weeding device.
Preferably, weeding degree of depth adjusting control device is including adjusting pole, regulating plate, adjustment handle, calibrated scale, extension board one, extension board two, extension board three and curb plate, and adjustment handle is connected to regulating plate one end, and the other end links to each other with adjusting the pole, adjusts the pole and links to each other with extension board one, and extension board one both ends link to each other with extension board two and extension board three respectively, and the centre links to each other with adjusting the pole, and the curb plate is connected to extension board three, and the curb plate links to each other with.
Preferably, the interpass weeding device uses the weeding wheel as the weeding unit, the weeding wheel comprises weeding rake teeth, a weeding wheel disc, a fixed seat and a sleeve, the weeding rake teeth are circumferentially staggered along the weeding wheel and are arranged on the fixed seat, the fixed seat is fixed on the weeding wheel disc, and the sleeve penetrates through the weeding wheel disc and is fixed on the side plates on two sides.
Preferably, the inter-plant weeding device takes weeding teeth as weeding units and comprises elastic teeth, a fixing plate, a rotating wheel and a rotor, wherein the rotor and the elastic teeth are arranged on the fixing plate, the rotating wheel is fixed on a transmission shaft, and a spiral chute is formed in the middle of the rotating wheel.
Preferably, the walking wheels of the walking device are narrow rubber wheels with anti-skidding teeth, the diameter of the walking front wheel is 680mm, the width of the walking front wheel is 46mm, the diameter of the walking rear wheel is 900mm, and the width of the walking rear wheel is 125 mm.
The utility model discloses a technological effect and advantage: 1. the weeding device is provided with inter-row and inter-plant weeding systems, and the weeding machine can remove weeds between rows and between plants of the paddy field simultaneously during working, so that the working efficiency is improved, and the labor force is saved;
2. the inter-row weeding unit of the weeding device is a weeding wheel, and when the weeding device works, the weeding harrow teeth rotate around the weeding wheel disc to bring paddy field weeds out of the water surface or press the weeds into soil, so that the paddy field soil is stirred while the weeds in the paddy field are removed, and the intertillage weeding operation is synchronously completed;
3. the walking wheel of the walking device adopts the narrow wheel with the anti-skidding teeth, so that the phenomena of crushing seedling roots and skidding are reduced when the paddy field walks.
Drawings
Fig. 1 is a front view of the present invention;
fig. 2 is a side view of the present invention;
fig. 3 is a top view of the present invention;
FIG. 4 is a schematic structural view of the present invention;
FIG. 5 is a schematic view of the weeding device of the present invention;
FIG. 6 is a schematic view of the inter-row weeding unit of the weeding device of the present invention;
FIG. 7 is a front view of the inter-plant weeding unit of the weeding device of the present invention;
FIG. 8 is a schematic view of the inter-plant weeding unit of the weeding device of the present invention;
FIG. 9 is a detailed view of the inter-plant weeding units of the weeding device of the present invention;
FIG. 10 is a schematic view of the traveling supporting wheel of the weeding device of the present invention;
fig. 11 is a side view of the inter-row weeding device of the present invention;
fig. 12 is a schematic view of the weeding depth adjusting and controlling device of the present invention;
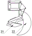
fig. 13 is a schematic view of the depth limiter of the present invention.
In the figure: 1. a frame; 2. a traveling device; 3. a depth stop device; 4. a weeding device; 5. a weeding depth adjusting and controlling device; 6. a hydraulic cylinder; 7. a power source; 21. a seat; 22. a walking adjusting handle; 23. a steering wheel; 24. a rear traveling wheel; 25. a traveling front wheel; 26. a gasoline engine; 31. a depth stop plate; 32. an anti-winding knife; 401. an inter-row weeding device; 402. an inter-plant weeding device; 41. a weeding wheel; 42. a traveling support wheel; 43. a squeegee; 44. weeding teeth; 45. a circular shaft; 46. a square shaft; 47. a gearbox; 411. weeding rake teeth; 412. a fixed seat; 413. a sleeve; 414. weeding a wheel disc; 421. a support wheel; 422. a supporting seat; 423. a support bar; 441. a fixing plate; 442. a rotor; 443. a rotating wheel; 444. elastic teeth; 51. adjusting a rod; 52. an adjusting plate; 53. an adjusting handle; 54. a dial scale; 55. a first support plate; 56. a support plate II; 57. a support plate III; 58. side plates.
Detailed Description
The technical solutions in the embodiments of the present invention will be described clearly and completely with reference to the accompanying drawings in the embodiments of the present invention, and it is obvious that the described embodiments are only some embodiments of the present invention, not all embodiments. Based on the embodiments in the present invention, all other embodiments obtained by a person skilled in the art without creative work belong to the protection scope of the present invention.
The utility model provides a paddy field intertillage weeding machine as shown in the figure, which comprises a frame 1, a walking device 2, a depth limiting device 3, a weeding device 4 and a weeding depth adjusting and controlling device 5, wherein the tail end of the frame 1 is provided with a gasoline engine 26, a hydraulic cylinder 6 is arranged below the middle part of the frame 1, a power supply 7 is arranged below the front end of the frame 1, the hydraulic cylinder 6 is fixedly connected with the weeding device 4, one side of the gasoline engine 26 is provided with a seat 21, a steering wheel 23 is arranged above the gasoline engine 26, a walking adjusting handle 22 is arranged on the right side of the steering wheel 23, a gearbox 47 is arranged below the walking adjusting handle 22, the walking device 2 comprises a walking rear wheel 24 and a walking front wheel 25, the depth limiting device 3 comprises an anti-winding knife 32 and a depth limiting plate 31, the depth limiting device 3 is arranged below the front end of the weeding device 4, the weeding device 4 is arranged below the front end of the frame 1, the rear of the weeding device 4 is provided with a scraper 43, the two sides of the weeding device 4 are provided with walking supporting wheels 42, each walking supporting wheel 42 comprises a supporting wheel 421, a supporting seat 422 and a supporting rod 423, and the weeding depth adjusting and controlling device 5 is arranged in the weeding device 4. In addition, the transmission shaft of the traveling rear wheel 24 of the traveling device 2 is meshed with the output shaft of the gasoline engine 26, the steering wheel 23 is meshed with the steering shaft of the traveling device 2, the gasoline engine 26 is a power source of the whole weeding machine, the traveling device 2 transmits power through the gasoline engine 26 to drive the intertillage weeding machine to travel and provide power for the weeding device 4, and the steering wheel 23 controls the left-right steering of the traveling device 2. The weeding device 4 comprises an inter-row weeding device 401 and an inter-plant weeding device 402, the inter-row weeding device 401 is meshed with the square shaft 46, the inter-plant weeding device 402 is meshed with the round shaft 45, and the inter-row weeding and the inter-plant weeding can be carried out simultaneously. The depth limiting devices 3 are two in number, the two depth limiting devices 3 are respectively arranged on two sides of the bottom of the weeding device 4, and the weeding penetration depth of the weeding device 4 can be adjusted by adjusting the depth limiting devices 3. The weeding depth adjusting and controlling device 5 comprises an adjusting rod 51, an adjusting plate 52, an adjusting handle 53, a dial 54, a first support plate 55, a second support plate 56, a third support plate 57 and a side plate 58, wherein one end of the adjusting plate 52 is connected with the adjusting handle 53, the other end of the adjusting plate is connected with the adjusting rod 51, the adjusting rod 51 is connected with the first support plate 55, two ends of the first support plate 55 are respectively connected with the second support plate 56 and the third support plate 57, the middle of the first support plate 55 is connected with the adjusting rod 51, the third support plate 57 is connected with the side plate 58, the side plate 58 is connected with the weeding device 4, the position of the adjusting handle 53 on the dial 54 is changed, the adjusting plate 52 is driven to rotate, the adjusting rod 51 is driven to lift up or pull down, the first support plate 55 rotates around the adjusting rod 51, the. The row weeding device 401 takes the weeding wheel 41 as a weeding unit, the weeding wheel 41 comprises weeding rake teeth 411, a weeding wheel disc 414, a fixed seat 412 and a sleeve 413, the weeding rake teeth 411 are arranged along the circumferential direction of the weeding wheel 41 in a staggered mode, the weeding rake teeth 411 are installed on the fixed seat 412, the fixed seat 412 is fixed on the weeding wheel disc 414, the sleeve 413 penetrates through the weeding wheel disc 414 and is fixed on the side plates 58 on two sides, and the sleeve 413 transmits the power of the transmission shaft to the weeding wheel 41 to complete the intertillage weeding rotary operation. The inter-plant weeding device 402 takes the weeding teeth 44 as weeding units and comprises elastic teeth 444, a fixing plate 441, a rotating wheel 443 and a rotor 442, wherein the rotor 442 and the elastic teeth 444 are mounted on the fixing plate 441, the rotating wheel 443 is fixed on a transmission shaft, a spiral chute is formed in the middle of the rotating wheel 443, the rotor 442 rotates in the spiral chute relative to the rotating wheel 443 to drive the elastic teeth 444 to swing left and right, the maximum swing amplitude of the elastic teeth 444 is 14mm, the elastic teeth 444 swing left and right among the crop plants during operation, and the roots of weeds are snapped or scratched through the left and right reciprocating motion of the elastic teeth 444 among the crop plants, so that inter-plant weeding operation is completed. The walking wheels of the walking device 2 are narrow rubber wheels with anti-skidding teeth, the diameter of the walking front wheel 25 is 680mm, the width of the walking front wheel is 46mm, the diameter of the walking rear wheel 24 is 900mm, the width of the walking rear wheel is 125mm, and the walking device has small groove marks and can not hurt seedlings and effectively prevent skidding when walking in the field. Further, the depth limiting device 3 comprises an anti-winding knife 32 and a depth limiting plate 31, and effectively prevents the machine from penetrating too deep into the soil and simultaneously prevents weeds from winding. A scraper 43 is arranged at the rear of the weeding device 4, and the paddy field is leveled after the weeding wheel intertillage weeding. The hydraulic cylinder 6 is fixedly connected with the weeding device 4, and the relative position of the weeding device 4 can be controlled by changing the telescopic amount of the hydraulic cylinder 6. The walking adjusting handle 22 is arranged below the steering wheel 23, and the advancing mode of the cultivator weeding machine can be changed by changing the position of the walking adjusting handle 22, so that the cultivator weeding machine can advance or retreat.
The working principle is as follows: when the paddy field intertillage weeding machine works, the gasoline engine 26 is a power source of the whole machine of the weeding machine, and the walking device 2 transmits power by the gasoline engine 26 to drive the intertillage weeding machine to walk. The gasoline engine 26 transmits power to the transmission case 47 through the rear wheel transmission shaft and then to the traveling rear wheel 24, thereby driving the traveling rear wheel 24 to travel. The gasoline engine 26 transmits power to the gear box through the front wheel transmission shaft, and then transmits the power to the traveling front wheel 25, so as to drive the traveling front wheel 25 to travel. The travel adjusting handle 22 is operated to realize the forward or backward movement of the weeding machine and change the speed. The steering wheel 23 is turned to change the advancing direction of the traveling front wheel 25, thereby completing the steering of the cultivator-herbicide.
The frame 1 and the weeding device 4 are connected through a hydraulic cylinder 6. When the weeding machine travels on a flat ground, the weeding device 4 is lifted by the hydraulic cylinder 6 and is away from the ground, and weeding operation is not performed. When the weeding machine enters the field operation, the telescopic amount of the hydraulic cylinder 6 is adjusted, and the weeding device 4 is placed at a proper position to perform weeding operation. The gasoline engine 26 transmits power to a transmission case 47 in the weeding device 4 through a weeding transmission shaft, and the transmission case 47 distributes the power to the row weeding devices 401 through a square shaft 46 and to the 402 line weeding devices through a round shaft 45. The row weeding device 401 is connected to the square shaft 46 through a sleeve 413. The square shaft 46 drives the sleeve 413 to rotate, power is transmitted to the weeding wheel 41, the weeding wheel 41 is driven to rotate, and inter-row weeding operation of the intertillage weeding machine is achieved. The inter-plant weeding device is connected with the round shaft 45 through a rotating wheel 443. The rotor 442 rotates in a sliding groove on the runner 443, the rotor 442 and the elastic teeth 444 are fixed on the fixing plate 441, the round shaft 45 drives the runner 443 to rotate, so that the elastic teeth 444 are driven to swing left and right, the maximum swing amplitude of the elastic teeth 444 is 14mm, the elastic teeth 444 swing left and right among crop plants during operation, the elastic teeth 444 reciprocate left and right among the crop plants, the roots of weeds are snapped or scratched, and weeding operation among the plants is completed.
A scraper 43 is arranged behind the weeding device 4, and after the weeding operation of the weeding device 4, the disturbed paddy field soil is leveled.
The weeding depth adjusting and controlling device 5 is arranged in the weeding device 4, one end of the adjusting plate 52 is connected with the adjusting handle 53, the other end of the adjusting plate 52 is connected with the adjusting rod 51, the adjusting rod 51 is connected with the first support plate 55, two ends of the first support plate 55 are respectively connected with the second support plate 56 and the third support plate 57, the middle of the first support plate 55 is connected with the adjusting rod 51, the third support plate 57 is connected with the side plate 58, the side plate 58 is connected with the weeding device 4, the position of the adjusting handle 53 on the dial 54 is changed, the adjusting plate 52 is driven to rotate, lifting or pulling-down of the adjusting rod 51 is caused, the first support plate 55 rotates around the adjusting rod 51, the third support plate 57 is driven to move up and down, the.
After the weeding operation is finished, the relative position of the weeding device 4 can be changed by controlling the expansion and contraction amount of the hydraulic cylinder 6 without the need of the weeding device 4 to enter the soil
Finally, it should be noted that: although the present invention has been described in detail with reference to the foregoing embodiments, it will be apparent to those skilled in the art that modifications and variations can be made in the embodiments or in part of the technical features of the embodiments without departing from the spirit and the scope of the invention.

Claims (8)

1.一种水田中耕除草机,包括机架(1)、行走装置(2)、限深装置(3)、除草装置(4)和除草深度调节控制装置(5),其特征在于:所述机架(1)的末端设有汽油机(26),所述机架(1)中部的下方设有液压缸(6),所述机架(1)前端的下方设有电源(7),所述液压缸(6)和除草装置(4)固定连接,所述汽油机(26)的一侧设有座椅(21),所述汽油机(26)的上方设有方向盘(23),所述方向盘(23)的右侧设有行走调节手柄(22),所述行走调节手柄(22)的下方设有变速箱(47),所述行走装置(2)包括行走后轮(24)和行走前轮(25),所述限深装置(3)包括防缠刀(32)和限深板(31),所述限深装置(3)设在除草装置(4)前端的下方,所述除草装置(4)设在机架(1)前端的下方,所述除草装置(4)后方装有刮板(43),所述除草装置(4)的两侧均设有行走支撑轮(42),所述行走支撑轮(42)包括支撑轮(421)、支撑座(422)和支撑杆(423),所述除草深度调节控制装置(5)设在除草装置(4)的内部。1. A paddy field cultivator weeding machine, comprising a frame (1), a traveling device (2), a depth limiting device (3), a weeding device (4) and a weeding depth adjustment control device (5), characterized in that: the described A gasoline engine (26) is arranged at the end of the frame (1), a hydraulic cylinder (6) is arranged below the middle of the frame (1), and a power supply (7) is arranged below the front end of the frame (1). The hydraulic cylinder (6) and the weeding device (4) are fixedly connected, a seat (21) is arranged on one side of the gasoline engine (26), and a steering wheel (23) is arranged above the gasoline engine (26). The right side of (23) is provided with a walking adjustment handle (22), a gearbox (47) is arranged below the walking adjustment handle (22), and the walking device (2) includes a walking rear wheel (24) and a walking front wheel (24). A wheel (25), the depth limiting device (3) includes an anti-wrapping knife (32) and a depth limiting plate (31), the depth limiting device (3) is arranged below the front end of the weeding device (4), the weeding device (4) The device (4) is arranged below the front end of the frame (1), a scraper (43) is installed behind the weeding device (4), and walking support wheels (42) are provided on both sides of the weeding device (4) , the walking support wheel (42) comprises a support wheel (421), a support seat (422) and a support rod (423), and the weeding depth adjustment control device (5) is arranged inside the weeding device (4). 2.根据权利要求1所述的一种水田中耕除草机,其特征在于:所述行走装置(2)的行走后轮(24)传动轴与汽油机(26)的输出轴啮合连接,所述方向盘(23)与行走装置(2)的转向轴啮合连接。2. A paddy field cultivator and weeder according to claim 1, characterized in that: the drive shaft of the traveling rear wheel (24) of the traveling device (2) is meshed with the output shaft of the gasoline engine (26), and the steering wheel (23) is engaged with the steering shaft of the traveling device (2). 3.根据权利要求1所述的一种水田中耕除草机,其特征在于:所述除草装置(4)包括行间除草装置(401)和株间除草装置(402),所述行间除草装置(401)与方轴(46)啮合连接,所述株间除草装置(402)与圆轴(45)啮合连接。3. A paddy field cultivator weeding machine according to claim 1, characterized in that: the weeding device (4) comprises an inter-row weeding device (401) and an inter-row weeding device (402), and the inter-row weeding device (401) is engaged with the square shaft (46), and the interplant weeding device (402) is engaged with the circular shaft (45). 4.根据权利要求1所述的一种水田中耕除草机,其特征在于:所述限深装置(3)共设有两个,两个所述限深装置(3)分别安装在除草装置(4)的底部两侧。4. A paddy field cultivator weeder according to claim 1, characterized in that: the depth limiting device (3) is provided with two, and the two depth limiting devices (3) are respectively installed on the weeding device (3). 4) on both sides of the bottom. 5.根据权利要求1所述的一种水田中耕除草机,其特征在于:所述除草深度调节控制装置(5)包括调节杆(51)、调节板(52)、调节手柄(53)、刻度盘(54)、支板一(55)、支板二(56)、支板三(57)和侧板(58),调节板(52)一端连接调节手柄(53),另一端与调节杆(51)相连,调节杆(51)与支板一(55)相连,支板一(55)两端分别与支板二(56)和支板三(57)相连,中间与调节杆(51)相连,支板三(57)连接侧板(58),侧板(58)与除草装置(4)相连。5. A paddy field cultivator weeder according to claim 1, characterized in that: the weeding depth adjustment control device (5) comprises an adjustment rod (51), an adjustment plate (52), an adjustment handle (53), a scale The plate (54), the first support plate (55), the second support plate (56), the third support plate (57) and the side plate (58), one end of the adjusting plate (52) is connected with the adjusting handle (53), and the other end is connected with the adjusting rod (51) is connected, the adjusting rod (51) is connected with the support plate one (55), the two ends of the support plate one (55) are respectively connected with the support plate two (56) and the support plate three (57), and the middle is connected with the adjusting rod (51). ) are connected, the third support plate (57) is connected with the side plate (58), and the side plate (58) is connected with the weeding device (4). 6.根据权利要求3所述的一种水田中耕除草机,其特征在于:所述行间除草装置(401)以除草轮(41)为除草单元,所述除草轮(41)包括除草耙齿(411)、除草轮盘(414)、固定座(412)和套筒(413),所述除草耙齿(411)沿除草轮(41)周向交错排列且除草耙齿(411)安装在固定座(412)上,所述固定座(412)固定在除草轮盘(414)上,所述套筒(413)贯穿除草轮盘(414)固定在两侧的侧板(58)上。6. The paddy field cultivator weeder according to claim 3, wherein the weeding device (401) between rows uses a weeding wheel (41) as a weeding unit, and the weeding wheel (41) comprises weeding rakes (411), a weeding wheel (414), a fixing seat (412) and a sleeve (413), the weeding tines (411) are staggered in the circumferential direction of the weeding wheel (41) and the weeding tines (411) are installed on the On the fixing seat (412), the fixing seat (412) is fixed on the weeding wheel (414), and the sleeve (413) penetrates the weeding wheel (414) and is fixed on the side plates (58) on both sides. 7.根据权利要求3所述的一种水田中耕除草机,其特征在于:所述株间除草装置(402)以除草齿(44)为除草单元,包括有弹齿(444)、固定板(441)、转轮(443)和转子(442),所述转子(442)和弹齿(444)安装在固定板(441)上,所述转轮(443)固定在传动轴上且转轮(443)中间有螺旋滑槽。7. A paddy field cultivator weeding machine according to claim 3, characterized in that: the interplant weeding device (402) uses weeding teeth (44) as the weeding unit, comprising spring teeth (444), a fixing plate ( 441), a runner (443) and a rotor (442), the rotor (442) and the spring teeth (444) are mounted on the fixing plate (441), the runner (443) is fixed on the transmission shaft and the runner (443) There is a spiral chute in the middle. 8.根据权利要求1所述的一种水田中耕除草机,其特征在于:所述行走装置(2)的行走轮为带有防滑齿的橡胶窄轮,行走前轮(25)直径680mm,轮宽46mm,行走后轮(24)直径900mm,轮宽125mm。8. A paddy field cultivator weeder according to claim 1, characterized in that: the traveling wheel of the traveling device (2) is a narrow rubber wheel with anti-skid teeth, the diameter of the traveling front wheel (25) is 680mm, and the wheel The width is 46mm, the diameter of the walking rear wheel (24) is 900mm, and the wheel width is 125mm.
CN201921081269.1U 2019-07-11 2019-07-11 Paddy field intertillage weeder Expired - Fee Related CN210491583U (en)

Priority Applications (1)

Application Number Priority Date Filing Date Title
CN201921081269.1U CN210491583U (en) 2019-07-11 2019-07-11 Paddy field intertillage weeder

Applications Claiming Priority (1)

Application Number Priority Date Filing Date Title
CN201921081269.1U CN210491583U (en) 2019-07-11 2019-07-11 Paddy field intertillage weeder

Publications (1)

Publication Number Publication Date
CN210491583U true CN210491583U (en) 2020-05-12

Family

ID=70582320

Family Applications (1)

Application Number Title Priority Date Filing Date
CN201921081269.1U Expired - Fee Related CN210491583U (en) 2019-07-11 2019-07-11 Paddy field intertillage weeder

Country Status (1)

Country Link
CN (1) CN210491583U (en)

Cited By (2)

* Cited by examiner, † Cited by third party
Publication number Priority date Publication date Assignee Title
CN110291857A (en) * 2019-07-11 2019-10-01 安徽农业大学 A paddy field intertillage weeder
CN112262628A (en) * 2020-09-25 2021-01-26 扬州大学 Rice and wheat are planted with operation device that goes to line

Cited By (3)

* Cited by examiner, † Cited by third party
Publication number Priority date Publication date Assignee Title
CN110291857A (en) * 2019-07-11 2019-10-01 安徽农业大学 A paddy field intertillage weeder
CN110291857B (en) * 2019-07-11 2024-04-16 安徽农业大学 Paddy field tillage weeding machine
CN112262628A (en) * 2020-09-25 2021-01-26 扬州大学 Rice and wheat are planted with operation device that goes to line

Similar Documents

Publication Publication Date Title
CN110291857B (en) Paddy field tillage weeding machine
CN111642151A (en) Traction type multifunctional residual film cleaning and recycling machine
CN104663043A (en) Mechanical shovel
CN210491583U (en) Paddy field intertillage weeder
CN202514247U (en) Small walking deep ploughing machine
CN107690846A (en) A kind of offset orchard soil-loosening weeder
CN202514261U (en) High-efficiency stone picking machine
CN102210204A (en) Land farming method
CN201418243Y (en) Multifunctional rig for dry land intertillage
CN203537757U (en) Deep ploughing machine
CN222814824U (en) Lawn scarification device for landscaping engineering
CN210406114U (en) High ground clearance rural area supervisor
CN205812683U (en) A kind of Multifunctional intelligent remote control liftable weeder
CN204761984U (en) Mechanical type shovel
CN216873782U (en) Two-purpose cultivator with rear engine for paddy field and dry land
CN214126696U (en) A kind of automatic profiling rice row pushing type weeding device and weeding device group
CN214257083U (en) Three-layer overlapping tillage ridge smashing tiller
CN212344393U (en) Rotary spade type oil tea forest reclamation machine
KR102319528B1 (en) A weeding machine for hanfcart
CN212436238U (en) Adjustable soil turning equipment for agricultural planting
CN201700137U (en) Amphibious boat type rotary cultivator
CN202587775U (en) Twin-drum comb-type residual film recovery machine for land preparation before sowing
CN209420296U (en) Experimental plot Mini-type ditching machine
CN209105578U (en) A kind of farmland ridger and the rotary tillage, ridging all-in-one machine using the device
CN209824358U (en) Hand-held deep-loosening weeding machine

Legal Events

Date Code Title Description
GR01 Patent grant
GR01 Patent grant
CF01 Termination of patent right due to non-payment of annual fee

Granted publication date: 20200512

CF01 Termination of patent right due to non-payment of annual fee