CN210450682U - A CNC gantry machining center machine - Google Patents

A CNC gantry machining center machine Download PDF

Info

Publication number
CN210450682U
CN210450682U CN201921466809.8U CN201921466809U CN210450682U CN 210450682 U CN210450682 U CN 210450682U CN 201921466809 U CN201921466809 U CN 201921466809U CN 210450682 U CN210450682 U CN 210450682U
Authority
CN
China
Prior art keywords
transmission
machining center
gantry machining
numerical control
wheel
Prior art date
Legal status (The legal status is an assumption and is not a legal conclusion. Google has not performed a legal analysis and makes no representation as to the accuracy of the status listed.)
Expired - Fee Related
Application number
CN201921466809.8U
Other languages
Chinese (zh)
Inventor
廖世雄
Current Assignee (The listed assignees may be inaccurate. Google has not performed a legal analysis and makes no representation or warranty as to the accuracy of the list.)
Zhongshan Lingke Cnc Machinery Co ltd
Original Assignee
Zhongshan Lingke Cnc Machinery Co ltd
Priority date (The priority date is an assumption and is not a legal conclusion. Google has not performed a legal analysis and makes no representation as to the accuracy of the date listed.)
Filing date
Publication date
Application filed by Zhongshan Lingke Cnc Machinery Co ltd filed Critical Zhongshan Lingke Cnc Machinery Co ltd
Priority to CN201921466809.8U priority Critical patent/CN210450682U/en
Application granted granted Critical
Publication of CN210450682U publication Critical patent/CN210450682U/en
Expired - Fee Related legal-status Critical Current
Anticipated expiration legal-status Critical

Links

Images

Landscapes

  • Machine Tool Units (AREA)

Abstract

本实用新型公开了一种数控龙门加工中心机,属于机床设备加工领域,所述数控龙门加工中心机包括固定底板,所述固定底板上表面固定连接有立柱,所述立柱顶端固定连接有横梁,所述横梁与立柱之间共同组成龙门结构,所述固定底板内部镶嵌连接有传动轨道,所述传动轨道内部活动连接有传动轮,所述传动轮上端滚动连接有工作台。本实用新型通过增加有滑槽与滑块,结构简单且同样可以达到对加工件精确化定位的效果,通过增加有摄像头,摄像头与滑枕连接可以实现生产加工过程中的同步追踪摄像,便于相应工作人员对机器加工进行监测,一旦出现问题可以及时维修,适合被广泛推广和使用。

Figure 201921466809

The utility model discloses a numerically controlled gantry machining center, which belongs to the field of machine tool equipment processing. The numerically controlled gantry machining center comprises a fixed bottom plate, an upper surface of the fixed bottom plate is fixedly connected with a vertical column, and a top of the vertical column is fixedly connected with a beam. A gantry structure is formed between the beams and the uprights, a transmission track is inlaid and connected inside the fixed bottom plate, a transmission wheel is movably connected inside the transmission track, and the upper end of the transmission wheel is rollingly connected with a workbench. By adding a chute and a sliding block, the utility model has a simple structure and can also achieve the effect of precise positioning of the workpiece. By adding a camera, the camera is connected with the ram, which can realize the synchronous tracking camera in the production and processing process, which is convenient for corresponding The staff monitors the machine processing, and can repair it in time if there is a problem, which is suitable for widespread promotion and use.

Figure 201921466809

Description

Numerical control gantry machining center machine
Technical Field
The utility model relates to a machine tool equipment processing field especially relates to a numerical control longmen machining center machine.
Background
The gantry machining center machine is a machining center machine with a main shaft axis perpendicular to a workbench, is mainly suitable for machining large parts, and is named because a gantry-shaped structure formed by upright columns and cross beams is arranged in a basic structure.
Most of existing gantry machining centers are complex in structure and high in cost, efficient production is difficult to achieve for some small and medium-sized enterprises, mechanical faults are prone to occur in the machining process of the gantry machining centers, production efficiency is affected, and once relevant maintenance personnel cannot timely handle the gantry machining centers, even larger economic losses and production accidents are possibly caused.
SUMMERY OF THE UTILITY MODEL
The utility model provides a numerical control longmen machining center machine has spout and slider through the increase, and simple structure and equally can reach the effect to the accurate location of machined part, has the camera through the increase, and the camera is connected with the ram and can realizes the synchronous pursuit in the production course of working and make a video recording, and the corresponding staff of being convenient for monitors machine tooling, in case the problem can in time be maintained, can effectively solve the problem in the background art.
The utility model provides a specific technical scheme as follows:
the utility model provides a numerical control gantry machining center machine, which comprises a fixed bottom plate, wherein the upper surface of the fixed bottom plate is fixedly connected with an upright post, the top end of the upright post is fixedly connected with a crossbeam, a gantry structure is jointly formed between the crossbeam and the upright post, a transmission rail is embedded and connected inside the fixed bottom plate, a transmission wheel is movably connected inside the transmission rail, the upper end of the transmission wheel is connected with a workbench in a rolling manner, a transmission shaft is rotatably connected on the transmission wheel, the power output end of the transmission shaft is connected with the power input end of a stepping motor, the transmission shaft and the transmission wheel jointly form a power transmission mechanism, the outer side wall of the crossbeam is provided with a chute A, the chute A is internally and slidably connected with a slide pillow, the left side of the slide pillow A is fixedly connected with a slide, the ram top fixedly connected with L type pole, the L type pole other end links up has the jib, jib end detachable connection has the camera, PMKD bottom elastic connection has the spring.
Optionally, the signal input end of the stepping motor is connected with the signal output end of the second switch.
Optionally, the camera signal input end is connected with the first switch signal output end.
Optionally, the bottom of the spring is fixedly connected with a gasket, and the gasket and the spring form an elastic structure together.
Optionally, the bottom of the gasket is in gap connection with support legs, the support legs are in sliding connection with the fixed wheel plate through sliding pieces, the sliding pieces integrally penetrate through the support legs and the fixed wheel plate, and the inner side wall of the fixed wheel plate is in rolling connection with double-layer wheels.
The utility model has the advantages as follows:
1. the utility model discloses it is practical, convenient operation and excellent in use effect, the staff will wait to produce the machined part of processing and place on the workstation, connect the second switch afterwards, step motor switch on, and begin to be transmission shaft transmission power, the transmission shaft rotates and drives the drive wheel transmission, thereby it moves forward along the transmission track to drive the workstation, there is step motor through increasing, step motor possesses the positive reverse function, when the machine equipment goes wrong, the staff can in time shut down step motor, thereby return the machined part on the workstation through controlling step motor reversal, thereby avoid further loss's emergence.
2. The utility model discloses in, when the machined part moves the punching press head below, the staff closes the second switch, step motor stop work, machined part static on the workstation is in the punching press head below, at this moment staff rethread numerical control system regulates and control the machining position of punching press head, at this in-process, sliding connection between slider A and the spout A, thereby make the ram can slide along the horizontal direction of crossbeam, adjust the transverse position of punching press head with this, sliding connection through slider B and spout B, make the crossbeam can slide along the vertical direction of stand, adjust the longitudinal position of punching press head with this, synthesize above regulation mode, thereby realize the accurate positioning control of punching press head processing on the whole.
3. The utility model discloses in the in-process of processing carrying out the machined part, there is the camera through the increase, the camera is connected with the ram and can realizes the synchronous pursuit in the production and processing process and make a video recording, and give staff's computer data terminal with corresponding data signal transmission, be convenient for corresponding staff monitors machine tooling, in case the machine goes wrong the staff can close equipment immediately, in order to avoid the loss further to enlarge, and inform maintenance personal to in time maintain, the loss that the production accident brought has been avoided to a certain extent.
4. The utility model discloses an increase there are spring and gasket, when the machine is in operating condition, can be along with certain mechanized vibrations, these vibrations can influence going on to machined part processing operation to a certain extent, and can produce the noise, and the elastic construction that spring and gasket are constituteed can effectively alleviate the vibrations ripples to unfavorable phenomenon takes place more than avoiding, has improved the stability of machine.
5. The utility model discloses an increase there is double-deck wheel, can make things convenient for the staff to carry the removal to machine equipment, and double-deck wheel is compared in the individual layer wheel and will be more stable, the very suitable numerical control longmen machining center machine such main equipment, and the stabilizer blade still carries out sliding connection through the slider with fixed wheel board moreover, therefore can fold the processing to double-deck wheel, again with the rotatory swing-out of double-deck wheel when needs use, improved the practicality of center machine.
Drawings
In order to more clearly illustrate the technical solutions in the embodiments of the present invention, the drawings needed to be used in the description of the embodiments will be briefly described below, and it is obvious that the drawings in the following description are only some embodiments of the present invention, and it is obvious for those skilled in the art to obtain other drawings without creative efforts.
Fig. 1 is a schematic front view of a numerical control gantry machining center according to an embodiment of the present invention;
FIG. 2 is a schematic side view of the numerical control gantry machining center according to the embodiment of the present invention;
FIG. 3 is a schematic structural view of a transmission mechanism of a numerical control gantry machining center according to an embodiment of the present invention;
FIG. 4 is a schematic circuit diagram of a numerical control gantry machining center according to an embodiment of the present invention;
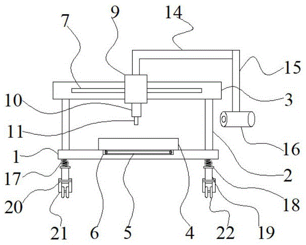
in the figure: 1. fixing the bottom plate; 2. a column; 3. a cross beam; 4. a work table; 5. a driving wheel; 6. a drive rail; 7. a chute A; 8. a slide block A; 9. a ram; 10. a stamping rod; 11. punching a head; 12. a slide block B; 13. a chute B; 14. an L-shaped rod; 15. a boom; 16. a camera; 17. a spring; 18. a gasket; 19. a support leg; 20. a slider; 21. fixing the wheel plate; 22. a double-layer wheel; 23. a first switch; 24. a second switch; 25. a drive shaft; 26. a stepper motor.
Detailed Description
In order to make the objects, technical solutions and advantages of the present invention clearer, the present invention will be described in further detail with reference to the accompanying drawings, and it is obvious that the described embodiments are only some embodiments of the present invention, not all embodiments. Based on the embodiments in the present invention, all other embodiments obtained by a person skilled in the art without creative efforts belong to the protection scope of the present invention.
A numerical control gantry machining center according to an embodiment of the present invention will be described in detail with reference to fig. 1 to 4.
As shown in fig. 1-4, a numerical control gantry machining center machine comprises a fixed base plate 1, wherein an upright post 2 is fixedly connected to the upper surface of the fixed base plate 1, a cross beam 3 is fixedly connected to the top end of the upright post 2, a gantry structure is formed by the cross beam 3 and the upright post 2 together, a transmission rail 6 is embedded and connected inside the fixed base plate 1, a transmission wheel 5 is movably connected inside the transmission rail 6, a worktable 4 is connected to the upper end of the transmission wheel 5 in a rolling manner, a transmission shaft 25 is rotatably connected to the transmission wheel 5, the power output end of the transmission shaft 25 is connected with the power input end of a stepping motor 26, a power transmission mechanism is formed by the stepping motor 26, the transmission shaft 25 and the transmission wheel 5 together, a chute a7 is formed on the outer side wall of the cross beam 3, a slide block a8 is slidably connected inside the chute, the utility model discloses a ram, including ram 9, ram 15, 15 end, 15, fixed baseplate 1, the bottom elastic connection of fixed baseplate has spring 17, ram 9 can dismantle bottom and be connected with stamping rod 10, stamping rod 10 lower extreme can be dismantled and be connected with punching press head 11, ram 9 top fixedly connected with L type pole 14, the other end of L type pole links up there is jib 15, 15 end can be dismantled and be connected with camera 16, 1 bottom elastic connection of PMKD has spring 17.
In this embodiment, as shown in fig. 1 to 4, when a workpiece runs below the punch head 11, the worker closes the second switch 24, the stepping motor 26 stops working, the workpiece on the table 4 is stationary below the punch head 11, and at this time, the worker adjusts and controls the machining position of the punch head 11 through the numerical control system, and in this process, the ram 9 can slide along the horizontal direction of the beam 3 through the sliding connection between the slider a7 and the chute A8, so as to adjust the transverse position of the punch head 11, and the beam 3 can slide along the vertical direction of the column 2 through the sliding connection between the slider B12 and the chute B13, so as to adjust the longitudinal position of the punch head 11, and by integrating the above adjustment manners, the precise positioning operation of the machining of the punch head 11 is realized on the whole. In the in-process of processing carrying out the machined part, there is camera 16 through increasing, camera 16 is connected with ram 9 and can realizes the synchronous pursuit in the production course of working and make a video recording, and give staff's computer data terminal with corresponding data signal transmission, be convenient for corresponding staff monitors machine tooling, in case the machine goes wrong the staff can close equipment immediately, in order to avoid the loss further to enlarge, and inform maintenance personal to in time maintain, the loss that the production accident brought has been avoided to a certain extent.
Wherein, the signal input end of the stepping motor 26 is connected with the signal output end of the second switch 24.
In this embodiment, as shown in fig. 4, a worker places a workpiece to be produced and processed on the workbench 4, and then connects the second switch 24, the stepping motor 26 is powered on and starts to transmit power to the transmission shaft 25, the transmission shaft 25 rotates to drive the transmission wheel 5 to transmit, so as to drive the workbench 4 to move forward along the transmission track 6, through the addition of the stepping motor 26, the stepping motor 26 has a forward and reverse rotation function, when a problem occurs in the machine equipment, the worker can timely shut down the stepping motor 26, and return the workpiece on the workbench 4 by controlling the stepping motor 26 to rotate reversely, thereby avoiding further loss.
Wherein, the signal input end of the camera 16 is connected with the signal output end of the first switch 23.
In this embodiment, as shown in fig. 4, the camera 16 is added, the camera 16 is connected with the ram 9, so that synchronous tracking and shooting in the production and processing process can be realized, corresponding data signals are transmitted to the computer data terminal of the worker, the worker can monitor the machining conveniently, the worker can immediately close the equipment once the machine goes wrong, further expansion of loss is avoided, and the worker is notified to maintain in time.
Wherein, the bottom of the spring 17 is fixedly connected with a gasket 18, and the gasket 18 and the spring 17 jointly form an elastic structure.
In the embodiment, as shown in fig. 1-2, when the machine is in a working state, certain mechanical vibrations may accompany, which may affect the processing operation of the workpiece to a certain extent and may generate noise, and the elastic structure formed by the spring 17 and the gasket 18 may effectively reduce the vibration waves, thereby avoiding the above adverse phenomena and improving the stability of the machine.
The bottom of the gasket 18 is in gap connection with a supporting leg 19, the supporting leg 19 is in sliding connection with a fixed wheel plate 21 through a sliding piece 20, the sliding piece 20 integrally penetrates through the supporting leg 19 and the fixed wheel plate 21, and a double-layer wheel 22 is connected to the inner side wall of the fixed wheel plate 21 in a rolling mode.
In this embodiment, as shown in fig. 1-2, by adding the double-layer wheels 22, the transportation and movement of the machine equipment by the worker can be facilitated, the double-layer wheels 22 are more stable than single-layer wheels, and are very suitable for large equipment such as a numerical control gantry machining center, and the support legs 19 and the fixed wheel plates 21 are further connected in a sliding manner through the sliding pieces 20, so that the double-layer wheels 22 can be folded, and when the double-layer wheels 22 are needed to be used, the double-layer wheels 22 are rotated and twisted out, thereby improving the practicability of the center.
It should be noted that, the utility model relates to a numerical control gantry machining center machine, in operation, the staff places the machined part that will wait to produce processing on workstation 4, connect second switch 24 afterwards, step motor 26 switches on, and begin to transmit power for transmission shaft 25, transmission shaft 25 rotates and drives the transmission wheel 5 transmission, thereby drive workstation 4 and move along transmission track 6, through increasing step motor 26, step motor 26 possesses the positive and negative function, when the machine equipment goes wrong, the staff can in time shut down step motor 26, and return the machined part on workstation 4 through controlling step motor 26 reversal, avoid the emergence of further loss; when a workpiece runs below the stamping head 11, a worker closes the second switch 24, the stepping motor 26 stops working, the workpiece on the workbench 4 is static below the stamping head 11, and the worker regulates and controls the machining position of the stamping head 11 through a numerical control system, in the process, the slide block A7 is in sliding connection with the slide groove A8, so that the slide pillow 9 can slide along the horizontal direction of the cross beam 3 to regulate the transverse position of the stamping head 11, and the slide block B12 is in sliding connection with the slide groove B13, so that the cross beam 3 can slide along the vertical direction of the upright column 2 to regulate the longitudinal position of the stamping head 11, and the regulation modes are integrated, so that the accurate positioning operation of the stamping head 11 is integrally realized; in the process of processing the machined part, the camera 16 is additionally arranged, the camera 16 is connected with the ram 9, synchronous tracking and shooting in the production and processing process can be realized, and a corresponding data signal is transmitted to a computer data terminal of a worker, so that the corresponding worker can conveniently monitor the machine processing, the worker can immediately close the equipment once the machine has a problem, the loss is further prevented from being further enlarged, the worker is informed to maintain in time, and the loss caused by production accidents is avoided to a certain extent; by adding the spring 17 and the gasket 18, when the machine is in a working state, certain mechanical vibration can be accompanied, the vibration can influence the processing operation of a machined part to a certain extent, and noise can be generated, and the elastic structure formed by the spring 17 and the gasket 18 can effectively reduce vibration waves, so that the adverse phenomena can be avoided, and the stability of the machine is improved; have double-deck wheel 22 through increasing, can make things convenient for the staff to carry the removal to machine equipment, double-deck wheel 22 will be more stable in the individual layer wheel relatively, the very suitable numerical control longmen machining center machine such main equipment, stabilizer blade 19 still carries out sliding connection through slider 20 with fixed wheel board 21 in addition, therefore can fold double-deck wheel 22 and handle, twist out double-deck wheel 22 is rotatory when needs use again, has improved the practicality of center machine. The specific model of the component is a JOOAN intelligent wireless monitoring camera; Y07-43D4-5040 stepper motor.
The utility model discloses a fixed bottom plate 1; a column 2; a cross beam 3; a work table 4; a transmission wheel 5; a transmission rail 6; a chute A7; a slider A8; a ram 9; a punching rod 10; a punch 11; a slider B12; a chute B13; an L-shaped bar 14; a boom 15; a camera 16; a spring 17; a spacer 18; legs 19; a slider 20; a fixed wheel plate 21; a double-deck wheel 22; a first switch 23; a second switch 24; a transmission shaft 25; the stepper motor 26 components are all standard or known to those skilled in the art, and their structure and principle are known to those skilled in the art through technical manuals or through routine experimentation.
It is apparent that those skilled in the art can make various changes and modifications to the embodiments of the present invention without departing from the spirit and scope of the embodiments of the present invention. Thus, if such modifications and variations of the embodiments of the present invention fall within the scope of the claims and their equivalents, the present invention is also intended to include such modifications and variations.

Claims (5)

1. A numerical control gantry machining center machine comprises a fixed base plate (1) and is characterized in that an upright post (2) is fixedly connected to the upper surface of the fixed base plate (1), a cross beam (3) is fixedly connected to the top end of the upright post (2), a gantry structure is formed between the cross beam (3) and the upright post (2), a transmission rail (6) is embedded and connected inside the fixed base plate (1), a transmission wheel (5) is movably connected inside the transmission rail (6), a workbench (4) is connected to the upper end of the transmission wheel (5) in a rolling manner, a transmission shaft (25) is connected to the transmission wheel (5) in a rotating manner, the power output end of the transmission shaft (25) is connected with the power input end of a stepping motor (26), the transmission shaft (25) and the transmission wheel (5) form a power transmission mechanism together, a sliding groove A (7), the inside sliding connection of spout A (7) has slider A (8), slider A (8) left side fixedly connected with ram (9), ram (9) bottom can be dismantled and be connected with ram rod (10), ram rod (10) lower extreme can be dismantled and be connected with punching press head (11), ram (9) top fixedly connected with L type pole (14), L type pole (14) other end has linked up jib (15), jib (15) end can be dismantled and be connected with camera (16), PMKD (1) bottom elastic connection has spring (17).
2. A numerical control gantry machining center machine according to claim 1, characterized in that the signal input of the stepping motor (26) is connected to the signal output of the second switch (24).
3. A numerical control gantry machining center machine according to claim 1, wherein the signal input of the camera (16) is connected to the signal output of the first switch (23).
4. A numerical control gantry machining center machine according to claim 1, wherein a washer (18) is fixedly connected to the bottom of the spring (17), and the washer (18) and the spring (17) jointly form an elastic structure.
5. A numerical control gantry machining center machine according to claim 4, wherein a supporting foot (19) is connected to the bottom of the spacer (18) in a clearance mode, the supporting foot (19) is connected with the fixed wheel plate (21) in a sliding mode through a sliding piece (20), the sliding piece (20) integrally penetrates through the supporting foot (19) and the fixed wheel plate (21), and double-layer wheels (22) are connected to the inner side wall of the fixed wheel plate (21) in a rolling mode.
CN201921466809.8U 2019-09-05 2019-09-05 A CNC gantry machining center machine Expired - Fee Related CN210450682U (en)

Priority Applications (1)

Application Number Priority Date Filing Date Title
CN201921466809.8U CN210450682U (en) 2019-09-05 2019-09-05 A CNC gantry machining center machine

Applications Claiming Priority (1)

Application Number Priority Date Filing Date Title
CN201921466809.8U CN210450682U (en) 2019-09-05 2019-09-05 A CNC gantry machining center machine

Publications (1)

Publication Number Publication Date
CN210450682U true CN210450682U (en) 2020-05-05

Family

ID=70432447

Family Applications (1)

Application Number Title Priority Date Filing Date
CN201921466809.8U Expired - Fee Related CN210450682U (en) 2019-09-05 2019-09-05 A CNC gantry machining center machine

Country Status (1)

Country Link
CN (1) CN210450682U (en)

Cited By (1)

* Cited by examiner, † Cited by third party
Publication number Priority date Publication date Assignee Title
CN115157001A (en) * 2022-09-08 2022-10-11 广东仕兴鸿智能装备有限公司 Gantry machining center transmission device feeding analysis control system

Cited By (2)

* Cited by examiner, † Cited by third party
Publication number Priority date Publication date Assignee Title
CN115157001A (en) * 2022-09-08 2022-10-11 广东仕兴鸿智能装备有限公司 Gantry machining center transmission device feeding analysis control system
CN115157001B (en) * 2022-09-08 2022-12-23 广东仕兴鸿智能装备有限公司 Gantry machining center transmission device feeding analysis control system

Similar Documents

Publication Publication Date Title
CN102632422B (en) Small high-speed five-axis linkage machine tool
CN203124971U (en) Robot three-dimensional optical fiber laser cutting machine
CN208662718U (en) A kind of sheet fabrication center
CN204726122U (en) A kind of five-axle linkage mechanical sculpturing machine
CN210450682U (en) A CNC gantry machining center machine
CN208662625U (en) Milling attachment
CN210967135U (en) Power head lifting mechanism of gantry movable type numerical control milling machine
CN211103267U (en) Reciprocating telescopic polishing machine
CN206614541U (en) A kind of three axle robert device
CN202877878U (en) Planer milling machine
CN104028860A (en) Gantry structure of large electric discharge machine tool
CN214488901U (en) Horizontal double-machine-head numerical control high-speed drilling machine
CN211465483U (en) Machine tool with movable beam structure
CN219358037U (en) Aluminum profile upper suspension type double-machine-head numerical control end milling machining center
CN203863164U (en) Gantry Structure of Large EDM Machine Tool
CN215090891U (en) Special milling machine for machining after rotary welding of tower crane
CN218167482U (en) Lathe bed spraying equipment convenient to angle regulation
CN110125469B (en) Portable boring and milling machine for processing large-size component
CN211539531U (en) Numerical control inner hole drilling machine
CN202571371U (en) Multi-hole boring mill with combined boring rod
CN202877868U (en) Multidirectional numerical control boring and milling machine
CN201950472U (en) Workbench exchange mechanism
CN113182568A (en) Special milling machine for machining after rotary welding of tower crane and machining method
CN211869040U (en) Engraver longmen mobile positioning device
CN201049403Y (en) Digital control rotary saw

Legal Events

Date Code Title Description
GR01 Patent grant
GR01 Patent grant
CF01 Termination of patent right due to non-payment of annual fee

Granted publication date: 20200505