CN210424792U - Rechargeable type switch lamp capable of being placed at will - Google Patents
Rechargeable type switch lamp capable of being placed at will Download PDFInfo
- Publication number
- CN210424792U CN210424792U CN201921372099.2U CN201921372099U CN210424792U CN 210424792 U CN210424792 U CN 210424792U CN 201921372099 U CN201921372099 U CN 201921372099U CN 210424792 U CN210424792 U CN 210424792U
- Authority
- CN
- China
- Prior art keywords
- seesaw
- led lamp
- rechargeable
- conductive
- cover
- Prior art date
- Legal status (The legal status is an assumption and is not a legal conclusion. Google has not performed a legal analysis and makes no representation as to the accuracy of the status listed.)
- Expired - Fee Related
Links
- 238000000034 method Methods 0.000 claims abstract description 6
- HBBGRARXTFLTSG-UHFFFAOYSA-N Lithium ion Chemical group [Li+] HBBGRARXTFLTSG-UHFFFAOYSA-N 0.000 claims description 5
- 229910001416 lithium ion Inorganic materials 0.000 claims description 5
- 230000003139 buffering effect Effects 0.000 claims description 3
- 238000005286 illumination Methods 0.000 abstract description 3
- 238000013461 design Methods 0.000 description 6
- 238000003780 insertion Methods 0.000 description 4
- 230000037431 insertion Effects 0.000 description 4
- KTXUOWUHFLBZPW-UHFFFAOYSA-N 1-chloro-3-(3-chlorophenyl)benzene Chemical compound ClC1=CC=CC(C=2C=C(Cl)C=CC=2)=C1 KTXUOWUHFLBZPW-UHFFFAOYSA-N 0.000 description 2
- 238000010586 diagram Methods 0.000 description 2
- 239000000463 material Substances 0.000 description 2
- 241001465382 Physalis alkekengi Species 0.000 description 1
- QSNQXZYQEIKDPU-UHFFFAOYSA-N [Li].[Fe] Chemical compound [Li].[Fe] QSNQXZYQEIKDPU-UHFFFAOYSA-N 0.000 description 1
- 239000002390 adhesive tape Substances 0.000 description 1
- OJIJEKBXJYRIBZ-UHFFFAOYSA-N cadmium nickel Chemical compound [Ni].[Cd] OJIJEKBXJYRIBZ-UHFFFAOYSA-N 0.000 description 1
- 230000007547 defect Effects 0.000 description 1
- 238000011161 development Methods 0.000 description 1
- 238000005516 engineering process Methods 0.000 description 1
- 229910052739 hydrogen Inorganic materials 0.000 description 1
- 239000001257 hydrogen Substances 0.000 description 1
- 230000007774 longterm Effects 0.000 description 1
- 238000004519 manufacturing process Methods 0.000 description 1
- 229910052751 metal Inorganic materials 0.000 description 1
- 239000002184 metal Substances 0.000 description 1
- 238000000465 moulding Methods 0.000 description 1
- 229910052759 nickel Inorganic materials 0.000 description 1
- PXHVJJICTQNCMI-UHFFFAOYSA-N nickel Substances [Ni] PXHVJJICTQNCMI-UHFFFAOYSA-N 0.000 description 1
- -1 nickel hydrogen Chemical class 0.000 description 1
- 238000011160 research Methods 0.000 description 1
- 239000004065 semiconductor Substances 0.000 description 1
- 238000000926 separation method Methods 0.000 description 1
- 238000005406 washing Methods 0.000 description 1
Images
Landscapes
- Arrangement Of Elements, Cooling, Sealing, Or The Like Of Lighting Devices (AREA)
Abstract
The utility model discloses a switch lamp is settled at will to chargeable formula, casing and casing once including one, the terminal surface center of going up the casing is provided with a fenestra, it is equipped with a seesaw to inlay in the fenestra, the exposed terminal surface center of seesaw is provided with a LED lamp piece, be provided with a printing opacity cover on the exposed terminal surface of seesaw, the internal PCB board that is provided with of inferior valve, a rechargeable battery and the interface that charges, the PCB board is connected with the LED lamp piece through an anodal power cord, the LED lamp piece is connected with a electrically conductive seesaw through a negative power cord, the PCB board is connected with an electrically conductive backup plate through a negative power cord, be provided with a apical axis on the inner wall of seesaw, the apical axis supports and leans on electrically conductive seesaw, in the upset in-process of seesaw, the apical axis makes electrically conductive seesaw and electrically conductive backup plate. The utility model discloses built-in chargeable call adopts the LED lamp piece as luminous light source again, and when small and exquisite, it is also nimble to remove, can settle at will, and more important illumination scope is wide.
Description
Technical Field
The utility model belongs to the technical field of the illumination lamps and lanterns technique and specifically relates to a switch lamp is settled at will to chargeable formula that says so.
Background
In recent years, with the continuous and deep research on semiconductor luminescent materials, the continuous progress of LED manufacturing processes and the development and application of new materials, the most important of which is the emergence of ultra-high brightness white LEDs, the application field of LEDs is caused to cross the market of high-efficiency lighting sources.
In the impression of people, most indoor lighting lamps are fixed at a certain indoor place and do not move, and the lighting lamps at the fixed positions have dead corners; the movable table lamp has flexibility for overcoming dead corners, but needs to be used for finding a power socket; the electric torch belongs to the electric torch completely without restriction, but the light of the electric torch is too concentrated and cannot be used for long-term indoor lighting; such lighting fixtures have various drawbacks.
SUMMERY OF THE UTILITY MODEL
An object of the utility model is to overcome the defect above the prior art, provide a small in size, remove nimble, can settle at will, illumination wide range, hi-lite, long-life chargeable formula settle switch lamp at will.
In order to achieve the above purpose, the utility model discloses a realize through following technical scheme: a rechargeable switch lamp capable of being placed at will comprises an upper shell and a lower shell and is characterized in that a window hole is formed in the center of the end face of the upper shell, a seesaw cover is embedded in the window hole and is in clearance fit with the window hole, a pair of side walls of the seesaw cover are respectively provided with a rotating shaft, shaft holes are respectively formed in the edges of a pair of windows of the window hole, the two rotating shafts respectively penetrate into the shaft holes in a one-to-one correspondence mode, an LED lamp piece is arranged in the center of the exposed end face of the seesaw cover, a light-transmitting cover for covering the LED lamp piece is arranged on the exposed end face of the seesaw cover, a PCB is arranged in the lower shell and is connected with a rechargeable battery through a pair of positive and negative power lines, a charging interface is arranged on the PCB, the PCB is connected with the LED lamp piece through a positive power line, the LED lamp piece is connected with a conductive seesaw through a negative power line, the PCB board is connected with a conductive backup plate through a negative power line, the conductive backup plate is embedded on the inner wall of the lower shell, a seesaw seat is arranged near the conductive backup plate, the conductive seesaw is hinged on the seesaw seat, a top shaft is arranged on the inner wall of the seesaw cover, the top shaft is abutted on the conductive seesaw, and in the overturning process of the seesaw cover, the top shaft enables the conductive seesaw to be in clutch contact with the conductive backup plate.
The utility model discloses built-in chargeable call adopts the LED lamp piece as luminous light source again, and when small and exquisite, it is also nimble to remove, can look for the optional position in addition and settle at will. Through the design of the window hole and the seesaw cover with the simulated switch structure, the seesaw cover cannot be too hidden when arranged at any position in a room, and is very flexible; secondly, people can find the target more conveniently; thirdly, the light source is conveniently turned on by using the seesaw cover touch key with a large area. Most importantly, the consumer feels the novelty, minds is the shape of a household switch, and as a result, the mobile light source can be lighted directly when being touched.
Preferably, the rechargeable battery is a lithium ion battery.
The rechargeable battery is a rechargeable battery with limited charging times and is matched with a charger for use. The current types include nickel cadmium, nickel hydrogen, lithium ion, lead storage, lithium iron and the like, and the utility model discloses the more stable lithium ion battery of current technology.
Preferably, a shaft sleeve for accommodating the top shaft is arranged on the inner wall of the seesaw cover, and a spring for providing a buffering force for the top shaft is implanted into the inner bottom of the shaft sleeve.
In order to ensure that the movement of the seesaw cover is not so rigid and the seesaw cover has certain touch feeling, the top shaft is arranged in a shaft sleeve and is provided with a spring to have elasticity and buffer force in the touch process.
Preferably, the upper shell and the lower shell are of a pair of mutually matched square frame structures, and the upper shell and the lower shell are connected through four locking screws respectively positioned on four corners of the square frame.
Most switches on the market are square, so the utility model discloses also design for square, let it more be close to in the switch molding to the casing is mainly for more convenient and the assembly of components and parts in the product under and in the adoption.
Preferably, a hanging nostril is arranged at the upper center of the back side of the lower shell.
The design of the hanging nostrils is similar to the arrangement means of decorative pictures, and the hanging nostrils can be hung on a wall or a wooden cabinet body by nailing nails.
As an alternative to the above, the lower housing has a pair of insertion holes spaced apart from each other at a lateral center of a back side thereof, and a magnet is inserted into each of the insertion holes.
The arrangement means of the magnet is more flexible, and the magnet can be arranged at any place with metal in a room, such as a refrigerator, a washing machine, an anti-theft door and the like.
As an alternative to the above, a pair of magic tapes is disposed at the center of the back side of the lower shell.
The magic tape needs to be adhered to a specified position by means of double-sided adhesive tape.
The utility model discloses have circuit elements such as LED lamp piece, PCB board, rechargeable battery to be the purchase in the middle of, the intention of main part is on switch lamp structural design to at these circuit elements, and how to connect for positive negative pole their connection only need teach, and ordinary technical worker all can assemble, need not the circuit diagram and support, so the utility model discloses not provide the circuit diagram.
Has the advantages that: the utility model discloses built-in chargeable call adopts the LED lamp piece as luminous light source again, and when small and exquisite, it is also nimble to remove, can look for the optional position in addition and settle at will. Through the design of the window hole and the seesaw cover with the simulated switch structure, the seesaw cover cannot be too hidden when arranged at any position in a room, and is very flexible; secondly, people can find the target more conveniently; thirdly, the light source is conveniently turned on by using the seesaw cover touch key with a large area. Most importantly, the consumer feels the novelty, minds is the shape of a household switch, and as a result, the mobile light source can be lighted directly when being touched.
Drawings
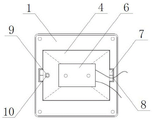
Fig. 1 is a schematic structural view of the present invention;
fig. 2 is a schematic structural view of the inside of the upper shell of the present invention;
fig. 3 is a schematic structural view of the interior of the lower casing of the present invention;
FIG. 4 is a schematic view of a lower housing back according to the present invention;
FIG. 5 is another schematic structural view of the back of the lower casing of the present invention;
fig. 6 is a schematic view of another structure of the back of the lower casing of the present invention.
In the figure: 1-upper shell, 2-lower shell, 3-window hole, 4-seesaw cover, 5-LED lamp piece, 6-light-transmitting cover, 7-rotating shaft, 8-shaft hole, 9-shaft sleeve, 10-top shaft, 11-PCB, 12-rechargeable battery, 13-conductive seesaw, 14-conductive backup plate, 15-charging interface, 16-hanging nostril, 17-embedding hole, 18-magnet and 19-magic tape.
Detailed Description
In order to make the technical means, the creation features and the achievement objects of the present invention easy to understand, the present invention will be further explained with reference to the specific embodiments.
Example (b): as shown in figure 1, the rechargeable switch lamp capable of being placed at will comprises an upper shell 1 and a lower shell 2, wherein the upper shell 1 and the lower shell 2 are of a pair of mutually matched square frame structures, and the upper shell 1 and the lower shell 2 are connected through four locking screws respectively positioned on four corners of the square frame. An aperture 3 is arranged at the center of the end face of the upper shell 1, a seesaw cover 4 is embedded in the aperture 3, an LED lamp piece 5 is arranged at the center of the exposed end face of the seesaw cover 4, and a light-transmitting cover 6 for covering the LED lamp piece 5 is arranged on the exposed end face of the seesaw cover 4.
As shown in fig. 2, the teeterboard 4 is in clearance fit with the window hole 3, a pair of side walls of the teeterboard 4 are respectively provided with a rotating shaft 7, a pair of window edges of the window hole 3 are respectively provided with a shaft hole 8, and the two rotating shafts 7 respectively penetrate into the shaft holes 8 in a one-to-one correspondence manner. The inner wall of the seesaw cover 4 is provided with a top shaft 10 and a shaft sleeve 9 for accommodating the top shaft 10, and a spring for providing a buffering force to the top shaft 10 is implanted at the inner bottom of the shaft sleeve 9.
As shown in fig. 3, a PCB 11 is disposed in the lower case 2, the PCB 11 is connected to a rechargeable battery 12 through a pair of positive and negative power lines, and the rechargeable battery 12 is a lithium ion battery. Be provided with a interface 15 that charges on PCB board 11, PCB board 11 is connected with LED lamp piece 5 through an anodal power cord, LED lamp piece 5 is connected with a conductive seesaw 13 through a negative power cord, PCB board 11 is connected with a conductive backup plate 14 through a negative power cord, conductive backup plate 14 is inlayed on the inner wall of casing 2 down, near conductive backup plate 14 is provided with a seesaw seat, conductive seesaw articulates on the seesaw seat, apical axis 10 supports and leans on conductive seesaw 13, in the upset in-process of seesaw 4, apical axis 10 makes conductive seesaw 13 and conductive backup plate 14 separation and reunion contact.
As shown in fig. 4, a hanging nostril 16 is centrally provided above the back side of the lower case 2.
Example 2: as shown in fig. 5, the lower case 2 is provided with a pair of insertion holes 17 at a distance from each other at the lateral center of the back side, and a magnet 18 is inserted into each of the insertion holes 17.
The rest is the same as example 1.
Example 3: as shown in fig. 6, a pair of magic tapes 19 is provided at the back center of the lower case 2.
The rest is the same as example 1.
Use of: the utility model discloses built-in chargeable call adopts the LED lamp piece as luminous light source again, and when small and exquisite, it is also nimble to remove, can look for the optional position in addition and settle at will. Through the design of the window hole and the seesaw cover with the simulated switch structure, the seesaw cover cannot be too hidden when arranged at any position in a room, and is very flexible; secondly, people can find the target more conveniently; thirdly, the light source is conveniently turned on by using the seesaw cover touch key with a large area. Most importantly, the consumer feels the novelty, minds is the shape of a household switch, and as a result, the mobile light source can be lighted directly when being touched.
Claims (7)
1. A rechargeable switch lamp capable of being placed at will comprises an upper shell and a lower shell and is characterized in that a window hole is formed in the center of the end face of the upper shell, a seesaw cover is embedded in the window hole and is in clearance fit with the window hole, a pair of side walls of the seesaw cover are respectively provided with a rotating shaft, shaft holes are respectively formed in the edges of a pair of windows of the window hole, the two rotating shafts respectively penetrate into the shaft holes in a one-to-one correspondence mode, an LED lamp piece is arranged in the center of the exposed end face of the seesaw cover, a light-transmitting cover for covering the LED lamp piece is arranged on the exposed end face of the seesaw cover, a PCB is arranged in the lower shell and is connected with a rechargeable battery through a pair of positive and negative power lines, a charging interface is arranged on the PCB, the PCB is connected with the LED lamp piece through a positive power line, the LED lamp piece is connected with a conductive seesaw through a negative power line, the PCB board is connected with a conductive backup plate through a negative power line, the conductive backup plate is embedded on the inner wall of the lower shell, a seesaw seat is arranged near the conductive backup plate, the conductive seesaw is hinged on the seesaw seat, a top shaft is arranged on the inner wall of the seesaw cover, the top shaft is abutted on the conductive seesaw, and in the overturning process of the seesaw cover, the top shaft enables the conductive seesaw to be in clutch contact with the conductive backup plate.
2. The rechargeable free-standing switch lamp in accordance with claim 1, wherein the rechargeable battery is a lithium ion battery.
3. The rechargeable free standing switch lamp as defined in claim 1, wherein a bushing for receiving the top shaft is provided on the inner wall of the seesaw cover, and a spring for providing a buffering force to the top shaft is implanted in the inner bottom of the bushing.
4. The rechargeable switch lamp with random placement, as claimed in claim 1, wherein the upper housing and the lower housing are a pair of mutually engaged square frame structures, and the upper housing and the lower housing are connected by four locking screws respectively located at four corners of the square frame.
5. The rechargeable switch lamp as claimed in claim 1, 2, 3 or 4, wherein a hanging nose hole is centrally arranged on the upper back side of the lower housing.
6. The rechargeable type switch lamp as claimed in claim 1, 2, 3 or 4, wherein the lower housing is provided with a pair of spaced apart embedding holes at the lateral center of the back side, and a magnet is embedded in each of the embedding holes.
7. The rechargeable type switch lamp as claimed in claim 1, 2, 3 or 4, wherein a pair of magic tapes is provided at the center of the back side of the lower housing.
Priority Applications (1)
| Application Number | Priority Date | Filing Date | Title |
|---|---|---|---|
| CN201921372099.2U CN210424792U (en) | 2019-08-22 | 2019-08-22 | Rechargeable type switch lamp capable of being placed at will |
Applications Claiming Priority (1)
| Application Number | Priority Date | Filing Date | Title |
|---|---|---|---|
| CN201921372099.2U CN210424792U (en) | 2019-08-22 | 2019-08-22 | Rechargeable type switch lamp capable of being placed at will |
Publications (1)
| Publication Number | Publication Date |
|---|---|
| CN210424792U true CN210424792U (en) | 2020-04-28 |
Family
ID=70363858
Family Applications (1)
| Application Number | Title | Priority Date | Filing Date |
|---|---|---|---|
| CN201921372099.2U Expired - Fee Related CN210424792U (en) | 2019-08-22 | 2019-08-22 | Rechargeable type switch lamp capable of being placed at will |
Country Status (1)
| Country | Link |
|---|---|
| CN (1) | CN210424792U (en) |
-
2019
- 2019-08-22 CN CN201921372099.2U patent/CN210424792U/en not_active Expired - Fee Related
Similar Documents
| Publication | Publication Date | Title |
|---|---|---|
| CN203052226U (en) | Emergency lamp with charging base | |
| CN216342962U (en) | Multifunctional electric appliance device | |
| CN210424792U (en) | Rechargeable type switch lamp capable of being placed at will | |
| CN102913768B (en) | A kind of Multifunctional new-energy combination lamp | |
| CN207635082U (en) | A kind of multifunctional portable small desk lamp | |
| CN205877990U (en) | Portable LED eye -protecting lamp of intelligent control | |
| CN212252199U (en) | A kind of intelligent induction LED lamp | |
| CN107830473A (en) | Self-adjustable touch wall lamp | |
| CN207298416U (en) | A kind of energy saving type LED lamp | |
| CN206193441U (en) | A multi -functional timepiece | |
| CN205944566U (en) | An electric switch socket with emergency lighting function | |
| CN205878089U (en) | Wireless switch fixer | |
| CN207922051U (en) | A kind of solar LED wall lamp | |
| CN215982297U (en) | Magnetic wall lamp | |
| CN223204258U (en) | A magnetic charging lamp | |
| CN216667497U (en) | Multi-purpose lamp structure | |
| CN220709550U (en) | Clock with multiple functions | |
| CN223306874U (en) | LED cabinet body lamp of formula installation is inhaled to magnetism | |
| CN214198435U (en) | Intelligent induction table lamp device | |
| CN219933905U (en) | Split type LED lamp | |
| CN202708931U (en) | Human body infrared induction light-emitting diode (LED) wardrobe lamp | |
| CN223726232U (en) | Wall lamp is inhaled to magnetism | |
| CN203273625U (en) | Rechargeable touch light-emitting diode (LED) desklamp | |
| CN216693329U (en) | a strip light | |
| CN217540579U (en) | Intelligent floor lamp |
Legal Events
| Date | Code | Title | Description |
|---|---|---|---|
| GR01 | Patent grant | ||
| GR01 | Patent grant | ||
| CF01 | Termination of patent right due to non-payment of annual fee | ||
| CF01 | Termination of patent right due to non-payment of annual fee |
Granted publication date: 20200428 Termination date: 20200822 |