CN210331942U - A sand removal device of intaking for sewage treatment plant - Google Patents

A sand removal device of intaking for sewage treatment plant Download PDF

Info

Publication number
CN210331942U
CN210331942U CN201920619689.4U CN201920619689U CN210331942U CN 210331942 U CN210331942 U CN 210331942U CN 201920619689 U CN201920619689 U CN 201920619689U CN 210331942 U CN210331942 U CN 210331942U
Authority
CN
China
Prior art keywords
water inlet
drainage
water
storage box
sand
Prior art date
Legal status (The legal status is an assumption and is not a legal conclusion. Google has not performed a legal analysis and makes no representation as to the accuracy of the status listed.)
Expired - Fee Related
Application number
CN201920619689.4U
Other languages
Chinese (zh)
Inventor
吴英挺
Current Assignee (The listed assignees may be inaccurate. Google has not performed a legal analysis and makes no representation or warranty as to the accuracy of the list.)
Huangbao Fujian Environmental Protection Engineering Investment Co ltd
Original Assignee
Huangbao Fujian Environmental Protection Engineering Investment Co ltd
Priority date (The priority date is an assumption and is not a legal conclusion. Google has not performed a legal analysis and makes no representation as to the accuracy of the date listed.)
Filing date
Publication date
Application filed by Huangbao Fujian Environmental Protection Engineering Investment Co ltd filed Critical Huangbao Fujian Environmental Protection Engineering Investment Co ltd
Priority to CN201920619689.4U priority Critical patent/CN210331942U/en
Application granted granted Critical
Publication of CN210331942U publication Critical patent/CN210331942U/en
Expired - Fee Related legal-status Critical Current
Anticipated expiration legal-status Critical

Links

Images

Landscapes

  • Filtration Of Liquid (AREA)

Abstract

本实用新型公开了一种用于污水处理厂的进水除砂装置,包括曝气沉砂池,所述曝气沉砂池一端安装有排水块,所述螺杆中部安装有刮拭组件,所述载板一端面安装有刮拭刀片,所述载板另一端面焊接有挡板,本实用新型科学合理,使用安全方便,通过螺杆带动内螺纹套管的转动,进一步使得载板和刮拭刀片在水渠底部移动,对水渠底部残留的黏性块状物进行刮拭清理,避免砂粒附着在黏性块状物后无法去除的情况,解决了现有曝气沉砂池长期使用后,会存在杂物在水渠底端,造成砂粒去除不充分的问题,同时设置了存渣组件,在黏性块状物被刮拭后,将其清理到废渣存储盒内,通过提手的快速将废渣存储盒提起,便于对清理的废渣进行处理,提高清理效率。

Figure 201920619689

The utility model discloses a water inlet sand removal device for a sewage treatment plant, which comprises an aeration grit chamber, one end of the aeration grit chamber is provided with a drainage block, and the middle of the screw is provided with a wiper component, so that the A scraping blade is installed on one end surface of the carrier plate, and a baffle plate is welded on the other end surface of the carrier plate. The utility model is scientific and reasonable, safe and convenient to use. The blade moves at the bottom of the water channel to wipe and clean the sticky lumps remaining at the bottom of the water channel, so as to avoid the situation that the sand cannot be removed after adhering to the sticky lumps. There is a problem that debris is at the bottom of the water channel, resulting in insufficient sand removal. At the same time, a slag storage component is installed. After the sticky block is wiped, it is cleaned into the waste residue storage box, and the waste residue is quickly removed by the handle. The storage box is lifted to facilitate the disposal of the cleaned waste residue and improve the cleaning efficiency.

Figure 201920619689

Description

A sand removal device of intaking for sewage treatment plant
Technical Field
The utility model relates to a sewage treatment technical field specifically is a sand removal device of intaking for sewage treatment plant.
Background
Sewage treatment is to handle sewage, make sewage reach the purification process who discharges into a certain water or the quality of water requirement of reuse, wherein the time aeration grit chamber that uses when getting rid of sand grain in sewage, set up aeration equipment through the ditch at aeration grit chamber, under the effect of aeration, make the organic granule in the sewage often be in the suspended state, sand grain rubs each other and receives the shearing force of aeration, can get rid of adnexed organic pollutant on the sand grain, be favorable to getting comparatively pure sand grain, the sand grain sinks the sand collection inslot at the bottom of the pool at the comprehensive effort of gravity and revolving force, get rid of with the separation of water.
But after current aeration grit chamber used for a long time, the inside stronger mud piece of partial stickness that can remain of its sand collection groove further leads to the inside sand grain of sand collection groove to be difficult to discharge from the sand discharge pipe for the inside remaining more sand grain of aeration grit chamber leads to the degritting effect of sewage to reduce at last, so people's urgent need a sand removal device of intaking for sewage treatment plant to solve above-mentioned problem.
SUMMERY OF THE UTILITY MODEL
The utility model provides a sand removal device of intaking for sewage treatment plant can effectively solve the current aeration grit chamber that proposes among the above-mentioned background art and use the back for a long time, and the inside stronger mud piece of partial stickness that can remain of its sand collection inslot portion further leads to the inside sand grain of sand collection inslot to be difficult to follow the sand discharge pipe and discharges for the inside remaining more sand grain of aeration grit chamber leads to the problem that the desanding effect of sewage reduces at last.
In order to achieve the above object, the utility model provides a following technical scheme: a water inlet desanding device for a sewage treatment plant comprises an aeration grit chamber, wherein a plurality of water channels are arranged in the aeration grit chamber, a sand collecting groove is formed in the bottom end of each water channel, a drainage block is arranged at one end of the aeration grit chamber, and screw rods are rotatably connected to the top of each drainage block corresponding to the position of each water channel;
the middle part of the screw is provided with a wiping component, and the wiping component comprises an internal thread sleeve, a connecting rod, a support plate, a wiping blade and a baffle plate;
the utility model discloses a sand collection device, including screw rod, connecting rod, ditch bottom face, support plate, scraper blade, the screw rod middle part is connected with the internal thread sleeve pipe through thread engagement, the welding of internal thread sleeve pipe bottom has the connecting rod, the welding of connecting rod bottom has the support plate, ditch bottom face and sand catch bowl surface all laminate mutually with support plate bottom face, a support plate terminal surface is installed and is wiped away the blade, another terminal surface welding of support.
Preferably, the other end of the aeration grit chamber is welded with a fixed plate, and one end of the screw is rotatably connected with the middle part of the fixed plate through a bearing.
Preferably, the drainage block is provided with drainage cavities at positions corresponding to the water channels, and the bottom of the drainage block is provided with a drainage outlet at a position corresponding to the sand collecting groove;
the bottom of the drainage cavity is provided with a slag storage component, and the slag storage component comprises a waste slag storage box, a drainage filter screen and a lifting handle;
waste residue storage box has been placed to drainage cavity bottom, waste residue storage box bottom is run through and is installed the drainage filter screen, the handle is all installed to waste residue storage box top both sides portion.
Preferably, the bottom end face of the water outlet and the bottom end face of the sand collecting groove are both positioned in the same horizontal plane with the top end face of the waste residue storage box, and the top end of the lifting handle is higher than the top end of the drainage block.
Preferably, a crank is installed at one end of the screw, and a sponge sleeve is sleeved on the outer surface of the crank.
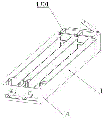
Preferably, the other end of the aeration grit chamber is provided with a water inlet assembly, and the water inlet assembly comprises a water inlet block, a water inlet chamber, a mounting seat, a mounting shaft, a mounting plate and a water inlet filter screen;
the aeration grit chamber other end is installed and is advanced water the piece, the piece tip of intaking corresponds ditch position department and has all seted up into water cavity, the piece top of intaking corresponds into water cavity tip position department symmetry and installs the mount pad, is located same it is connected with the installation axle to rotate between the mount pad of chamber tip of intaking, the fixed mounting panel that has cup jointed in installation axle middle part, the mounting panel middle part is run through and is installed the filter screen that intakes.
Preferably, a storage box is welded on the top of one side surface of the water inlet block, a cover plate is rotatably connected to one side angle position of the top end of the storage box through a fixed shaft, and a handle rod is mounted at one end of the top end of the cover plate;
a clamping groove is formed in the top of one side surface of the water inlet block corresponding to the position of the cover plate, and the top end surface and the bottom end surface of the cover plate are respectively positioned in the same horizontal plane with the top end surface and the bottom end surface of the clamping groove
Compared with the prior art, the beneficial effects of the utility model are that: the utility model is scientific and reasonable, convenience safe in utilization:
1. drive female screw sleeve's rotation through the screw rod, further make the support plate with scrape the blade and remove in the ditch bottom, scrape the clearance of wiping away to remaining stickness massive thing in ditch bottom, avoid sand grain to adhere to the condition that can't get rid of appearing in the stickness massive thing, the long-term back of using in current aeration grit chamber has been solved, can have debris in the ditch bottom, cause the sand grain to get rid of insufficient problem, the sediment subassembly has been set up simultaneously, after the stickness massive thing is scraped and is wiped away, in clearing up the waste residue storage box with it, mention the waste residue storage box through the quick of handle, be convenient for handle the waste residue of clearance, and the efficiency of cleaning is improved.
2. The utility model discloses a sewage treatment device, including the mounting panel, the mounting panel is through the installation axle swing connection, the mounting panel supports the fixed plate and keeps stable when intaking, the device can swing mounting panel to horizontal position when stopping, be convenient for clear up or change the filter screen that intakes to intake filter screen surface, guarantee that the filter screen that intakes stabilizes effectual filter effect.
3. The storage box is arranged, a user of convenience places maintenance tools and spare parts in the storage box, the maintenance taking is more convenient, the cover plate and the clamping groove are arranged, the cover plate is clamped into the clamping groove, the cover plate is fixed, and the situation that water liquid and sundries are damaged by the maintenance tools or the spare parts in the storage box is avoided.
Drawings
The accompanying drawings are included to provide a further understanding of the invention, and are incorporated in and constitute a part of this specification, illustrate embodiments of the invention, and together with the description serve to explain the invention and not to limit the invention.
In the drawings:
fig. 1 is a schematic structural diagram of the present invention;
FIG. 2 is a schematic view of the connection structure of the screw rod and the fixing plate of the present invention;
FIG. 3 is a schematic view of the wiper assembly of the present invention;
FIG. 4 is a schematic view of the mounting structure of the crank of the present invention;
FIG. 5 is a schematic structural view of the slag depositing assembly of the present invention;
FIG. 6 is a schematic structural view of the water inlet assembly of the present invention;
fig. 7 is a schematic view of an installation structure of the storage box of the present invention;
reference numbers in the figures: 1. an aeration grit chamber; 2. a ditch; 3. a sand collecting tank; 4. a drainage block; 5. a screw; 6. a fixing plate;
7. a wiper assembly; 701. an internally threaded sleeve; 702. a connecting rod; 703. a carrier plate; 704. wiping the blade; 705. a baffle plate;
8. a drainage chamber;
9. a slag storage assembly; 901. a waste storage box; 902. a drainage filter screen; 903. a handle;
10. a water outlet; 11. a crank; 12. a sponge sleeve;
13. a water intake assembly; 1301. a water inlet block; 1302. a water inlet chamber; 1303. a mounting seat; 1304. installing a shaft; 1305. mounting a plate; 1306. a water inlet filter screen;
14. a storage box; 15. a cover plate; 16. a handle bar; 17. a clamping groove.
Detailed Description
The preferred embodiments of the present invention will be described in conjunction with the accompanying drawings, and it will be understood that they are presented herein only to illustrate and explain the present invention, and not to limit the present invention.
Example (b): as shown in fig. 1-7, the utility model provides a technical scheme, a sand removal device of intaking for sewage treatment plant, including aeration grit chamber 1, aeration grit chamber 1 is inside to be set up a plurality of canals 2, sand collecting tank 3 has been seted up to 2 bottoms of canals, drainage piece 4 is installed to 1 one end of aeration grit chamber, drainage piece 4 top corresponds 2 positions of canals department and all rotates and is connected with screw rod 5, another end welding in aeration grit chamber 1 has fixed plate 6, 5 one end of screw rod is rotated through the bearing with 6 middle parts of fixed plate and is connected, make 5 both ends of screw rod all rotate with fixed part and be connected, guarantee that screw rod 5 can stably rotate, crank 11 is installed to 5 one end of screw rod, use crank 11 can effectively rotate screw rod 5, hand slip phenomenon when avoiding simultaneously to lead to the rotation because of hand perspiration, sponge cover 12 has been cup jointed on crank 11 surface.
A wiping component 7 is arranged in the middle of the screw rod 5, and the wiping component 7 comprises an internal thread sleeve 701, a connecting rod 702, a carrier plate 703, a wiping blade 704 and a baffle 705;
the middle part of the screw rod 5 is connected with an internal thread sleeve 701 through thread engagement, the bottom end of the internal thread sleeve 701 is welded with a connecting rod 702, the bottom end of the connecting rod 702 is welded with a support plate 703, the bottom end surface of the water channel 2 and the surface of the sand collecting groove 3 are both attached to the bottom end surface of the support plate 703, one end surface of the support plate 703 is provided with a wiping blade 704, and the other end surface of the support plate 703 is welded with.
The drainage cavity 8 is arranged at the position of the drainage block 4 corresponding to the water channel 2, and the drainage outlet 10 is arranged at the position of the bottom of the drainage block 4 corresponding to the sand collecting groove 3.
The bottom of the drainage chamber 8 is provided with a slag storage assembly 9, and the slag storage assembly 9 comprises a slag storage box 901, a drainage filter screen 902 and a handle 903;
waste residue storage box 901 has been placed to drainage cavity 8 bottom, and drainage filter screen 902 is installed in running through to waste residue storage box 901 bottom, and handle 903 is all installed to waste residue storage box 901 top both sides portion.
The drain outlet 10 bottom end face all is located same horizontal plane with waste residue storage box 901 top end face with 3 bottom end faces in sand collection groove for waste residue that sand collection groove 3 scraped out can fall into waste residue storage box 901, and make water liquid flow out in following drain outlet 10 through waste residue storage box 901 top, the handle 903 top is higher than 4 tops of drainage piece, and convenient to use person draws handle 903 and proposes the clearance with waste residue storage box 901.
The other end of the aeration grit chamber 1 is provided with a water inlet assembly 13, and the water inlet assembly 13 comprises a water inlet block 1301, a water inlet chamber 1302, a mounting seat 1303, a mounting shaft 1304, a mounting plate 1305 and a water inlet filter screen 1306;
the aeration grit chamber 1 other end is installed and is advanced water block 1301, advances water block 1301 tip and corresponds 2 positions of ditch and locate and all seted up intake chamber 1302, advances water block 1301 top and corresponds intake chamber 1302 tip position department symmetry and install mount pad 1303, is located to rotate between the mount pad 1303 of same intake chamber 1302 tip and is connected with installation axle 1304, and the fixed mounting panel 1305 that has cup jointed in installation axle 1304 middle part, and the filter screen 1306 that advances is installed in the middle part of the mounting panel 1305 runs through.
The welding of the piece 1301 side surface top of intaking has receiver 14, 14 top angular position departments of receiver are connected with apron 15 through the fixed axle rotation, 15 top tip of apron are installed handle bar 16, the piece 1301 side surface top of intaking corresponds apron 15 position department and has seted up draw-in groove 17, 15 top end faces of apron and bottom face are located same horizontal plane with draw-in groove 17 top end faces and bottom face respectively, make apron 15 can block into inside draw-in groove 17, guarantee that apron 15 has stability when 14 tops of receiver protect, can not rock at will.
The utility model discloses a theory of operation and use flow: when the water inlet desanding device for the sewage treatment plant is used, firstly, sewage after primary filter residue filtration is poured into the water inlet chamber 1302 of the water inlet block 1301, the mounting plate 1305 is mounted in the middle of the mounting shaft 1304, and the mounting shaft 1304 is rotatably connected with the mounting base 1303, so that the sewage pushes the mounting plate 1305 and penetrates through the water inlet filter screen 1306 in the middle of the mounting plate 1305 to enter the water channel 2, and the mounting plate 1305 abuts against the fixing plate 6 due to the fact that the fixing plate 6 is arranged at one end of the aeration grit chamber 1, the water inlet filter screen 1306 in the middle of the mounting plate 1305 is guaranteed to filter out partial large-particle impurities in the sewage, and accordingly the desanding treatment efficiency of the aeration;
when sewage enters the aeration grit chamber 1, an aeration device is arranged in the water channel 2 of the aeration grit chamber 1, under the action of aeration, organic particles in the sewage are always in a suspended state, sand grains rub with each other and are subjected to the shearing force of aeration, organic pollutants attached to the sand grains can be removed, the obtaining of relatively pure sand grains is facilitated, the sand grains sink into the sand collecting groove 3 at the bottom of the tank under the comprehensive action of gravity and rotating force, are separated from water and removed, and are finally discharged through a sand discharge pipe, and the sewage after sand removal is discharged through a water discharge port 10 of a water discharge chamber 8, so that the sand removal process of the sewage is completed;
after the aeration grit chamber 1 is used for a long time, the aeration device is stopped, the crank 11 is rotated, the screw 5 is driven to rotate by the crank 11, the internal thread sleeve 701 is arranged in the middle of the screw 5 by thread engagement, and the support plate 703 is attached to the bottom end of the water channel 2, so that the screw 5 drives the internal thread sleeve 701 to move towards the drainage block 4 under the rotation condition, the connecting rod 702 and the support plate 703 are driven to move when the internal thread sleeve 701 moves, and then stubborn impurities at the bottom ends of the water channel 2 and the sand collecting tank 3 are scraped by the scraping blade 704 arranged at one end of the support plate 703 and are temporarily stored at the top end of the support plate 703 through the baffle 705, when the support plate 703 moves to the end of the aeration grit chamber 1, the impurities at the top end of the support plate are pushed into the residue storage box 901 through the cleaning brush, the handle 903 is lifted, the residue storage box 901 is lifted, and the water liquid, the waste residue storage box 901 can effectively bear sundries to rise, the sundries are quickly cleaned, then the screw rod 5 is reversely rotated according to the operation, the internal thread sleeve 701 is moved to the original position to wait for next use, meanwhile, the mounting plate 1305 can swing, in the process of stopping sand removal, the mounting plate 1305 is swung to be in a horizontal state, the cleaning brush is used for cleaning the sundries on the surface of the water inlet filter screen 1306, and the continuous cleaning effect is guaranteed;
burnisher, repair tools and spare part all place in receiver 14, through rotating apron 15, can block the lid to 14 top openings of receiver, and then avoid external steam and dust to get into the inside instrument that causes of receiver 14 and damage, the setting of draw-in groove 17 can block apron 15 limit portion simultaneously, improve the stability in the 15 use of apron, and through gripping handle bar 16, convenient to use person is more convenient rotates apron 15.
Finally, it should be noted that: although the present invention has been described in detail with reference to the foregoing embodiments, it will be apparent to those skilled in the art that modifications may be made to the embodiments described in the foregoing embodiments, or equivalents may be substituted for elements thereof. Any modification, equivalent replacement, or improvement made within the spirit and principle of the present invention should be included in the protection scope of the present invention.

Claims (7)

1.一种用于污水处理厂的进水除砂装置,包括曝气沉砂池(1),所述曝气沉砂池(1)内部设置若干水渠(2),所述水渠(2)底端开设有集砂槽(3),其特征在于:所述曝气沉砂池(1)一端安装有排水块(4),所述排水块(4)顶部对应水渠(2)位置处均转动连接有螺杆(5);1. A water inlet sand removal device for a sewage treatment plant, comprising an aeration grit chamber (1), a plurality of water channels (2) are arranged inside the aeration sand chamber (1), and the water channels (2) The bottom end is provided with a sand collecting tank (3), which is characterized in that a drainage block (4) is installed at one end of the aeration grit chamber (1), and the top of the drainage block (4) corresponds to the position of the water channel (2). A screw (5) is connected in rotation; 所述螺杆(5)中部安装有刮拭组件(7),所述刮拭组件(7)包括内螺纹套管(701)、连接杆(702)、载板(703)、刮拭刀片(704)和挡板(705);A wiping assembly (7) is installed in the middle of the screw rod (5), and the wiping assembly (7) includes an inner threaded sleeve (701), a connecting rod (702), a carrier plate (703), and a wiping blade (704) ) and baffle (705); 所述螺杆(5)中部通过螺纹啮合连接有内螺纹套管(701),所述内螺纹套管(701)底端焊接有连接杆(702),所述连接杆(702)底端焊接有载板(703),所述水渠(2)底端面和集砂槽(3)表面均与载板(703)底端面相贴合,所述载板(703)一端面安装有刮拭刀片(704),所述载板(703)另一端面焊接有挡板(705)。The middle part of the screw rod (5) is connected with an internal thread sleeve (701) through threaded engagement, a connecting rod (702) is welded at the bottom end of the internal thread sleeve (701), and a bottom end of the connecting rod (702) is welded with a connecting rod (702). A carrier plate (703), the bottom end face of the water channel (2) and the surface of the sand collecting tank (3) are in contact with the bottom end face of the carrier plate (703), and a scraper blade ( 704), a baffle plate (705) is welded on the other end surface of the carrier plate (703). 2.根据权利要求1所述的一种用于污水处理厂的进水除砂装置,其特征在于:所述曝气沉砂池(1)另一端部焊接有固定板(6),所述螺杆(5)一端与固定板(6)中部通过轴承转动连接。2. A water inflow sand removal device for a sewage treatment plant according to claim 1, characterized in that: the other end of the aeration grit chamber (1) is welded with a fixed plate (6), the One end of the screw rod (5) is rotatably connected with the middle of the fixing plate (6) through a bearing. 3.根据权利要求1所述的一种用于污水处理厂的进水除砂装置,其特征在于:所述排水块(4)对应水渠(2)位置处均开设有排水腔室(8),所述排水块(4)底部对应集砂槽(3)位置处开设有排水口(10);3. A water inlet sand removal device for a sewage treatment plant according to claim 1, characterized in that: the drainage blocks (4) are provided with drainage chambers (8) at the positions corresponding to the water channels (2). , a drainage port (10) is provided at the bottom of the drainage block (4) corresponding to the position of the sand collecting tank (3); 所述排水腔室(8)底部设置有存渣组件(9),所述存渣组件(9)包括废渣存储盒(901)、排水滤网(902)和提手(903);A slag storage assembly (9) is provided at the bottom of the drainage chamber (8), and the slag storage assembly (9) includes a waste slag storage box (901), a drainage filter screen (902) and a handle (903); 所述排水腔室(8)底部放置有废渣存储盒(901),所述废渣存储盒(901)底端贯穿安装有排水滤网(902),所述废渣存储盒(901)顶端两边部均安装有提手(903)。A waste residue storage box (901) is placed at the bottom of the drainage chamber (8), a drainage filter screen (902) is installed through the bottom end of the waste residue storage box (901), and both sides of the top of the waste residue storage box (901). A carrying handle (903) is installed. 4.根据权利要求3所述的一种用于污水处理厂的进水除砂装置,其特征在于:所述排水口(10)底端面与集砂槽(3)底端面均与废渣存储盒(901)顶端面位于同一水平面内,所述提手(903)顶端高于排水块(4)顶端。4. A water inlet sand removal device for a sewage treatment plant according to claim 3, characterized in that: the bottom end surface of the water outlet (10) and the bottom end surface of the sand collecting tank (3) are both connected to the waste residue storage box The top surface of (901) is located in the same horizontal plane, and the top of the handle (903) is higher than the top of the drainage block (4). 5.根据权利要求1所述的一种用于污水处理厂的进水除砂装置,其特征在于:所述螺杆(5)一端安装有摇把(11),所述摇把(11)外表面套接有海绵套(12)。5. A water inlet sand removal device for a sewage treatment plant according to claim 1, characterized in that: a crank handle (11) is installed at one end of the screw (5), and a crank handle (11) is installed outside the crank handle (11). A sponge cover (12) is sleeved on the surface. 6.根据权利要求1所述的一种用于污水处理厂的进水除砂装置,其特征在于:所述曝气沉砂池(1)另一端安装有进水组件(13),所述进水组件(13)包括进水块(1301)、进水腔室(1302)、安装座(1303)、安装轴(1304)、安装板(1305)和进水滤网(1306);6. A water inflow sand removal device for a sewage treatment plant according to claim 1, characterized in that: a water inflow component (13) is installed at the other end of the aeration grit chamber (1), and the The water inlet assembly (13) includes a water inlet block (1301), a water inlet chamber (1302), a mounting seat (1303), a mounting shaft (1304), a mounting plate (1305) and a water inlet filter screen (1306); 所述曝气沉砂池(1)另一端安装有进水块(1301),所述进水块(1301)端部对应水渠(2)位置处均开设有进水腔室(1302),所述进水块(1301)顶端对应进水腔室(1302)端部位置处对称安装有安装座(1303),位于同一所述进水腔室(1302)端部的安装座(1303)之间转动连接有安装轴(1304),所述安装轴(1304)中部固定套接有安装板(1305),所述安装板(1305)中部贯穿安装有进水滤网(1306)。A water inlet block (1301) is installed at the other end of the aeration grit chamber (1), and a water inlet chamber (1302) is opened at the end of the water inlet block (1301) corresponding to the position of the water channel (2). A mounting seat (1303) is symmetrically installed at the top of the water inlet block (1301) corresponding to the end of the water inlet chamber (1302), and is located between the mounting seats (1303) at the end of the same water inlet chamber (1302). A mounting shaft (1304) is rotatably connected, a mounting plate (1305) is fixedly sleeved in the middle of the mounting shaft (1304), and a water inlet filter (1306) is installed through the middle of the mounting plate (1305). 7.根据权利要求6所述的一种用于污水处理厂的进水除砂装置,其特征在于:所述进水块(1301)一侧表面顶部焊接有收纳盒(14),所述收纳盒(14)顶端一边角位置处通过固定轴转动连接有盖板(15),所述盖板(15)顶端一端部安装有把手杆(16);7. A water inlet sand removal device for a sewage treatment plant according to claim 6, characterized in that: a storage box (14) is welded on the top of one side surface of the water inlet block (1301), and the storage box (14) A cover plate (15) is rotatably connected to a corner position at the top of the box (14) through a fixed shaft, and a handle rod (16) is installed at one end of the top of the cover plate (15); 所述进水块(1301)一侧表面顶部对应盖板(15)位置处开设有卡槽(17),所述盖板(15)顶端面和底端面分别与卡槽(17)顶端面和底端面位于同一水平面内。A card slot (17) is provided at the top of one side surface of the water inlet block (1301) corresponding to the position of the cover plate (15), and the top surface and the bottom end surface of the cover plate (15) are respectively connected with the top surface and the bottom end surface of the card slot (17). The bottom end faces are in the same horizontal plane.
CN201920619689.4U 2019-04-30 2019-04-30 A sand removal device of intaking for sewage treatment plant Expired - Fee Related CN210331942U (en)

Priority Applications (1)

Application Number Priority Date Filing Date Title
CN201920619689.4U CN210331942U (en) 2019-04-30 2019-04-30 A sand removal device of intaking for sewage treatment plant

Applications Claiming Priority (1)

Application Number Priority Date Filing Date Title
CN201920619689.4U CN210331942U (en) 2019-04-30 2019-04-30 A sand removal device of intaking for sewage treatment plant

Publications (1)

Publication Number Publication Date
CN210331942U true CN210331942U (en) 2020-04-17

Family

ID=70181036

Family Applications (1)

Application Number Title Priority Date Filing Date
CN201920619689.4U Expired - Fee Related CN210331942U (en) 2019-04-30 2019-04-30 A sand removal device of intaking for sewage treatment plant

Country Status (1)

Country Link
CN (1) CN210331942U (en)

Cited By (2)

* Cited by examiner, † Cited by third party
Publication number Priority date Publication date Assignee Title
CN115010202A (en) * 2022-06-18 2022-09-06 杜程阳 Aeration grit chamber for sewage treatment and purification and use method thereof
CN117923680A (en) * 2024-03-04 2024-04-26 鄂尔多斯市生态环境局综合保障中心(鄂尔多斯市环境科学研究所) Aeration sand setting sewage treatment device with salvaging function

Cited By (2)

* Cited by examiner, † Cited by third party
Publication number Priority date Publication date Assignee Title
CN115010202A (en) * 2022-06-18 2022-09-06 杜程阳 Aeration grit chamber for sewage treatment and purification and use method thereof
CN117923680A (en) * 2024-03-04 2024-04-26 鄂尔多斯市生态环境局综合保障中心(鄂尔多斯市环境科学研究所) Aeration sand setting sewage treatment device with salvaging function

Similar Documents

Publication Publication Date Title
CN211189269U (en) Water treatment facilities convenient to wash filter screen
CN210331942U (en) A sand removal device of intaking for sewage treatment plant
CN110897560A (en) Electric floor cleaning machine
CN209923049U (en) Filter convenient to remove dust
CN210993205U (en) A construction site sewage treatment device
CN212700781U (en) Single-core iron removal filter
CN218779065U (en) Cleaning device based on plating solution in plating bath
CN220090625U (en) Wastewater treatment filtering device
CN220633260U (en) Wastewater treatment device of glass edge grinding machine
CN220328049U (en) Filter for sewage treatment
CN216878216U (en) A kind of stone processing wastewater treatment equipment
CN214880814U (en) Ion exchange resin total nitrogen removal device
CN213942259U (en) Sewage treatment is with mechanism of solid rubbish in being convenient for clear away filtering ponds
CN219662995U (en) Solid-liquid separator capable of heating and preventing freezing
CN213477107U (en) Rainwater recovery processing system is with cutting dirty basket of hanging and deposiing device
CN220072641U (en) Fork truck accessory cleaning machine
CN209736267U (en) Dirt cleaning equipment for wastewater sedimentation tank
CN223404489U (en) Coal washing wastewater treatment device
CN207694419U (en) A kind of efficient vertical sloping plate deposition machine
CN222623935U (en) Waste water cleaning device for building engineering
CN222752690U (en) A cleaning structure for backwash filter
CN221217242U (en) Dirt interception grille
CN220877907U (en) Sand filtering treatment device for geothermal well water source
CN223544939U (en) Municipal road asphalt concrete surface layer water collecting port processing device
CN223615483U (en) A high-efficiency filtration device for water treatment

Legal Events

Date Code Title Description
GR01 Patent grant
GR01 Patent grant
CF01 Termination of patent right due to non-payment of annual fee

Granted publication date: 20200417

CF01 Termination of patent right due to non-payment of annual fee