CN210303314U - A kind of batching stirring reaction device for the production of washing and chemical products - Google Patents

A kind of batching stirring reaction device for the production of washing and chemical products Download PDF

Info

Publication number
CN210303314U
CN210303314U CN201920587259.9U CN201920587259U CN210303314U CN 210303314 U CN210303314 U CN 210303314U CN 201920587259 U CN201920587259 U CN 201920587259U CN 210303314 U CN210303314 U CN 210303314U
Authority
CN
China
Prior art keywords
floating plate
stirring
production
main body
reaction device
Prior art date
Legal status (The legal status is an assumption and is not a legal conclusion. Google has not performed a legal analysis and makes no representation as to the accuracy of the status listed.)
Expired - Fee Related
Application number
CN201920587259.9U
Other languages
Chinese (zh)
Inventor
黄忠成
Current Assignee (The listed assignees may be inaccurate. Google has not performed a legal analysis and makes no representation or warranty as to the accuracy of the list.)
Sichuan Meizhijia Washing Products Co Ltd
Original Assignee
Sichuan Meizhijia Washing Products Co Ltd
Priority date (The priority date is an assumption and is not a legal conclusion. Google has not performed a legal analysis and makes no representation as to the accuracy of the date listed.)
Filing date
Publication date
Application filed by Sichuan Meizhijia Washing Products Co Ltd filed Critical Sichuan Meizhijia Washing Products Co Ltd
Priority to CN201920587259.9U priority Critical patent/CN210303314U/en
Application granted granted Critical
Publication of CN210303314U publication Critical patent/CN210303314U/en
Expired - Fee Related legal-status Critical Current
Anticipated expiration legal-status Critical

Links

Images

Landscapes

  • Mixers Of The Rotary Stirring Type (AREA)

Abstract

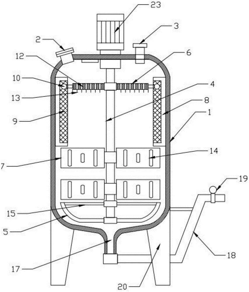
本实用新型公开了一种洗化用品生产用配料搅拌反应装置,包括本体,所述的本体内设有转轴,所述的转轴一端延伸至本体内底部连接U型的搅拌叶,另一端延伸至本体外侧通过减速机连接电机,所述的转轴从上至下依次设有浮板和搅拌扇叶,所述的浮板采用能浮在水面的轻质材料制成,所述的浮板通过圆孔套接在转轴上,所述的本体内壁上方设有多个条状的安装板,所述的安装板的垂直方向设有滑槽,所述的安装板上设有与连接块相配合的开口槽,所述的浮板上设有多个通孔,所述的浮板的底部设有多个尖针,所述的搅拌扇叶上多个大小不一的条孔。本实用新型的优点在于:搅拌均匀彻底,且消泡效果好。

Figure 201920587259

The utility model discloses a batching stirring reaction device for the production of washing and chemical products, which comprises a main body, a rotating shaft is arranged in the main body, one end of the rotating shaft extends to the bottom of the main body and is connected to a U-shaped stirring blade, and the other end extends to the The outer side of the main body is connected to the motor through a reducer. The rotating shaft is provided with a floating plate and a stirring fan blade in sequence from top to bottom. The floating plate is made of light materials that can float on the water surface. The hole is sleeved on the rotating shaft, a plurality of strip-shaped mounting plates are arranged above the inner wall of the main body, the vertical direction of the mounting plate is provided with a chute, and the mounting plate is provided with a connection block matched with the connecting block. The opening slot, the floating plate is provided with a plurality of through holes, the bottom of the floating plate is provided with a plurality of sharp needles, and the stirring fan blades are provided with a plurality of strip holes of different sizes. The utility model has the advantages that the stirring is uniform and thorough, and the defoaming effect is good.

Figure 201920587259

Description

Washing chemical products production is with batching stirring reaction unit
Technical Field
The utility model relates to a liquid stirring device field specifically indicates a washing chemical products production is with batching stirring reaction unit.
Background
Detergents are products specifically formulated for cleaning by a washing process. The main components are usually composed of surfactants, builders, additives, etc., and the types of detergents are many, and they are classified into heavy-duty detergents and light-duty detergents according to the type of soil removed; the product can be divided into powder, block, paste, slurry, liquid and other forms according to the appearance of the product.
At present, in the production process of liquid detergents, various ingredients are required to be stirred, but because the density of the detergents is high, the detergents are not mixed uniformly and thoroughly enough and bubbles are easily generated, and therefore, the ingredient stirring reaction device for producing washing products with good stirring effect needs to be researched.
SUMMERY OF THE UTILITY MODEL
The utility model aims to solve the technical defect above overcoming and provide a washing chemical product production is with batching stirring reaction unit that stirring effect is good and the bubble is few.
In order to solve the technical problem, the utility model provides a technical scheme does: the utility model provides a washing chemical products production is with batching stirring reaction unit, includes the body, the body be double-deck tank column structure, the bottom of body be ARC structure, body top both sides be equipped with feed inlet and blow vent respectively, this internal pivot that is equipped with, pivot one end extend to the stirring leaf of bottom connection U type in the body, the other end extends to the body outside and passes through the speed reducer and connect the motor, the pivot from last kickboard and the stirring flabellum of being equipped with down in proper order, the kickboard adopt the light material that can float on the surface of water to make, the kickboard cup joint in the pivot through the round hole, body inner wall top be equipped with a plurality of banding mounting panels, the vertical direction of mounting panel be equipped with the spout, the cross-section of spout be circular structure, the kickboard reciprocate in the spout through the connecting block, the mounting panel on be equipped with connecting block matched with open slot, the utility model discloses a stirring fan blade, including the spout, the kickboard, the bottom of kickboard, open slot intercommunication spout and cross sectional area be less than the cross sectional area of spout, the kickboard on be equipped with a plurality of through-holes, the bottom of kickboard be equipped with a plurality of sharp needles, stirring fan blade on a plurality of strip holes of different sizes.
As the improvement, the upper end of stirring leaf and pivot between be equipped with the connecting rod, design like this can increase stirring fan blade's stability on the one hand, the vortex when on the other hand can increase the stirring for the stirring is more even.
As an improvement, the sharp needle is fixed on the floating plate through two baffle plates, and the baffle plates are respectively positioned on the upper side and the lower side of the floating plate to prevent the sharp needle from deviating in the use process.
As an improvement, the bottom of the body is provided with a liquid outlet, the upper end of the liquid outlet is of an arc-shaped structure, the lower end of the liquid outlet is connected with a liquid outlet pipe, and one end, far away from the liquid outlet, of the liquid outlet pipe is inclined upwards.
As an improvement, a valve is arranged on the liquid outlet pipe.
As an improvement, the bottom of the body is provided with a plurality of supporting legs.
As an improvement, the stirring fan blades are provided with a plurality of groups.
As an improvement, a gasket is arranged in the round hole.
Compared with the prior art, the utility model the advantage lie in: in the device provided by the utility model, the stirring blade and the stirring fan blade are utilized for stirring, and the stirring fan blade is provided with a plurality of strip-shaped through holes with different sizes, so that the generated vortex can be added when stirring, and the stirring is more thorough; the rotating shaft is provided with a floating plate, the sharp needle on the floating plate can puncture the foam generated during stirring, and the floating plate can move in the sliding groove along with the liquid level, so that the using effect is good.
Drawings
FIG. 1 is a schematic structural diagram of a mixing and stirring reaction device for producing washing and chemical products.
Fig. 2 is a schematic structural diagram of the floating plate of the mixing and stirring reaction device for producing washing products of the present invention.
FIG. 3 is a schematic view of the position of the baffle of the mixing and stirring reaction device for producing washing and chemical articles
As shown in the figure: 1. the device comprises a body, 2, a feeding hole, 3, a vent hole, 4, a rotating shaft, 5, a stirring blade, 6, a floating plate, 7, a stirring blade, 8, a mounting plate, 9, a sliding groove, 10, a connecting block, 11, an open slot, 12, a through hole, 13, a sharp needle, 14, a strip hole, 15, a connecting rod, 16, a baffle plate, 17, a liquid outlet, 18, a liquid outlet pipe, 19, a valve, 20, a supporting leg, 21, a round hole, 22, a gasket, 23 and a motor.
Detailed Description
The present invention will be described in further detail with reference to the accompanying drawings.
The utility model provides a washing chemicals production is with batching stirring reaction unit, includes body 1, body 1 be double-deck jar column structure, the bottom of body 1 be the arcuation structure, body 1 top both sides be equipped with feed inlet 2 and blow vent 3 respectively, body 1 in be equipped with pivot 4, 4 one end of pivot extend to body 1 in the bottom connect the stirring leaf 5 of U type, the other end extends to the body 1 outside and passes through speed reducer connection motor 23, pivot 4 from last to being equipped with kickboard 6 and stirring flabellum 7 down in proper order, kickboard 6 adopt the light material that can float on the surface of water to make, kickboard 6 cup joint on pivot 4 through round hole 21, body 1 inner wall top be equipped with a plurality of banding mounting panels 8, mounting panel 8's vertical direction be equipped with spout 9, the cross-section of spout 9 be circular structure, the kickboard 6 reciprocate in spout 9 through connecting block 10, mounting panel 8 on be equipped with connecting block 10 matched with open slot 11, open slot 11 intercommunication spout 9 and cross sectional area be less than the cross sectional area of spout 9, kickboard 6 on be equipped with a plurality of through-holes 12, the bottom of kickboard 6 be equipped with a plurality of sharp needles 13, stirring fan blade 7 on a plurality of strip holes 14 that differ in size.
A connecting rod 15 is arranged between the upper end of the stirring blade 5 and the rotating shaft 4.
The pointed needle 13 is fixed on the floating plate 6 through two baffles 16, and the baffles 16 are respectively positioned at the upper side and the lower side of the floating plate 6.
The bottom of the body 1 is provided with a liquid outlet 17, the upper end of the liquid outlet 17 is of an arc-shaped structure, the lower end of the liquid outlet 17 is connected with a liquid outlet pipe 18, and one end of the liquid outlet pipe 18, which is far away from the liquid outlet 17, is inclined and upwards arranged.
The liquid outlet pipe 18 is provided with a valve 19.
The bottom of the body 1 is provided with a plurality of supporting feet 20.
The stirring fan blades 7 are provided with a plurality of groups.
A gasket 22 is arranged in the round hole 21.
The utility model discloses a theory of operation: from feed inlet 2 with the raw materials deliver to body 1 in, starter motor 23 drives pivot 4 and rotates, stirring leaf 5 and stirring fan blade 7 cooperation connecting rod 15 and strip hole 14 make liquid produce more vortex, the stirring is more even, kickboard 7 floats in the liquid top, the foam that the stirring produced can be punctureed to sharp needle 13, kickboard 7 reciprocates in spout 9 through connecting block 10 through kickboard 6, be fit for different liquid level height, liquid after the stirring is accomplished is discharged from liquid outlet 17 and drain pipe 18.
The present invention and the embodiments thereof have been described above, but the description is not limited thereto, and the embodiment shown in the drawings is only one of the embodiments of the present invention, and the actual structure is not limited thereto. In summary, those skilled in the art should understand that they should not be limited to the embodiments described above, and that they can design the similar structure and embodiments without departing from the spirit of the invention.

Claims (8)

1.一种洗化用品生产用配料搅拌反应装置,包括本体(1),所述的本体(1)为双层罐状结构,所述的本体(1)的底部为弧状结构,所述的本体(1)上方两侧分别设有进料口(2)和通气口(3),所述的本体(1)内设有转轴(4),其特征在于:所述的转轴(4)一端延伸至本体(1)内底部连接U型的搅拌叶(5),另一端延伸至本体(1)外侧通过减速机连接电机(23),所述的转轴(4)从上至下依次设有浮板(6)和搅拌扇叶(7),所述的浮板(6)采用能浮在水面的轻质材料制成,所述的浮板(6)通过圆孔(21)套接在转轴(4)上,所述的本体(1)内壁上方设有多个条状的安装板(8),所述的安装板(8)的垂直方向设有滑槽(9),所述的滑槽(9)的截面为圆形结构,所述的浮板(6)通过连接块(10)在滑槽(9)内上下移动,所述的安装板(8)上设有与连接块(10)相配合的开口槽(11),所述的开口槽(11)连通滑槽(9)且截面面积小于滑槽(9)的截面面积,所述的浮板(6)上设有多个通孔(12),所述的浮板(6)的底部设有多个尖针(13),所述的搅拌扇叶(7)上多个大小不一的条状的条孔(14)。1. A batching stirring reaction device for the production of washing and chemical products, comprising a body (1), the body (1) is a double-layer tank structure, the bottom of the body (1) is an arc structure, and the body (1) is an arc structure. A feeding port (2) and a ventilation port (3) are respectively provided on both sides above the main body (1), and a rotating shaft (4) is arranged in the main body (1), characterized in that one end of the rotating shaft (4) The U-shaped stirring blade (5) extends to the inner bottom of the main body (1), and the other end extends to the outside of the main body (1) and is connected to the motor (23) through a reducer. The rotating shaft (4) is sequentially provided with The floating plate (6) and the stirring fan blade (7), the floating plate (6) is made of light material that can float on the water surface, and the floating plate (6) is sleeved on the surface of the water through the circular hole (21). On the rotating shaft (4), a plurality of strip-shaped mounting plates (8) are arranged above the inner wall of the main body (1). The vertical direction of the mounting plate (8) is provided with a chute (9). The cross section of the chute (9) is a circular structure, the floating plate (6) moves up and down in the chute (9) through the connecting block (10), and the mounting plate (8) is provided with a connecting block (10) A matching opening slot (11), the opening slot (11) communicates with the chute (9) and has a cross-sectional area smaller than that of the chute (9), and the floating plate (6) is provided with A plurality of through holes (12), a plurality of sharp needles (13) are arranged at the bottom of the floating plate (6), and a plurality of strip holes (13) of different sizes are provided on the stirring fan blade (7). 14). 2.根据权利要求1所述的一种洗化用品生产用配料搅拌反应装置,其特征在于:所述的搅拌叶(5)的上端与转轴(4)之间设有连杆(15)。2 . The batching stirring reaction device for the production of washing and chemical products according to claim 1 , wherein a connecting rod ( 15 ) is arranged between the upper end of the stirring blade ( 5 ) and the rotating shaft ( 4 ). 3 . 3.根据权利要求1所述的一种洗化用品生产用配料搅拌反应装置,其特征在于:所述的尖针(13)通过两个挡板(16)固定在浮板(6)上,所述挡板(16)分别位于浮板(6)的上下侧。3. The batching stirring reaction device for the production of a cleaning and chemical product according to claim 1, is characterized in that: the pointed needle (13) is fixed on the floating plate (6) by two baffles (16), The baffles (16) are respectively located on the upper and lower sides of the floating plate (6). 4.根据权利要求1所述的一种洗化用品生产用配料搅拌反应装置,其特征在于:所述的本体(1)底部设有出液口(17),所述的出液口(17)上端为弧状结构,下端连接出液管(18),所述的出液管(18)远离出液口(17)的一端倾斜向上设置。4. The ingredient stirring reaction device for the production of a cleaning and chemical product according to claim 1, characterized in that: the bottom of the main body (1) is provided with a liquid outlet (17), and the liquid outlet (17) ) has an arc-shaped structure at its upper end, and is connected to a liquid outlet pipe (18) at its lower end, and the end of the liquid outlet pipe (18) away from the liquid outlet (17) is inclined upward. 5.根据权利要求4所述的一种洗化用品生产用配料搅拌反应装置,其特征在于:所述的出液管(18)上设有阀门(19)。5 . The ingredient stirring reaction device for the production of cleaning and chemical products according to claim 4 , wherein a valve ( 19 ) is provided on the liquid outlet pipe ( 18 ). 6 . 6.根据权利要求1所述的一种洗化用品生产用配料搅拌反应装置,其特征在于:所诉的本体(1)底部设有多个支撑脚(20)。6 . The ingredient stirring reaction device for the production of washing and chemical products according to claim 1 , characterized in that: the bottom of the body ( 1 ) is provided with a plurality of supporting feet ( 20 ). 7 . 7.根据权利要求1所述的一种洗化用品生产用配料搅拌反应装置,其特征在于:所述的搅拌扇叶(7)设有多组。7 . The ingredient stirring reaction device for the production of cleaning and chemical products according to claim 1 , wherein the stirring fan blades ( 7 ) are provided with multiple groups. 8 . 8.根据权利要求1所述的一种洗化用品生产用配料搅拌反应装置,其特征在于:所述的圆孔(21)内设有垫片(22)。8 . The ingredient stirring reaction device for the production of cleaning and chemical products according to claim 1 , wherein the circular hole ( 21 ) is provided with a gasket ( 22 ). 9 .
CN201920587259.9U 2019-04-26 2019-04-26 A kind of batching stirring reaction device for the production of washing and chemical products Expired - Fee Related CN210303314U (en)

Priority Applications (1)

Application Number Priority Date Filing Date Title
CN201920587259.9U CN210303314U (en) 2019-04-26 2019-04-26 A kind of batching stirring reaction device for the production of washing and chemical products

Applications Claiming Priority (1)

Application Number Priority Date Filing Date Title
CN201920587259.9U CN210303314U (en) 2019-04-26 2019-04-26 A kind of batching stirring reaction device for the production of washing and chemical products

Publications (1)

Publication Number Publication Date
CN210303314U true CN210303314U (en) 2020-04-14

Family

ID=70136859

Family Applications (1)

Application Number Title Priority Date Filing Date
CN201920587259.9U Expired - Fee Related CN210303314U (en) 2019-04-26 2019-04-26 A kind of batching stirring reaction device for the production of washing and chemical products

Country Status (1)

Country Link
CN (1) CN210303314U (en)

Cited By (1)

* Cited by examiner, † Cited by third party
Publication number Priority date Publication date Assignee Title
CN115041352A (en) * 2022-07-04 2022-09-13 四川晨飞科技有限公司 Pressure-sensitive adhesive coating production method

Cited By (1)

* Cited by examiner, † Cited by third party
Publication number Priority date Publication date Assignee Title
CN115041352A (en) * 2022-07-04 2022-09-13 四川晨飞科技有限公司 Pressure-sensitive adhesive coating production method

Similar Documents

Publication Publication Date Title
CN206604415U (en) A kind of construction of the highway mixer
CN210303314U (en) A kind of batching stirring reaction device for the production of washing and chemical products
CN209440519U (en) One kind is for building can stirring easy cleaning blender
CN204380587U (en) A new type of mixer
CN210934639U (en) blender
CN211487386U (en) Skin care products production is with liquid washing agitated kettle
CN107243289A (en) Improve the new additive agent mixing device of batch mixing efficiency
CN216538253U (en) Production of salad sauce is with high-efficient emulsification isotropic symmetry
CN214319822U (en) High-efficient agitating unit of wet vermicelli
CN209451677U (en) A kind of compounding polycarboxylic acid kettle agitating device
CN213854573U (en) A kind of 2,5-dimethoxy-3-methylpyrazine reactor
CN212819578U (en) Coating dispersion equipment with circulation dispersion function
CN209049250U (en) A kind of refractory brick batch mixer
CN210492483U (en) Easy-to-clean egg beater
CN208740072U (en) A kind of cleaning and dipping and mixing equipment for hot pickled mustard tuber
CN214183063U (en) 2-chlorine-5-trifluoromethyl pyridine production is with washing neutralization kettle
CN209123791U (en) A kind of chemical industry liquid stirrers
CN208553946U (en) A kind of processing equipment of liquid shell powder coating
CN206778264U (en) A kind of efficiently industrial chemicals agitating device
CN215233566U (en) A energy-conserving comprehensive utilization pond for milk processing production
CN206355985U (en) A kind of scraped wall reactor for DYE PRODUCTION
CN206229261U (en) A kind of culture medium of edible fungus stock stirring device
CN216826034U (en) A agitating unit for beverage processing production
CN217662853U (en) Gypsum board side ejection of compact agitated vessel
CN219024031U (en) Feed proportioning bin

Legal Events

Date Code Title Description
GR01 Patent grant
GR01 Patent grant
CF01 Termination of patent right due to non-payment of annual fee
CF01 Termination of patent right due to non-payment of annual fee

Granted publication date: 20200414