CN210282050U - 一种驱动器测试用通用夹具 - Google Patents

一种驱动器测试用通用夹具 Download PDF

Info

Publication number
CN210282050U
CN210282050U CN201921361865.5U CN201921361865U CN210282050U CN 210282050 U CN210282050 U CN 210282050U CN 201921361865 U CN201921361865 U CN 201921361865U CN 210282050 U CN210282050 U CN 210282050U
Authority
CN
China
Prior art keywords
mounting
fixed
mounting panel
threaded
driver
Prior art date
Legal status (The legal status is an assumption and is not a legal conclusion. Google has not performed a legal analysis and makes no representation as to the accuracy of the status listed.)
Expired - Fee Related
Application number
CN201921361865.5U
Other languages
English (en)
Inventor
卢艺峰
Current Assignee (The listed assignees may be inaccurate. Google has not performed a legal analysis and makes no representation or warranty as to the accuracy of the list.)
Guangzhou Yinuo Electromechanical Technology Co Ltd
Original Assignee
Guangzhou Yinuo Electromechanical Technology Co Ltd
Priority date (The priority date is an assumption and is not a legal conclusion. Google has not performed a legal analysis and makes no representation as to the accuracy of the date listed.)
Filing date
Publication date
Application filed by Guangzhou Yinuo Electromechanical Technology Co Ltd filed Critical Guangzhou Yinuo Electromechanical Technology Co Ltd
Priority to CN201921361865.5U priority Critical patent/CN210282050U/zh
Application granted granted Critical
Publication of CN210282050U publication Critical patent/CN210282050U/zh
Expired - Fee Related legal-status Critical Current
Anticipated expiration legal-status Critical

Links

Images

Landscapes

  • Investigating Strength Of Materials By Application Of Mechanical Stress (AREA)

Abstract

本实用新型属于驱动器测试技术领域,尤其为一种驱动器测试用通用夹具,包括安装板,所述安装板上开设有安装槽,所述安装槽内转动安装有丝杆,所述丝杆上开设有两段旋向相反的螺纹,所述安装板上对称开设有两个滑槽,所述安装板上方设有两个移动板,两个移动板的底部均固定安装有第一固定块和两个第二固定块,所述第一固定块上开设有螺纹通孔,所述丝杆贯穿两个所述螺纹通孔并与两个所述螺纹通孔螺纹连接,四个所述第二固定块分别与相应的滑槽滑动连接,两个所述移动板相互靠近的一侧均固定安装有第一皮垫。本实用新型结构牢靠,操作方便,能够将驱动电机固定牢靠,更便于测试,同时能够提高测试结果的准确性。

Description

一种驱动器测试用通用夹具
技术领域
本实用新型涉及驱动器测试技术领域,尤其涉及一种驱动器测试用通用夹具。
背景技术
驱动器顾名思义是指驱动某类设备的驱动硬件,一般驱动器包括驱动电机和控制器,通过控制器来控制电机的转动,在驱动器出厂前需要对驱动器进行数据测试,传统的测试方式是直接对电机进行测试,但是,驱动电机转动时,存在移动的晃动,这样对测试数据会产生一定的误差,使测试结果不准确,为此,提出一种驱动器测试用通用夹具。
实用新型内容
本实用新型的目的是为了解决现有技术中存在的缺点,而提出的一种驱动器测试用通用夹具。
为了实现上述目的,本实用新型采用了如下技术方案:一种驱动器测试用通用夹具,包括安装板,所述安装板上开设有安装槽,所述安装槽内转动安装有丝杆,所述丝杆上开设有两段旋向相反的螺纹,所述安装板上对称开设有两个滑槽,所述安装板上方设有两个移动板,两个移动板的底部均固定安装有第一固定块和两个第二固定块,所述第一固定块上开设有螺纹通孔,所述丝杆贯穿两个所述螺纹通孔并与两个所述螺纹通孔螺纹连接,四个所述第二固定块分别与相应的滑槽滑动连接,两个所述移动板相互靠近的一侧均固定安装有第一皮垫。
优选的,所述安装板的一侧固定安装有固定板,所述固定板的顶部设有第二皮垫。
优选的,所述安装槽的两侧均开设有轴承孔,两个所述轴承孔内均固定安装有轴承,两个所述轴承的内圈均与所述丝杆固定连接。
优选的,所述丝杆的一端延伸至所述安装板外并固定安装有手把。
优选的,所述安装板上对称开设有两个安装腔,两个所述安装腔内均设有滑杆,两个所述滑杆的同一端均固定安装有滑块,所述滑块与所述安装腔滑动连接,两个所述安装腔内均设有弹簧,所述弹簧的两端分别与所述滑块和所述安装腔的一侧相接触,两个所述滑杆远离相应的滑块的一端转动安装有同一个转动杆,所述转动杆的顶端和底端均固定安装有限位块,所述转动杆上固定安装有方形块。
优选的,所述丝杆的一端开设有方形槽,所述方形槽与所述方形块相适配。
与现有技术相比,本实用新型的有益效果是:首先,该装置通过安装板、安装槽、丝杆、滑槽、移动板、第一固定块、第二固定块、第一皮垫、固定板、第二皮垫、手把、安装腔、滑杆、滑块、弹簧、转动杆、限位块和方形块的相配合,将驱动器放置在两个第一皮垫之间,将驱动器的一端与第二皮垫接触,再拉动转动杆,转动杆带动方形块移动,同时转动杆调动两个滑杆移动,滑杆移动带动滑块移动,滑块压缩弹簧,直到方形块完全移出丝杆上的方形槽时,将转动杆转动90度,转动杆带动方形块转动90度,在松开转动杆,使两个滑杆回到初始位置,此时方形块不与方形槽接触,此时,转动手把,手把带动丝杆转动,丝杆转动使两个第一固定块相互靠近,第一固定块移动带动移动板移动,移动板移动带动第一皮垫移动,直到来两个第一皮垫将驱动器夹紧停止转动手把,在将方形块转动90度,使方形块再次进入到方形槽内,此时,方形块对丝杆起到固定的作用,使得丝杆不会在发生转动,从而使第一皮垫对驱动器的夹持更稳定。
本实用新型结构牢靠,操作方便,能够将驱动电机固定牢靠,更便于测试,同时能够提高测试结果的准确性。
附图说明
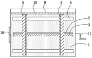
图1为本实用新型的俯视结构示意图;
图2为本实用新型的俯视剖视结构示意图;
图3为图2中A部分的放大图;
图4为本实用新型的正视剖视结构示意图;
图5为本实用新型中第一固定块、第二固定块与移动板的装配图。
图中:1、安装板;2、安装槽;3、丝杆;4、滑槽;5、移动板;6、第一固定块;7、第二固定块;8、第一皮垫;9、固定板;10、第二皮垫;11、手把;12、安装腔;13、滑杆;14、滑块;15、弹簧;16、转动杆;17、限位块;18、方形块。
具体实施方式
下面将结合本实用新型实施例中的附图,对本实用新型实施例中的技术方案进行清楚、完整地描述,显然,所描述的实施例仅仅是本实用新型一部分实施例,而不是全部的实施例。基于本实用新型中的实施例,本领域普通技术人员在没有做出创造性劳动前提下所获得的所有其他实施例,都属于本实用新型保护的范围。
请参照图1-5,本实用新型提供一种技术方案:一种驱动器测试用通用夹具,包括安装板1,安装板1上开设有安装槽2,安装槽2内转动安装有丝杆3,丝杆3上开设有两段旋向相反的螺纹,安装板1上对称开设有两个滑槽4,安装板1上方设有两个移动板5,两个移动板5的底部均固定安装有第一固定块6和两个第二固定块7,第一固定块6上开设有螺纹通孔,丝杆3贯穿两个螺纹通孔并与两个螺纹通孔螺纹连接,四个第二固定块7分别与相应的滑槽4滑动连接,两个移动板5相互靠近的一侧均固定安装有第一皮垫8;
安装板1的一侧固定安装有固定板9,固定板9的顶部设有第二皮垫10,第二皮垫10可减少的驱动器的磨损,安装槽2的两侧均开设有轴承孔,两个轴承孔内均固定安装有轴承,两个轴承的内圈均与丝杆3固定连接,,两个轴承对丝杆3起到固定支撑的作用,丝杆3的一端延伸至安装板1外并固定安装有手把11,手把11便于转动丝杆3,安装板1上对称开设有两个安装腔12,两个安装腔12内均设有滑杆13,两个滑杆13的同一端均固定安装有滑块14,滑块14与安装腔12滑动连接,两个安装腔12内均设有弹簧15,弹簧15的两端分别与滑块14和安装腔12的一侧相接触,两个滑杆13远离相应的滑块14的一端转动安装有同一个转动杆16,转动杆16的顶端和底端均固定安装有限位块17,转动杆16上固定安装有方形块18,限位块17对转动杆16起到限位的作用,丝杆3的一端开设有方形槽,方形槽与方形块18相适配,通过方形块18和方形槽的配合,可对丝杆3起到固定的作用,通过安装板1、安装槽2、丝杆3、滑槽4、移动板5、第一固定块6、第二固定块7、第一皮垫8、固定板9、第二皮垫10、手把11、安装腔12、滑杆13、滑块14、弹簧15、转动杆16、限位块17和方形块18的相配合,将驱动器放置在两个第一皮垫8之间,将驱动器的一端与第二皮垫10接触,再拉动转动杆16,转动杆16带动方形块18移动,同时转动杆16调动两个滑杆13移动,滑杆13移动带动滑块14移动,滑块14压缩弹簧15,直到方形块18完全移出丝杆3上的方形槽时,将转动杆16转动90度,转动杆16带动方形块18转动90度,在松开转动杆16,使两个滑杆13回到初始位置,此时方形块18不与方形槽接触,此时,转动手把11,手把11带动丝杆3转动,丝杆3转动使两个第一固定块6相互靠近,第一固定块6移动带动移动板5移动,移动板5移动带动第一皮垫8移动,直到来两个第一皮垫8将驱动器夹紧停止转动手把11,在将方形块18转动90度,使方形块18再次进入到方形槽内,此时,方形块18对丝杆3起到固定的作用,使得丝杆3不会在发生转动,从而使第一皮垫8对驱动器的夹持更稳定,本实用新型结构牢靠,操作方便,能够将驱动电机固定牢靠,更便于测试,同时能够提高测试结果的准确性。
工作原理:使用时,将驱动器放置在两个第一皮垫8之间,将驱动器的一端与第二皮垫10接触,再拉动转动杆16,转动杆16带动方形块18移动,同时转动杆16调动两个滑杆13移动,滑杆13移动带动滑块14移动,滑块14压缩弹簧15,直到方形块18完全移出丝杆3上的方形槽时,将转动杆16转动90度,转动杆16带动方形块18转动90度,在松开转动杆16,使两个滑杆13回到初始位置,此时方形块18不与方形槽接触,此时,转动手把11,手把11带动丝杆3转动,丝杆3转动使两个第一固定块6相互靠近,第一固定块6移动带动移动板5移动,移动板5移动带动第一皮垫8移动,直到来两个第一皮垫8将驱动器夹紧停止转动手把11,在将方形块18转动90度,使方形块18再次进入到方形槽内,此时,方形块18对丝杆3起到固定的作用,使得丝杆3不会在发生转动,从而使第一皮垫8对驱动器的夹持更稳定。
以上所述,仅为本实用新型较佳的具体实施方式,但本实用新型的保护范围并不局限于此,任何熟悉本技术领域的技术人员在本实用新型揭露的技术范围内,根据本实用新型的技术方案及其实用新型构思加以等同替换或改变,都应涵盖在本实用新型的保护范围之内。

Claims (6)

1.一种驱动器测试用通用夹具,包括安装板(1),其特征在于:所述安装板(1)上开设有安装槽(2),所述安装槽(2)内转动安装有丝杆(3),所述丝杆(3)上开设有两段旋向相反的螺纹,所述安装板(1)上对称开设有两个滑槽(4),所述安装板(1)上方设有两个移动板(5),两个移动板(5)的底部均固定安装有第一固定块(6)和两个第二固定块(7),所述第一固定块(6)上开设有螺纹通孔,所述丝杆(3)贯穿两个所述螺纹通孔并与两个所述螺纹通孔螺纹连接,四个所述第二固定块(7)分别与相应的滑槽(4)滑动连接,两个所述移动板(5)相互靠近的一侧均固定安装有第一皮垫(8)。
2.根据权利要求1所述的一种驱动器测试用通用夹具,其特征在于:所述安装板(1)的一侧固定安装有固定板(9),所述固定板(9)的顶部设有第二皮垫(10)。
3.根据权利要求1所述的一种驱动器测试用通用夹具,其特征在于:所述安装槽(2)的两侧均开设有轴承孔,两个所述轴承孔内均固定安装有轴承,两个所述轴承的内圈均与所述丝杆(3)固定连接。
4.根据权利要求1所述的一种驱动器测试用通用夹具,其特征在于:所述丝杆(3)的一端延伸至所述安装板(1)外并固定安装有手把(11)。
5.根据权利要求1所述的一种驱动器测试用通用夹具,其特征在于:所述安装板(1)上对称开设有两个安装腔(12),两个所述安装腔(12)内均设有滑杆(13),两个所述滑杆(13)的同一端均固定安装有滑块(14),所述滑块(14)与所述安装腔(12)滑动连接,两个所述安装腔(12)内均设有弹簧(15),所述弹簧(15)的两端分别与所述滑块(14)和所述安装腔(12)的一侧相接触,两个所述滑杆(13)远离相应的滑块(14)的一端转动安装有同一个转动杆(16),所述转动杆(16)的顶端和底端均固定安装有限位块(17),所述转动杆(16)上固定安装有方形块(18)。
6.根据权利要求5所述的一种驱动器测试用通用夹具,其特征在于:所述丝杆(3)的一端开设有方形槽,所述方形槽与所述方形块(18)相适配。
CN201921361865.5U 2019-08-21 2019-08-21 一种驱动器测试用通用夹具 Expired - Fee Related CN210282050U (zh)

Priority Applications (1)

Application Number Priority Date Filing Date Title
CN201921361865.5U CN210282050U (zh) 2019-08-21 2019-08-21 一种驱动器测试用通用夹具

Applications Claiming Priority (1)

Application Number Priority Date Filing Date Title
CN201921361865.5U CN210282050U (zh) 2019-08-21 2019-08-21 一种驱动器测试用通用夹具

Publications (1)

Publication Number Publication Date
CN210282050U true CN210282050U (zh) 2020-04-10

Family

ID=70062872

Family Applications (1)

Application Number Title Priority Date Filing Date
CN201921361865.5U Expired - Fee Related CN210282050U (zh) 2019-08-21 2019-08-21 一种驱动器测试用通用夹具

Country Status (1)

Country Link
CN (1) CN210282050U (zh)

Cited By (2)

* Cited by examiner, † Cited by third party
Publication number Priority date Publication date Assignee Title
CN112454498A (zh) * 2020-10-24 2021-03-09 中创科技孵化器泰州有限公司 一种新材料切割设备定位座
CN114046892A (zh) * 2021-09-29 2022-02-15 四川华能氢能科技有限公司 一种标准化的多功能电解槽测试系统

Cited By (3)

* Cited by examiner, † Cited by third party
Publication number Priority date Publication date Assignee Title
CN112454498A (zh) * 2020-10-24 2021-03-09 中创科技孵化器泰州有限公司 一种新材料切割设备定位座
CN114046892A (zh) * 2021-09-29 2022-02-15 四川华能氢能科技有限公司 一种标准化的多功能电解槽测试系统
CN114046892B (zh) * 2021-09-29 2023-09-26 四川华能氢能科技有限公司 一种标准化的多功能电解槽测试系统

Similar Documents

Publication Publication Date Title
CN210282050U (zh) 一种驱动器测试用通用夹具
CN212311582U (zh) 一种用于轴承加工的端面支撑
CN208841227U (zh) 一种工装夹具
CN222176767U (zh) 一种球阀球体加工用夹具
CN219684449U (zh) 一种油缸支座定位机构
CN209820983U (zh) 一种矽晶片的硬度检测装置
CN219161590U (zh) 一种碟簧弹力检测用定位架
CN209311255U (zh) 一种导轨摩擦磨损试验机
CN221314250U (zh) 一种双动作电缆固定夹持装置
CN112611894A (zh) 一种变频器用自动测试夹具
CN111595680A (zh) 一种橡胶膜片加工抗挤压性形变检测装置
CN214520275U (zh) 一种新型机械臂夹具
CN210909021U (zh) 治具加工用快速定位机构
CN100513093C (zh) 多点位便捷式夹紧台
CN212286767U (zh) 多孔小轴夹紧装置
CN214212861U (zh) 一种单向器滚珠弹簧装配机的装配机构
CN213859135U (zh) 一种用于自动化的可快速翻转的多尺寸适配型夹具
CN210625912U (zh) 一种可调节的玻璃导槽滑动阻力试验工装
CN210549639U (zh) 一种用于铣削加工的铣床夹具
CN109986424B (zh) 卧式双端面磨床用无芯自动装夹机构
CN221561375U (zh) 一种工业机器人用夹持机械臂
CN219666344U (zh) 开尔文测试夹具
CN220660641U (zh) 一种对中夹紧机构
CN222222547U (zh) 一种超薄异形液晶显示玻璃加工用夹持工装
CN218725286U (zh) 一种计算机硬件拔插测试装置

Legal Events

Date Code Title Description
GR01 Patent grant
GR01 Patent grant
CF01 Termination of patent right due to non-payment of annual fee
CF01 Termination of patent right due to non-payment of annual fee

Granted publication date: 20200410