CN210280960U - Automatic iron chip removing mechanism of turntable tapping clamp - Google Patents

Automatic iron chip removing mechanism of turntable tapping clamp Download PDF

Info

Publication number
CN210280960U
CN210280960U CN201921407991.XU CN201921407991U CN210280960U CN 210280960 U CN210280960 U CN 210280960U CN 201921407991 U CN201921407991 U CN 201921407991U CN 210280960 U CN210280960 U CN 210280960U
Authority
CN
China
Prior art keywords
fixedly connected
tapping
machine body
removing mechanism
screw tap
Prior art date
Legal status (The legal status is an assumption and is not a legal conclusion. Google has not performed a legal analysis and makes no representation as to the accuracy of the status listed.)
Active
Application number
CN201921407991.XU
Other languages
Chinese (zh)
Inventor
明平刚
Current Assignee (The listed assignees may be inaccurate. Google has not performed a legal analysis and makes no representation or warranty as to the accuracy of the list.)
Foshan Taichuang Machinery Manufacturing Co ltd
Original Assignee
Foshan Taichuang Machinery Manufacturing Co ltd
Priority date (The priority date is an assumption and is not a legal conclusion. Google has not performed a legal analysis and makes no representation as to the accuracy of the date listed.)
Filing date
Publication date
Application filed by Foshan Taichuang Machinery Manufacturing Co ltd filed Critical Foshan Taichuang Machinery Manufacturing Co ltd
Priority to CN201921407991.XU priority Critical patent/CN210280960U/en
Application granted granted Critical
Publication of CN210280960U publication Critical patent/CN210280960U/en
Active legal-status Critical Current
Anticipated expiration legal-status Critical

Links

Images

Landscapes

  • Cleaning By Liquid Or Steam (AREA)

Abstract

The utility model relates to the technical field of automatic machinery, and discloses an automatic iron chip removing mechanism of a turntable tapping clamp, which comprises a tapping machine body and a tapping screw tap arranged on the tapping machine body, wherein the side wall of the tapping machine body is fixedly connected with a mounting plate, the upper surface of the mounting plate is fixedly connected with an L-shaped bracket through a bolt, the surface of the vertical part of the L-shaped bracket is provided with a through hole, a chip removing mechanism is fixedly connected in the through hole, and the upper surface of the tapping machine body is fixedly connected with a flushing mechanism; the chip removing mechanism comprises an air cylinder fixedly connected with the inner wall of the through hole, and the output end of the air cylinder is fixedly connected with the U-shaped fixing frame. The utility model discloses can conveniently clear away tapping screw tap surface adhesion's iron fillings, improve the processingquality who attacks the tapping screw tap, and can conveniently wash the position of attacking the processing of the tapping screw tap to can separately save product and iron fillings, can conveniently carry out used repeatedly to the washing water simultaneously.

Description

Automatic iron chip removing mechanism of turntable tapping clamp
Technical Field
The utility model relates to the technical field of automatic machine, especially, relate to an automatic iron fillings mechanism that removes of carousel tapping anchor clamps.
Background
The tapping machine is a machine tool for processing internal threads by using a screw tap, and is an internal thread processing machine tool which is most widely applied. According to the national mechanical industry standard, the tapping machine comprises the following components: bench tapper-semi-automatic bench tapper, vertical tapper and horizontal tapper.
Tapping screw tap on current tapping machine is when attacking the tooth, and iron fillings are attached to the surface of attacking the tooth screw tap easily, only can't effectually clear away the iron fillings on attacking the tooth screw tap through the mode that washes, and when attacking the tooth screw tap with iron fillings and attacking the tooth to the product, can cause the influence to the tooth quality of attacking of product.
SUMMERY OF THE UTILITY MODEL
The utility model aims at solving the tapping screw tap of attacking on the tapping machine among the prior art when attacking the tooth, iron fillings attach to the surface of attacking the tapping screw tap easily, only can't effectually clear away the iron fillings on attacking the tapping screw tap through the mode that washes, when attacking the tapping screw tap with iron fillings to the product, can cause the problem of influence to the tooth quality of attacking of product, and the automatic iron fillings mechanism that removes of a carousel tapping anchor clamps that provides.
In order to achieve the above purpose, the utility model adopts the following technical scheme:
the automatic iron chip removing mechanism of the rotary disc tapping clamp comprises a tapping machine body and a tapping screw tap arranged on the tapping machine body, wherein the side wall of the tapping machine body is fixedly connected with a mounting plate, the upper surface of the mounting plate is fixedly connected with an L-shaped support through a bolt, the surface of the vertical part of the L-shaped support is provided with a through hole, a chip removing mechanism is fixedly connected in the through hole, and the upper surface of the tapping machine body is fixedly connected with a flushing mechanism;
the chip removing mechanism comprises a cylinder fixedly connected with the inner wall of the through hole, the output end of the cylinder is fixedly connected with a U-shaped fixing frame, a push rod is fixedly connected into the U-shaped fixing frame through a bolt, and a brush corresponding to a tapping screw tap is fixedly connected to the surface of the push rod.
Preferably, the bottom of the push rod is fixedly connected with a guide rod, and the upper surface of the horizontal part of the L-shaped support is provided with a guide groove corresponding to the guide rod.
Preferably, the flushing mechanism comprises a water storage tank fixedly connected with the upper surface of the tapping machine body, a first pump is fixedly connected in the water storage tank, a first water delivery pipe is fixedly connected at the output end of the first pump, a spray head corresponding to the tapping screw tap is fixedly connected at one end of the first water delivery pipe far away from the first pump, a guide plate is fixedly connected with the side wall of the tapping machine body, a first filter screen is fixedly connected in the guide plate, a guide hole corresponding to the first filter screen is formed in the right side of the guide plate, a collecting box corresponding to the guide hole is movably connected with the side wall of the tapping machine body, a filter box corresponding to the guide plate is fixedly connected with the side wall of the tapping machine body, a second filter screen is movably connected in the filter box, insertion rods are fixedly connected to the left side and the right side of the second filter screen, and insertion holes corresponding to the insertion rods are formed in the left, the inner wall of the bottom of the filter box is fixedly connected with a second pump, the output end of the second pump is fixedly connected with a second water delivery pipe, and one end, far away from the second pump, of the second water delivery pipe is fixedly communicated with the right side of the water storage tank.
Preferably, one side of one of the inserted bars, which is far away from the second filter screen, is fixedly connected with a handle.
Preferably, the top of the water storage tank is provided with a water inlet, and a rubber plug is plugged in the water inlet.
Compared with the prior art, the utility model provides an automatic iron fillings mechanism that removes of carousel tapping anchor clamps possesses following beneficial effect:
1. this automatic iron fillings mechanism that removes of carousel tapping anchor clamps through being provided with tapping screw tap, mounting panel, L type support and antidandruff mechanism, can conveniently clear away tapping screw tap surface adhesion's iron fillings, has improved the processingquality who attacks the screw tap.
2. This automatic iron fillings mechanism that removes of carousel tapping anchor clamps through being provided with washing mechanism, can conveniently wash the position of attacking the tooth screw tap processing to can separately save product and iron fillings, can conveniently carry out used repeatedly to the washing water simultaneously.
The part that does not relate to among the device all is the same with prior art or can adopt prior art to realize, the utility model discloses can conveniently clear away tapping screw tap surface adhesion's iron fillings, improved the processingquality who attacks the screw tap, and can conveniently wash the position of attacking the screw tap processing to can separately save product and iron fillings, can conveniently carry out used repeatedly to the washing water simultaneously.
Drawings
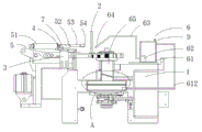
Fig. 1 is a schematic structural view of an automatic iron scrap removing mechanism of a turntable tapping clamp according to the present invention;
fig. 2 is the utility model provides an automatic iron fillings mechanism A part's of removing of carousel tapping anchor clamps schematic structure.
In the figure: 1 tapping machine body, 2 tapping screw taps, 3 mounting plates, 4L-shaped supports, 5 chip removing mechanisms, 51 air cylinders, 52U-shaped fixing frames, 53 push rods, 54 brushes, 6 flushing mechanisms, 61 water storage tanks, 62 first pump machines, 63 first water conveying pipes, 64 spray heads, 65 guide plates, 66 first filter screens, 67 collecting boxes, 68 filter boxes, 69 second filter screens, 610 inserted rods, 611 second pump machines, 612 second water conveying pipes, 7 guide rods, 8 handles and 9 rubber plugs.
Detailed Description
The technical solutions in the embodiments of the present invention will be described clearly and completely with reference to the accompanying drawings in the embodiments of the present invention, and it is obvious that the described embodiments are only some embodiments of the present invention, not all embodiments.
In the description of the present invention, it is to be understood that the terms "upper", "lower", "front", "rear", "left", "right", "top", "bottom", "inner", "outer", and the like indicate orientations or positional relationships based on the orientations or positional relationships shown in the drawings, and are only for convenience of description and simplicity of description, and do not indicate or imply that the device or element being referred to must have a particular orientation, be constructed and operated in a particular orientation, and therefore, should not be construed as limiting the present invention.
Referring to fig. 1-2, an automatic iron chip removing mechanism of a rotary table tapping clamp comprises a tapping machine body 1 and a tapping screw tap 2 arranged on the tapping machine body 1, wherein the side wall of the tapping machine body 1 is fixedly connected with a mounting plate 3, the upper surface of the mounting plate 3 is fixedly connected with an L-shaped support 4 through a bolt, the surface of the vertical part of the L-shaped support 4 is provided with a through hole, a chip removing mechanism 5 is fixedly connected in the through hole, and the upper surface of the tapping machine body 1 is fixedly connected with a washing mechanism 6;
the chip removing mechanism 5 comprises a cylinder 51 fixedly connected with the inner wall of the through hole, an output end of the cylinder 51 is fixedly connected with a U-shaped fixing frame 52, a push rod 53 is fixedly connected with the U-shaped fixing frame 52 through bolts, the surface of the push rod 53 is fixedly connected with a brush 54 corresponding to the tapping screw tap 2, the chip attached to the surface of the tapping screw tap 2 can be conveniently removed, and the processing quality of the tapping screw tap 2 is improved.
The bottom of push rod 53 is fixedly connected with guide bar 7, and the upper surface of the horizontal part of L type support 4 sets up the guide way corresponding with guide bar 7, can conveniently carry on spacingly to the shift position of push rod 53, is convenient for it slides.
The flushing mechanism 6 comprises a water storage tank 61 fixedly connected with the upper surface of the tapping machine body 1, a first pump 62 is fixedly connected in the water storage tank 61, a first water delivery pipe 63 is fixedly connected at the output end of the first pump 62, a spray head 64 corresponding to the tapping screw tap 2 is fixedly connected at one end of the first water delivery pipe 63 far away from the first pump 62, a guide plate 65 is fixedly connected with the side wall of the tapping machine body 1, a first filter screen 66 is fixedly connected in the guide plate 65, a guide hole corresponding to the first filter screen 66 is formed in the right side of the guide plate 65, a collecting box 67 corresponding to the guide hole is movably connected with the side wall of the tapping machine body 1, a filter box 68 corresponding to the guide plate 65 is fixedly connected with the side wall of the tapping machine body 1, a second filter screen 69 is movably connected in the filter box 68, inserting rods 610 are fixedly connected on the left side and the right side of the second filter screen 69, inserting holes, the inner wall of the bottom of the filter box 68 is fixedly connected with a second pump machine 611, the output end of the second pump machine 611 is fixedly connected with a second water pipe 612, one end, far away from the second pump machine 611, of the second water pipe 612 is fixedly communicated with the right side of the water storage tank 61, the position for processing the tapping screw tap 2 can be conveniently washed, products and scrap iron can be stored separately, and meanwhile, the washing water can be conveniently reused.
One side of one of the insert rods 610 far away from the second filter screen 69 is fixedly connected with a handle 8, so that the insert rod 610 can be conveniently pulled.
The water inlet has been seted up at the top of storage water tank 61, and the water inlet internal stopper has rubber buffer 9, can conveniently add water into storage water tank 61.
The cylinder 51, the first pump 62 and the second pump 611 are all electrically connected to an external power source through a control switch, so as to ensure that the power supply is supported during operation.
In the utility model, when scrap iron on the surface of the tapping screw tap 2 needs to be removed, the cylinder 51 is started, the cylinder 51 pushes the U-shaped fixing frame 52, the U-shaped fixing frame 52 pushes the push rod 53, the push rod 53 slides in the guide groove on the L-shaped support 4 through the guide rod 7, and the brush 54 is pushed to be attached to the tapping screw tap 2, the tapping screw tap 2 is contacted with the brush 54 by utilizing the high-speed rotating force of the tapping screw tap 2, the brush 54 brushes the scrap iron on the tapping screw tap 2 and withdraws the tapping screw tap through the cylinder 51, and the scrap iron on the tapping screw tap 2 is cleared after the tapping screw tap 2 is used for the next time, the scrap iron attached to the surface of the tapping screw tap 2 can be conveniently cleared away, the processing quality of the tapping screw tap 2 is improved, in the processing process of the tapping screw tap 2, the first pump 62 is started, the first pump 62 pumps water from the water storage tank 61 and conveys the water to the first water pipe 63, and the position for processing the tapping screw tap 2 is flushed through the spray, the water drives the iron filings to enter the guide plate 65, and the larger iron filings are intercepted by the first filter screen 66 arranged on the guide plate 65, when the product falls, because the product has an impact force when falling, when falling on the first filter screen 66, the product directly falls into the collecting box 67 through the guide holes on the guide plate 65, the product is collected, the washing water passing through the first filter 66 enters the filter box 68, the smaller iron pieces are filtered by the second filter 69 in the filter box 68, the handle 8 can be pulled, the inserting rod 610 is pulled by the handle 8, the second filter screen 69 is pulled by the inserting rod 610, the second filter screen 69 is taken out for cleaning, the filtered water is conveyed into the water storage tank 61 again through the second pump 611, so that the position of the tapping screw tap 2 to be processed can be conveniently washed, and can separately save product and iron fillings, can conveniently carry out used repeatedly to the washing water simultaneously.
The above, only be the concrete implementation of the preferred embodiment of the present invention, but the protection scope of the present invention is not limited thereto, and any person skilled in the art is in the technical scope of the present invention, according to the technical solution of the present invention and the utility model, the concept of which is equivalent to replace or change, should be covered within the protection scope of the present invention.

Claims (5)

1. The automatic iron chip removing mechanism of the rotary table tapping clamp comprises a tapping machine body (1) and a tapping screw tap (2) arranged on the tapping machine body (1), and is characterized in that a mounting plate (3) is fixedly connected to the side wall of the tapping machine body (1), the upper surface of the mounting plate (3) is fixedly connected with an L-shaped support (4) through a bolt, a through hole is formed in the surface of the vertical part of the L-shaped support (4), a chip removing mechanism (5) is fixedly connected into the through hole, and a washing mechanism (6) is fixedly connected to the upper surface of the tapping machine body (1);
the chip removing mechanism (5) comprises a cylinder (51) fixedly connected with the inner wall of the through hole, the output end of the cylinder (51) is fixedly connected with a U-shaped fixing frame (52), a push rod (53) is fixedly connected with the U-shaped fixing frame (52) through a bolt, and a brush (54) corresponding to the tapping screw tap (2) is fixedly connected to the surface of the push rod (53).
2. The automatic iron scrap removing mechanism of the rotary table tapping clamp according to claim 1, wherein a guide rod (7) is fixedly connected to the bottom of the push rod (53), and a guide groove corresponding to the guide rod (7) is formed in the upper surface of the horizontal part of the L-shaped bracket (4).
3. The automatic iron scrap removing mechanism of the rotary disc tapping clamp according to claim 1, wherein the flushing mechanism (6) comprises a water storage tank (61) fixedly connected with the upper surface of the tapping machine body (1), a first pump (62) is fixedly connected in the water storage tank (61), the output end of the first pump (62) is fixedly connected with a first water pipe (63), one end of the first water pipe (63) far away from the first pump (62) is fixedly connected with a spray head (64) corresponding to the tapping screw tap (2), the side wall of the tapping machine body (1) is fixedly connected with a guide plate (65), a first filter screen (66) is fixedly connected in the guide plate (65), the right side of the guide plate (65) is provided with a guide hole corresponding to the first filter screen (66), the side wall of the tapping machine body (1) is movably connected with a collecting box (67) corresponding to the guide hole, the lateral wall fixedly connected with of tapping organism (1) and filter box (68) corresponding with guide plate (65), swing joint has second filter screen (69) in filter box (68), the equal fixedly connected with inserted bar (610) in both sides about second filter screen (69), the jack corresponding with inserted bar (610) has all been seted up to the left and right sides of filter box (68), the bottom inner wall fixedly connected with second pump machine (611) of filter box (68), the output fixedly connected with second raceway (612) of second pump machine (611), the one end that second pump machine (611) was kept away from in second raceway (612) and the right side fixed intercommunication of storage water tank (61).
4. The automatic iron scrap removing mechanism for the rotary table tapping fixture as claimed in claim 3, wherein a handle (8) is fixedly connected to one side of one of the insert rods (610) away from the second filter screen (69).
5. The automatic iron scrap removing mechanism for the turntable tapping clamp according to claim 3, wherein a water inlet is formed in the top of the water storage tank (61), and a rubber plug (9) is plugged in the water inlet.
CN201921407991.XU 2019-08-28 2019-08-28 Automatic iron chip removing mechanism of turntable tapping clamp Active CN210280960U (en)

Priority Applications (1)

Application Number Priority Date Filing Date Title
CN201921407991.XU CN210280960U (en) 2019-08-28 2019-08-28 Automatic iron chip removing mechanism of turntable tapping clamp

Applications Claiming Priority (1)

Application Number Priority Date Filing Date Title
CN201921407991.XU CN210280960U (en) 2019-08-28 2019-08-28 Automatic iron chip removing mechanism of turntable tapping clamp

Publications (1)

Publication Number Publication Date
CN210280960U true CN210280960U (en) 2020-04-10

Family

ID=70063937

Family Applications (1)

Application Number Title Priority Date Filing Date
CN201921407991.XU Active CN210280960U (en) 2019-08-28 2019-08-28 Automatic iron chip removing mechanism of turntable tapping clamp

Country Status (1)

Country Link
CN (1) CN210280960U (en)

Cited By (1)

* Cited by examiner, † Cited by third party
Publication number Priority date Publication date Assignee Title
CN112024972A (en) * 2020-09-03 2020-12-04 苏州市晋元紧固件有限公司 Bolt grooving machine

Cited By (1)

* Cited by examiner, † Cited by third party
Publication number Priority date Publication date Assignee Title
CN112024972A (en) * 2020-09-03 2020-12-04 苏州市晋元紧固件有限公司 Bolt grooving machine

Similar Documents

Publication Publication Date Title
CN106111607A (en) A kind of rotary pcb board automatic clearing apparatus
CN210280960U (en) Automatic iron chip removing mechanism of turntable tapping clamp
CN209792203U (en) biochemical experiment equipment cleaning equipment
CN209774299U (en) Rust removal device for standard component recovery
CN207940321U (en) An energy-saving disinfection vegetable washing machine
CN110461095A (en) A kind of circuit board debarring process and deburring equipment
CN210942553U (en) Multi-functional filling bucket disinfecting equipment
CN210099059U (en) Shaper
CN205362357U (en) Numerical control punching machine
CN210847414U (en) Panel belt cleaning device is used in production of high-low pressure cabinet
CN209238505U (en) A kind of gear threaded hole descaling machine
CN210647402U (en) Mould belt cleaning device with sewage recovery function
CN206747136U (en) Grain cleaning device
CN205571927U (en) A workstation for milling machine
CN211191176U (en) Rubber plug cleaning and prewashing system
CN208225846U (en) A kind of silicon wafer one-side cleaner
CN213752637U (en) Silicon wafer cleaning device for producing high-voltage fast soft recovery diode
CN213645055U (en) Cleaning machine for cleaning electroplated solder balls
CN211613594U (en) Computer machine case dust screen cleaning device
CN211337726U (en) Saddle formula live pig conveyer
CN211247608U (en) Oil stain removing device for inner hole
CN218745032U (en) Automatic cleaning device of multi-station drilling machine
CN208225847U (en) A kind of two-sided cleaning machine of silicon wafer
CN210174376U (en) Improved generation over-and-under type silk screen printing machine
CN210264146U (en) Building engineering is with rail guard that has dust removal function

Legal Events

Date Code Title Description
GR01 Patent grant
GR01 Patent grant
CP03 Change of name, title or address
CP03 Change of name, title or address

Address after: 528200 Room 103, 104, and 301, Building 1, Ruixin Science and Technology Park, No. 206 Xingye North Road, Nanhai Economic Development Zone, Shishan Town, Nanhai District, Foshan City, Guangdong Province (Residence application)

Patentee after: FOSHAN TAICHUANG MACHINERY MANUFACTURING Co.,Ltd.

Country or region after: China

Address before: 528200 workshop 2 of Li bingqiu's self built workshop in Shibei Gangtou Industrial Zone, Shishan town, Nanhai District, Foshan City, Guangdong Province

Patentee before: FOSHAN TAICHUANG MACHINERY MANUFACTURING Co.,Ltd.

Country or region before: China