CN210275333U - 一种红心猕猴桃种植支架 - Google Patents

一种红心猕猴桃种植支架 Download PDF

Info

Publication number
CN210275333U
CN210275333U CN201920557169.5U CN201920557169U CN210275333U CN 210275333 U CN210275333 U CN 210275333U CN 201920557169 U CN201920557169 U CN 201920557169U CN 210275333 U CN210275333 U CN 210275333U
Authority
CN
China
Prior art keywords
support
water pump
rod
water
rocker
Prior art date
Legal status (The legal status is an assumption and is not a legal conclusion. Google has not performed a legal analysis and makes no representation as to the accuracy of the status listed.)
Expired - Fee Related
Application number
CN201920557169.5U
Other languages
English (en)
Inventor
张雪惠
林秋敏
Current Assignee (The listed assignees may be inaccurate. Google has not performed a legal analysis and makes no representation or warranty as to the accuracy of the list.)
Fujian Huibaihe Agricultural Development Co Ltd
Original Assignee
Fujian Huibaihe Agricultural Development Co Ltd
Priority date (The priority date is an assumption and is not a legal conclusion. Google has not performed a legal analysis and makes no representation as to the accuracy of the date listed.)
Filing date
Publication date
Application filed by Fujian Huibaihe Agricultural Development Co Ltd filed Critical Fujian Huibaihe Agricultural Development Co Ltd
Priority to CN201920557169.5U priority Critical patent/CN210275333U/zh
Application granted granted Critical
Publication of CN210275333U publication Critical patent/CN210275333U/zh
Expired - Fee Related legal-status Critical Current
Anticipated expiration legal-status Critical

Links

Images

Landscapes

  • Cultivation Receptacles Or Flower-Pots, Or Pots For Seedlings (AREA)
  • Cultivation Of Plants (AREA)

Abstract

本实用新型提供一种红心猕猴桃种植支架,包括支架本体,所述支架本体包括土培底座、支撑杆和支架顶,所述土培底座两侧安装有过滤膜,所述土培底座底部埋设有蓄水箱和进水口,所述蓄水箱通过水管与过滤膜相连接,所述蓄水箱顶部连通有支撑杆,所述支撑杆两侧铰接有滴灌管,所述支撑杆一侧安装有水泵箱,所述水泵箱内安装有水泵、水泵开关和蓄电池,所述水泵上安装有药瓶,所述支撑杆一侧铰接有摇杆,所述摇杆上下各开设有插孔一,所述摇杆上开设有插孔二,所述插孔二内穿设有插杆,所述摇杆底部焊接有摇杆底座,所述摇杆底座内穿设有卷线管,该红心猕猴桃种植支架设计合理,适合推广。

Description

一种红心猕猴桃种植支架
技术领域
本实用新型涉及猕猴桃种植技术领域,具体为一种红心猕猴桃种植支架。
背景技术
种植支架是藤本植物必不可少的一种装置,猕猴桃在结果时,由于其树干比较脆弱,当猕猴桃树上所结的果实较多时,容易将猕猴桃树干压弯,严重的将会将猕猴桃树干压断;从而造成猕猴桃的减产。传统的方法是在进行猕猴桃种植时,在种植地内设置多根水泥支撑柱,然后将猕猴桃的树干通过固定装置固定在水泥柱上。但传统的水泥柱方法不易回收利用,且针对猕猴桃的生长没有针对性的管理,容易使猕猴桃成活率低,猕猴桃叶片上的水分蒸发较快,日照时间较长时,叶片易干枯,并且猕猴桃喜湿润,所以使叶片和根部保持湿润至关重要,猕猴桃树枝脆弱,容易受到大风大雨的破坏,以及果实成熟时容易受到鸟类啄食,所以对猕猴桃的保护也及其重要,在果实成熟采摘时,果实高度较高,一种调节果实高度的方法也是现如今的一大需求,故提供一种新型红心猕猴桃种植支架。
实用新型内容
针对现有技术存在的不足,本实用新型目的是提供一种红心猕猴桃种植支架,以解决上述背景技术中提出的问题,本实用新型结构新颖,功能多样,喷灌的同时能够对水源进行回收利用,且兼具调节果实高度的功能。
为了实现上述目的,本实用新型是通过如下的技术方案来实现:一种红心猕猴桃种植支架,包括支架本体,所述支架本体包括土培底座、支撑杆和支架顶,所述土培底座两侧安装有过滤膜,所述土培底座底部埋设有蓄水箱和进水口,所述蓄水箱通过水管与过滤膜相连接,所述蓄水箱顶部连通有支撑杆,所述支撑杆两侧铰接有滴灌管,所述支撑杆一侧安装有水泵箱,所述水泵箱内安装有水泵、水泵开关和蓄电池,所述水泵上安装有药瓶,所述支撑杆一侧铰接有摇杆,所述摇杆上下各开设有插孔一,所述摇杆上开设有插孔二,所述插孔二内穿设有插杆,所述摇杆底部焊接有摇杆底座,所述摇杆底座内穿设有卷线管,所述卷线管上缠绕有钢丝绳,所述支撑杆两侧开设有横杆槽,所述横杆槽内安装有横杆,所述支撑杆另两侧开设有螺栓槽,所述螺栓槽内放置有螺栓,所述横杆一端开设有螺栓孔,所述螺栓穿过螺栓槽和螺栓孔与横杆相连接,所述螺栓固定在钢丝绳的一端,所述支撑杆内部套设有支撑杆二,所述支撑杆二顶部焊接有支架顶,所述支架顶底部铰接有喷头,所述支架顶顶部铺设有采光板,所述支架顶两端通过转动轴连接有遮阳板。
作为本实用新型的一种优选实施方式,所述遮阳板上铺设有遮阳网。
作为本实用新型的一种优选实施方式,所述蓄水箱通过水管与过滤膜、滴灌管、喷头、进水口和水泵相连接。
作为本实用新型的一种优选实施方式,所述进水口上塞有橡胶塞。
作为本实用新型的一种优选实施方式,所述摇杆上粘贴有橡胶垫。
作为本实用新型的一种优选实施方式,所述支撑杆内开设有钢丝绳槽,所述钢丝绳、卷线管和螺栓安装在钢丝绳槽内。
作为本实用新型的一种优选实施方式,所述土培底座为“W”型。
作为本实用新型的一种优选实施方式,所述水泵开关通过电线与蓄电池相连接,所述蓄电池通过电线与水泵相连接。
本实用新型的有益效果:本实用新型的一种红心猕猴桃种植支架,包括支撑杆、支撑杆二、横杆、支架顶、遮阳板、土培底座、水泵箱、蓄水箱、进水口、喷头、滴灌管、摇杆、采光板、摇杆底座、卷线管、钢丝绳、插孔一、插杆、插孔二、过滤膜、水管、水泵、药瓶、水泵开关、螺栓槽、横杆槽、螺栓孔、螺栓、转动轴、蓄电池。
1.横杆增加了可调节高度的功能,在果实成熟时,可以降低横杆的高度方便人们对果实的采摘,减轻了果农的体力劳动,使采摘更具便利性。
2.喷头可以对猕猴桃的叶片进行喷雾,保持叶片的湿润性,猕猴桃叶片水分流失的速度较快,经受长时间的日晒,会造成叶片病害,并且猕猴桃树喜潮湿,滴灌管保持根部湿润会大大提高猕猴桃树的生长。
3.支架两侧设置了过滤网,能通过对喷洒、滴灌以及雨水进行收集过滤,循环利用,降低水资源的浪费,也降低了水源灌溉的成本。
附图说明
图1为本实用新型一种红心猕猴桃种植支架的结构示意图;
图2为本实用新型一种红心猕猴桃种植支架的透视结构示意图;
图3为本实用新型一种红心猕猴桃种植支架的摇杆的结构示意图;
图4为本实用新型一种红心猕猴桃种植支架的横杆连接的结构示意图;
图5为本实用新型一种红心猕猴桃种植支架的横杆连接的内视图;
图6为本实用新型一种红心猕猴桃种植支架的水泵箱的结构示意图;
图7为本实用新型一种红心猕猴桃种植支架的过滤膜的结构示意图;
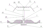
图中:1-支撑杆、2-支撑杆二、3-横杆、4-支架顶、5-遮阳板、 6-土培底座、7-水泵箱、8-蓄水箱、9-进水口、10-喷头、11-滴灌管、 12-摇杆、13-采光板、14-摇杆底座、15-卷线管、16-钢丝绳、17- 插孔一、18-插杆、19-插孔二、20-过滤膜、21-水管、22-水泵、23- 药瓶、24-水泵开关、25-螺栓槽、26-横杆槽、27-螺栓孔、28-螺栓、 29-转动轴、30-蓄电池。
具体实施方式
为使本实用新型实现的技术手段、创作特征、达成目的与功效易于明白了解,下面结合具体实施方式,进一步阐述本实用新型。
请参阅图1至图7,本实用新型提供一种技术方案:包括支架本体,所述支架本体包括土培底座6、支撑杆1和支架顶4,所述土培底座6两侧安装有过滤膜20,所述土培底座6底部埋设有蓄水箱8 和进水口9,所述蓄水箱8通过水管21与过滤膜20相连接,所述蓄水箱8顶部连通有支撑杆1,所述支撑杆1两侧铰接有滴灌管11,所述支撑杆1一侧安装有水泵箱7,所述水泵箱7内安装有水泵22、水泵开关24和蓄电池30,所述水泵22上安装有药瓶23,所述支撑杆 1一侧铰接有摇杆12,所述摇杆12上下各开设有插孔一17,所述摇杆12上开设有插孔二19,所述插孔二19内穿设有插杆18,所述摇杆12底部焊接有摇杆底座14,所述摇杆底座14内穿设有卷线管15,所述卷线管15上缠绕有钢丝绳16,所述支撑杆1两侧开设有横杆槽 26,所述横杆槽26内安装有横杆3,所述支撑杆1另两侧开设有螺栓槽25,所述螺栓槽25内放置有螺栓28,所述横杆3一端开设有螺栓孔27,所述螺栓28穿过螺栓槽25和螺栓孔27与横杆3相连接,所述螺栓28固定在钢丝绳16的一端,所述支撑杆1内部套设有支撑杆二2,所述支撑杆二2顶部焊接有支架顶4,所述支架顶4底部铰接有喷头10,所述支架顶4顶部铺设有采光板13,所述支架顶4两端通过转动轴29连接有遮阳板5。
作为本实用新型的一种优选实施方式,所述遮阳板5上铺设有遮阳网。
作为本实用新型的一种优选实施方式,所述蓄水箱8通过水管 21与过滤膜20、滴灌管11、喷头10、进水口9和水泵22相连接。
作为本实用新型的一种优选实施方式,所述进水口9上塞有橡胶塞。
作为本实用新型的一种优选实施方式,所述摇杆12上粘贴有橡胶垫。
作为本实用新型的一种优选实施方式,所述支撑杆1内开设有钢丝绳槽,所述钢丝绳16、卷线管15和螺栓28安装在钢丝绳槽内。
作为本实用新型的一种优选实施方式,所述土培底座6为“W”型。
作为本实用新型的一种优选实施方式,所述水泵开关24通过电线与蓄电池30相连接,所述蓄电池30通过电线与水泵22相连接。
工作原理:使用本支架时,首先埋设好蓄水箱8,蓄水箱8与支撑杆1连接埋上土培底座6,本装置土培底座6为“W”型,便于对水资源的收集和保持水份不易流失,土培底座6两侧凹坑处安装了过滤膜20,使水资源进行回收利用,埋设好支撑杆1后,将支撑杆二2 套设在支撑杆1内,在支撑杆1与支撑杆二2连接处设置有横杆3,横杆3借助螺栓28将两个横杆3连接在一起,螺栓28与钢丝绳16 连接,钢丝绳16另一端连接在摇杆12上,通过对钢丝绳16的收放来控制对横杆3的牵引力,当对钢丝绳16进行收紧时横杆3两端会升高,当放松钢丝绳16时,横杆3上的猕猴桃树枝会受到重力作用将横杆3压低,此时可以对猕猴桃果实进行采摘,降低高度便于果农对果实进行观察和管理。摇杆12上开设有插孔二19,支撑杆1上开设有插孔一17,通过插杆18与插孔一17和插孔二19的配合进行横杆3固定。支撑杆二2套设在支撑杆1内,支撑杆二2内放置有水管 21,蓄水箱8通过水管21与过滤膜20、滴灌管11、喷头10、进水口9和水泵22连接,通过支撑杆二1内部空腔进行供水,支架顶4 上安装有若干喷头10,喷头10通过水泵22进行增压,水泵箱7内安装有水泵开关24,水泵开关24通过电线与蓄电池30连接,蓄电池30通过电线与水泵22连接,为水泵22进行供电。支架顶4上为透明采光板13,可以使猕猴桃晒到阳光,支架顶4两侧安装了遮阳板5,遮阳板5可以防大风和鸟类啄食,对果实进行保护,此装置具有多功能,且贴合环保事业,为果农提高便利减轻压力,适合推广使用。
以上显示和描述了本实用新型的基本原理和主要特征和本实用新型的优点,对于本领域技术人员而言,显然本实用新型不限于上述示范性实施例的细节,而且在不背离本实用新型的精神或基本特征的情况下,能够以其他的具体形式实现本实用新型。因此,无论从哪一点来看,均应将实施例看作是示范性的,而且是非限制性的,本实用新型的范围由所附权利要求而不是上述说明限定,因此旨在将落在权利要求的等同要件的含义和范围内的所有变化囊括在本实用新型内。不应将权利要求中的任何附图标记视为限制所涉及的权利要求。
此外,应当理解,虽然本说明书按照实施方式加以描述,但并非每个实施方式仅包含一个独立的技术方案,说明书的这种叙述方式仅仅是为清楚起见,本领域技术人员应当将说明书作为一个整体,各实施例中的技术方案也可以经适当组合,形成本领域技术人员可以理解的其他实施方式。

Claims (8)

1.一种红心猕猴桃种植支架,包括支架本体,其特征在于:所述支架本体包括土培底座(6)、支撑杆(1)和支架顶(4),所述土培底座(6)两侧安装有过滤膜(20),所述土培底座(6)底部埋设有蓄水箱(8)和进水口(9),所述蓄水箱(8)通过水管(21)与过滤膜(20)相连接,所述蓄水箱(8)顶部连通有支撑杆(1),所述支撑杆(1)两侧铰接有滴灌管(11),所述支撑杆(1)一侧安装有水泵箱(7),所述水泵箱(7)内安装有水泵(22)、水泵开关(24)和蓄电池(30),所述水泵(22)上安装有药瓶(23),所述支撑杆(1)一侧铰接有摇杆(12),所述摇杆(12)上下各开设有插孔一(17),所述摇杆(12)上开设有插孔二(19),所述插孔二(19)内穿设有插杆(18),所述摇杆(12)底部焊接有摇杆底座(14),所述摇杆底座(14)内穿设有卷线管(15),所述卷线管(15)上缠绕有钢丝绳(16),所述支撑杆(1)两侧开设有横杆槽(26),所述横杆槽(26)内安装有横杆(3),所述支撑杆(1)另两侧开设有螺栓槽(25),所述螺栓槽(25)内放置有螺栓(28),所述横杆(3)一端开设有螺栓孔(27),所述螺栓(28)穿过螺栓槽(25)和螺栓孔(27)与横杆(3)相连接,所述螺栓(28)固定在钢丝绳(16)的一端,所述支撑杆(1)内部套设有支撑杆二(2),所述支撑杆二(2)顶部焊接有支架顶(4),所述支架顶(4)底部铰接有喷头(10),所述支架顶(4)顶部铺设有采光板(13),所述支架顶(4)两端通过转动轴(29)连接有遮阳板(5)。
2.根据权利要求1所述的一种红心猕猴桃种植支架,其特征在于:所述遮阳板(5)上铺设有遮阳网。
3.根据权利要求1所述的一种红心猕猴桃种植支架,其特征在于:所述蓄水箱(8)通过水管(21)与过滤膜(20)、滴灌管(11)、喷头(10)、进水口(9)和水泵(22)相连接。
4.根据权利要求1所述的一种红心猕猴桃种植支架,其特征在于:所述进水口(9)上塞有橡胶塞。
5.根据权利要求1所述的一种红心猕猴桃种植支架,其特征在于:所述摇杆(12)上粘贴有橡胶垫。
6.根据权利要求1所述的一种红心猕猴桃种植支架,其特征在于:所述支撑杆(1)内开设有钢丝绳槽,所述钢丝绳(16)、卷线管(15)和螺栓(28)安装在钢丝绳槽内。
7.根据权利要求1所述的一种红心猕猴桃种植支架,其特征在于:所述土培底座(6)为“W”型。
8.根据权利要求1所述的一种红心猕猴桃种植支架,其特征在于:所述水泵开关(24)通过电线与蓄电池(30)相连接,所述蓄电池(30)通过电线与水泵(22)相连接。
CN201920557169.5U 2019-04-23 2019-04-23 一种红心猕猴桃种植支架 Expired - Fee Related CN210275333U (zh)

Priority Applications (1)

Application Number Priority Date Filing Date Title
CN201920557169.5U CN210275333U (zh) 2019-04-23 2019-04-23 一种红心猕猴桃种植支架

Applications Claiming Priority (1)

Application Number Priority Date Filing Date Title
CN201920557169.5U CN210275333U (zh) 2019-04-23 2019-04-23 一种红心猕猴桃种植支架

Publications (1)

Publication Number Publication Date
CN210275333U true CN210275333U (zh) 2020-04-10

Family

ID=70068189

Family Applications (1)

Application Number Title Priority Date Filing Date
CN201920557169.5U Expired - Fee Related CN210275333U (zh) 2019-04-23 2019-04-23 一种红心猕猴桃种植支架

Country Status (1)

Country Link
CN (1) CN210275333U (zh)

Cited By (1)

* Cited by examiner, † Cited by third party
Publication number Priority date Publication date Assignee Title
CN111869474A (zh) * 2020-08-11 2020-11-03 宁波北仑戌鸿农业科技有限公司 一种智慧农业全方位灌溉装置

Cited By (1)

* Cited by examiner, † Cited by third party
Publication number Priority date Publication date Assignee Title
CN111869474A (zh) * 2020-08-11 2020-11-03 宁波北仑戌鸿农业科技有限公司 一种智慧农业全方位灌溉装置

Similar Documents

Publication Publication Date Title
CN215105071U (zh) 一种水利水土保持用生态护坡
CN210275333U (zh) 一种红心猕猴桃种植支架
CN201174912Y (zh) 果树伞
CN212087225U (zh) 一种简易抗旱型火龙果栽培支架
CN216931159U (zh) 一种新型园林建设用树木固定装置
CN206279816U (zh) 一种植物遮阳棚
CN215122453U (zh) 一种可调节型农业种植架
CN207383151U (zh) 一种用于园林绿化的喷雾装置
CN212993635U (zh) 一种铁皮石斛立体栽培装置
CN214338966U (zh) 一种桉树植物多功能育苗大棚
CN214338948U (zh) 一种农业大棚除尘设备
CN212876901U (zh) 一种园林景观植物用攀爬式植物辅助生长装置
CN212813196U (zh) 装配式太阳能遮阳体系的猕猴桃种植架
CN213960998U (zh) 一种促进农业经济发展的培育大棚
CN115589899A (zh) 一种光伏发电场区葡萄与滇黄精复合种植的方法
CN213029332U (zh) 一种园林绿化工程用树木栽培架
CN209824565U (zh) 一种园林用绿化走廊
CN202949770U (zh) 一种用于葡萄园的培植系统
CN216931018U (zh) 一种新型生态园林景观设计绿化带
CN216960938U (zh) 一种市政园林用树苗遮阳装置
CN220211221U (zh) 一种花灌木在不利气候条件下的生长辅助设施
CN215530589U (zh) 一种城市建筑园林生态绿化装置
CN221887299U (zh) 一种猕猴桃种植用抗风固定装置
CN218977521U (zh) 一种避雨葡萄栽培大棚结构
CN215683638U (zh) 一种校园环境优化用节水花卉栽培装置

Legal Events

Date Code Title Description
GR01 Patent grant
GR01 Patent grant
CF01 Termination of patent right due to non-payment of annual fee

Granted publication date: 20200410

Termination date: 20210423

CF01 Termination of patent right due to non-payment of annual fee