CN210268103U - Grain drying machine capable of improving yield and drying efficiency - Google Patents

Grain drying machine capable of improving yield and drying efficiency Download PDF

Info

Publication number
CN210268103U
CN210268103U CN201920933926.4U CN201920933926U CN210268103U CN 210268103 U CN210268103 U CN 210268103U CN 201920933926 U CN201920933926 U CN 201920933926U CN 210268103 U CN210268103 U CN 210268103U
Authority
CN
China
Prior art keywords
drying
box
grains
heating
plate
Prior art date
Legal status (The legal status is an assumption and is not a legal conclusion. Google has not performed a legal analysis and makes no representation as to the accuracy of the status listed.)
Expired - Fee Related
Application number
CN201920933926.4U
Other languages
Chinese (zh)
Inventor
葛恒清
陈贵宾
于海春
王欣
Current Assignee (The listed assignees may be inaccurate. Google has not performed a legal analysis and makes no representation or warranty as to the accuracy of the list.)
Huaiyin Normal University
Original Assignee
Huaiyin Normal University
Priority date (The priority date is an assumption and is not a legal conclusion. Google has not performed a legal analysis and makes no representation as to the accuracy of the date listed.)
Filing date
Publication date
Application filed by Huaiyin Normal University filed Critical Huaiyin Normal University
Priority to CN201920933926.4U priority Critical patent/CN210268103U/en
Application granted granted Critical
Publication of CN210268103U publication Critical patent/CN210268103U/en
Expired - Fee Related legal-status Critical Current
Anticipated expiration legal-status Critical

Links

Images

Landscapes

  • Drying Of Solid Materials (AREA)

Abstract

一种能够提高产量和干燥效率的谷物干燥机,本实用新型涉及谷物加工设备技术领域,它包含干燥箱、支撑腿、底板;干燥箱底部的四个角上均垂直固定设置有支撑腿,四个支撑腿之间固定设置有底板;它还包含干燥机构、散料机构、进料斗;干燥箱的上部固定设置有进料斗,进料斗与干燥箱的内部连通设置;干燥箱的内部设置有散料机构,干燥箱的外侧套设有干燥机构,在对大批量谷物进行干燥时,能够保证谷物的里面干燥程度相似,提高了谷物干燥后的产量,同时,能够大大的提高谷物干燥的效率,节约了时间,增加了装置整体的实用性。

Figure 201920933926

A grain dryer capable of improving output and drying efficiency, the utility model relates to the technical field of grain processing equipment. A bottom plate is fixedly arranged between the supporting legs; it also includes a drying mechanism, a bulk material mechanism, and a feeding hopper; the upper part of the drying box is fixedly provided with a feeding hopper, and the feeding hopper is communicated with the interior of the drying box; There is a bulk material mechanism, and a drying mechanism is set on the outer side of the drying box. When drying large batches of grains, it can ensure that the inner drying degree of the grains is similar, which improves the output of the grains after drying, and at the same time, can greatly improve the grain drying. It saves time and increases the overall practicability of the device.

Figure 201920933926

Description

Grain drying machine capable of improving yield and drying efficiency
Technical Field
The utility model relates to a grain processing equipment technical field, concretely relates to can increase output and drying efficiency's grain drier.
Background
Grains are life organisms, water is a condition for survival, and the breeding of insects and microorganisms can be induced by overhigh water, so that the grains are easy to generate heat, ferment, deteriorate and have a low germination rate; taking grains as an example, the moisture content of the grains is 25-30% during harvesting, the moisture content needs to be reduced to 10-15% of safe moisture as soon as possible during storage, and the grains are generally stored for several years. At present, the moisture of the grains is mainly controlled by natural airing or drying in a grain dryer.
But grain drying machine among the prior art is when drying cereal, and the inside and outside drying degree of cereal appears easily differs, and the cereal on top layer is too dry, leads to the serious gliding of output behind the cereal drying, and the drying of nexine cereal is not in place, awaits the opportune moment to be improved.
SUMMERY OF THE UTILITY MODEL
An object of the utility model is to prior art's defect and not enough, provide a simple structure, reasonable in design, convenient to use's grain drier that can increase production and drying efficiency when carrying out the drying to big cereal in batches, can guarantee that the inside drying degree of cereal is similar, has improved the output after the cereal drying, simultaneously, improvement cereal drying's that can be great efficiency, the time of having practiced thrift has increased the holistic practicality of device.
In order to achieve the above object, the utility model adopts the following technical scheme: it comprises a drying box, supporting legs and a bottom plate; four corners at the bottom of the drying box are vertically and fixedly provided with supporting legs, and a bottom plate is fixedly arranged among the four supporting legs; it also comprises a drying mechanism, a material dispersing mechanism and a feed hopper; the upper part of the drying box is fixedly provided with a feed hopper, and the feed hopper is communicated with the inside of the drying box; a bulk cargo mechanism is arranged inside the drying box, and a drying mechanism is sleeved outside the drying box;
the drying mechanism comprises a heating box, a heating pipe, a blower, a vent hole and a screen plate; the outer side wall of the drying box is fixedly covered with a heating box, the inner side wall of the heating box is fixedly provided with a plurality of heating pipes at equal intervals, and the heating pipes are connected with an external power supply; a plurality of vent holes are formed in the side wall of the drying box, the vent holes are communicated with the inside of the heating box, and a screen plate is fixedly arranged on the inner side wall of each vent hole; the upper part of the bottom plate is fixedly provided with a blower through a motor bracket, and the output end of the blower is communicated with the inside of the heating box through a conduit;
the material distributing mechanism comprises a spiral material guide plate, a driving motor, a screw rod, a material storage box, a supporting plate, a sliding block, a sliding chute and a material distributing cap; the middle part of the feed hopper is provided with a material distribution cap, and the front side and the rear side of the material distribution cap are fixedly connected with the front side wall and the rear side wall of the feed hopper through connecting plates; the middle part of the upper side of the bottom plate is fixedly provided with a driving motor through a motor bracket, the driving motor is connected with an external power supply, the output end of the driving motor is fixedly connected with a lead screw, and the upper end of the lead screw is rotatably inserted into the bottom of the material distribution cap through a bearing after penetrating through the bottom surface of the drying box through the bearing; the inner bottom surface of the drying box is vertically and fixedly provided with a storage box, the storage box is of a hollow structure with an opening at the upper side, the position of the opening end of the storage box is matched with the position of the bottom end of the feed hopper, and the screw rod penetrates through the middle part of the storage box; a support plate is arranged inside the storage box, sliding blocks are symmetrically and fixedly arranged on the left side and the right side of the support plate, sliding grooves are symmetrically and fixedly formed in the left side and the right side of the inner side wall of the storage box, the sliding blocks are slidably arranged inside the sliding grooves, and the support plate is rotatably sleeved on the screw rod through threads; a spiral material guide plate is fixedly arranged between the outer side wall of the material storage box and the inner side wall of the drying box, and a discharge pipe is fixedly arranged on the right side wall of the drying box at the discharge end of the spiral material guide plate.
Furthermore, a heating plate is fixedly arranged on the inner side wall of the storage box and is connected with an external power supply; the inner end of the sliding block is movably arranged in the sliding groove after penetrating through the heating plate; after the hot plate circular telegram, the heat that the hot plate produced preheats the cereal in the storage case, reduces later stage cereal drying's time.
Furthermore, the outer side wall of the screw rod is wrapped with a telescopic sleeve, the upper end of the telescopic sleeve is fixedly arranged on the bottom surface of the distributing cap, and the bottom end of the telescopic sleeve is fixedly arranged at the upper part of the supporting plate; the telescopic tube isolates the screw rod from the grains, and the phenomenon that the screw rod rotates due to the fact that the grains are clamped between the supporting plate and the screw rod when the grain diameter is too small is avoided.
Furthermore, the material distribution cap is a conical cap; after the grain is conveyed to the feed hopper through the feeding mechanism, the conical table of the material separating cap disperses the grain into the openings of the feed hoppers on the left side and the right side, so that the dispersed feeding is realized.
Furthermore, a hygrothermograph is fixedly arranged on the front side wall of the heating box, and a probe of the hygrothermograph is fixedly arranged on the outer side wall of the storage box in the drying box; the probe of the hygrothermograph detects the temperature and the humidity in the drying box so as to change the heating temperature for the working personnel.
Further, a vibration motor is fixedly arranged at the bottom of the right side of the spiral material guide plate through a motor support and is connected with an external power supply; the high-frequency vibration of the vibration motor drives the spiral material guide plate to vibrate, so that grains on the spiral material guide plate are dispersed more.
The utility model discloses a theory of operation: after being screened, granular grains needing to be dried are conveyed to the inside of the feed hopper through an external feeding mechanism, and because the material distribution cap is arranged in the middle of the feed hopper, the grains are divided into two parts which respectively enter the storage box from the feed hopper, the support plate in the storage box is positioned at the bottommost part of the storage box at the moment, and the grains are stacked on the upper part of the support plate; the heating pipe and the blower are connected with an external power supply, the blower blows external air into the heating box, the heating pipe heats the air in the heating box, and because the blower gradually blows a large amount of air into the heating box, the pressure in the heating box is increased, and hot air enters the drying box through the vent hole; the driving motor is connected with an external power supply, the output end of the driving motor drives the screw rod to rotate, and the support plate is connected with the screw rod through threads and driven to move upwards along the sliding groove by the rotation of the screw rod; the in-process of the slow upward movement of backup pad, the cereal on upper strata drops the upper portion of spiral stock guide along the lateral wall of storage case gradually, promptly, disperses bulky cereal for fall form whereabouts, at the in-process that falls and the in-process of landing downwards on spiral stock guide, the hot gas flow that the ventilation hole got into carries out the drying to cereal, and the cereal landing of dry completion is to discharging pipe department, carries out the unloading through outside unloading mechanism.
After the structure is adopted, the utility model discloses beneficial effect does:
1. the distribution mechanism disperses large-volume grains into waterfall-shaped drying, so that when large-batch grains are dried, the thickness of the grains is reduced, the drying degree of the inside of the grains can be ensured to be similar, and the yield of the dried grains is improved;
2. drying mechanism carries out the drying to inside cereal through the mode of the hot gas flow of drum send all around at the drying cabinet, improvement cereal drying's that can be great efficiency, the time of having practiced thrift has increased the holistic practicality of device.
Drawings
In order to more clearly illustrate the embodiments of the present invention or the technical solutions in the prior art, the drawings used in the description of the embodiments or the prior art will be briefly described below, it is obvious that the drawings in the following description are only some embodiments of the present invention, and for those skilled in the art, other drawings can be obtained according to these drawings without creative efforts.
Fig. 1 is a schematic structural diagram of the present invention.
Fig. 2 is a schematic diagram of the external structure of the present invention.
Fig. 3 is a top view of fig. 2.
Fig. 4 is a schematic view of the connection structure of the spiral material guiding plate and the material storage box of the present invention.
Fig. 5 is a schematic view of the connection structure of the supporting plate and the sliding block of the present invention.
Description of reference numerals:
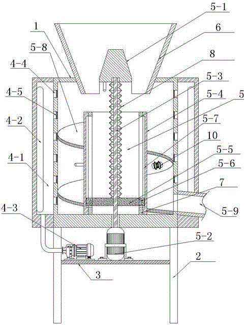
the device comprises a drying box 1, supporting legs 2, a bottom plate 3, a drying mechanism 4, a heating box 4-1, a heating pipe 4-2, an air blower 4-3, vent holes 4-4, a screen 4-5, a bulk material mechanism 5, a material distribution cap 5-1, a driving motor 5-2, a screw rod 5-3, a material storage box 5-4, a supporting plate 5-5, a sliding block 5-6, a sliding chute 5-7, a spiral material guide plate 5-8, a material discharge pipe 5-9, a feed hopper 6, a heating plate 7, an expansion sleeve 8, a hygrothermograph 9 and a vibration motor 10.
Detailed Description
The present invention will be further described with reference to the accompanying drawings.
Referring to fig. 1 to 5, the technical solution adopted by the present embodiment is: the drying box comprises a drying box 1 (an iron cylinder box with the diameter of 2000mm and the height of 1800mm and an anticorrosive coating), supporting legs 2 and a bottom plate 3; four corners at the bottom of the drying box 1 are vertically and fixedly welded with supporting legs 2, and a bottom plate 3 is fixedly welded among the four supporting legs 2; it also comprises a drying mechanism 4, a bulk material mechanism 5 and a feed hopper 6; a feed hopper 6 is fixedly welded at the upper part of the drying box 1, the feed hopper 6 is a cone-shaped horn-shaped device, and the feed hopper 6 is communicated with the inside of the drying box 1; a bulk cargo mechanism 5 is arranged inside the drying box 1, and a drying mechanism 4 is sleeved outside the drying box 1;
the drying mechanism 4 comprises a heating box 4-1, a heating pipe 4-2, a blower 4-3, a vent hole 4-4 and a screen plate 4-5; the outer side wall of the drying box 1 is fixedly welded with a heating box 4-1, the connecting part of the heating box 4-1 and the drying box 1 is in a sealed state, a plurality of heating pipes 4-2 are fixedly arranged on the inner side wall of the heating box 4-1 at equal intervals through bolts, the structures and the principles of the heating pipes 4-2 and the heating pipes 4-2 in the oven in the prior art are the same, and the heating pipes 4-2 are connected with an external power supply and a controller through power lines; a plurality of vent holes 4-4 are formed in the side wall of the drying box 1, the vent holes 4-4 are communicated with the inside of the heating box 4-1, a screen plate 4-5 is fixedly welded on the inner side wall of the vent holes 4-4, and the aperture of the screen plate 4-5 is smaller than the grain diameter of grains to be dried; the upper part of the bottom plate 3 is fixedly provided with a blower 4-3 through a motor bracket and a bolt, the type of the blower 4-3 is Y5-47, the output end of the blower 4-3 is communicated with the inside of the heating box 4-1 through a conduit, and external air is conveniently blown into the heating box 4-1;
the material distribution mechanism comprises 5-8 parts of spiral material guide plates, 5-2 parts of driving motors, 5-3 parts of lead screws, 5-4 parts of material storage boxes, 5-5 parts of supporting plates, 5-6 parts of sliding blocks, 5-7 parts of sliding chutes and 5-1 parts of material distribution caps; the middle part of the feed hopper 6 is provided with a material distribution cap 5-1, and the front side and the rear side of the material distribution cap 5-1 are fixedly welded with the front side wall and the rear side wall of the feed hopper 6 through connecting plates; the middle part of the upper side of the bottom plate 3 is fixedly provided with a driving motor 5-2 through a motor bracket and a bolt, the type adopted by the driving motor 5-2 is 60KTYZ, the driving motor 5-2 is connected with an external power supply, the output end of the driving motor 5-2 is fixedly connected with a screw rod 5-3, and the upper end of the screw rod 5-3 is rotatably inserted at the bottom of the material distribution cap 5-1 through a bearing after passing through the bottom surface of the drying box 1 through the bearing; a material storage box 5-4 is vertically and fixedly welded on the inner bottom surface of the drying box 1, the material storage box 5-4 is of a hollow structure with an opening at the upper side, the position of the opening end of the material storage box 5-4 is matched with the position of the bottom end of the feed hopper 6, and a screw rod 5-3 is arranged in the middle of the material storage box 5-4 in a penetrating manner; a support plate 5-5 is arranged inside the material storage box 5-4, sliders 5-6 are symmetrically and fixedly welded on the left side and the right side of the support plate 5-5, chutes 5-7 are symmetrically and fixedly arranged on the left side and the right side of the inner side wall of the material storage box 5-4, the sliders 5-6 are slidably arranged inside the chutes 5-7, and the support plate 5-5 is sleeved on the screw rod 5-3 through a threaded rotating sleeve; a spiral material guide plate 5-8 is fixedly welded between the outer side wall of the material storage box 5-4 and the inner side wall of the drying box 1, the spiral material guide plate 5-8 increases the time of grains in the drying box 1, a discharge pipe 5-9 is fixedly welded on the right side wall of the drying box 1 at the discharge end of the spiral material guide plate 5-8, and the outer end of the discharge pipe 5-9 is connected with an external discharging mechanism.
Furthermore, a heating plate 7 is fixedly arranged on the inner side wall of the material storage box 5-4 through a bolt, and the heating plate 7 is connected with an external power supply through a power line; the inner ends of the sliding blocks 5-6 are movably arranged in the sliding grooves 5-7 after penetrating through the heating plate 7; after the heating plate 7 is electrified, the heat generated by the heating plate 7 preheats the grains in the storage boxes 5-4, so that the later grain drying time is reduced, and the drying efficiency is improved; the heating plate 7 is made of a stainless steel plate with a resistance wire in the prior art.
Furthermore, the outer side wall of the screw rod 5-3 is wrapped with a telescopic sleeve 8, the telescopic sleeve 8 is a corrugated telescopic pipe in the prior art, the upper end of the telescopic sleeve 8 is fixedly arranged on the bottom surface of the distributing cap 5-1 through a bolt, and the bottom end of the telescopic sleeve 8 is fixedly arranged on the upper part of the support plate 5-5 through a bolt; the telescopic sleeve 8 isolates the screw rod 5-3 from grains, and the phenomenon that the screw rod 5-3 rotates because the grain with too small grain diameter is clamped between the support plate 5-5 and the screw rod 5-3 is avoided.
Further, the material distribution cap 5-1 is a conical cap; after the grains are conveyed to the feed hoppers 6 through the feeding mechanism, the conical tables of the material distribution caps 5-1 disperse the grains into the openings of the feed hoppers 6 on the left side and the right side, so that the dispersed feeding is realized.
Furthermore, a hygrothermograph 9 is fixedly arranged on the front side wall of the heating box 4-1 through bolts, the hygrothermograph 9 adopts a temperature and humidity sensor with a display in the prior art, and a probe of the hygrothermograph 9 is fixedly arranged on the outer side wall of the material storage box 5-4 in the drying box 1 through bolts; the probe of the hygrothermograph 9 detects the temperature and humidity in the drying cabinet 1, so that the heating temperature can be changed by the staff.
Further, a vibration motor 10 is fixedly arranged at the bottom of the right side of the spiral material guide plate 5-8 through a motor support and a bolt, the type of the vibration motor 10 is MVE500/3, the vibration motor 10 can generate high-frequency vibration, and the vibration motor 10 is connected with an external power supply; the high-frequency vibration of the vibration motor 10 drives the spiral material guide plates 5-8 to vibrate, so that grains on the spiral material guide plates 5-8 are dispersed more.
The working principle of the specific embodiment is as follows: after being screened, granular grains needing to be dried are conveyed to the inside of a feed hopper 6 through an external feeding mechanism, a material separating cap 5-1 is arranged in the middle of the feed hopper 6, the grains are divided into two parts which respectively enter the inside of a storage box 5-4 from the feed hopper 6, a supporting plate 5-5 in the storage box 5-4 is positioned at the bottommost part of the storage box 5-4 at the moment, and the grains are stacked on the upper part of the supporting plate 5-5; the heating pipe 4-2 and the blower 4-3 are connected with an external power supply, the blower 4-3 blows external air into the heating box 4-1, the heating pipe 4-2 heats the air in the heating box 4-1, as the blower 4-3 blows a large amount of air into the heating box 4-1, the pressure in the heating box 4-1 is increased, and the hot air enters the drying box 1 through the vent hole 4-4; the driving motor 5-2 is connected with an external power supply, the output end of the driving motor 5-2 drives the screw rod 5-3 to rotate, and the rotation of the screw rod 5-3 drives the supporting plate 5-5 to move upwards along the sliding groove 5-7 as the supporting plate 5-5 is connected with the screw rod 5-3 through threads; in the process that the supporting plate 5-5 slowly moves upwards, grains on the upper layer gradually fall to the upper portion of the spiral material guide plate 5-8 along the outer side wall of the material storage box 5-4, namely, the grains with large volume are dispersed to fall in a waterfall shape, in the falling process and the process of falling downwards on the spiral material guide plate 5-8, hot air flows entering through the air vent 4-4 dry the grains, the dried grains slide to the discharging pipe 5-9, and discharging is carried out through an external discharging mechanism.
After adopting above-mentioned structure, this embodiment beneficial effect does:
1. the distribution mechanism disperses large-volume grains into waterfall-shaped drying, so that when large-batch grains are dried, the thickness of the grains is reduced, the drying degree of the inside of the grains can be ensured to be similar, and the yield of the dried grains is improved;
2. drying mechanism 4 carries out the drying to inside cereal through the mode of the hot gas flow of drum sending around drying cabinet 1, improvement cereal drying's that can be great efficiency, the time of having practiced thrift has increased the holistic practicality of device.
The above description is only for the purpose of illustrating the technical solutions of the present invention and not for the purpose of limiting the same, and other modifications or equivalent replacements made by those of ordinary skill in the art to the technical solutions of the present invention should be covered within the scope of the claims of the present invention as long as they do not depart from the spirit and scope of the technical solutions of the present invention.

Claims (7)

1. A grain drier capable of improving yield and drying efficiency comprises a drying box (1), supporting legs (2) and a bottom plate (3); four corners at the bottom of the drying box (1) are vertically and fixedly provided with supporting legs (2), and a bottom plate (3) is fixedly arranged among the four supporting legs (2); the method is characterized in that: it also comprises a drying mechanism (4), a material dispersing mechanism (5) and a feed hopper (6); a feed hopper (6) is fixedly arranged at the upper part of the drying box (1), and the feed hopper (6) is communicated with the inside of the drying box (1); a bulk material scattering mechanism (5) is arranged inside the drying box (1), and a drying mechanism (4) is sleeved outside the drying box (1);
the drying mechanism (4) comprises a heating box (4-1), a heating pipe (4-2), a blower (4-3), a vent hole (4-4) and a screen plate (4-5); the outer side wall of the drying box (1) is fixedly covered with a heating box (4-1), the inner side wall of the heating box (4-1) is fixedly provided with a plurality of heating pipes (4-2) at equal intervals, and the heating pipes (4-2) are connected with an external power supply; a plurality of vent holes (4-4) are formed in the side wall of the drying box (1), the vent holes (4-4) are communicated with the inside of the heating box (4-1), and a screen plate (4-5) is fixedly arranged on the inner side wall of each vent hole (4-4); the upper part of the bottom plate (3) is fixedly provided with a blower (4-3) through a motor bracket, and the output end of the blower (4-3) is communicated with the inside of the heating box (4-1) through a conduit;
the bulk cargo mechanism comprises a spiral material guide plate (5-8), a driving motor (5-2), a screw rod (5-3), a material storage box (5-4), a supporting plate (5-5), a sliding block (5-6), a chute (5-7) and a material distribution cap (5-1); a material distribution cap (5-1) is arranged in the middle of the feed hopper (6), and the front side and the rear side of the material distribution cap (5-1) are fixedly connected with the front side wall and the rear side wall of the feed hopper (6) through connecting plates; the middle part of the upper side of the bottom plate (3) is fixedly provided with a driving motor (5-2) through a motor bracket, the driving motor (5-2) is connected with an external power supply, the output end of the driving motor (5-2) is fixedly connected with a screw rod (5-3), and the upper end of the screw rod (5-3) is rotatably inserted into the bottom of the material distribution cap (5-1) through a bearing after rotating to penetrate through the bottom surface of the drying box (1); a storage box (5-4) is vertically and fixedly arranged on the inner bottom surface of the drying box (1), the storage box (5-4) is of a hollow structure with an opening at the upper side, the position of the opening end of the storage box (5-4) is matched with the position of the bottom end of the feed hopper (6), and a screw rod (5-3) penetrates through the middle part of the storage box (5-4); a supporting plate (5-5) is arranged inside the material storage box (5-4), sliders (5-6) are symmetrically and fixedly arranged on the left side and the right side of the supporting plate (5-5), chutes (5-7) are symmetrically and fixedly arranged on the left side and the right side of the inner side wall of the material storage box (5-4), the sliders (5-6) are slidably arranged inside the chutes (5-7), and the supporting plate (5-5) is rotatably sleeved on the screw rod (5-3) through threads; a spiral material guide plate (5-8) is fixedly arranged between the outer side wall of the material storage box (5-4) and the inner side wall of the drying box (1), and a material discharge pipe (5-9) is fixedly arranged on the right side wall of the drying box (1) at the discharge end of the spiral material guide plate (5-8).
2. A grain drier capable of improving yield and drying efficiency as claimed in claim 1, wherein: a heating plate (7) is fixedly arranged on the inner side wall of the material storage box (5-4), and the heating plate (7) is connected with an external power supply; the inner ends of the sliding blocks (5-6) are movably arranged in the sliding grooves (5-7) in a sliding way after penetrating through the heating plate (7); after the heating plate (7) is electrified, the grains in the storage box (5-4) are preheated by the heat generated by the heating plate (7), so that the time for drying the grains in the later period is shortened.
3. A grain drier capable of improving yield and drying efficiency as claimed in claim 1, wherein: the outer side wall of the screw rod (5-3) is wrapped with a telescopic sleeve (8), the upper end of the telescopic sleeve (8) is fixedly arranged on the bottom surface of the material distribution cap (5-1), and the bottom end of the telescopic sleeve (8) is fixedly arranged on the upper part of the support plate (5-5); the screw rod (5-3) is isolated from the grains by the telescopic sleeve (8), so that the phenomenon that the screw rod (5-3) rotates due to the fact that the grains with too small grain diameters are clamped between the supporting plate (5-5) and the screw rod (5-3) is avoided.
4. A grain drier capable of improving yield and drying efficiency as claimed in claim 1, wherein: the material distribution cap (5-1) is arranged as a conical cap; after the grains are conveyed to the feed hoppers (6) through the feeding mechanism, the conical tables of the material distribution caps (5-1) disperse the grains into openings of the feed hoppers (6) on the left side and the right side, and the dispersed feeding is realized.
5. A grain drier capable of improving yield and drying efficiency as claimed in claim 1, wherein: a hygrothermograph (9) is fixedly arranged on the front side wall of the heating box (4-1), and a probe of the hygrothermograph (9) is fixedly arranged on the outer side wall of the material storage box (5-4) in the drying box (1); the probe of the hygrothermograph (9) detects the temperature and the humidity in the drying box (1) so as to change the heating temperature for the working personnel.
6. A grain drier capable of improving yield and drying efficiency as claimed in claim 1, wherein: the bottom of the right side of the spiral material guide plate (5-8) is fixedly provided with a vibration motor (10) through a motor support, and the vibration motor (10) is connected with an external power supply; the high-frequency vibration of the vibration motor (10) drives the spiral material guide plates (5-8) to vibrate, so that grains on the spiral material guide plates (5-8) are dispersed more.
7. A grain drier capable of improving yield and drying efficiency as claimed in claim 1, wherein: the working principle is as follows: after being screened, granular grains needing to be dried are conveyed to the inside of a feed hopper (6) through an external feeding mechanism, a material distribution cap (5-1) is arranged in the middle of the feed hopper (6), the grains are divided into two parts which respectively enter the inside of a storage box (5-4) from the feed hopper (6), a support plate (5-5) inside the storage box (5-4) at the moment is positioned at the bottommost part of the storage box (5-4), and the grains are stacked on the upper part of the support plate (5-5); the heating pipe (4-2) and the blower (4-3) are connected with an external power supply, the blower (4-3) blows external air into the heating box (4-1), the heating pipe (4-2) heats the air in the heating box (4-1), as the blower (4-3) gradually blows a large amount of air into the heating box (4-1), the pressure in the heating box (4-1) is increased, and hot air enters the drying box (1) through the vent hole (4-4); the driving motor (5-2) is connected with an external power supply, the output end of the driving motor (5-2) drives the screw rod (5-3) to rotate, and the rotation of the screw rod (5-3) drives the supporting plate (5-5) to move upwards along the sliding groove (5-7) as the supporting plate (5-5) is connected with the screw rod (5-3) through threads; in the process that the supporting plate (5-5) slowly moves upwards, grains on the upper layer gradually fall to the upper portion of the spiral material guide plate (5-8) along the outer side wall of the material storage box (5-4), namely, the grains with large volume are dispersed to fall in a waterfall shape, in the falling process and the downward sliding process on the spiral material guide plate (5-8), hot air flow entering through the vent holes (4-4) dries the grains, the dried grains slide to the discharging pipe (5-9), and discharging is carried out through an external discharging mechanism.
CN201920933926.4U 2019-06-20 2019-06-20 Grain drying machine capable of improving yield and drying efficiency Expired - Fee Related CN210268103U (en)

Priority Applications (1)

Application Number Priority Date Filing Date Title
CN201920933926.4U CN210268103U (en) 2019-06-20 2019-06-20 Grain drying machine capable of improving yield and drying efficiency

Applications Claiming Priority (1)

Application Number Priority Date Filing Date Title
CN201920933926.4U CN210268103U (en) 2019-06-20 2019-06-20 Grain drying machine capable of improving yield and drying efficiency

Publications (1)

Publication Number Publication Date
CN210268103U true CN210268103U (en) 2020-04-07

Family

ID=70043709

Family Applications (1)

Application Number Title Priority Date Filing Date
CN201920933926.4U Expired - Fee Related CN210268103U (en) 2019-06-20 2019-06-20 Grain drying machine capable of improving yield and drying efficiency

Country Status (1)

Country Link
CN (1) CN210268103U (en)

Cited By (1)

* Cited by examiner, † Cited by third party
Publication number Priority date Publication date Assignee Title
CN110274460A (en) * 2019-06-20 2019-09-24 淮阴师范学院 A kind of crop dryer can be improved yield and drying efficiency

Cited By (2)

* Cited by examiner, † Cited by third party
Publication number Priority date Publication date Assignee Title
CN110274460A (en) * 2019-06-20 2019-09-24 淮阴师范学院 A kind of crop dryer can be improved yield and drying efficiency
CN110274460B (en) * 2019-06-20 2024-01-30 淮阴师范学院 Grain drier capable of improving yield and drying efficiency

Similar Documents

Publication Publication Date Title
CN207662125U (en) A kind of rice paddy seed grading drying device
CN210346078U (en) Energy-saving cyclone flash evaporation drying equipment
CN107120949A (en) A kind of crop dryer
CN212457827U (en) Drying device for agricultural product storage
CN207546675U (en) Hot-air seasoning pulverizer
CN210268103U (en) Grain drying machine capable of improving yield and drying efficiency
CN110274460B (en) Grain drier capable of improving yield and drying efficiency
CN108967532A (en) Automatic drier is used in a kind of processing of rice
CN111023783A (en) A high-efficiency grain dryer
CN210718452U (en) A grain storage dehydration device
CN109282598A (en) A high-efficiency drying device for rice seeds
CN202470677U (en) Novel drainage sand drying tower
CN209181472U (en) A kind of rice drying equipment
CN105258468A (en) Grain drying machine
CN203646425U (en) Grain dryer with storage section
CN206125930U (en) Storage vat
CN208924708U (en) A kind of Dampproof paddy storage bin
CN204830721U (en) Shunting peanut drying device
CN207998050U (en) A kind of fertilizer processing feeder
CN207317459U (en) A kind of rice drying pretreating device
CN107421240A (en) A kind of floated Vegetable drying machine
CN217165282U (en) Wrapping paper raw materials sieving mechanism
CN207674907U (en) A kind of biological particles drying unit
CN105486043A (en) Efficient grain drying machine
CN206709575U (en) A kind of full-automatic grain-drying equipment

Legal Events

Date Code Title Description
GR01 Patent grant
GR01 Patent grant
CF01 Termination of patent right due to non-payment of annual fee
CF01 Termination of patent right due to non-payment of annual fee

Granted publication date: 20200407