CN210224511U - power connector - Google Patents

power connector Download PDF

Info

Publication number
CN210224511U
CN210224511U CN201921167486.2U CN201921167486U CN210224511U CN 210224511 U CN210224511 U CN 210224511U CN 201921167486 U CN201921167486 U CN 201921167486U CN 210224511 U CN210224511 U CN 210224511U
Authority
CN
China
Prior art keywords
conductive
power
plug
connector
socket
Prior art date
Legal status (The legal status is an assumption and is not a legal conclusion. Google has not performed a legal analysis and makes no representation as to the accuracy of the status listed.)
Active
Application number
CN201921167486.2U
Other languages
Chinese (zh)
Inventor
Fei Wang
王飞
Baodi Jiang
江宝迪
Renhua Wu
吴壬华
Current Assignee (The listed assignees may be inaccurate. Google has not performed a legal analysis and makes no representation or warranty as to the accuracy of the list.)
Shenzhen Shinry Technologies Co Ltd
Original Assignee
Shenzhen Shinry Technologies Co Ltd
Priority date (The priority date is an assumption and is not a legal conclusion. Google has not performed a legal analysis and makes no representation as to the accuracy of the date listed.)
Filing date
Publication date
Application filed by Shenzhen Shinry Technologies Co Ltd filed Critical Shenzhen Shinry Technologies Co Ltd
Priority to CN201921167486.2U priority Critical patent/CN210224511U/en
Application granted granted Critical
Publication of CN210224511U publication Critical patent/CN210224511U/en
Active legal-status Critical Current
Anticipated expiration legal-status Critical

Links

Images

Landscapes

  • Electric Propulsion And Braking For Vehicles (AREA)

Abstract

本实用新型公开一种电源连接器,用于将燃料电池系统中的电堆与电源转换器的同一极性电连接,所述电源连接器包括连接器本体及至少两个电源导电件,所述连接器本体内设有收容腔且所述连接器本体上具有与所述收容腔贯通的第一开口和第二开口,至少两个所述电源导电件并列收容于所述收容腔内,所述电源导电件一端伸出所述第一开口与所述电堆导通,所述电源导电件另一端伸出所述第二开口与所述电源转换器导通,以实现所述电堆与所述电源转换器同一极性的电连接。本实用新型所述的电源连接器,占用较小空间,有利于燃料电池系统的小型化。

Figure 201921167486

The utility model discloses a power connector, which is used for electrically connecting a stack in a fuel cell system and a power converter with the same polarity. The power connector comprises a connector body and at least two power conducting parts. The connector body is provided with a receiving cavity, and the connector body has a first opening and a second opening that pass through the receiving cavity, and at least two of the power supply conductors are housed in the receiving cavity in parallel. One end of the power conductor extends out of the first opening and is connected to the stack, and the other end of the power conductor extends out of the second opening and is connected to the power converter, so as to realize the connection between the stack and the stack. The electrical connection of the same polarity of the power converter. The power connector of the utility model occupies less space and is beneficial to the miniaturization of the fuel cell system.

Figure 201921167486

Description

Power supply connector
Technical Field
The utility model relates to a vehicle mounted power field especially relates to a power connector.
Background
In the fuel cell system, the connection between the stack and the DC/DC converter requires a cable with a large wire diameter for current transmission due to a large current, occupies a large space of the fuel cell system and the entire vehicle, and is not favorable for the overall layout.
SUMMERY OF THE UTILITY MODEL
The utility model provides a can save installation space, be favorable to the miniaturized power connector of fuel cell system.
Power connector for be connected the pile in the fuel cell system with power converter's homopolar electricity, power connector includes that connector body and two at least power are electrically conductive, this internal chamber of acceping of being equipped with of connector has just on the connector body with accept first opening and the second opening that the chamber link up, at least two the electrically conductive piece of power accept side by side in accept the intracavity, the electrically conductive one end of power stretches out first opening with the pile switches on, the electrically conductive other end of power stretches out the second opening with power converter switches on, in order to realize the pile with power converter homopolar electricity is connected.
In one embodiment, the connector body includes a plug and a socket, the socket includes a base and at least two first conductors disposed on the base, the plug includes a body and at least two second conductors disposed on the body, and when the plug is plugged into the socket, one of the first conductors is electrically connected to one of the second conductors to form one of the power conductive members.
In one embodiment, the stack includes an output end, and an end of the power conductive member extending out of the first opening is a first conductive section of the first conductive body, and the first conductive section is in conduction with a positive electrode or a negative electrode of the output end.
In one embodiment, the power converter further includes a containing shell, the containing shell has a containing cavity therein and includes a working hole communicated with the containing cavity, the containing cavity has an electronic component therein, one end of the power conductive member extending out of the second opening is a second conductive section of the second conductive body, and the second conductive section extends into the containing cavity from the working hole and is conducted with the electronic component in the containing cavity.
In one embodiment, the second connecting section is provided with a connecting piece, and the connecting piece is used for connecting the second connecting section with an input interface/output interface of the electronic element.
In one embodiment, a surface of the socket facing the plug is provided with a socket, the plug includes a plugging end, the first lead connection body further includes a third lead connection section connected to the first lead connection section, the second lead connection body further includes a fourth lead connection section connected to the second lead connection section, the third lead connection section is disposed at the socket, the fourth lead connection section is disposed at the plugging end, and when the plugging end is inserted into the socket, the third lead connection section is electrically connected to the fourth lead connection section.
In one embodiment, a rotating body rotatably connected with the base body is arranged on the base body of the socket, a clamping position is arranged on the rotating body, a protrusion is arranged at the plugging end of the plug, and when the plugging end is inserted into the plugging port, the rotating body rotates to enable the clamping position to be clamped with the protrusion.
In one embodiment, the plug is further provided with a fixing plate, the fixing plate is located at one end, far away from the plugging end, of the plug, a first mounting hole penetrating through the fixing plate is formed in the fixing plate, a second mounting hole corresponding to the first mounting hole is formed in the containing shell, and the fixing plate and the containing shell are fixed through screwing.
In one embodiment, the connector body is externally coated with an insulating layer.
In one embodiment, a surface of the second docking section is coated with a metal plating.
Power connector, through leading electrically conductive piece of at least two powers side by side connection to make its both ends be connected with pile and power converter electricity respectively, and then make from the pile anodal or the electric current of negative pole output can divide on the multiplex transmission to the inside positive pole of power converter or the negative pole, thereby can make electrically conductive piece of power can reduce the occupation space that electrically conductive piece of power under the current strength who satisfies the transmission, be favorable to fuel cell system's miniaturization.
Drawings
In order to more clearly illustrate the technical solution of the present invention, the drawings required for the embodiments will be briefly described below, and it is obvious that the drawings in the following description are only some embodiments of the present invention, and it is obvious for those skilled in the art to obtain other drawings without creative efforts.
Fig. 1 is a schematic view of an angle of a power connector provided by the present invention;
FIG. 2 is an exploded view of the power connector shown in FIG. 1;
FIG. 3 is an angled schematic view of a plug of the power connector shown in FIG. 2;
fig. 4 is a schematic view of another angle of the power connector provided by the present invention, wherein a guiding piece is disposed on the second guiding section.
Detailed Description
The technical solutions in the embodiments of the present invention will be described clearly and completely with reference to the accompanying drawings in the embodiments of the present invention, and it is obvious that the described embodiments are only some embodiments of the present invention, not all embodiments. Based on the embodiments in the present invention, all other embodiments obtained by a person skilled in the art without creative efforts belong to the protection scope of the present invention.
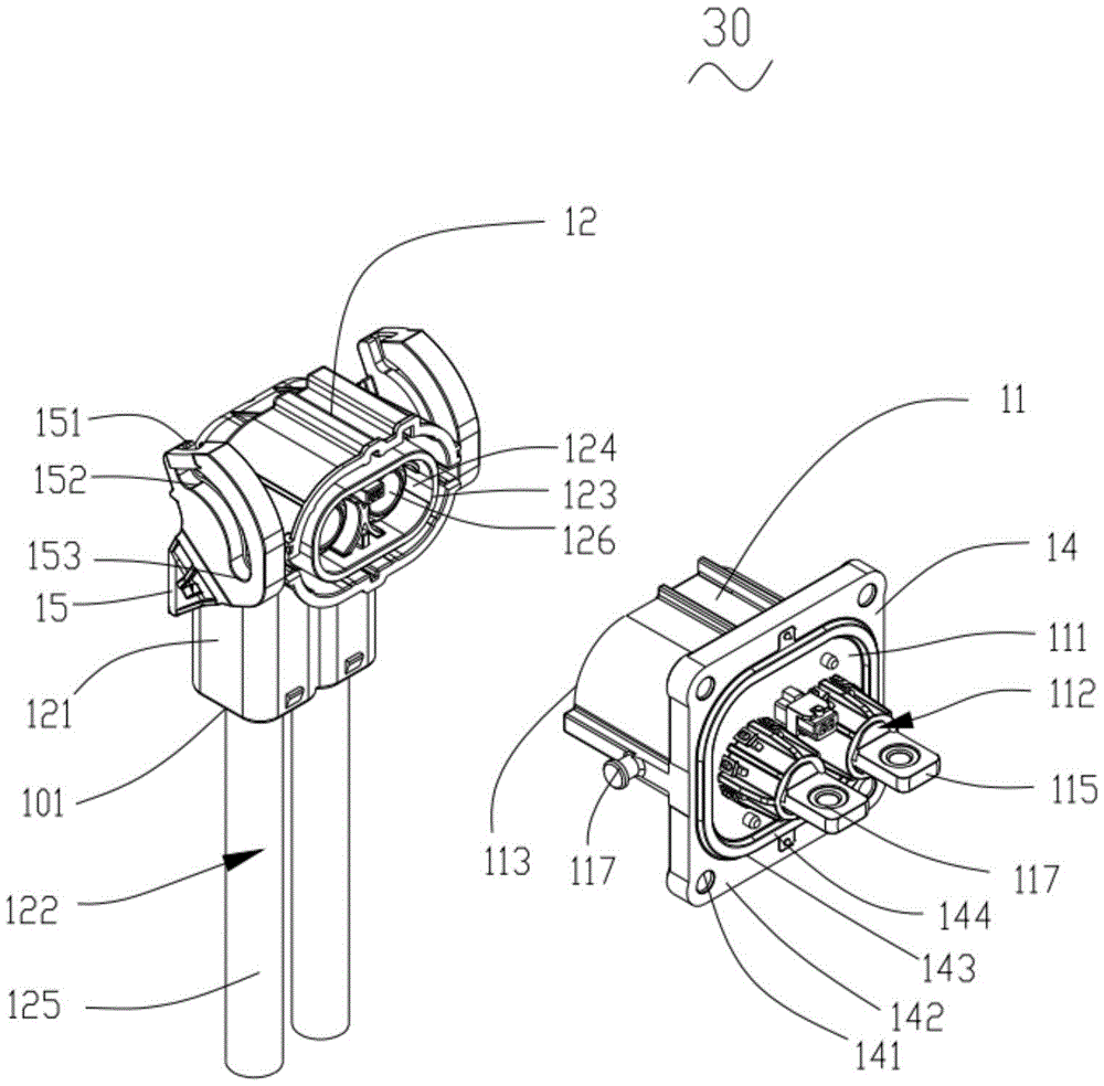
Referring to fig. 1, the present invention provides a power connector 30 for electrically connecting a stack (not shown) in a fuel cell system and a power converter (not shown) with the same polarity, where the power connector 30 includes a connector body 10 and at least two power conductive pieces 20, a receiving cavity is provided in the connector body 10, a first opening 101 and a second opening 102 communicated with the receiving cavity are provided on the connector body 10, at least two power conductive pieces 20 are received in the receiving cavity in parallel, one end of each power conductive piece 20 extends out of the first opening 101 to be conducted with the stack, and the other end of each power conductive piece 20 extends out of the second opening 102 to be conducted with the power converter, so as to electrically connect the stack and the power converter with the same polarity.
Through connecting two at least power electrically conductive piece 20 side by side to make its both ends be connected with pile and power converter electricity respectively, and then make the electric current of following pile positive pole or negative pole output can divide the multiplex to transmit to the inside positive pole of power converter or negative pole on, thereby can make power electrically conductive piece 20 can reduce the occupation space of power electrically conductive piece 20 under the current strength who satisfies the transmission, be favorable to fuel cell system's miniaturization.
Further, the stack (not shown) includes an output terminal including a positive electrode and a negative electrode electrically connected to the stack internal circuit. The power converter (not shown in the figure) comprises a containing shell, wherein a containing cavity is arranged in the containing shell, the containing shell comprises a working hole communicated with the containing cavity, an electronic element is arranged in the containing cavity, and the electronic element comprises an input interface and an output interface which are respectively and electrically connected with the anode and the cathode of an internal circuit of the power converter.
In this embodiment, the connector body 10 is externally coated with an insulating layer, the insulating layer is made of a plastic material, and the arrangement of the insulating layer can reduce the thermal resistance and the temperature rise of the connector. The two power supply conductive members 20 are illustrated as an example, one end of each conductive member extending out of the first opening 101 is conducted with the positive electrode of the output terminal, and one end of each conductive member extending out of the second opening 102 is conducted with the input interface of the electronic component, so as to realize current transmission between the stack and the power converter in the same polarity. In other embodiments, the number of the power conductive members 20 may be two or more, such as three, and one end of each conductive member extending out of the first opening 101 may be conducted with the negative electrode of the output terminal, and one end of each conductive member extending out of the second opening 102 is conducted with the output interface of the electronic component.
Further, referring to fig. 1 to fig. 3, the connector body 10 includes a plug 11 and a socket 12, the socket 12 includes a seat 121 and at least two first conductors 122 disposed on the seat 121, the plug 11 includes a body 111 and at least two second conductors 112 disposed on the body 111, when the plug 11 is plugged into the socket 12, one first conductor 122 is electrically connected to one second conductor 112 to form the power conductor 20, and the power conductor 20 is used to connect the stack (not shown) to the power converter (not shown) to implement power transmission. In this embodiment, two first conductors 122 and two second conductors 112 are taken as an example for description, the first conductors 122 are cables, and the second conductors 112 are copper terminals. In other embodiments, the first conductive element 122 and the second conductive element 112 may be other conductive elements having a conductive function, and the number of the conductive elements may be specifically set according to the number of the power conductive elements 20.
Specifically, a socket 123 is disposed on a surface of the seat body 121 of the socket 12 facing the plug 11, the plug 11 includes a plugging end 113, and when the plug 11 is plugged into the socket 12, the plugging end 113 extends into the socket 123. And the plug 11 and the socket 12 are connected in a plug-in manner, so that when the plug 11 or the socket 12 is aged and needs to be replaced, the plug and the socket can be replaced independently, and the disassembly and reinstallation processes are convenient and quick.
Further, a first sub receiving cavity 124 for receiving the first connecting body 122 is disposed in the socket 12, the first sub receiving cavity 124 is communicated with the socket 123, the first opening 101 is disposed on an end surface of the socket 12 and is communicated with the first sub receiving cavity 124, a second sub receiving cavity 114 for receiving the second connecting body 112 is disposed in the plug 11, and the second opening 102 is disposed on an end surface of the plug 11 and is communicated with the second sub receiving cavity 114. When the plug 11 is plugged into the receptacle 12, the first sub-receiving cavity 124 and the second sub-receiving cavity 114 are opposite to and communicated with each other to form a receiving cavity of the connector body 10, and at this time, the first conductive connector 122 is in contact with and conducted to the second conductive connector 112 to form the power conductive member 20, so that the current output from the stack can be transmitted to the power converter through the power conductive member 20.
The end of the power conductive member 20 extending out of the first opening 101 is a first conductive section 125 of the first conductive body 122, and the first conductive section 125 is conducted with the positive electrode or the negative electrode of the output end. In this embodiment, the first conductive segment 125 is conducted with the positive electrode of the output terminal. In other embodiments, the first conductive segment 125 is conducted to the negative terminal of the output terminal.
The end of the power conductive member 20 extending out of the second opening 102 is a second conductive section 115 of the second conductive body 112, and the second conductive section 115 extends into the accommodating cavity from the working hole to be conducted with the electronic component of the accommodating cavity. The electronic component may be a relay, a capacitor, or the like. Wherein the surface of the second docking section 115 is coated with a metal plating layer. The metal plating layer can be a nickel plating layer, a tin plating layer or a nickel base silver plating layer. The metal plating layer makes the second lead segment 115 less prone to oxidation and discoloration, and reduces contact resistance, energy loss, and production cost.
Further, referring to fig. 2 and fig. 4, a conducting tab 13 is disposed on the second conducting segment 115, and the conducting tab 13 is used for conducting the second conducting segment 115 with an input interface or an output interface of the electronic component. Specifically, the guide connecting piece 13 has a first connecting end 131 and a second connecting end 132, the second guide connecting section 115 is provided with a first threaded hole 117, the first connecting end 131 is provided with a first working hole 133 corresponding to the first threaded hole 117, and the second guide connecting section 115 and the guide connecting piece 13 are fixed by screwing, so that the installation is simple and rapid, and the disassembly is convenient. In this embodiment, the conductive tab 13 is a copper bar, and the electronic component (not shown) is exemplified by a relay. In other embodiments, the conducting tab 13 may also be another device that can perform a conducting function, and the electronic component may also be another device such as an inductor, which is not limited herein.
Furthermore, the second connection end 132 is conducted with the relay, specifically, with an input interface of the relay, so that when the connection piece 13 is conducted with the second connection section 115 and the electronic component, respectively, the second connection section 115 and the electronic component can be electrically connected, and further, the power transmission between the stack and the power converter can be realized. In other embodiments, the second connection end 132 may also be conducted with the output interface of the electronic component.
Referring to fig. 2 and fig. 3, in this embodiment, the first lead connecting body 122 further includes a third lead connecting section 126 connected to the first lead connecting section 125, the second lead connecting body 112 further includes a fourth lead connecting section 116 connected to the second lead connecting section 115, the third lead connecting section 126 is located at the inserting port 123, the fourth lead connecting section 116 is located at the inserting port 113, and when the inserting port 113 is inserted into the inserting port 123, the third lead connecting section 126 is electrically connected to the fourth lead connecting section 116.
When the first conductive segment 125 is conducted with the positive electrode of the output terminal (not shown), the second conductive segment 115 is conducted with the input interface of the relay (not shown), and the third conductive segment 126 is electrically connected with the fourth conductive segment 116, the current of the positive electrode of the stack can be transmitted to the input interface of the relay, so that the relay can realize the functions of automatic regulation, relay protection, conversion circuit, and the like.
Furthermore, a rotating body 15 rotatably connected with the seat body 121 is arranged on the seat body 121 of the socket 12, a clamping portion 153 is arranged on the rotating body 15, a protrusion 117 is arranged at the insertion end 113 of the plug 11, and when the insertion end 113 is inserted into the insertion port 123, the rotating body 15 rotates to clamp the clamping portion 153 with the protrusion 117, so that the reliability and the stability of the connection between the socket 12 and the plug 11 are improved. In this embodiment, the rotating body 15 is a buckle rotatably connected to the seat body 121, the buckle has a buckle end 151, a sliding slot 152 with an opening at one end is disposed on the buckle end 151, and the buckle 153 is disposed at the other end of the sliding slot 152 opposite to the opening, when the plug 11 is inserted into the socket 12, the buckle is pushed to rotate the buckle relative to the seat body 121, and the opening of the sliding slot 152 is aligned with the protrusion 117, so that the protrusion 117 is engaged with the buckle 153 in the sliding slot 152, thereby fixing the socket 12 and the plug 11. The rotating range of the rotating body is 0-90 degrees.
Furthermore, the plug 11 is further provided with a fixing plate 14, the fixing plate 14 is located at an end of the plug 11 away from the plugging end 113, the fixing plate 14 is provided with a first mounting hole 141 penetrating through the fixing plate 14, the accommodating shell is provided with a second mounting hole corresponding to the first mounting hole 141, and the fixing plate 14 and the accommodating shell are fixed by screwing, so as to further improve the reliability and stability of the connection between the power connector 30 and the power converter. In this embodiment, there are four first mounting holes 141, which are respectively located at four corners of the fixing plate 14. The fixing plate 14 has a supporting surface 142, the supporting surface 142 is a surface of the fixing plate 14 located on one side of the second conductive connection segment 115, an annular groove 143 is formed on the supporting surface 142, the groove 143 is located on the periphery of the seat body 121, and a sealing ring 144 is disposed in the groove. Specifically, the sealing ring 144 is annular and made of rubber material. The sealing ring 144 is embedded in the groove 143, when the second connecting section 115 extends into the accommodating cavity, the accommodating shell presses against the sealing ring 144, the sealing ring 144 deforms under stress to fill a gap between the accommodating shell and the groove 143, and the tightness and stability of the plug 11 and the accommodating shell during installation are ensured.
Power connector 30, through with two at least power electrically conductive piece 20 parallel connection to make its both ends respectively with pile and power converter electricity be connected, and then make from the pile anodal or the electric current of negative pole output can divide on the multiplex transmission to the inside positive pole of power converter or the negative pole, thereby can make power electrically conductive piece 20 can reduce the occupation space that the power electrically conductive piece 20 under the current strength who satisfies the transmission, be favorable to fuel cell system's miniaturization.
The embodiments of the present invention have been described in detail, and the principles and embodiments of the present invention have been explained herein using specific embodiments, and the above description of the embodiments is only used to help understand the method and the core idea of the present invention; meanwhile, for the general technical personnel in the field, according to the idea of the present invention, there are changes in the specific implementation and application scope, to sum up, the content of the present specification should not be understood as the limitation of the present invention.

Claims (10)

1. A power connector is used for electrically connecting a galvanic pile in a fuel cell system with a power converter in the same polarity, and is characterized by comprising a connector body and at least two power conductive pieces, wherein a containing cavity is arranged in the connector body, a first opening and a second opening which are communicated with the containing cavity are formed in the connector body, the at least two power conductive pieces are contained in the containing cavity in parallel, one end of each power conductive piece extends out of the first opening to be conducted with the galvanic pile, and the other end of each power conductive piece extends out of the second opening to be conducted with the power converter, so that the galvanic pile and the power converter are electrically connected in the same polarity.
2. The electrical connector as claimed in claim 1, wherein the connector body comprises a plug and a socket, the socket comprises a base and at least two first conductors disposed on the base, the plug comprises a body and at least two second conductors disposed on the body, and when the plug is plugged into the socket, one of the first conductors is electrically connected to one of the second conductors to form one of the electrical power conductors.
3. The power connector of claim 2, wherein the stack includes an output terminal, and an end of the power conductive member protruding out of the first opening is a first conductive segment of the first conductive body, and the first conductive segment is electrically connected to a positive electrode or a negative electrode of the output terminal.
4. The power connector as claimed in claim 3, wherein the power converter further comprises a housing, a housing cavity is formed in the housing shell, the housing shell includes a working hole penetrating through the housing cavity, an electronic component is disposed in the housing cavity, one end of the power conductive member extending out of the second opening is a second conductive section of the second conductive member, and the second conductive section extends into the housing cavity from the working hole and is conducted with the electronic component in the housing cavity.
5. The power connector as claimed in claim 4, wherein a surface of the socket facing the plug is provided with a plug interface, the plug includes a plug end, the first conductive connecting body further includes a third conductive connecting section connected to the first conductive connecting section, the second conductive connecting body further includes a fourth conductive connecting section connected to the second conductive connecting section, the third conductive connecting section is provided at the plug interface, the fourth conductive connecting section is provided at the plug end, and when the plug end is inserted into the plug interface, the third conductive connecting section is electrically connected to the fourth conductive connecting section.
6. The power connector as claimed in claim 5, wherein the socket body has a rotating body rotatably connected to the socket body, the rotating body has a detent, the plug end has a protrusion, and when the plug end is inserted into the socket, the rotating body rotates to engage the detent with the protrusion.
7. The power connector as claimed in claim 4, wherein a conductive tab is disposed on the second conductive segment, and the conductive tab is used for conducting the second conductive segment with an input interface or an output interface of the electronic component.
8. The power connector as claimed in claim 5, wherein the plug further comprises a fixing plate, the fixing plate is located at an end of the plug away from the plugging end, the fixing plate is provided with a first mounting hole penetrating through the fixing plate, the accommodating shell is provided with a second mounting hole corresponding to the first mounting hole, and the fixing plate and the accommodating shell are fixed by screwing.
9. The electrical power connector as recited in claim 8, wherein the connector body is coated with an insulating layer.
10. The electrical power connector as recited in claim 8, wherein a surface of the second docking section is coated with a metal plating.
CN201921167486.2U 2019-07-23 2019-07-23 power connector Active CN210224511U (en)

Priority Applications (1)

Application Number Priority Date Filing Date Title
CN201921167486.2U CN210224511U (en) 2019-07-23 2019-07-23 power connector

Applications Claiming Priority (1)

Application Number Priority Date Filing Date Title
CN201921167486.2U CN210224511U (en) 2019-07-23 2019-07-23 power connector

Publications (1)

Publication Number Publication Date
CN210224511U true CN210224511U (en) 2020-03-31

Family

ID=69917837

Family Applications (1)

Application Number Title Priority Date Filing Date
CN201921167486.2U Active CN210224511U (en) 2019-07-23 2019-07-23 power connector

Country Status (1)

Country Link
CN (1) CN210224511U (en)

Cited By (1)

* Cited by examiner, † Cited by third party
Publication number Priority date Publication date Assignee Title
WO2022057242A1 (en) * 2020-09-21 2022-03-24 湖南格瑞普新能源有限公司 Power connection member and conversion plug-in

Cited By (1)

* Cited by examiner, † Cited by third party
Publication number Priority date Publication date Assignee Title
WO2022057242A1 (en) * 2020-09-21 2022-03-24 湖南格瑞普新能源有限公司 Power connection member and conversion plug-in

Similar Documents

Publication Publication Date Title
CN101807767B (en) Contact assembly for attachment to electronics module
CN213636363U (en) Connector male terminal and connector
CN211629389U (en) FAKTRA connector based on four-in-one line end
CN210074015U (en) Fixing structure for connecting electrode joint
CN212784120U (en) Electric automobile charging socket
CN210224511U (en) power connector
CN218731897U (en) Connector assembly
CN218525788U (en) Vertical socket connector
CN111082240A (en) Conductive connection structure of charging plug, charging plug and charging terminal
CN211265744U (en) Connecting device
CN115882279A (en) Connector assembly
CN116191086A (en) connector assembly
CN213816659U (en) Electrical wire plug connector
CN219998573U (en) Waterproof connector for wire harness
CN223230560U (en) Corner type plug and connector convenient to assemble
CN217882076U (en) Wire plug terminal
CN218584870U (en) Rotatable electric energy meter connector
CN223022015U (en) Three-electrode electrolytic cell device
CN222966346U (en) Electric connector, electric connection device and vehicle
GB2544363A (en) Prismatic accumulator cell and accumulator pack
CN217507776U (en) Connecting terminal convenient and fast to wire
CN219305192U (en) Heavy current surge protector
CN223334050U (en) Power socket
CN220368242U (en) End seat connector
CN221466905U (en) Medical power connector

Legal Events

Date Code Title Description
GR01 Patent grant
GR01 Patent grant