CN210222678U - 一种加固型计算机的散热装置 - Google Patents
一种加固型计算机的散热装置 Download PDFInfo
- Publication number
- CN210222678U CN210222678U CN201921379941.5U CN201921379941U CN210222678U CN 210222678 U CN210222678 U CN 210222678U CN 201921379941 U CN201921379941 U CN 201921379941U CN 210222678 U CN210222678 U CN 210222678U
- Authority
- CN
- China
- Prior art keywords
- computer
- base
- heat
- bolt
- organism
- Prior art date
- Legal status (The legal status is an assumption and is not a legal conclusion. Google has not performed a legal analysis and makes no representation as to the accuracy of the status listed.)
- Expired - Fee Related
Links
- 230000002787 reinforcement Effects 0.000 title claims abstract description 6
- 239000004065 semiconductor Substances 0.000 claims abstract description 18
- 238000005057 refrigeration Methods 0.000 claims abstract description 11
- 229910000838 Al alloy Inorganic materials 0.000 claims description 4
- VYPSYNLAJGMNEJ-UHFFFAOYSA-N Silicium dioxide Chemical compound O=[Si]=O VYPSYNLAJGMNEJ-UHFFFAOYSA-N 0.000 claims description 4
- 239000000741 silica gel Substances 0.000 claims description 4
- 229910002027 silica gel Inorganic materials 0.000 claims description 4
- 239000000463 material Substances 0.000 claims description 2
- 230000017525 heat dissipation Effects 0.000 abstract description 18
- 230000000694 effects Effects 0.000 abstract description 9
- 238000009434 installation Methods 0.000 description 3
- 230000009286 beneficial effect Effects 0.000 description 1
- 238000001816 cooling Methods 0.000 description 1
- 238000010586 diagram Methods 0.000 description 1
- 238000000926 separation method Methods 0.000 description 1
Images
Landscapes
- Cooling Or The Like Of Electrical Apparatus (AREA)
Abstract
本实用新型公开了一种加固型计算机的散热装置,属于计算机技术领域,包括底座,所述底座内部的四角处均设置有固定架,所述计算机机体的底端设置有导热垫和半导体制冷片,所述底座的两侧均设置有进风口,所述底座内部的底端安装有风机,所述插销的外侧设置有复位弹簧,所述计算机机体的两侧均设置有与插销相匹配的插槽。本实用新型通过设置的导热垫对计算机机体的热量进行传导,通过设置的半导体制冷片的两端分别吸收热量和放出热量,从而产生温差将计算机机体内的热量传导出,然后通过设置的风机将底座内的空气抽出,风从进风口进入底座内,形成空气循环,加快了底座内的空气流速从而将热量带出,提高了散热速率和散热效果。
Description
技术领域
本实用新型涉及计算机技术领域,具体为一种加固型计算机的散热装置。
背景技术
加固计算机是为适应各种恶劣环境,在计算机设计时,对影响计算机性能的各种因素,如系统结构、电气特性和机械物理结构等,采取相应保证措施的计算机,又称抗恶劣环境计算机,其特点是:具有强的环境适应性、高可靠性和高可维性,较强的实时处理能力,系列化、标准化和模块化,专用软件的开发是其应用的关键,因此机箱必须采用全密封结构。
传统的密封机箱散热是通过散热板进行散热,散热方式单一,属于被动散热,散热效果差,影响计算机的使用寿命。
实用新型内容
本实用新型的目的在于:为了解决传统的密封机箱散热是通过散热板进行散热,散热方式单一,属于被动散热,散热效果差,影响计算机的使用寿命的问题,提供一种加固型计算机的散热装置。
为实现上述目的,本实用新型提供如下技术方案:一种加固型计算机的散热装置,包括底座,所述底座内部的四角处均设置有固定架,所述固定架的上端设置有计算机机体,所述计算机机体的底端设置有导热垫和半导体制冷片,所述底座的两侧均设置有进风口,所述进风口的内部设置有过滤网,所述底座的内部设置有空腔,所述底座内部的底端安装有风机,所述底座的两侧均设置有插销,所述插销的外侧设置有复位弹簧,所述计算机机体的两侧均设置有与插销相匹配的插槽。
优选地,所述固定架的横截面呈“T”型结构,所述复位弹簧与固定架相连接,所述插销和复位弹簧的数量为四组。
优选地,所述底座底端的四角处均设置有支撑腿,且支撑腿的材质为橡胶。
优选地,所述计算机机体的底端呈波浪形结构,且计算机机体的材质为铝合金。
优选地,所述导热垫与计算机机体粘合,且导热垫的表面设置有与半导体制冷片相匹配的凹槽,所述半导体制冷片的四周均采用导热硅胶密封。
优选地,所述插销靠近计算机机体一端的表面设置有限位块,所述固定架的内部设置有与限位块相匹配的卡槽,且卡槽呈十字型结构。
与现有技术相比,本实用新型的有益效果是:本实用新型通过设置的导热垫对计算机机体的热量进行传导,通过设置的半导体制冷片的两端分别吸收热量和放出热量,从而产生温差将计算机机体内的热量传导出,然后通过设置的风机将底座内的空气抽出,风从进风口进入底座内,形成空气循环,加快了底座内的空气流速从而将热量带出,提高了散热速率和散热效果,通过将插销抽出后旋转,在插槽的配合下实现计算机机体的快速拆卸。
附图说明
图1为本实用新型的结构示意图;
图2为本实用新型计算机机体的结构示意图;
图3为本实用新型的侧视图。
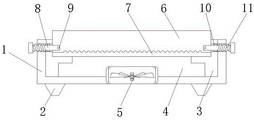
图中:1、底座;2、支撑腿;3、固定架;4、空腔;5、风机;6、计算机机体;7、导热垫;8、插销;9、限位块;10、卡槽;11、复位弹簧;12、插槽;13、半导体制冷片;14、进风口;15、过滤网。
具体实施方式
下面将结合本实用新型实施例中的附图,对本实用新型实施例中的技术方案进行清楚、完整地描述,显然,所描述的实施例仅仅是本实用新型一部分实施例,而不是全部的实施例。基于本实用新型中的实施例,本领域普通技术人员在没有做出创造性劳动前提下所获得的所有其他实施例,都属于本实用新型保护的范围。
本实用新型中提到的风机(型号为DP300A 3123HSL)、半导体制冷片(型号为TEC-12703)均可在市场或者私人订购所得。
请参阅图1-3,一种加固型计算机的散热装置,包括底座1,底座1内部的四角处均设置有固定架3,固定架3的上端设置有计算机机体6,计算机机体6的底端设置有导热垫7和半导体制冷片13,底座1的两侧均设置有进风口14,进风口14的内部设置有过滤网15,底座1的内部设置有空腔4,底座1内部的底端安装有风机5,底座1的两侧均设置有插销8,插销8的外侧设置有复位弹簧11,计算机机体6的两侧均设置有与插销8相匹配的插槽12。
本实施中:通过设置的导热垫7对计算机机体6的热量进行传导,通过设置的半导体制冷片13的两端分别吸收热量和放出热量,从而产生温差将计算机机体6内的热量传导出,然后通过设置的风机5将底座1内的空气抽出,风从进风口14进入底座1内,形成空气循环,加快了底座1内的空气流速从而将热量带出,提高了散热速率和散热效果,通过将插销8抽出后旋转,在插槽12的配合下实现计算机机体6的快速拆卸,通过设置的过滤网15避免杂物进入底座1内。
请着重参阅图1,固定架3的横截面呈“T”型结构,复位弹簧11与固定架3相连接,插销8和复位弹簧11的数量为四组,底座1底端的四角处均设置有支撑腿,且支撑腿的材质为橡胶,通过设置的复位弹簧11,在插销8和插槽12的配合下实现计算机机体6与底座1的快速拆装,通过设置的橡胶支撑腿对底座1进行支撑。
请着重参阅图1,计算机机体6的底端呈波浪形结构,且计算机机体6的材质为铝合金,通过设置的铝合金材质的计算机机体6,且底端呈波浪形结构,增大了计算机机体6与导热垫7的接触面积,从而增大了散热面积,提高了散热效果。
请着重参阅图2,导热垫7与计算机机体6粘合,且导热垫7的表面设置有与半导体制冷片13相匹配的凹槽,半导体制冷片13的四周均采用导热硅胶密封,通过设置的半导体制冷片13对计算机机体6最为发热的部位进行热传导,且半导体制冷片13的制冷速率快,制冷效果好,通过设置的导热硅胶减小热阻。
请着重参阅图1,插销8靠近计算机机体6一端的表面设置有限位块9,固定架3的内部设置有与限位块9相匹配的卡槽10,且卡槽10呈十字型结构,在计算机机体6拆卸时,通过将插销8抽出后旋转90°,使得限位块9卡在卡槽10内,插销8与插槽12分离,即可取出计算机机体6,安装时反向操作即可。
工作原理:接通电源,导热垫7对计算机机体6的热量进行传导,半导体制冷片13的两端分别吸收热量和放出热量,从而产生温差对计算机机体6最为发热的部位进行热传导,然后通过风机5将底座1内的空气抽出,风从进风口14进入底座1内,形成空气循环,加快了底座1内的空气流速从而将热量带出,提高了散热速率和散热效果,在计算机机体6拆卸时,通过将插销8抽出后旋转90°,使得限位块9卡在卡槽10内,插销8与插槽12分离,即可取出计算机机体6,安装时反向操,插销8在复位弹簧11的作用下插入插槽12内实现安装,拆装较为简便。
对于本领域技术人员而言,显然本实用新型不限于上述示范性实施例的细节,而且在不背离本实用新型的精神或基本特征的情况下,能够以其他的具体形式实现本实用新型。因此,无论从哪一点来看,均应将实施例看作是示范性的,而且是非限制性的,本实用新型的范围由所附权利要求而不是上述说明限定,因此旨在将落在权利要求的等同要件的含义和范围内的所有变化囊括在本实用新型内。不应将权利要求中的任何附图标记视为限制所涉及的权利要求。
Claims (6)
1.一种加固型计算机的散热装置,包括底座(1),其特征在于:所述底座(1)内部的四角处均设置有固定架(3),所述固定架(3)的上端设置有计算机机体(6),所述计算机机体(6)的底端设置有导热垫(7)和半导体制冷片(13),所述底座(1)的两侧均设置有进风口(14),所述进风口(14)的内部设置有过滤网(15),所述底座(1)的内部设置有空腔(4),所述底座(1)内部的底端安装有风机(5),所述底座(1)的两侧均设置有插销(8),所述插销(8)的外侧设置有复位弹簧(11),所述计算机机体(6)的两侧均设置有与插销(8)相匹配的插槽(12)。
2.根据权利要求1所述的一种加固型计算机的散热装置,其特征在于:所述固定架(3)的横截面呈“T”型结构,所述复位弹簧(11)与固定架(3)相连接,所述插销(8)和复位弹簧(11)的数量为四组。
3.根据权利要求1所述的一种加固型计算机的散热装置,其特征在于:所述底座(1)底端的四角处均设置有支撑腿,且支撑腿的材质为橡胶。
4.根据权利要求1所述的一种加固型计算机的散热装置,其特征在于:所述计算机机体(6)的底端呈波浪形结构,且计算机机体(6)的材质为铝合金。
5.根据权利要求1所述的一种加固型计算机的散热装置,其特征在于:所述导热垫(7)与计算机机体(6)粘合,且导热垫(7)的表面设置有与半导体制冷片(13)相匹配的凹槽,所述半导体制冷片(13)的四周均采用导热硅胶密封。
6.根据权利要求1所述的一种加固型计算机的散热装置,其特征在于:所述插销(8)靠近计算机机体(6)一端的表面设置有限位块(9),所述固定架(3)的内部设置有与限位块(9)相匹配的卡槽(10),且卡槽(10)呈十字型结构。
Priority Applications (1)
| Application Number | Priority Date | Filing Date | Title |
|---|---|---|---|
| CN201921379941.5U CN210222678U (zh) | 2019-08-23 | 2019-08-23 | 一种加固型计算机的散热装置 |
Applications Claiming Priority (1)
| Application Number | Priority Date | Filing Date | Title |
|---|---|---|---|
| CN201921379941.5U CN210222678U (zh) | 2019-08-23 | 2019-08-23 | 一种加固型计算机的散热装置 |
Publications (1)
| Publication Number | Publication Date |
|---|---|
| CN210222678U true CN210222678U (zh) | 2020-03-31 |
Family
ID=69919944
Family Applications (1)
| Application Number | Title | Priority Date | Filing Date |
|---|---|---|---|
| CN201921379941.5U Expired - Fee Related CN210222678U (zh) | 2019-08-23 | 2019-08-23 | 一种加固型计算机的散热装置 |
Country Status (1)
| Country | Link |
|---|---|
| CN (1) | CN210222678U (zh) |
Cited By (1)
| Publication number | Priority date | Publication date | Assignee | Title |
|---|---|---|---|---|
| CN111442617A (zh) * | 2020-04-02 | 2020-07-24 | 安徽兆邦科技发展有限公司 | 一种汽车零部件清洗用高效干燥装置 |
-
2019
- 2019-08-23 CN CN201921379941.5U patent/CN210222678U/zh not_active Expired - Fee Related
Cited By (1)
| Publication number | Priority date | Publication date | Assignee | Title |
|---|---|---|---|---|
| CN111442617A (zh) * | 2020-04-02 | 2020-07-24 | 安徽兆邦科技发展有限公司 | 一种汽车零部件清洗用高效干燥装置 |
Similar Documents
| Publication | Publication Date | Title |
|---|---|---|
| CN209590500U (zh) | 摄像头散热模组及头戴设备 | |
| CN210222678U (zh) | 一种加固型计算机的散热装置 | |
| CN211184720U (zh) | 一种微电子元器件用散热装置 | |
| CN209590827U (zh) | 一种外接电子通讯计算机的数据传输即时备份装置 | |
| CN202948389U (zh) | 半导体cpu散热器 | |
| CN215121748U (zh) | 一种石墨烯散热铝板结构 | |
| CN221006015U (zh) | 一种散热机构 | |
| CN219873709U (zh) | 一种热传导性能好的大容量电芯模块散热装置 | |
| CN213634341U (zh) | 一种带有散热结构的主板结构 | |
| CN219180499U (zh) | 一种鳍片可伸缩式散热器 | |
| CN114510135B (zh) | 一种导热散热效果好的均温板 | |
| CN210610157U (zh) | 一种ups用组合式散热器 | |
| CN216014181U (zh) | 一种便于散热的网络科技代理服务器 | |
| CN214122664U (zh) | 用于dmd的散热结构及投影机 | |
| CN213182648U (zh) | 回字形vc基板散热模组 | |
| CN212749665U (zh) | 一种散热性能好的大数据服务器 | |
| CN114845521A (zh) | 一种工业控制柜过温降热装置 | |
| CN208487601U (zh) | 一种用于大功率led光源的散热装置 | |
| CN223123433U (zh) | 散热装置和电子设备 | |
| CN220235292U (zh) | 一种便于导热的大功率散热器 | |
| CN223624576U (zh) | 一种后置散热式笔记本电脑散热装置 | |
| CN218631732U (zh) | 一种基于pxi总线标准的开关模块 | |
| CN221812516U (zh) | 芯片散热结构以及电路板散热结构 | |
| CN221262493U (zh) | 一种具有循环散热结构的电池组 | |
| CN222673027U (zh) | 一种金刚石复合热沉装置 |
Legal Events
| Date | Code | Title | Description |
|---|---|---|---|
| GR01 | Patent grant | ||
| GR01 | Patent grant | ||
| CF01 | Termination of patent right due to non-payment of annual fee |
Granted publication date: 20200331 Termination date: 20210823 |
|
| CF01 | Termination of patent right due to non-payment of annual fee |