CN210211452U - Position adjustment device and press - Google Patents
Position adjustment device and press Download PDFInfo
- Publication number
- CN210211452U CN210211452U CN201920587161.3U CN201920587161U CN210211452U CN 210211452 U CN210211452 U CN 210211452U CN 201920587161 U CN201920587161 U CN 201920587161U CN 210211452 U CN210211452 U CN 210211452U
- Authority
- CN
- China
- Prior art keywords
- pointer
- switch
- sliding
- position adjustment
- sliding plate
- Prior art date
- Legal status (The legal status is an assumption and is not a legal conclusion. Google has not performed a legal analysis and makes no representation as to the accuracy of the status listed.)
- Active
Links
- 238000006073 displacement reaction Methods 0.000 claims abstract description 60
- 238000000034 method Methods 0.000 claims description 12
- 238000005259 measurement Methods 0.000 abstract description 5
- 238000010586 diagram Methods 0.000 description 4
- 238000013461 design Methods 0.000 description 2
- 238000001514 detection method Methods 0.000 description 2
- 238000005516 engineering process Methods 0.000 description 2
- 230000009286 beneficial effect Effects 0.000 description 1
- 238000004891 communication Methods 0.000 description 1
- 238000010276 construction Methods 0.000 description 1
- 230000007812 deficiency Effects 0.000 description 1
- 238000011161 development Methods 0.000 description 1
- 238000004519 manufacturing process Methods 0.000 description 1
- 238000012986 modification Methods 0.000 description 1
- 230000004048 modification Effects 0.000 description 1
- 230000000630 rising effect Effects 0.000 description 1
Images
Landscapes
- Presses And Accessory Devices Thereof (AREA)
Abstract
本实用新型涉及基于位置调节的辅助工具技术领域,特别涉及一种位置调节装置及压力机,位置调节装置包括滑动板、滑块、升降杆、第一指针、第二指针、第一位移尺及第二位移尺。升降杆的一端与滑动板连接,升降杆的另一端与滑块连接;第一指针设置于滑动板的侧端;第一指针远离滑动板的一端与第一位移尺滑动连接,用于检测滑动板的第一高度值;第二位移尺设置于滑动板上;第二指针设置于滑块上,并与第二位移尺滑动连接,用于检测滑块的第二高度值。本实用新型通过升降杆实现滑动板及滑块位置的调节,并利用第一位移尺与第二位移尺实现位置的测量,从而提高位置调节的精度及安全性能。
The utility model relates to the technical field of auxiliary tools based on position adjustment, in particular to a position adjustment device and a press. The position adjustment device comprises a sliding plate, a sliding block, a lifting rod, a first pointer, a second pointer, a first displacement ruler and a Second displacement ruler. One end of the lifting rod is connected with the sliding plate, and the other end of the lifting rod is connected with the sliding block; the first pointer is arranged on the side end of the sliding board; the end of the first pointer far away from the sliding board is slidingly connected with the first displacement ruler for detecting sliding The first height value of the plate; the second displacement ruler is arranged on the sliding plate; the second pointer is arranged on the slider, and is slidably connected with the second displacement ruler for detecting the second height value of the slider. The utility model realizes the adjustment of the position of the sliding plate and the sliding block through the lifting rod, and realizes the measurement of the position by using the first displacement ruler and the second displacement ruler, thereby improving the accuracy and safety performance of the position adjustment.
Description
技术领域technical field
本实用新型涉及基于位置调节的辅助工具技术领域,特别涉及一种位置调节装置及压力机。The utility model relates to the technical field of auxiliary tools based on position adjustment, in particular to a position adjustment device and a press.
背景技术Background technique
随着我国制造业的快速发展,冲压技术在机械、汽车、装备等领域广泛应用。冲压过程的滑块位置、位移及检测技术作为冲压自动化系统的一个重要组成部分越来越受到重视。With the rapid development of my country's manufacturing industry, stamping technology is widely used in machinery, automobiles, equipment and other fields. As an important part of the stamping automation system, the position, displacement and detection technology of the slider in the stamping process have been paid more and more attention.
传统压力机在调整滑块位置、位移等参数时,通过曲轴上的旋转编码器来实现检测、调整。在现有技术中,压力机的连杆机构在运动过程中会使得滑块的运动方向会发生变化,导致滑块运动得到的滑块位置、位移等数据和滑块实际位置的误差较大,也就是对滑块位置调节的精度较低,稳定性差。When adjusting parameters such as the position and displacement of the slider, the traditional press uses the rotary encoder on the crankshaft to realize detection and adjustment. In the prior art, the linkage mechanism of the press will cause the movement direction of the slider to change during the movement process, resulting in a large error between the slider position, displacement and other data obtained from the slider movement and the actual position of the slider. That is, the precision of adjusting the position of the slider is low and the stability is poor.
为此,需要设计一种新式的位置调节装置、压力机及位置调节方法,以解决上述问题。Therefore, it is necessary to design a new type of position adjusting device, press and position adjusting method to solve the above problems.
发明内容SUMMARY OF THE INVENTION
本实用新型为了弥补现有技术中的滑块位置调节精度低的不足,提供了一种位置调节装置及压力机。The utility model provides a position adjusting device and a press in order to make up for the deficiencies in the low precision of the position adjustment of the sliding block in the prior art.
本实用新型是通过如下技术方案实现的:The utility model is achieved through the following technical solutions:
一种位置调节装置,包括滑动板、滑块、升降杆、第一指针、第二指针、第一位移尺和第二位移尺,其特征在于:A position adjusting device, comprising a sliding plate, a sliding block, a lifting rod, a first pointer, a second pointer, a first displacement ruler and a second displacement ruler, characterized in that:
所述滑动板上面固定连接升降杆的一端,升降杆的另一端固定连接有滑块;所述第一指针设置于滑动板的侧端,第一指针远离滑动板的一端滑动连接有第一位移尺,用于检测滑动板的第一高度值;所述第二指针设置在滑块一侧,第二指针滑动连接第二位移尺,用于检测滑块的高度值。The top of the sliding plate is fixedly connected with one end of the lifting rod, and the other end of the lifting rod is fixedly connected with a slider; the first pointer is arranged on the side end of the sliding board, and the end of the first pointer away from the sliding board is slidably connected with a first displacement The ruler is used to detect the first height value of the sliding plate; the second pointer is arranged on one side of the slider, and the second pointer is slidably connected to the second displacement ruler to detect the height value of the slider.
进一步地,为了更好的实现本实用新型,所述滑动板在远离第一指针的一端垂直设有侧板;所述侧板靠近滑块的一侧设置有第一开关,滑块靠近侧板的一侧设有朝向侧板的第三指针,当第三指针在升降运动过程中与第一开关接触时,第三指针或第一开关生成报警信号。Further, in order to better realize the present invention, the sliding plate is vertically provided with a side plate at the end away from the first pointer; the side of the side plate close to the slider is provided with a first switch, and the slider is close to the side plate. One side of the device is provided with a third pointer facing the side plate. When the third pointer contacts the first switch during the lifting movement, the third pointer or the first switch generates an alarm signal.
进一步地,为了更好的实现本实用新型,所述侧板上设有第二开关,第二开关设置在侧板靠近滑块的一侧;所述第三指针的远离滑块的一端位于第一开关和第二开关之间,当第三指针在运动过程中与第二开关接触时,第三指针或第二开关生成报警信号。Further, in order to better realize the utility model, the side plate is provided with a second switch, and the second switch is arranged on the side of the side plate close to the slider; the end of the third pointer away from the slider is located on the first switch. Between the first switch and the second switch, when the third pointer contacts the second switch during movement, the third pointer or the second switch generates an alarm signal.
进一步地,为了更好的实现本实用新型,所述侧板处设有连接第三指针或第一开关或第二开关的报警模块,用于在接收到报警信号时发出报警提示。Further, in order to better realize the present invention, the side plate is provided with an alarm module connected to the third pointer or the first switch or the second switch, which is used to issue an alarm prompt when an alarm signal is received.
进一步地,为了更好的实现本实用新型,所述位置调节装置还包括支承架,支承架设置在滑块上。Further, in order to better realize the present invention, the position adjusting device further includes a support frame, and the support frame is arranged on the slider.
进一步地,为了更好的实现本实用新型,所述位置调节装置还包括底座,所述第一位移尺的一端设置在底座上。Further, in order to better realize the present invention, the position adjusting device further comprises a base, and one end of the first displacement ruler is arranged on the base.
进一步地,为了更好的实现本实用新型,所述升降杆和顶部的滑块及滑块上的支承架设有两套。Further, in order to better realize the utility model, there are two sets of the lifting rod, the sliding block on the top and the supporting frame on the sliding block.
进一步地,为了更好的实现本实用新型,所述升降杆为螺纹杆。Further, in order to better realize the present invention, the lifting rod is a threaded rod.
一种压力机,包括升降部和上述的位置调节装置,其特征在于:所述升降部和位置调节装置中的滑块通过支承架连接。A press, comprising a lifting part and the above position adjusting device, is characterized in that: the lifting part and the sliding block in the position adjusting device are connected by a support frame.
本实用新型的有益效果是:本实用新型通过升降杆实现滑动板及滑块位置的调节,并利用第一位移尺与第二位移尺实现调节位置的测量,从而提高位置调节的精度及安全性能。The beneficial effects of the utility model are: the utility model realizes the adjustment of the position of the sliding plate and the slider through the lifting rod, and uses the first displacement ruler and the second displacement ruler to realize the measurement of the adjustment position, thereby improving the accuracy and safety performance of the position adjustment .
附图说明Description of drawings
图1为本实用新型的位置调节装置的结构示意图之一;Fig. 1 is one of the structural representations of the position adjusting device of the present invention;
图2为本实用新型的位置调节装置的结构示意图之二;Fig. 2 is the second structural schematic diagram of the position adjusting device of the present invention;
图3为本实用新型的压力机的结构示意图;Fig. 3 is the structural representation of the press of the utility model;
图4为本实用新型的位置调节方法的流程示意图。FIG. 4 is a schematic flowchart of the position adjustment method of the present invention.
图中,10、压力机,100、位置调节装置,110、滑动板,111、侧板,121、滑块,122、支承架,130、升降杆,131、第一指针,132、第二指针,133、第三指针,141、第一位移尺,142、第二位移尺,151、第一开关,152、第二开关,160、底座,200、升降部。In the figure, 10, press, 100, position adjustment device, 110, sliding plate, 111, side plate, 121, slider, 122, support frame, 130, lifting rod, 131, first pointer, 132, second pointer , 133, the third pointer, 141, the first displacement ruler, 142, the second displacement ruler, 151, the first switch, 152, the second switch, 160, the base, 200, the lifting part.
具体实施方式Detailed ways
下面将结合本实用新型实施例中的附图,对本实用新型实施例中的技术方案进行清楚、完整地描述。显然,所描述的实施例仅仅是本实用新型的一部分实施例,而不是全部的实施例。通常在此处附图中描述和示出的本实用新型实施例的组件可以以各种不同的配置来布置和设计。The technical solutions in the embodiments of the present invention will be clearly and completely described below with reference to the accompanying drawings in the embodiments of the present invention. Obviously, the described embodiments are only some of the embodiments of the present invention, but not all of the embodiments. The components of the embodiments of the invention generally described and illustrated in the drawings herein may be arranged and designed in a variety of different configurations.
因此,以下对在附图中提供的本实用新型的实施例的详细描述并非旨在限制要求保护的本实用新型的范围,而是仅仅表示本实用新型的选定实施例。基于本实用新型的实施例,本领域技术人员在没有做出创造性劳动的前提下所获得的所有其他实施例,都属于本实用新型保护的范围。Accordingly, the following detailed description of the embodiments of the invention provided in the accompanying drawings is not intended to limit the scope of the invention as claimed, but is merely representative of selected embodiments of the invention. Based on the embodiments of the present invention, all other embodiments obtained by those skilled in the art without creative work fall within the protection scope of the present invention.
应注意到:相似的标号和字母在下面的附图中表示类似项,因此,一旦某一项在一个附图中被定义,则在随后的附图中不需要对其进行进一步定义和解释。It should be noted that like numerals and letters refer to like items in the following figures, so once an item is defined in one figure, it does not require further definition and explanation in subsequent figures.
在本实用新型的描述中,需要说明的是,术语“中”、“上”、“下”、“水平”、“内”、“外”等指示的方位或位置关系为基于附图所示的方位或位置关系,或者是该实用新型产品使用时惯常摆放的方位或位置关系,仅是为了便于描述本实用新型和简化描述,而不是指示或暗示所指的装置或元件必须具有特定的方位、以特定的方位构造和操作,因此不能理解为对本实用新型的限制。此外,术语“第一”、“第二”等仅用于区分描述,而不能理解为指示或暗示相对重要性。In the description of the present utility model, it should be noted that the orientation or positional relationship indicated by the terms "middle", "upper", "lower", "horizontal", "inner", "outer", etc. The orientation or positional relationship, or the orientation or positional relationship that the utility model product is usually placed in use, is only for the convenience of describing the present utility model and simplifying the description, rather than indicating or implying that the device or element referred to must have a specific Orientation, construction and operation in a particular orientation, and therefore should not be construed as a limitation of the present invention. Furthermore, the terms "first", "second", etc. are only used to differentiate the description and should not be construed to indicate or imply relative importance.
此外,术语“水平”、“竖直”等术语并不表示要求部件绝对水平或悬垂,而是可以稍微倾斜。如“水平”仅仅是指其方向相对“竖直”而言更加水平,并不是表示该结构一定要完全水平,而是可以稍微倾斜。Furthermore, the terms "horizontal", "vertical" and the like do not imply that a component is required to be absolutely horizontal or overhang, but rather may be slightly inclined. For example, "horizontal" only means that its direction is more horizontal than "vertical", it does not mean that the structure must be completely horizontal, but can be slightly inclined.
在本实用新型的描述中,需要说明的是,除非另有明确的规定和限定,术语“设置”、“相连”、“连接”应做广义理解,例如,可以是固定连接,也可以是可拆卸连接,或一体地连接。可以是机械连接,也可以是电性连接。可以是直接相连,也可以通过中间媒介间接相连,可以是两个元件内部的连通。对于本领域的普通技术人员而言,可以具体情况理解上述术语在本实用新型中的具体含义。In the description of the present invention, it should be noted that, unless otherwise expressly specified and limited, the terms "arranged", "connected" and "connected" should be understood in a broad sense, for example, it may be a fixed connection or a connectable connection. Disconnect the connection, or connect it in one piece. It can be a mechanical connection or an electrical connection. It can be directly connected, or indirectly connected through an intermediate medium, and it can be the internal communication between two components. For those of ordinary skill in the art, the specific meanings of the above terms in the present invention can be understood in specific situations.
下面结合附图,对本实用新型的一些实施方式作详细说明。在不冲突的情况下,下述的实施例及实施例中的特征可以相互组合。Some embodiments of the present utility model will be described in detail below with reference to the accompanying drawings. The embodiments described below and features in the embodiments may be combined with each other without conflict.
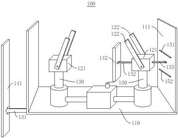
图1为本实用新型的具体实施例的结构示意图之一,本实施例提供的位置调节装置100可应用于图3所示的压力机10,用于调节滑动板110及滑块121的位置。FIG. 1 is a schematic structural diagram of a specific embodiment of the present invention. The position adjusting
在本实施例中,位置调节装置100可以包括滑动板110、滑块121、升降杆130、第一指针131、第二指针132、第一位移尺141,以及第二位移尺142。In this embodiment, the
在本实施中,升降杆130的一端与滑动板110的连接,升降杆130的另一端与滑块121连接。第一指针131设置于滑动板110的侧端。第一指针131远离滑动板110的一端与第一位移尺141滑动连接,用于检测滑动板110的第一高度值。第二位移尺142设置于滑动板110上。第二指针132设置于滑块121上,并与第二位移尺142滑动连接,用于检测滑块121的第二高度值。In this embodiment, one end of the
可理解地,第一位移尺141与第二位移尺142用于测量位置调整的距离,可以通过第一高度值与第二高度值提高调节滑动板110位置的精度。其中,第一位移尺141可以是,但不限于刻度尺、用于测量位移的位移传感器等,第二位移尺142可以与第一位移尺141相同或类似,这里不再赘述。Understandably, the
其中,第一位移尺141与第一指针131可以组成第一位移传感器,用于实现滑动板110的第一高度值的测量。第二位移尺142与第二指针132可以组成第二位移传感器,用于实现滑块121的第二高度值的测量。Wherein, the
在本实施例中,第一位移传感器的一端(第一位移尺141)连接在床身工作台上,另一端(第一指针131)连接在滑动板110上。第二位移传感器的一端固定在滑块121上,另一端连接在滑块121的微调螺杆上。In this embodiment, one end (the first displacement ruler 141 ) of the first displacement sensor is connected to the bed worktable, and the other end (the first pointer 131 ) is connected to the sliding
可选地,升降杆130为螺纹杆,通过拧动螺纹杆,实现滑动板110的升降位置调节。可理解地,滑动板110升降方向与螺纹杆的升降方向相同,相邻螺纹之间的间距通常为一固定值(可根据实际情况进行设置),基于此,可利用螺纹杆旋转的圈数确定滑动板110升降位移。当然,升降杆130也可以是蜗轮蜗杆组件,利用蜗轮蜗杆组件实现滑动板110的升降调节。Optionally, the lifting
在本实施例中,升降杆130至少为一个,例如,升降杆130可以为两个,通过利用两个升降杆130调节滑动板110的位置,有助于使得滑动板110的板面处于水平状态。In this embodiment, there is at least one
可选地,滑动板110远离第一指针131的一端设置有侧板111,侧板111靠近滑块121的一端设置有第一开关151,滑块121设置有朝向侧板111的第三指针133,当第三指针133在运动过程中与第一开关151接触时,第三指针133或第一开关151生成报警信号。Optionally, a
可理解地,第三指针133与第一开关151可以配合形成一组开关,第一开关151作为开关的一导电触点,当第三指针133与第一开关151接触时,便使得开关导通,从而形成报警信号。其中,第一开关151可以作为上限触点或者下限触点,以避免滑动板110上升超过预设位移范围导致位置调节装置100出现不必要的损耗,或者避免滑动板110下降超过预设位移范围导致位置调节装置100出现不必要的损耗。基于此,有助于提高压力机10工作的稳定性及安全性。其中,该预设位移范围可根据实际情况进行设置。Understandably, the
可选地,位置调节装置100还包括第二开关152,第二开关152设置于侧板111靠近滑块121的一端,且第三指针133远离滑块121的一端在第一开关151与第二开关152之间,当第三指针133在运动过程中与第二开关152接触时,第三指针133或第二开关152生成报警信号。第二开关152的工作原理与第一开关151相类似。其中,第一开关151作为上限触点,第二开关152可以作为下限触点(如图1所示);或者第二开关152作为上限触点,第一开关151可以作为下限触点。Optionally, the
可理解地,通过第一开关151与第二开关152相配合,使得第三指针133在第一开关151与第三开关之间运动,当超过这范围时,便会与其中一开关接触,从而生成报警信号,以避免滑动板110运动范围超过预设位移范围而造成不必要的损耗。Understandably, through the cooperation of the
可选地,当在生成报警信号时,位置调节装置100可停止升降。基于第一开关151与第二开关152,在第三指针133与第一开关151或第二开关152接触时,便停止滑动板110的升降,实现数据互锁,从而提高位置调节装置100的可靠性及安全性。Optionally, when the alarm signal is generated, the
可选地,位置调节装置100还包括报警模块,用于在接收到报警信号时发出报警提示。其中,报警模块可以为发出声音报警提示或发出灯光报警提示,或者同时发出声音提示与灯光提示。比如,报警模块可以包括提示灯、喇叭等,在接收到报警信号时,发出相应的报警提示,当操作人员在发现报警提示时,便可以停止位置调节装置100的升降操作,并排查故障原因。Optionally, the
可选地,位置调节装置100还包括支承架122,支承架122设置于滑块121上。支撑将可以用于与其他部件或设备连接,用于在其他部件或设备的带动下,带动滑动板110上升或下降。比如,支承架122可以用于与图3中所示的升降部200连接。Optionally, the
图2为本实用新型第二种实施例的结构示意图。可选地,位置调节装置100还包括底座160,第一位移尺141的一端设置在底座160上。可理解地,设置的底座160可方便操作人员搬迁或移动该位置调节装置100。FIG. 2 is a schematic structural diagram of the second embodiment of the present invention. Optionally, the
基于上述设计,位置调节装置100的结构简单、易于实现,通过升降杆130、第一位移尺141与第二位移尺142相配合,可对滑动板110的位置进行精确的调节。另外,通过第三指针133、第一开关151与第二开关152,可实现位移数据的互锁,有助于提高位置调节装置100的稳定性及安全性。Based on the above design, the structure of the
图3为本实用新型第三种实施例的压力机10的结构示意图。本实施例提供了一种压力机10,包括升降部200及如上述实施例的位置调节装置100,升降部200与位置调节装置100中的滑块121连接,用于带动滑动板110上升或下降,以调节滑动板110的位置,其中,升降杆130用于进一步调节滑动板110的位置,以提高滑动板110位置的调节精度。FIG. 3 is a schematic structural diagram of a
图4为本实用新型实施例的位置调节方法流程图。本实施例提供了一种位置调节方法,可以应用于上述实施的位置调节装置100,用于调节位置调节装置100中滑块121及滑动板110的位置。FIG. 4 is a flowchart of a position adjustment method according to an embodiment of the present invention. This embodiment provides a position adjustment method, which can be applied to the
在本实施例中,位置调节方法可以包括以下步骤:In this embodiment, the position adjustment method may include the following steps:
步骤S310,控制位置调节装置100中的升降杆130运动,以带动设置在升降杆130上的滑块121运动;Step S310, controlling the movement of the
步骤S320,根据第二指针132指向第二位移尺142的位置确定滑块121的调节位置,其中,第二指针132设置于滑块121上。Step S320 , determining the adjustment position of the
可理解地,通过上述方法,便可以根据需求调节滑动板110的位置,在第二位移尺142的辅助下,可提高位置调节的精度。Understandably, through the above method, the position of the sliding
综上所述,本实用新型提供一种位置调节装置、压力机及位置调节方法。该位置调节装置包括滑动板、滑块、升降杆、第一指针、第二指针、第一位移尺及第二位移尺。升降杆的一端与滑动板连接,升降杆的另一端与滑块连接;第一指针设置于滑动板的侧端;第一指针远离滑动板的一端与第一位移尺滑动连接,用于检测滑动板的第一高度值;第二位移尺设置于滑动板上;第二指针设置于滑块上,并与第二位移尺滑动连接,用于检测滑块的第二高度值。本方案通过升降杆实现滑动板及滑块位置的调节,并利用第一位移尺与第二位移尺实现位置的测量,从而提高位置调节的精度及安全性能。In summary, the present invention provides a position adjusting device, a press and a position adjusting method. The position adjusting device includes a sliding plate, a sliding block, a lifting rod, a first pointer, a second pointer, a first displacement ruler and a second displacement ruler. One end of the lifting rod is connected with the sliding plate, and the other end of the lifting rod is connected with the sliding block; the first pointer is arranged on the side end of the sliding board; the end of the first pointer far away from the sliding board is slidingly connected with the first displacement ruler for detecting sliding The first height value of the board; the second displacement ruler is arranged on the sliding plate; the second pointer is arranged on the slider, and is slidably connected with the second displacement ruler for detecting the second height value of the slider. The scheme realizes the adjustment of the position of the sliding plate and the slider through the lifting rod, and uses the first displacement ruler and the second displacement ruler to realize the position measurement, thereby improving the accuracy and safety performance of the position adjustment.
最后说明的是,以上实施例仅用以说明本实用新型的技术方案而非限制,本领域普通技术人员对本实用新型的技术方案所做的其他修改或者等同替换,只要不脱离本实用新型技术方案的精神和范围,均应涵盖在本实用新型的权利要求范围当中。Finally, it should be noted that the above embodiments are only used to illustrate the technical solutions of the present invention and not to limit them. Other modifications or equivalent replacements made by those of ordinary skill in the art to the technical solutions of the present invention are not departing from the technical solutions of the present invention. The spirit and scope of the present invention should be included in the scope of the claims of the present invention.
Claims (9)
Priority Applications (1)
| Application Number | Priority Date | Filing Date | Title |
|---|---|---|---|
| CN201920587161.3U CN210211452U (en) | 2019-04-26 | 2019-04-26 | Position adjustment device and press |
Applications Claiming Priority (1)
| Application Number | Priority Date | Filing Date | Title |
|---|---|---|---|
| CN201920587161.3U CN210211452U (en) | 2019-04-26 | 2019-04-26 | Position adjustment device and press |
Publications (1)
| Publication Number | Publication Date |
|---|---|
| CN210211452U true CN210211452U (en) | 2020-03-31 |
Family
ID=69924254
Family Applications (1)
| Application Number | Title | Priority Date | Filing Date |
|---|---|---|---|
| CN201920587161.3U Active CN210211452U (en) | 2019-04-26 | 2019-04-26 | Position adjustment device and press |
Country Status (1)
| Country | Link |
|---|---|
| CN (1) | CN210211452U (en) |
Cited By (1)
| Publication number | Priority date | Publication date | Assignee | Title |
|---|---|---|---|---|
| CN110142996A (en) * | 2019-04-26 | 2019-08-20 | 山东省科学院激光研究所 | Position adjustment device, press and position adjustment method |
-
2019
- 2019-04-26 CN CN201920587161.3U patent/CN210211452U/en active Active
Cited By (2)
| Publication number | Priority date | Publication date | Assignee | Title |
|---|---|---|---|---|
| CN110142996A (en) * | 2019-04-26 | 2019-08-20 | 山东省科学院激光研究所 | Position adjustment device, press and position adjustment method |
| CN110142996B (en) * | 2019-04-26 | 2023-09-22 | 山东省科学院激光研究所 | Position adjusting device, press and position adjusting method |
Similar Documents
| Publication | Publication Date | Title |
|---|---|---|
| CN204594373U (en) | A kind of lever measurement by magnification device | |
| CN110655008A (en) | a lift platform | |
| CN210211452U (en) | Position adjustment device and press | |
| CN111307086A (en) | Automobile punching part size measurement device | |
| CN100432618C (en) | Two-dimensional displacement sensor and applied large-measuring range surface figure measuring device | |
| CN110142996B (en) | Position adjusting device, press and position adjusting method | |
| CN204228146U (en) | Automobile glass lifter pallets level degree measuring instrument | |
| CN207703121U (en) | Close to switch test device | |
| KR200483563Y1 (en) | Bending machine with easy adjustment of bending angle | |
| US12291841B2 (en) | Full-hydraulic automatic diaphragm wall cutting-grooving machine | |
| CN114486540A (en) | A kind of pressure resistance testing device based on automatic measurement and control and using method thereof | |
| CN211205123U (en) | PCB thickness measurement device | |
| CN110567356B (en) | Tank height and wall thickness measuring device for two-piece tank | |
| CN108044579A (en) | A kind of special tooling for being used to install EMU vacuum circuit breaker | |
| CN207180638U (en) | A kind of height measuring jig | |
| CN203203500U (en) | Stamping part clearance and plane difference measurement training apparatus | |
| CN214522139U (en) | Multidirectional-adjustment automatic stamping device | |
| CN210570589U (en) | Measuring instrument for detecting inner and outer diameters of steel pipe | |
| CN210512998U (en) | Tank height and wall thickness measuring device for two-piece tank | |
| CN222704051U (en) | Laser briquetting height measurement mechanism | |
| CN202734793U (en) | Height detection device of PIN in automobile throttle cover plate assembly | |
| CN209979239U (en) | Automobile door glass lifting test bed | |
| CN219767329U (en) | Working cylinder length error proofing device | |
| CN218657682U (en) | Floor type pressing machine | |
| CN223425965U (en) | Building flatness detection device for construction engineering |
Legal Events
| Date | Code | Title | Description |
|---|---|---|---|
| GR01 | Patent grant | ||
| GR01 | Patent grant | ||
| TR01 | Transfer of patent right | ||
| TR01 | Transfer of patent right |
Effective date of registration: 20240617 Address after: Room 409, Building 3, No. 818 Chunbo Road, High tech Zone, Jinan City, Shandong Province, 250104 Patentee after: Jinan Jiguang Intelligent Technology Partnership Enterprise (Limited Partnership) Country or region after: China Address before: 272000 block B, building A3, industry university research base, high tech Zone, No.9 Haichuan Road, Rencheng District, Jining City, Shandong Province Patentee before: LASER INSTITUTE,SHANDONG ACADEMY OF SCIENCES Country or region before: China |
