CN210195200U - Hanging flower basket device of encorbelmenting of high parapet - Google Patents

Hanging flower basket device of encorbelmenting of high parapet Download PDF

Info

Publication number
CN210195200U
CN210195200U CN201920714280.0U CN201920714280U CN210195200U CN 210195200 U CN210195200 U CN 210195200U CN 201920714280 U CN201920714280 U CN 201920714280U CN 210195200 U CN210195200 U CN 210195200U
Authority
CN
China
Prior art keywords
parapet
high parapet
hanging basket
flower basket
hanging flower
Prior art date
Legal status (The legal status is an assumption and is not a legal conclusion. Google has not performed a legal analysis and makes no representation as to the accuracy of the status listed.)
Expired - Fee Related
Application number
CN201920714280.0U
Other languages
Chinese (zh)
Inventor
Yutian Zhang
张玉田
Xiulian Yang
杨秀莲
Youcai Yang
杨友财
Huijun Zhang
张慧俊
Shaohua Hu
胡绍华
Xinchun Duan
段新春
Current Assignee (The listed assignees may be inaccurate. Google has not performed a legal analysis and makes no representation or warranty as to the accuracy of the list.)
NO 3 CONSTRUCTION ENGINEERING Co Ltd XINJIANG CONSTRUCTION ENGINEERING GROUP Co Ltd
Original Assignee
NO 3 CONSTRUCTION ENGINEERING Co Ltd XINJIANG CONSTRUCTION ENGINEERING GROUP Co Ltd
Priority date (The priority date is an assumption and is not a legal conclusion. Google has not performed a legal analysis and makes no representation as to the accuracy of the date listed.)
Filing date
Publication date
Application filed by NO 3 CONSTRUCTION ENGINEERING Co Ltd XINJIANG CONSTRUCTION ENGINEERING GROUP Co Ltd filed Critical NO 3 CONSTRUCTION ENGINEERING Co Ltd XINJIANG CONSTRUCTION ENGINEERING GROUP Co Ltd
Priority to CN201920714280.0U priority Critical patent/CN210195200U/en
Application granted granted Critical
Publication of CN210195200U publication Critical patent/CN210195200U/en
Expired - Fee Related legal-status Critical Current
Anticipated expiration legal-status Critical

Links

Images

Landscapes

  • Curtains And Furnishings For Windows Or Doors (AREA)

Abstract

本实用新型属于建筑施工设备的设计技术领域,具体公开一种高女儿墙悬挑吊篮装置,包括高女儿墙和设置在高女儿墙外侧的吊篮,在所述的高女儿墙的内侧固结设有后置预埋件,斜拉杆下端与后置预埋件相连接,其上端则与吊篮的横向连接的支撑架相连接。本装置解决了电动吊篮后支腿高度受限的问题,操作简便,施工效率高,可广泛应用在高层建筑、城市靓化及外墙后期维护等方面。

Figure 201920714280

The utility model belongs to the technical field of construction equipment design, and specifically discloses a high parapet hanging hanging basket device, which comprises a high parapet and a hanging basket arranged on the outer side of the high parapet, and is fixed on the inner side of the high parapet The knot is provided with a rear embedded part, the lower end of the oblique stay rod is connected with the rear embedded part, and the upper end is connected with the horizontally connected support frame of the hanging basket. The device solves the problem that the height of the back legs of the electric hanging basket is limited. It is easy to operate and has high construction efficiency. It can be widely used in high-rise buildings, urban beautification and post-maintenance of external walls.

Figure 201920714280

Description

Hanging flower basket device of encorbelmenting of high parapet
Technical Field
The utility model belongs to the technical field of the design of construction equipment, specifically disclose a hanging flower basket device that encorbelments of high parapet.
Background
In the construction of high-rise buildings, the construction of external wall heat preservation, decoration, curtain wall and the like adopts a fastener type steel pipe scaffold, which is labor-consuming, cost-increasing and unsafe, and the construction of the electric hanging basket scaffold is basically adopted in the current industry. Because the cast-in-place reinforced concrete parapet is too high, the height of the rear supporting leg of the electric hanging basket is limited, according to the actual field structure, a standard counter weight is cancelled, a rear embedded part is changed, and a diagonal draw bar (square steel □ 100 multiplied by 4) is fixed on the finished parapet structure, so that the problem that the height of the rear supporting leg of the electric hanging basket is limited is solved, and the operation of workers is simple and convenient.
Disclosure of Invention
The utility model aims at: because the cast-in-place reinforced concrete parapet of building structure is too high, in the construction of outer wall face, the landing leg height is restricted behind the electronic hanging flower basket, needs to improve current equipment, solves the limited problem of current electronic hanging flower basket landing leg height.
The technical scheme of the utility model: the utility model provides a hanging flower basket device that encorbelments of high parapet, includes high parapet and sets up the hanging flower basket in the high parapet outside the inboard consolidation of high parapet be equipped with rearmounted built-in fitting, the diagonal draw bar lower extreme is connected with rearmounted built-in fitting, its upper end then is connected with the support frame of the transverse connection of hanging flower basket.
Further designed, the transverse included angle a of the diagonal draw bar is 45 degrees.
Has the advantages that: the device solves the problem that the height of the rear support leg of the electric hanging basket is limited, and is convenient to operate. On-site installation personnel only need stand on the floor to fix the rear embedded part on the parapet wall by adopting 4M 16 expansion bolts. The two persons can operate independently and are not limited by the environment; the method has the advantages of simple and convenient operation, high construction efficiency, convenient construction, accordance with the modern rapid construction requirement and wide application prospect. The method can be widely applied to high-rise buildings, city beautification, later maintenance of outer walls and the like.
Drawings
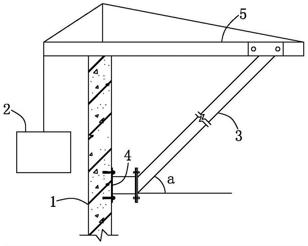
Fig. 1 is a schematic view of the structure of the present invention.
Detailed Description
Embodiment 1, a hanging flower basket device that encorbelments of high parapet, as shown in figure 1, including high parapet 1 and the hanging flower basket 2 of setting in high parapet 1 outside, the inboard of high parapet 1 solidify and be equipped with rearmounted built-in fitting 4, the lower extreme of diagonal draw bar 3 is connected with rearmounted built-in fitting 4, and its upper end is then connected with the support frame 5 of the transverse connection of hanging flower basket. The transverse included angle a of the diagonal draw bar 3 is 45 degrees.
The method is implemented in practice: the rear embedded parts are two-300 multiplied by 10 steel plates and one phi 150 steel pipe (L =200 long), Q235B, and are fixed on the concrete high parapet wall by adopting 4M 16 expansion bolts. The diagonal draw bars are □ 100 multiplied by 4 and are connected with the rear embedded parts by 4M 16 bolts. The steel ladle card is made of a-8 mm steel plate and Q235 steel, and the field welding line is 6 mm. The angle of the diagonal draw bar is 45 degrees.

Claims (2)

1. The utility model provides a hanging flower basket device of encorbelmenting of high parapet, includes high parapet (1) and sets up hanging flower basket (2) in high parapet (1) outside, its characterized in that: the inner side of the high parapet wall (1) is fixedly connected with a rear embedded part (4), the lower end of the diagonal draw bar (3) is connected with the rear embedded part (4), and the upper end of the diagonal draw bar is connected with a supporting frame (5) which is transversely connected with the hanging basket.
2. A high parapet overhanging basket apparatus as claimed in claim 1, wherein: the transverse included angle a of the diagonal draw bar (3) is 45 degrees.
CN201920714280.0U 2019-05-18 2019-05-18 Hanging flower basket device of encorbelmenting of high parapet Expired - Fee Related CN210195200U (en)

Priority Applications (1)

Application Number Priority Date Filing Date Title
CN201920714280.0U CN210195200U (en) 2019-05-18 2019-05-18 Hanging flower basket device of encorbelmenting of high parapet

Applications Claiming Priority (1)

Application Number Priority Date Filing Date Title
CN201920714280.0U CN210195200U (en) 2019-05-18 2019-05-18 Hanging flower basket device of encorbelmenting of high parapet

Publications (1)

Publication Number Publication Date
CN210195200U true CN210195200U (en) 2020-03-27

Family

ID=69875681

Family Applications (1)

Application Number Title Priority Date Filing Date
CN201920714280.0U Expired - Fee Related CN210195200U (en) 2019-05-18 2019-05-18 Hanging flower basket device of encorbelmenting of high parapet

Country Status (1)

Country Link
CN (1) CN210195200U (en)

Cited By (1)

* Cited by examiner, † Cited by third party
Publication number Priority date Publication date Assignee Title
CN111962854A (en) * 2020-08-12 2020-11-20 鹏程建设集团有限公司 Scaffold with safety protection mechanism and building method

Cited By (1)

* Cited by examiner, † Cited by third party
Publication number Priority date Publication date Assignee Title
CN111962854A (en) * 2020-08-12 2020-11-20 鹏程建设集团有限公司 Scaffold with safety protection mechanism and building method

Similar Documents

Publication Publication Date Title
CN101672102B (en) Steel structural overhead ceiling construction platform
CN102661019A (en) Heat preservation and decoration integrated construction method for outer wall of building
CN204266609U (en) Assembled architecture faces limit horizontal protective and chooses net system
CN206513004U (en) A kind of movable hanger for being easy to roof inner slab to install
CN201786037U (en) A kind of temporary safety protection door for elevator hole in building construction
CN204475593U (en) Support structure installed by a kind of curtain wall
CN205747445U (en) The outer machine suspension strut structure of grid basket ceiling type air conditioner
CN210195200U (en) Hanging flower basket device of encorbelmenting of high parapet
CN109944430A (en) A kind of electric lifting platform construction method for special-shaped exterior walls of buildings operation
CN201695661U (en) Components for installing external hangers at the window
CN206034875U (en) Auxiliary mounting movable arm type tower crane tool beam hanging basket device
CN204676865U (en) A kind of building scaffold
CN204001702U (en) A kind of J-shaped wall plastic formwork
CN202324680U (en) Protection device of elevator shaft
CN207332338U (en) A kind of assembled architecture wallboard adjustment mechanism
CN207004059U (en) A kind of combined support frame and wall-panels supports structure
CN204876514U (en) Outer hanging scaffold system of assembled house
CN209457361U (en) retractable basket
CN109162466A (en) Roof surface unit type curtain wall mounting structure and method
CN204081433U (en) Steel structural roof liner profiled sheet construction Special-purpose hanger basket support
CN209053525U (en) Tool, Combined type steel sizing security fences
CN209468876U (en) A prefabricated integrated external wall thermal insulation formwork reinforcement device
CN207110421U (en) One kind is used to protect frame system outside the working regularization of assembled architecture
CN209653548U (en) A kind of horizontal protective device of modularization for construction
CN105003075A (en) Building construction system

Legal Events

Date Code Title Description
GR01 Patent grant
GR01 Patent grant
CF01 Termination of patent right due to non-payment of annual fee
CF01 Termination of patent right due to non-payment of annual fee

Granted publication date: 20200327