CN210192677U - Discharging and storing box body distributing device of stone crusher - Google Patents
Discharging and storing box body distributing device of stone crusher Download PDFInfo
- Publication number
- CN210192677U CN210192677U CN201921058895.9U CN201921058895U CN210192677U CN 210192677 U CN210192677 U CN 210192677U CN 201921058895 U CN201921058895 U CN 201921058895U CN 210192677 U CN210192677 U CN 210192677U
- Authority
- CN
- China
- Prior art keywords
- buffer
- hopper body
- buffer groove
- buffer tank
- shock
- Prior art date
- Legal status (The legal status is an assumption and is not a legal conclusion. Google has not performed a legal analysis and makes no representation as to the accuracy of the status listed.)
- Active
Links
Images
Landscapes
- Disintegrating Or Milling (AREA)
- Crushing And Grinding (AREA)
Abstract
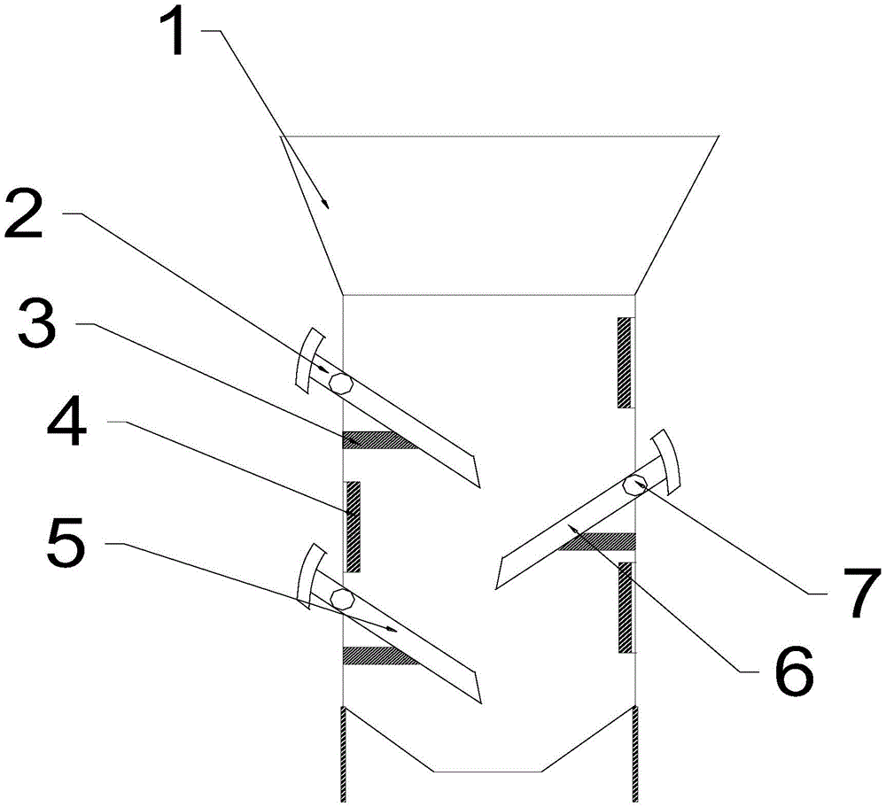
本实用新型涉及一种碎石机下料储存箱体分料装置,包括下料斗本体,下料斗本体内设缓冲组件和喷水管,缓冲组件包括第一缓冲槽、第二缓冲槽和第三缓冲槽,第一缓冲槽和下料斗本体的入口相对应,第一缓冲槽的出口和第二缓冲槽的上端相对应,第二缓冲槽的出口和第三缓冲槽的上端相对应,第三缓冲槽的出口和下料斗本体的出口相对应,缓冲组件的下端设减震弹簧,减震弹簧的一端连接下料斗本体的侧壁,减震弹簧的另一端连接缓冲组件的下表面,喷水管设于下料斗本体的侧壁上。本实用新型提供的分料装置,可减缓石子冲击力,降低石子下落的噪音,延长设备的使用寿命。
The utility model relates to a material distributing device for a stone crusher blanking storage box, comprising a lowering hopper body, a buffer assembly and a water spray pipe are arranged in the lowering hopper body, and the buffering assembly comprises a first buffer tank, a second buffer tank and a third buffer tank. The buffer tank, the first buffer tank corresponds to the inlet of the lower hopper body, the outlet of the first buffer tank corresponds to the upper end of the second buffer tank, the outlet of the second buffer tank corresponds to the upper end of the third buffer tank, and the third buffer tank corresponds to the upper end of the third buffer tank. The outlet of the buffer tank corresponds to the outlet of the lower hopper body. The lower end of the buffer assembly is provided with a shock-absorbing spring, one end of the shock-absorbing spring is connected to the side wall of the lower hopper body, and the other end of the shock-absorbing spring is connected to the lower surface of the buffer assembly. The pipe is arranged on the side wall of the lower hopper body. The material distribution device provided by the utility model can slow down the impact force of stones, reduce the noise of falling stones, and prolong the service life of the equipment.
Description
Claims (7)
Priority Applications (1)
| Application Number | Priority Date | Filing Date | Title |
|---|---|---|---|
| CN201921058895.9U CN210192677U (en) | 2019-07-08 | 2019-07-08 | Discharging and storing box body distributing device of stone crusher |
Applications Claiming Priority (1)
| Application Number | Priority Date | Filing Date | Title |
|---|---|---|---|
| CN201921058895.9U CN210192677U (en) | 2019-07-08 | 2019-07-08 | Discharging and storing box body distributing device of stone crusher |
Publications (1)
| Publication Number | Publication Date |
|---|---|
| CN210192677U true CN210192677U (en) | 2020-03-27 |
Family
ID=69869239
Family Applications (1)
| Application Number | Title | Priority Date | Filing Date |
|---|---|---|---|
| CN201921058895.9U Active CN210192677U (en) | 2019-07-08 | 2019-07-08 | Discharging and storing box body distributing device of stone crusher |
Country Status (1)
| Country | Link |
|---|---|
| CN (1) | CN210192677U (en) |
Cited By (1)
| Publication number | Priority date | Publication date | Assignee | Title |
|---|---|---|---|---|
| CN118850783A (en) * | 2024-09-26 | 2024-10-29 | 河南省黄海重型装备制造有限公司新乡分公司 | A loading and unloading device for freight train |
-
2019
- 2019-07-08 CN CN201921058895.9U patent/CN210192677U/en active Active
Cited By (1)
| Publication number | Priority date | Publication date | Assignee | Title |
|---|---|---|---|---|
| CN118850783A (en) * | 2024-09-26 | 2024-10-29 | 河南省黄海重型装备制造有限公司新乡分公司 | A loading and unloading device for freight train |
Similar Documents
| Publication | Publication Date | Title |
|---|---|---|
| CN206485811U (en) | Prevent activated carbon granule from loading broken feed bin | |
| CN210192677U (en) | Discharging and storing box body distributing device of stone crusher | |
| CN206716063U (en) | A dust-proof ore crusher for mining | |
| CN210171573U (en) | A fungus stick crushing device for mushroom cultivation | |
| CN112221581B (en) | Building solid waste retrieves regeneration with smashing system | |
| CN108582587B (en) | A kind of waste plastics crusher | |
| CN208032692U (en) | A kind of coal crushing device | |
| CN209451946U (en) | A kind of new and effective ball mill | |
| CN212075543U (en) | Overlength high fall coal breakage device | |
| CN201292149Y (en) | Dust-reducing and buffering device for limestone belt transfer line | |
| CN208695265U (en) | A kind of oscillatory type desliming screening feeding device | |
| CN220316062U (en) | A feeding buffer for steel sheet storehouse | |
| CN211099269U (en) | Rock crusher for mine | |
| CN210815650U (en) | Dustproof stone crusher | |
| CN209093489U (en) | A kind of vortex type pulverizer for cement | |
| CN211274373U (en) | Device for reducing quartz sand tailing proportion | |
| CN219073064U (en) | Large-doping-amount building solid waste treatment equipment | |
| CN114345481A (en) | Environment-friendly ore ball mill with dust keeper | |
| CN221288206U (en) | Milling equipment of quartzy rubble processing | |
| CN223073545U (en) | A jaw crusher discharging structure | |
| CN205833621U (en) | A set of rice dedusting hierarchy system | |
| CN207086076U (en) | A kind of gangue two-stage breaker | |
| CN206810404U (en) | A kind of unpowered ball mill clearing apparatus | |
| CN210332976U (en) | Concrete crushing and recycling device | |
| CN206577815U (en) | A kind of cone crusher of energy autostop |
Legal Events
| Date | Code | Title | Description |
|---|---|---|---|
| GR01 | Patent grant | ||
| GR01 | Patent grant | ||
| TR01 | Transfer of patent right |
Effective date of registration: 20241028 Address after: 457000 Courtyard 1, Jinhu Road, northwest corner of the intersection of Jing'er Road and Jinhu Road, Puyang City, Henan Province Patentee after: Henan Beizhu Intelligent Equipment Manufacturing Co.,Ltd. Country or region after: China Address before: 457000 in yard 23, Kaizhou South Road, Puyang City, Henan Province Patentee before: HENAN GUANGDA ROAD AND BRIDGE ENGINEERING Co.,Ltd. Country or region before: China |
|
| TR01 | Transfer of patent right | ||
| TR01 | Transfer of patent right |
Effective date of registration: 20251028 Address after: 457000 Courtyard 1, Jinhu Road, northwest corner of the intersection of Jing'er Road and Jinhu Road, Puyang City, Henan Province Patentee after: Henan Beizhu Asphalt Foaming Technology Co.,Ltd. Country or region after: China Address before: 457000 Courtyard 1, Jinhu Road, northwest corner of the intersection of Jing'er Road and Jinhu Road, Puyang City, Henan Province Patentee before: Henan Beizhu Intelligent Equipment Manufacturing Co.,Ltd. Country or region before: China |
|
| TR01 | Transfer of patent right |
