CN210187152U - Reation kettle for chemical production - Google Patents

Reation kettle for chemical production Download PDF

Info

Publication number
CN210187152U
CN210187152U CN201920816791.3U CN201920816791U CN210187152U CN 210187152 U CN210187152 U CN 210187152U CN 201920816791 U CN201920816791 U CN 201920816791U CN 210187152 U CN210187152 U CN 210187152U
Authority
CN
China
Prior art keywords
fixedly connected
reaction
frame
pipe
intercommunication
Prior art date
Legal status (The legal status is an assumption and is not a legal conclusion. Google has not performed a legal analysis and makes no representation as to the accuracy of the status listed.)
Expired - Fee Related
Application number
CN201920816791.3U
Other languages
Chinese (zh)
Inventor
Tianshui Liu
刘添水
Current Assignee (The listed assignees may be inaccurate. Google has not performed a legal analysis and makes no representation or warranty as to the accuracy of the list.)
Hubei Jinruijing Biotechnology Co ltd
Original Assignee
Quanzhou Jiachen Technology Co Ltd
Priority date (The priority date is an assumption and is not a legal conclusion. Google has not performed a legal analysis and makes no representation as to the accuracy of the date listed.)
Filing date
Publication date
Application filed by Quanzhou Jiachen Technology Co Ltd filed Critical Quanzhou Jiachen Technology Co Ltd
Priority to CN201920816791.3U priority Critical patent/CN210187152U/en
Application granted granted Critical
Publication of CN210187152U publication Critical patent/CN210187152U/en
Expired - Fee Related legal-status Critical Current
Anticipated expiration legal-status Critical

Links

Images

Landscapes

  • Physical Or Chemical Processes And Apparatus (AREA)

Abstract

本实用新型公开了一种化工生产用反应釜,包括外部防护框,所述外部防护框的内腔固定连接有反应罐,所述外部防护框的底部设有减速电机,所述减速电机的顶部固定连接有固定架,所述固定架的顶部与外部防护框的连接处固定连接,所述减速电机的输出端固定连接有联轴器,所述联轴器的顶部固定连接有旋转杆。本实用新型通过设置进料管、搅拌杆、旋转杆减速电机、加热框、泄压阀、加压管、喷头、水泵、密封圈和加热棒,可使装置达到反应效果好的功能,解决了现有市场上的反应釜不具备反应效果好的功能,使用局限性较大,无法对反应溶液进行的多重反应提供反应条件,因此反应时间变长,生产效率较低,不利于使用者使用的问题。

Figure 201920816791

The utility model discloses a reaction kettle for chemical production, which comprises an outer protective frame, the inner cavity of the outer protective frame is fixedly connected with a reaction tank, the bottom of the outer protective frame is provided with a deceleration motor, and the top of the deceleration motor is arranged A fixing frame is fixedly connected, the top of the fixing frame is fixedly connected with the connection of the external protective frame, the output end of the reduction motor is fixedly connected with a coupling, and the top of the coupling is fixedly connected with a rotating rod. By arranging a feeding pipe, a stirring rod, a rotating rod deceleration motor, a heating frame, a pressure relief valve, a pressurizing pipe, a spray head, a water pump, a sealing ring and a heating rod, the utility model can make the device achieve the function of good reaction effect and solve the problem of The existing reaction kettles on the market do not have the function of good reaction effect, have large limitations in use, and cannot provide reaction conditions for the multiple reactions carried out by the reaction solution, so the reaction time becomes longer and the production efficiency is low, which is not conducive to the use of the user. question.

Figure 201920816791

Description

Reation kettle for chemical production
Technical Field
The utility model relates to a chemical production technical field specifically is a reation kettle for chemical production.
Background
The broad understanding of the reaction vessel is that there is a physical or chemical reaction vessel, through the structural design and parameter configuration of the vessel, the heating, evaporation, cooling and low-speed mixing functions of the process requirements are realized, the reaction vessel is widely applied to petroleum, chemical engineering, rubber, pesticides, dyes, medicines, foods, and pressure vessels for completing the processes of vulcanization, nitration, hydrogenation, alkylation, polymerization, condensation, etc., such as reactors, reaction pots, decomposing pots, polymerization vessels, etc.; the material is carbon manganese steel, stainless steel, zirconium, nickel-based alloy and other composite materials.
Need use reation kettle to carry out chemical reaction when chemical production, reation kettle on the existing market does not possess the effectual function of reaction, uses the limitation great, can't provide reaction condition to the multiple reaction that reaction solution goes on, therefore reaction time lengthens, and production efficiency is lower, is unfavorable for user's use.
SUMMERY OF THE UTILITY MODEL
An object of the utility model is to provide a reation kettle for chemical production possesses the advantage that the reaction effect is good, has solved the problem that reation kettle for chemical production does not possess the good function of reaction effect on the current market.
In order to achieve the above object, the utility model provides a following technical scheme: a reaction kettle for chemical production comprises an external protection frame, wherein a reaction tank is fixedly connected with the inner cavity of the external protection frame, a speed reducing motor is arranged at the bottom of the external protection frame, a fixing frame is fixedly connected with the top of the speed reducing motor, the top of the fixing frame is fixedly connected with the joint of the external protection frame, a coupler is fixedly connected with the output end of the speed reducing motor, a rotary rod is fixedly connected with the top of the coupler, the top of the rotary rod penetrates through the external protection frame and the reaction tank and extends to the inner cavity of the reaction tank, stirring rods are fixedly connected with the two sides of the surface of the rotary rod, a water pump is fixedly connected with the left side of the top of the external protection frame, the left side of the water pump is communicated with a water inlet pipe, the right side of the water pump is communicated with a connecting pipe, the bottom of the connecting pipe penetrates through, the inner cavity fixedly connected with of retort heats the frame, the inner cavity of heating frame is equipped with the heating rod.
Preferably, the both sides of outside protection frame bottom are the equal fixedly connected with supporting leg, the bottom fixedly connected with backup pad of supporting leg, the bottom of backup pad passes through rag bolt fixed connection with the junction on ground.
Preferably, the left bottom of outside protection frame intercommunication has the liquid outlet, the left side intercommunication of retort has the inlet pipe, the bottom intercommunication on retort right side has the discharging pipe.
Preferably, the bottom fixedly connected with of retort inner chamber is with the sealing washer that the rotary rod cooperation was used, the use material of sealing washer is wear-resisting corrosion-resistant rubber.
Preferably, the top on retort right side intercommunication has the forcing pipe, the fixed surface of forcing pipe is connected with the relief valve, one side intercommunication that the reacting pot was kept away from to the forcing pipe has supercharging device, one side intercommunication that the water pump was kept away from to the inlet tube has water storage device.
Compared with the prior art, the beneficial effects of the utility model are as follows:
1. the utility model discloses a set up inlet pipe, puddler, rotary rod gear motor, heating frame, relief valve, forcing pipe, shower nozzle, water pump, sealing washer and heating rod, can make the device reach the function that the reaction effect is good, solved reation kettle on the current market and did not possess the function that the reaction effect is good, use the limitation great, multiple reaction that can't go on to reaction solution provides reaction condition, consequently reaction time becomes long, production efficiency is lower, is unfavorable for the problem that the user used.
2. By the aid of the foundation bolts, the phenomenon that the use of the device is affected by shaking during use can be effectively avoided, and the stability of the device during use is improved;
accumulated liquid in the inner cavity of the external protective frame can be effectively removed in time through the liquid outlet, so that the use of equipment is facilitated, and the practicability of the device in use is improved;
by the aid of the sealing ring, the phenomenon that the use is affected by liquid leakage at the bottom of the reaction tank can be effectively avoided, and the sealing performance of the device in use is improved;
through forcing pipe and relief valve, can the person of facilitating the use more pressurizes the retort, effectively promoted some reaction solution's reaction rate, practicality when having promoted the device and using.
Drawings
FIG. 1 is a schematic structural view of the present invention;
FIG. 2 is an enlarged view of a portion A of FIG. 1;
fig. 3 is a top cross-sectional view of the reaction tank of the present invention.
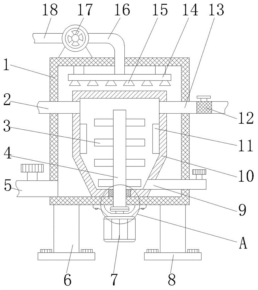
In the figure: 1 outside protection frame, 2 inlet pipes, 3 puddlers, 4 rotary rods, 5 liquid outlets, 6 supporting legs, 7 gear motor, 8 backup pads, 9 discharging pipes, 10 retort, 11 heating frame, 12 relief valves, 13 forcing pipe, 14 violently pipes, 15 shower nozzles, 16 connecting pipes, 17 water pump, 18 inlet tubes, 19 shaft couplings, 20 sealing washer, 21 mount, 22 heating rod.
Detailed Description
The technical solutions in the embodiments of the present invention will be described clearly and completely with reference to the accompanying drawings in the embodiments of the present invention, and it is obvious that the described embodiments are only some embodiments of the present invention, not all embodiments. Based on the embodiments in the present invention, all other embodiments obtained by a person skilled in the art without creative work belong to the protection scope of the present invention.
In the description of the present invention, it should be noted that the terms "upper", "lower", "inner", "outer", "front end", "rear end", "both ends", "one end", "the other end", and the like indicate orientations or positional relationships based on the orientations or positional relationships shown in the drawings, and are only for convenience of description and simplification of description, but do not indicate or imply that the device or element to be referred must have a specific orientation, be constructed in a specific orientation, and be operated, and thus, should not be construed as limiting the present invention. Furthermore, the terms "first" and "second" are used for descriptive purposes only and are not to be construed as indicating or implying relative importance.
In the description of the present invention, it is to be noted that, unless otherwise explicitly specified or limited, the terms "mounted", "provided", "connected", and the like are to be construed broadly, such as "connected", which may be fixedly connected, detachably connected, or integrally connected; can be mechanically or electrically connected; they may be connected directly or indirectly through intervening media, or they may be interconnected between two elements. The specific meaning of the above terms in the present invention can be understood in specific cases to those skilled in the art.
Referring to fig. 1-3, a reaction kettle for chemical production comprises an external protection frame 1, wherein supporting legs 6 are fixedly connected to both sides of the bottom of the external protection frame 1, a supporting plate 8 is fixedly connected to the bottom of the supporting legs 6, the joint of the bottom of the supporting plate 8 and the ground is fixedly connected through anchor bolts, the phenomenon that the device shakes to affect the use during use can be effectively avoided through the anchor bolts, the stability of the device during use is improved, a reaction tank 10 is fixedly connected to the inner cavity of the external protection frame 1, a speed reduction motor 7 is arranged at the bottom of the external protection frame 1, a fixing frame 21 is fixedly connected to the top of the speed reduction motor 7, the joint of the fixing frame 21 and the external protection frame 1 is fixedly connected, a coupler 19 is fixedly connected to the output end of the speed reduction motor 7, a rotary rod 4 is fixedly connected to the top of the coupler 19, the top of the rotary rod 4 penetrates through the external protection frame 1 and the, the bottom of the inner cavity of the reaction tank 10 is fixedly connected with a sealing ring 20 matched with the rotary rod 4 for use, the sealing ring 20 is made of wear-resistant and corrosion-resistant rubber, the phenomenon that the bottom of the reaction tank 10 is leaked to influence the use can be effectively avoided through the sealing ring 20, the sealing performance of the device in use is improved, the stirring rod 3 is fixedly connected to both sides of the surface of the rotary rod 4, the liquid outlet 5 is communicated with the bottom of the left side of the external protection frame 1, the feeding pipe 2 is communicated with the left side of the reaction tank 10, the discharging pipe 9 is communicated with the bottom of the right side of the reaction tank 10, accumulated liquid in the inner cavity of the external protection frame 1 can be timely and effectively discharged through the liquid outlet 5, the use of equipment is facilitated, the practicability of the device in use is improved, the water pump 17 is fixedly connected to the left side of the top of the, outside protection frame 1 is run through to the bottom of connecting pipe 16 and the intercommunication has violently pipe 14, the bottom intercommunication of violently pipe 14 has shower nozzle 15, the top intercommunication on retort 10 right side has forcing pipe 13, the fixed surface of forcing pipe 13 is connected with relief valve 12, one side intercommunication that retort 10 was kept away from to forcing pipe 13 has supercharging device, one side intercommunication that water pump 17 was kept away from to inlet tube 18 has water storage device, through forcing pipe 13 and relief valve 12, can user of facilitating the use more pressurizes retort 10, certain reaction solution's reaction rate has effectively been promoted, practicality when having promoted the device and using, retort 10's inner chamber fixedly connected with heating frame 11, the inner chamber of heating frame 11 is equipped with heating rod 22.
When the reaction tank is used, a user pumps reaction solution to the inner cavity of the reaction tank 10 through the feeding pipe 2, the inner cavity of the reaction tank 10 can be heated by starting the heating rod 22 to accelerate reaction of some reaction solution, the coupler 19 is driven to rotate by starting the speed reducing motor 7, the rotating rod 4 is driven to rotate by the rotation of the coupler 19, the stirring rod 3 is driven to rotate by the rotation of the rotating rod 4 to mix the reaction solution in the inner cavity of the reaction tank 10, the reaction speed is accelerated, the inner cavity of the reaction tank 10 can be pressurized by the external pressurizing equipment of the pressurizing pipe 13, cooling water of the external water storage equipment can be pumped to the inner cavity of the transverse pipe 14 along the water inlet pipe 18 and the connecting pipe 16 by starting the water pump 17 to be sprayed out along the spray nozzle 15 to cool the reaction tank 10, and the use can be adjusted according to different reaction requirements of different reaction solutions through the matching of, the suitability is strong, has promoted reation kettle's reaction rate greatly, and convenient to use person's operation is fit for using widely.
In summary, the following steps: this reation kettle for chemical production, through inlet pipe 2, puddler 3, rotary rod 4, gear motor 7, heating frame 11, relief valve 12, forcing pipe 13, shower nozzle 15, water pump 17, sealing washer 20 and heating rod 22, reation kettle on having solved the existing market does not possess the function that the reaction effect is good, the use limitation is great, multiple reaction that can't go on to reaction solution provides reaction condition, consequently, reaction time becomes long, production efficiency is lower, be unfavorable for the problem that the user used.
Although embodiments of the present invention have been shown and described, it will be appreciated by those skilled in the art that changes, modifications, substitutions and alterations can be made in these embodiments without departing from the principles and spirit of the invention, the scope of which is defined in the appended claims and their equivalents.

Claims (5)

1. The utility model provides a reation kettle for chemical production, includes outside protective frame (1), its characterized in that: the reaction tank (10) is fixedly connected to the inner cavity of the external protection frame (1), the speed reducing motor (7) is arranged at the bottom of the external protection frame (1), a fixing frame (21) is fixedly connected to the top of the speed reducing motor (7), the top of the fixing frame (21) is fixedly connected to the joint of the external protection frame (1), a coupler (19) is fixedly connected to the output end of the speed reducing motor (7), a rotary rod (4) is fixedly connected to the top of the coupler (19), the top of the rotary rod (4) penetrates through the external protection frame (1) and the reaction tank (10) and extends to the inner cavity of the reaction tank (10), stirring rods (3) are fixedly connected to the two sides of the surface of the rotary rod (4), a water pump (17) is fixedly connected to the left side of the top of the external protection frame (1), and a water inlet pipe (18) is communicated to the left side, the right side intercommunication of water pump (17) has connecting pipe (16), the bottom of connecting pipe (16) runs through outside protective frame (1) and the intercommunication has violently pipe (14), the bottom intercommunication of violently pipe (14) has shower nozzle (15), the inner chamber fixedly connected with heating frame (11) of retort (10), the inner chamber of heating frame (11) is equipped with heating rod (22).
2. The reaction kettle for chemical production according to claim 1, wherein: the supporting legs are fixedly connected to two sides of the bottom of the external protection frame (1), supporting plates (8) are fixedly connected to the bottoms of the supporting legs (6), and the bottoms of the supporting plates (8) are fixedly connected with the joints of the ground through foundation bolts.
3. The reaction kettle for chemical production according to claim 1, wherein: the left bottom intercommunication of outside protective frame (1) has liquid outlet (5), the left side intercommunication of retort (10) has inlet pipe (2), the bottom intercommunication on retort (10) right side has discharging pipe (9).
4. The reaction kettle for chemical production according to claim 1, wherein: the bottom fixedly connected with in retort (10) inner chamber is with sealing washer (20) that rotary rod (4) cooperation was used, the use material of sealing washer (20) is wear-resisting corrosion-resistant rubber.
5. The reaction kettle for chemical production according to claim 1, wherein: the top intercommunication on retort (10) right side has forcing pipe (13), the fixed surface of forcing pipe (13) is connected with relief valve (12), one side intercommunication that retort (10) were kept away from in forcing pipe (13) has supercharging device, one side intercommunication that water pump (17) were kept away from in inlet tube (18) has water storage device.
CN201920816791.3U 2019-06-02 2019-06-02 Reation kettle for chemical production Expired - Fee Related CN210187152U (en)

Priority Applications (1)

Application Number Priority Date Filing Date Title
CN201920816791.3U CN210187152U (en) 2019-06-02 2019-06-02 Reation kettle for chemical production

Applications Claiming Priority (1)

Application Number Priority Date Filing Date Title
CN201920816791.3U CN210187152U (en) 2019-06-02 2019-06-02 Reation kettle for chemical production

Publications (1)

Publication Number Publication Date
CN210187152U true CN210187152U (en) 2020-03-27

Family

ID=69872678

Family Applications (1)

Application Number Title Priority Date Filing Date
CN201920816791.3U Expired - Fee Related CN210187152U (en) 2019-06-02 2019-06-02 Reation kettle for chemical production

Country Status (1)

Country Link
CN (1) CN210187152U (en)

Cited By (2)

* Cited by examiner, † Cited by third party
Publication number Priority date Publication date Assignee Title
CN111547900A (en) * 2020-03-31 2020-08-18 江苏乾宝生物科技有限公司 Preparation device and method of high-potential oxidation disinfectant fluid
CN111760529A (en) * 2020-07-07 2020-10-13 郑琼华 Reaction kettle and reaction kettle installation method

Cited By (2)

* Cited by examiner, † Cited by third party
Publication number Priority date Publication date Assignee Title
CN111547900A (en) * 2020-03-31 2020-08-18 江苏乾宝生物科技有限公司 Preparation device and method of high-potential oxidation disinfectant fluid
CN111760529A (en) * 2020-07-07 2020-10-13 郑琼华 Reaction kettle and reaction kettle installation method

Similar Documents

Publication Publication Date Title
CN210187152U (en) Reation kettle for chemical production
CN210473774U (en) High-efficient agitator tank is used in beautiful seam agent processing
CN214131619U (en) A high pressure reactor
CN211329375U (en) Graphene heavy-duty anticorrosive paint reaction kettle
CN217367931U (en) High-efficient structure of wasing of chemical industry reation kettle
CN212595686U (en) Reaction kettle with anti-sticking wall
CN212632676U (en) Reation kettle convenient to wash
CN213315005U (en) Chemical reaction kettle
CN213298200U (en) A drainage mixes subassembly for water pump
CN213791660U (en) Horizontal enamel reactor is used in production of high molecular weight dispersant
CN216224412U (en) Reaction kettle with automatic cleaning device
CN212701905U (en) A new type of reaction kettle for epoxy resin production
CN213913772U (en) Reation kettle with cleaning function
CN211303031U (en) Leakage-proof chemical reaction kettle
CN211612725U (en) Electric heating reaction kettle
CN221132205U (en) Corrosion-resistant reaction kettle
CN213493634U (en) Reation kettle for chemical industry of homogeneous mixing
CN216321762U (en) Easy abluent high pressure batch autoclave
CN221287828U (en) Plastic reaction kettle for working fluid
CN216367947U (en) Chemical industry reation kettle that high-efficient reaction is even
CN213528604U (en) Anti-corrosion reaction kettle
CN213913760U (en) Acidification reaction tank
CN211636503U (en) Reation kettle of sheep ba coating production usefulness
CN217887993U (en) Reation kettle is used in methanol catalyst preparation
CN213669260U (en) An environmentally friendly, energy-saving and safe chemical reaction kettle

Legal Events

Date Code Title Description
GR01 Patent grant
GR01 Patent grant
TR01 Transfer of patent right
TR01 Transfer of patent right

Effective date of registration: 20221123

Address after: 434000 Merchants Avenue (Riverside Industrial Park), Haochao Town, Jiangling County, Jingzhou City, Hubei Province (self declared)

Patentee after: Hubei Jinruijing Biotechnology Co.,Ltd.

Address before: 362802 4th floor, longcuoshe north, qianting village, Fengwei Town, Quangang District, Quanzhou City, Fujian Province

Patentee before: QUANZHOU JIACHEN TECHNOLOGY Co.,Ltd.

CF01 Termination of patent right due to non-payment of annual fee
CF01 Termination of patent right due to non-payment of annual fee

Granted publication date: 20200327