CN210181943U - Tourism hotel uses sign alignment jig - Google Patents

Tourism hotel uses sign alignment jig Download PDF

Info

Publication number
CN210181943U
CN210181943U CN201921377077.5U CN201921377077U CN210181943U CN 210181943 U CN210181943 U CN 210181943U CN 201921377077 U CN201921377077 U CN 201921377077U CN 210181943 U CN210181943 U CN 210181943U
Authority
CN
China
Prior art keywords
rod
base
extension rod
extension
sign
Prior art date
Legal status (The legal status is an assumption and is not a legal conclusion. Google has not performed a legal analysis and makes no representation as to the accuracy of the status listed.)
Expired - Fee Related
Application number
CN201921377077.5U
Other languages
Chinese (zh)
Inventor
Man Zhang
张曼
Current Assignee (The listed assignees may be inaccurate. Google has not performed a legal analysis and makes no representation or warranty as to the accuracy of the list.)
Xianyang Normal University
Original Assignee
Xianyang Normal University
Priority date (The priority date is an assumption and is not a legal conclusion. Google has not performed a legal analysis and makes no representation as to the accuracy of the date listed.)
Filing date
Publication date
Application filed by Xianyang Normal University filed Critical Xianyang Normal University
Priority to CN201921377077.5U priority Critical patent/CN210181943U/en
Application granted granted Critical
Publication of CN210181943U publication Critical patent/CN210181943U/en
Expired - Fee Related legal-status Critical Current
Anticipated expiration legal-status Critical

Links

Images

Landscapes

  • Road Signs Or Road Markings (AREA)

Abstract

本实用新型属于酒店指示牌调节装置技术领域,涉及一种旅游酒店用指示牌调节架,包括底座和支架;底座顶部设置有支架;支架包括基础杆和延长杆,基础杆固定设置于底座上,基础杆内套设有延长杆,延长杆为螺杆,且套设有多个螺纹套,螺纹套上环绕可拆卸连接有多个横杆,横杆的上、下两个侧面均设置有卡槽,卡槽内底部设置有U型结构的弹性卡块;基础杆上部还贯穿设置有用于固定延长杆的螺栓。本实用新型结构合理,使用简单,通过延长杆以及螺纹套的设置,能够根据需要安装多个指示牌,也可以根据指示牌的安装需要调节高度和角度,实用性强。

Figure 201921377077

The utility model belongs to the technical field of a hotel sign adjusting device, and relates to a sign adjusting frame for a tourist hotel, comprising a base and a bracket; a support is arranged on the top of the base; the support comprises a base rod and an extension rod, and the base rod is fixedly arranged on the base, An extension rod is sleeved inside the base rod, the extension rod is a screw rod, and a plurality of threaded sleeves are sleeved. A plurality of transverse rods are detachably connected around the threaded sleeve, and the upper and lower sides of the transverse rod are provided with clamping grooves. The inner bottom of the clamping slot is provided with an elastic clamping block with a U-shaped structure; the upper part of the base rod is also provided with a bolt for fixing the extension rod. The utility model has a reasonable structure and is simple to use. Through the arrangement of the extension rod and the threaded sleeve, a plurality of signboards can be installed as required, and the height and angle can be adjusted according to the installation requirements of the signboard, and the utility model has high practicability.

Figure 201921377077

Description

Tourism hotel uses sign alignment jig
Technical Field
The utility model relates to a sign adjusting device technical field of hotel specifically is a sign alignment jig is used in tourism hotel.
Background
The sign board is the sign of instruction direction, also is called the bill-board, and the signboard, for example lavatory direction board, signpost all can be called the sign, the hall sign of hotel articles for use, direction tablet, room number board, consultation platform tablet, cashier's desk tablet, the plastics tablet of parking usefulness, park notice board etc. all belong to the category of sign.
The sign mainly used instructs the direction, it plays very important effect at the tourism hotel, can make guest find the place that wants to arrive very fast, in order to adapt to different places, the alignment jig often need be used to the sign, but current sign alignment jig often the function singleness, the structure is fixed, the higher authority is fixed and is provided with one or several signs, and the height and the direction of sign can not adjust as required, the practicality is poor, can not satisfy people's operation requirement.
SUMMERY OF THE UTILITY MODEL
An object of the utility model is to provide a sign alignment jig for tourism hotel to the problem that function singleness, structure are fixed, the figure of placing the sign is confirmed and can not height-adjusting and angle that current sign alignment jig exists.
In order to achieve the purpose, the technical scheme adopted by the application is as follows: a sign adjusting bracket for a travel hotel comprises a base and a bracket;
the top of the base is provided with a bracket;
the support comprises a base rod and an extension rod, the base rod is fixedly arranged on the base, the extension rod is sleeved in the base rod and is a screw rod, a plurality of thread sleeves are sleeved on the extension rod, a plurality of cross rods are detachably connected on the thread sleeves in a surrounding mode, clamping grooves are formed in the upper side surface and the lower side surface of each cross rod, and elastic clamping blocks of U-shaped structures are arranged at the bottom in the clamping grooves;
the upper part of the basic rod is also provided with a bolt for fixing the extension rod in a penetrating way.
The utility model is also characterized in that,
the base rod is connected with the extension rod in a sliding mode, vertical slide ways are arranged on the opposite side faces in the base rod, and first sliding blocks capable of being connected with the vertical slide ways in a sliding mode are correspondingly arranged on the lower portion of the extension rod.
The bottom in the base rod is connected with an inner screw rod through a bearing, the extension rod is of a hollow structure and is in threaded connection with the inner screw rod, a driven bevel gear is sleeved on the lower portion of the inner screw rod, a driving bevel gear which can be meshed with the driven bevel gear is arranged in the base rod, and an operating handle which penetrates through the base rod and extends outwards is arranged on the driving bevel gear.
Wherein, basic pole and extension rod spiro union are provided with in the basic pole can with the internal thread of extension rod spiro union, the top of basic pole is provided with the stopper that is used for preventing the extension rod slippage.
Wherein, two relative side lower parts are provided with the bar groove on the base, and every bar inslot all articulates there is the expansion plate that is used for supporting the base.
Wherein, the bottom of the base is provided with universal wheels all around, and the universal wheels are provided with brake pads.
The thread sleeve is provided with a plurality of protrusions of a cuboid structure in the vertical direction in a surrounding mode, the protrusions are provided with sliding grooves in the vertical direction, and the bottoms of the sliding grooves are provided with baffle plates;
one side of the cross rod is provided with a sliding block which can be connected with the sliding groove in a sliding manner.
Compared with the prior art, the beneficial effects of the utility model are that:
1. the utility model discloses a set up the thread bush on the extension rod of support, can choose the height of establishing of the cover of thread bush and the interval of two thread bushes wantonly, so can adjust the distance of two thread bushes according to the size of sign, also can adjust the height of thread bush according to the use needs, convenient to use, fixed effectual; when the angle needs to be changed, the two thread sleeves are rotated simultaneously; 2. the utility model also can adjust the number of the indicating boards according to the needs by arranging a plurality of cross rods on the threaded sleeves, and is connected with the bulges through the chutes, the fixing mode is simple and the use is convenient; 3. the utility model discloses a setting of base upper slitter groove and expansion plate has effectively avoided the problem that the alignment jig falls under slight exogenic action, and is fixed effectual.
Drawings
FIG. 1 is a schematic structural view of an indicator adjusting bracket for a travel hotel in embodiment 1 of the present invention;
FIG. 2 is a schematic structural view of a base of a sign adjusting bracket for a travel hotel, which is provided with universal wheels, according to embodiment 1 of the present invention;
fig. 3 is the embodiment of the utility model provides a 2 a tourism is horizontal pole's in sign alignment jig structure schematic diagram for hotel.
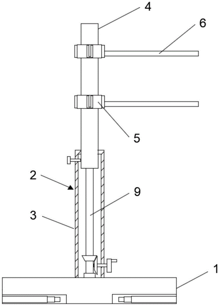
In the figure: 1. a base; 2. a support; 3. a base rod; 4. an extension pole; 5. a threaded sleeve; 6. a cross bar; 7. A card slot; 8. an elastic clamping block; 9. an inner screw.
Detailed Description
A specific embodiment of the present invention will be further described with reference to the accompanying drawings in the embodiments of the present invention.
Example 1
As shown in fig. 1-2, a sign adjusting bracket for a travel hotel comprises a base 1 and a bracket 2; the base 1 provides support for the whole adjusting frame, the support 2 is used for placing different numbers of indication boards according to needs, and meanwhile the height and the angle of the indication boards are adjusted according to needs;
in order to strengthen the fixing effect of the base 1, the lower parts of two opposite side surfaces on the base 1 are provided with strip-shaped grooves, and each strip-shaped groove is internally hinged with a telescopic plate for supporting the base 1, namely, the telescopic plates are opened when needing to be fixed, so that the telescopic plates provide support for the base 1 and the base 1 is effectively prevented from toppling over due to slight external force; in order to move the whole adjusting frame conveniently, universal wheels can be arranged on the periphery of the bottom of the base 1, and brake pads are arranged on the universal wheels, so that the adjusting frame is convenient to move and can be fixed;
the top of the base 1 is provided with a bracket 2;
the support 2 comprises a base rod 3 and an extension rod 4, the base rod 3 is used for supporting and adjusting the length of the extension rod 4, the base rod 3 is fixedly arranged on the base 1, the extension rod 4 is sleeved in the base rod 3, namely, the base rod 3 is in threaded connection with the extension rod 4, a bolt used for fixing the extension rod 4 is further arranged on the upper portion of the base rod 3 in a penetrating mode, namely, an internal thread is arranged inside the base rod 3, an external thread is arranged outside the extension rod 4, the base rod 3 is connected with the extension rod 4 in a threaded connection mode, when the height of the extension rod 4 needs to be adjusted, the extension rod 4 is rotated to change the length of the extension rod 4 in the base rod 3, so that the length of the extension rod 4 exposed outside the base rod 3 is changed, namely, the height of the support 2 is changed, and a limiting block used for preventing the extension rod 4 from slipping; when the height adjustment is proper, the extension rod 4 is fixed by using a bolt;
the extension rod 4 is a screw rod and is sleeved with a plurality of thread sleeves 5, so that the number of the thread sleeves 5 on the extension rod 4 can be adjusted according to use requirements, and the distance between the two thread sleeves 5 can be determined according to the size of the sign to be displayed, so that the extension rod can be suitable for signs with different sizes and numbers;
in order to increase or reduce the number of the indicating boards independently as required, a plurality of cross rods 6 are detachably connected on the threaded sleeves 5 in a surrounding manner, clamping grooves 7 are formed in the upper side surface and the lower side surface of each cross rod 6, and elastic clamping blocks 8 of U-shaped structures are arranged at the bottoms of the clamping grooves 7, so that two adjacent cross rods 6 can jointly support one indicating board, the indicating board can be effectively prevented from falling off in the displaying process, the indicating board can fall off under the action of slight external force, and the displaying effect is good; that is to say around the arch that is provided with the cuboid structure of a plurality of vertical directions on the thread bush 5, be provided with the spout of vertical direction in the arch, the spout bottom is provided with the baffle, 6 one side of horizontal pole be provided with can with spout sliding connection's slider, when using, through pegging graft in the spout on thread bush 5 with the slider on horizontal pole 6, be about to horizontal pole 6 like this and fix on thread bush 5, then insert the sign in draw-in groove 7 on horizontal pole 6, elasticity fixture block 8 in the draw-in groove 7 extrudes fixedly to the sign, can instruct.
When the height adjusting device is specifically implemented, firstly, the length of the extension rod 4 exposed outside the base rod 3 is adjusted according to the height required to be indicated, namely, the height of the bracket 2 is adjusted, and the extension rod is fixed by using bolts; then establish two thread bush 5 covers on extension rod 4 according to the size of sign to the adjustment interval, when the sign is more, can use a plurality of thread bush 5, peg graft 6 on thread bush 5 with the horizontal pole according to the number of sign again, and fix the sign on horizontal pole 6, it can to move the position that needs the show with whole alignment jig at last.
Example 2
The structure of the device is the same as that of the embodiment 1, except that in order to make the adjustment mode between the base rod 3 and the extension rod 4 simpler, the connection relationship between the base rod 3 and the extension rod 4 is optimized, as shown in fig. 3, the base rod 3 is connected with the extension rod 4 in a sliding manner, a vertical slide way is arranged on the opposite side surface of the base rod 3, and a first slide block capable of being connected with the vertical slide way in a sliding manner is correspondingly arranged at the lower part of the extension rod 4; wherein, the bottom still is connected with interior screw rod 9 through the bearing in the basis pole 3, and extension rod 4 is hollow structure, and extension rod 4 and interior screw rod 9 spiro union are equipped with driven bevel gear in the 9 lower part covers of interior screw rod, be provided with in the basis pole 3 can with driven bevel gear engaged with initiative bevel gear, be provided with the operating handle who passes basis pole 3 and outwards extend on the initiative bevel gear.
During specific implementation, the operating handle is firstly rotated, the driving bevel gear rotates to drive the driven bevel gear to rotate, and then the inner screw 9 rotates, so that the extension rod 4 moves up and down relative to the inner screw 9, namely moves up and down relative to the base rod 3.
The above disclosure is only specific embodiments of the present invention, but the embodiments of the present invention are not limited thereto, and any changes that can be considered by those skilled in the art should fall within the protection scope of the present invention.

Claims (7)

1. A sign adjusting bracket for a travel hotel is characterized by comprising a base (1) and a bracket (2);
the bracket (2) is arranged at the top of the base (1);
the support (2) comprises a base rod (3) and an extension rod (4), the base rod (3) is fixedly arranged on the base (1), the extension rod (4) is sleeved in the base rod (3), the extension rod (4) is a screw rod, a plurality of thread sleeves (5) are sleeved on the extension rod, a plurality of cross rods (6) are detachably connected on the thread sleeves (5) in a surrounding manner, clamping grooves (7) are formed in the upper side surface and the lower side surface of each cross rod (6), and elastic clamping blocks (8) of U-shaped structures are arranged at the bottom in the clamping grooves (7);
and bolts for fixing the extension rods (4) are further arranged on the upper portion of the base rod (3) in a penetrating mode.
2. A sign adjusting stand for hotels according to claim 1, characterized in that the base rod (3) is slidably connected with the extension rod (4), the inner opposite sides of the base rod (3) are provided with vertical slideways, and the lower part of the extension rod (4) is correspondingly provided with a first sliding block capable of slidably connecting with the vertical slideways.
3. A sign adjusting stand for hotels according to claim 2, wherein an inner screw (9) is further connected to the bottom of the base rod (3) through a bearing, the extension rod (4) is of a hollow structure, the extension rod (4) is in threaded connection with the inner screw (9), a driven bevel gear is sleeved on the lower portion of the inner screw (9), a driving bevel gear capable of being meshed with the driven bevel gear is arranged in the base rod (3), and an operating handle which penetrates through the base rod (3) and extends outwards is arranged on the driving bevel gear.
4. A sign adjusting stand for hotels according to claim 1, characterized in that the base rod (3) is screwed with the extension rod (4), an internal thread capable of screwing with the extension rod (4) is arranged in the base rod (3), and a limit block for preventing the extension rod (4) from slipping is arranged at the top of the base rod (3).
5. A sign adjusting stand for hotels according to claim 1, characterized in that the lower parts of two opposite sides of the base (1) are provided with strip-shaped grooves, and each strip-shaped groove is hinged with a telescopic plate for supporting the base (1).
6. A sign adjusting stand for hotels according to claim 1, characterized in that universal wheels are arranged around the bottom of the base (1), and the universal wheels are provided with brake pads.
7. A sign adjusting stand for hotels according to claim 1, characterized in that a plurality of vertically rectangular protrusions are arranged on the threaded sleeve (5) in a surrounding manner, the protrusions are provided with vertically sliding grooves, and the bottoms of the sliding grooves are provided with baffles;
and a second sliding block which can be in sliding connection with the sliding groove is arranged on one side of the cross rod (6).
CN201921377077.5U 2019-08-22 2019-08-22 Tourism hotel uses sign alignment jig Expired - Fee Related CN210181943U (en)

Priority Applications (1)

Application Number Priority Date Filing Date Title
CN201921377077.5U CN210181943U (en) 2019-08-22 2019-08-22 Tourism hotel uses sign alignment jig

Applications Claiming Priority (1)

Application Number Priority Date Filing Date Title
CN201921377077.5U CN210181943U (en) 2019-08-22 2019-08-22 Tourism hotel uses sign alignment jig

Publications (1)

Publication Number Publication Date
CN210181943U true CN210181943U (en) 2020-03-24

Family

ID=69842668

Family Applications (1)

Application Number Title Priority Date Filing Date
CN201921377077.5U Expired - Fee Related CN210181943U (en) 2019-08-22 2019-08-22 Tourism hotel uses sign alignment jig

Country Status (1)

Country Link
CN (1) CN210181943U (en)

Cited By (1)

* Cited by examiner, † Cited by third party
Publication number Priority date Publication date Assignee Title
CN115116358A (en) * 2022-06-29 2022-09-27 芜湖空岸广告传媒有限公司 Outdoor advertisement support

Cited By (1)

* Cited by examiner, † Cited by third party
Publication number Priority date Publication date Assignee Title
CN115116358A (en) * 2022-06-29 2022-09-27 芜湖空岸广告传媒有限公司 Outdoor advertisement support

Similar Documents

Publication Publication Date Title
CN210181943U (en) Tourism hotel uses sign alignment jig
CN213145995U (en) A device that is used for not losing interactive show teaching of skill
CN209807820U (en) Chinese vocabulary division show shelf
CN215226384U (en) BIM (building information modeling) building model for building engineering design
CN104605615A (en) Portable workbench for health education
CN212088992U (en) A propaganda display device
CN110934423A (en) A teaching desk that is convenient for computer placement and adjustment
CN219066337U (en) Stable safety frame is supported with installation of signboard
CN214012200U (en) Chinese language and literature education stores pylon
CN208351762U (en) A kind of mathematical education presentation device
CN220962737U (en) Cultural propaganda display device
CN213518985U (en) Tourism hotel adjusts support with sign
CN223260331U (en) Multifunctional billboard mounting bracket
CN214897234U (en) Adjustable sand table frame for science and technology training
CN220268982U (en) Display screen convenient for outdoor building
CN222281419U (en) A new teaching device
CN215076878U (en) Adjustable double-layer blackboard for practical training
CN212229945U (en) Multi-functional sign that scientific and technological consultation was used
CN210639808U (en) A new type of lifting ideological and political display device
CN215527184U (en) Propaganda device that electric power marketing extension was used
CN219936544U (en) Folding device for drawing training
CN214008636U (en) Display screen for displaying directed acyclic graph
CN215118217U (en) Adjustable news is propagated with education exhibition frame
CN210691849U (en) Road construction sign of removable content
CN218454475U (en) Steel structure connecting base

Legal Events

Date Code Title Description
GR01 Patent grant
GR01 Patent grant
CF01 Termination of patent right due to non-payment of annual fee

Granted publication date: 20200324

Termination date: 20200822

CF01 Termination of patent right due to non-payment of annual fee