CN210158991U - A fluid drainage device for cardiovascular surgery - Google Patents

A fluid drainage device for cardiovascular surgery Download PDF

Info

Publication number
CN210158991U
CN210158991U CN201920784359.0U CN201920784359U CN210158991U CN 210158991 U CN210158991 U CN 210158991U CN 201920784359 U CN201920784359 U CN 201920784359U CN 210158991 U CN210158991 U CN 210158991U
Authority
CN
China
Prior art keywords
drainage
bottle
fixedly installed
side wall
tube
Prior art date
Legal status (The legal status is an assumption and is not a legal conclusion. Google has not performed a legal analysis and makes no representation as to the accuracy of the status listed.)
Expired - Fee Related
Application number
CN201920784359.0U
Other languages
Chinese (zh)
Inventor
赵羚秀
宋龄
马妍
李金鹤
Current Assignee (The listed assignees may be inaccurate. Google has not performed a legal analysis and makes no representation or warranty as to the accuracy of the list.)
First Hospital Jinlin University
Original Assignee
First Hospital Jinlin University
Priority date (The priority date is an assumption and is not a legal conclusion. Google has not performed a legal analysis and makes no representation as to the accuracy of the date listed.)
Filing date
Publication date
Application filed by First Hospital Jinlin University filed Critical First Hospital Jinlin University
Priority to CN201920784359.0U priority Critical patent/CN210158991U/en
Application granted granted Critical
Publication of CN210158991U publication Critical patent/CN210158991U/en
Expired - Fee Related legal-status Critical Current
Anticipated expiration legal-status Critical

Links

Images

Landscapes

  • External Artificial Organs (AREA)

Abstract

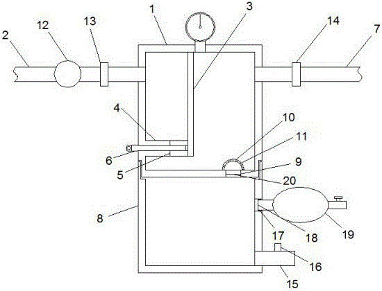
本实用新型公开了一种心血管手术用积液引流装置,包括引流瓶,引流瓶的外侧壁固定安装有引流管,引流瓶的内部固定安装有隔板,通过引流瓶、引流管、隔板、固定块、导流口、插板、抽气管和储液瓶的配合使用,将引流管插入到需要引流的位置,然后将抽气管与外部抽气设备连接,外部抽气设备启动,使引流瓶内形成负压,进而通过引流管将积液抽吸入引流瓶内,通过滑动两个固定块之间的插杆,固定板和隔板将引流瓶分割呈两个腔室,调节导流口的大小,进而能够调整两个腔室内的负压差,进而能够有效调节抽取积液的速度。

Figure 201920784359

The utility model discloses an effusion drainage device for cardiovascular surgery, comprising a drainage bottle, a drainage tube is fixedly installed on the outer side wall of the drainage bottle, and a partition plate is fixedly installed inside the drainage bottle, and the drainage bottle, the drainage tube and the partition plate pass through the drainage bottle, the drainage tube and the partition plate. , fixed block, guide port, insert plate, suction tube and liquid storage bottle are used together, insert the drainage tube to the position where drainage is required, and then connect the suction tube to the external suction equipment, and the external suction equipment is activated to make drainage. Negative pressure is formed in the bottle, and then the effusion is sucked into the drainage bottle through the drainage tube, and the drainage bottle is divided into two chambers by sliding the rod between the two fixed blocks, the fixed plate and the partition plate to adjust the drainage. The size of the mouth can be adjusted, and the negative pressure difference in the two chambers can be adjusted, thereby effectively adjusting the speed of fluid extraction.

Figure 201920784359

Description

Hydrops drainage device for cardiovascular surgery
Technical Field
The utility model relates to a medical appliance, in particular to a hydrops drainage device for cardiovascular surgery.
Background
The drainage operation is one of the commonly used operations in the cardiovascular department, the existing drainage device generally comprises a drainage bottle, a drainage tube, a puncture needle and a negative pressure device, the drainage device for the cardiovascular department is required to lead out liquid and blood accumulated in a body cavity or under the skin of a patient from the body in the conventional process, for example, the drainage on the effusion of cells is carried out, so the drainage bottle becomes a necessary device in hospitals.
However, the effusion drainage device in the prior art can not stably control the speed of extracting the effusion, and the effusion does not filter the drained effusion, thereby particularly providing the effusion drainage device for the cardiovascular operation.
SUMMERY OF THE UTILITY MODEL
An object of the utility model is to provide a hydrops drainage device for cardiovascular operation to solve the problem that provides among the above-mentioned background art.
In order to achieve the above object, the utility model provides a following technical scheme: the utility model provides a hydrops drainage device for cardiovascular operation, includes the drainage bottle, the lateral wall fixed mounting of drainage bottle has the drainage tube, the inside fixed mounting of drainage bottle has the baffle, two fixed blocks of fixedly connected with between the inside of drainage bottle and the baffle, two there is the gap between the fixed block, two the water conservancy diversion mouth has been seted up to the lateral wall of fixed block, two it has the picture peg to peg graft between the fixed block, the lateral wall fixed mounting of drainage bottle has the exhaust tube, the lower fixed surface of drainage bottle installs the stock solution bottle, the through-hole has been seted up to the bottom surface of drainage bottle, the upper end fixed mounting of through-hole has the protection casing, evenly distributed's drainage hole has been seted.
Preferably, the outer side wall of the drainage tube is integrally formed with a flowmeter, and a first one-way valve is fixedly installed at the joint of the drainage tube and the drainage bottle.
Preferably, the outer side wall of the exhaust pipe is fixedly provided with a pressure regulating valve.
Preferably, a liquid discharge pipe is fixedly mounted on the outer side wall of the liquid storage bottle, and a liquid discharge valve is fixedly mounted on the outer side wall of the liquid discharge pipe.
Preferably, a threaded hole is formed in the outer side wall of the liquid storage bottle, a second one-way valve is fixedly mounted on the inner side wall of the threaded hole, an inflatable balloon is connected to the inner side wall of the threaded hole in a threaded mode and communicated with the second one-way valve, and a third one-way valve is fixedly mounted on the inner side wall of the through hole.
Compared with the prior art, the beneficial effects of the utility model are that: the utility model provides a hydrops drainage device for cardiovascular operation, through the drainage bottle, the drainage tube, a separation plate, the fixed block, the water conservancy diversion mouth, the picture peg, the cooperation of exhaust tube and stock solution bottle is used, insert the position that needs the drainage with the drainage tube, then be connected exhaust tube and outside air exhaust equipment, outside air exhaust equipment starts, make the interior negative pressure that forms of drainage bottle, and then in going into the drainage bottle with the hydrops suction through the drainage tube, through the inserted bar between two fixed blocks of sliding, fixed plate and baffle are two cavities with the drainage bottle partition, adjust the size of water conservancy diversion mouth, and then can adjust the negative pressure difference in two cavities, and then can effectively adjust the speed of extraction hydrops, through the drainage hole that protection casing and protection casing were seted up, the hydrops flows from the drainage hole, solid impurity filters in the hydrops.
Drawings
Fig. 1 is a schematic structural diagram of the present invention.
In the figure: the device comprises a drainage bottle 1, a drainage tube 2, a partition plate 3, a fixing block 4, a flow guide port 5, a plugboard 6, an exhaust tube 7, a liquid storage bottle 8, a through hole 9, a protective cover 10, a drainage hole 11, a flow meter 12, a first check valve 13, a pressure regulating valve 14, a liquid discharge tube 15, a liquid discharge valve 16, a threaded hole 17, a second check valve 18, an inflatable balloon 19 and a third check valve 20.
Detailed Description
The technical solutions in the embodiments of the present invention will be described clearly and completely with reference to the accompanying drawings in the embodiments of the present invention, and it is obvious that the described embodiments are only some embodiments of the present invention, not all embodiments. Based on the embodiments in the present invention, all other embodiments obtained by a person skilled in the art without creative work belong to the protection scope of the present invention.
Referring to fig. 1, the present invention provides a technical solution: a hydrops drainage device for cardiovascular surgery comprises a drainage bottle 1, a drainage tube 2 is fixedly installed on the outer side wall of the drainage bottle 1, a partition plate 3 is fixedly installed inside the drainage bottle 1, two fixing blocks 4 are fixedly connected between the inside of the drainage bottle 1 and the partition plate 3, a gap is formed between the two fixing blocks 4, a flow guide port 5 is formed in the outer side wall of each fixing block 4, an inserting plate 6 is inserted between the two fixing blocks 4, the inserting plate 6 is a natural rubber plate, the inserting plate 6 is extruded between the two fixing blocks 4, the sealing performance is good, an exhaust tube 7 is fixedly installed on the outer side wall of the drainage bottle 1, a liquid storage bottle 8 is fixedly installed on the lower surface of the drainage bottle 1, a through hole 9 is formed in the bottom surface of the drainage bottle 1, a protective cover 10 is fixedly installed at the upper end of the through hole 9, drainage holes 11 which are uniformly, the cavity that communicates with drainage tube 2 is less, when carrying out the drainage operation, insert drainage tube 2 the position that needs the drainage, then be connected exhaust tube 7 with outside air exhaust equipment, start external air exhaust equipment, make the interior negative pressure that produces of drainage bottle 1, and then with the hydrops from drainage tube 2 suction to drainage bottle 1 in, pulling picture peg 6, adjust the opening size of water conservancy diversion mouth 5, and then adjust the negative pressure difference between two cavities, with the extraction speed of this adjustment hydrops, protection casing 10 can filter the solid matter in the hydrops, the hydrops enters into in the through-hole 9 from drainage hole 11, the hydrops enters into the interior storage in stock solution bottle 8 from through-hole 9.
Particularly, the lateral wall integrated into one piece of drainage tube 2 has flowmeter 12, and drainage tube 2 and drainage bottle 1's junction fixed mounting has first check valve 13, for the convenience of observing the flow velocity of hydrops in drainage tube 2, and first check valve 13 is in order to avoid the hydrops backward flow.
Specifically, a pressure regulating valve 14 is fixedly mounted on the outer side wall of the air exhaust pipe 7 to regulate the pressure of the external air exhaust device.
Particularly, the lateral wall fixed mounting of stock solution bottle 8 has fluid-discharge tube 15, and the lateral wall fixed mounting of fluid-discharge tube 15 has flowing back valve 16, in order to facilitate the timely discharge of the hydrops in the stock solution bottle 8.
Specifically, a threaded hole 17 is formed in the outer side wall of the liquid storage bottle 8, a second one-way valve 18 is fixedly installed on the inner side wall of the threaded hole 17, an inflatable balloon 19 is screwed on the inner side wall of the threaded hole 17, the inflatable balloon 19 is communicated with the second one-way valve 18, a third one-way valve 20 is fixedly installed on the inner side wall of the through hole 9, in order to facilitate quick discharge of accumulated liquid in the liquid storage bottle 8, the inflatable balloon 19 is screwed into the threaded hole 17, an air outlet pipe of the inflatable balloon 19 is communicated with the second one-way valve 18, in order to prevent pressurized air in the liquid storage bottle 8 from flowing into the drainage bottle 1, the third one-way valve 20 is installed in the through hole 9, the inflatable balloon 19 is squeezed, air enters the liquid storage bottle 8, the pressure in the liquid storage bottle 8 is increased, the second one-way valve 18 is opened at the moment, the third one-way valve 20 is closed, the, moreover, the inflatable balloon 19 can be reused without contacting the accumulated fluid.
The working principle is as follows: when the drainage operation is carried out, the drainage tube 2 is inserted into a position needing drainage, then the exhaust tube 7 is connected with external air extraction equipment, the external air extraction equipment is started to generate negative pressure in the drainage bottle 1, then the accumulated liquid is pumped into the drainage bottle 1 from the drainage tube 2, the inserting plate 6 is pulled, the opening size of the flow guide port 5 is adjusted, and further the negative pressure difference between the two cavities is adjusted, so that the extraction speed of the accumulated liquid is adjusted, the protective cover 10 can filter the solid matters in the accumulated liquid, the accumulated liquid enters the through hole 9 from the drainage hole 11 and then enters the liquid storage bottle 8 from the through hole 9 for storage, in order to facilitate the rapid discharge of the accumulated liquid in the liquid storage bottle 8, the inflatable balloon 19 is screwed into the threaded hole 17, so that the air outlet pipe of the inflatable balloon 19 is communicated with the second one-way valve 18, in order to avoid the pressurized air in the liquid storage bottle 8 from flowing into the drainage bottle 1, the sacculus 19 is aerifyd in the extrusion makes the air enter into the stock solution bottle 8, and the pressure increase in the stock solution bottle 8, second check valve 18 opens this moment, and third check valve 20 closes, opens flowing back valve 16, and then extrudes the hydrops from the stock solution bottle 8 in, and then accelerates the discharge of hydrops, aerifys sacculus 19 moreover and can use repeatedly to can not contact with the hydrops.
Although embodiments of the present invention have been shown and described, it will be appreciated by those skilled in the art that changes, modifications, substitutions and alterations can be made in these embodiments without departing from the principles and spirit of the invention, the scope of which is defined in the appended claims and their equivalents.

Claims (5)

1.一种心血管手术用积液引流装置,其特征在于:包括引流瓶(1),所述引流瓶(1)的外侧壁固定安装有引流管(2),所述引流瓶(1)的内部固定安装有隔板(3),所述引流瓶(1)的内部与隔板(3)之间固定连接有两个固定块(4),两个所述固定块(4)之间有缝隙,两个所述固定块(4)的外侧壁开设有导流口(5),两个所述固定块(4)之间插接有插板(6),所述引流瓶(1)的外侧壁固定安装有抽气管(7),所述引流瓶(1)的下表面固定安装有储液瓶(8),所述引流瓶(1)的底面开设有通孔(9),所述通孔(9)的上端固定安装有防护罩(10),所述防护罩(10)的外侧壁开设有均匀分布的引流孔(11)。1. An effusion drainage device for cardiovascular surgery, characterized in that it comprises a drainage bottle (1), the outer side wall of the drainage bottle (1) is fixedly installed with a drainage tube (2), and the drainage bottle (1) A partition (3) is fixedly installed inside the drainage bottle (1), and two fixing blocks (4) are fixedly connected between the interior of the drainage bottle (1) and the partition (3), and between the two fixing blocks (4) There is a gap, the outer side walls of the two fixing blocks (4) are provided with a diversion port (5), a plug board (6) is inserted between the two fixing blocks (4), and the drainage bottle (1) ) is fixedly installed with an air extraction pipe (7), the lower surface of the drainage bottle (1) is fixedly installed with a liquid storage bottle (8), and the bottom surface of the drainage bottle (1) is provided with a through hole (9), A protective cover (10) is fixedly installed on the upper end of the through hole (9), and the outer side wall of the protective cover (10) is provided with evenly distributed drainage holes (11). 2.根据权利要求1所述的一种心血管手术用积液引流装置,其特征在于:所述引流管(2)的外侧壁一体成型有流量计(12),所述引流管(2)与引流瓶(1)的连接处固定安装有第一单向阀(13)。2. A fluid drainage device for cardiovascular surgery according to claim 1, characterized in that: a flowmeter (12) is integrally formed on the outer wall of the drainage tube (2), and the drainage tube (2) is integrally formed with a flowmeter (12). A first check valve (13) is fixedly installed at the connection with the drainage bottle (1). 3.根据权利要求1所述的一种心血管手术用积液引流装置,其特征在于:所述抽气管(7)的外侧壁固定安装有调压阀(14)。3 . The fluid drainage device for cardiovascular surgery according to claim 1 , wherein a pressure regulating valve ( 14 ) is fixedly installed on the outer wall of the air suction pipe ( 7 ). 4 . 4.根据权利要求1所述的一种心血管手术用积液引流装置,其特征在于:所述储液瓶(8)的外侧壁固定安装有排液管(15),所述排液管(15)的外侧壁固定安装有排液阀(16)。4. A fluid drainage device for cardiovascular surgery according to claim 1, characterized in that: a drain pipe (15) is fixedly installed on the outer side wall of the liquid storage bottle (8), and the drain pipe A drain valve (16) is fixedly installed on the outer side wall of (15). 5.根据权利要求1所述的一种心血管手术用积液引流装置,其特征在于:所述储液瓶(8)的外侧壁开设有螺纹孔(17),所述螺纹孔(17)的内侧壁固定安装有第二单向阀(18),所述螺纹孔(17)的内侧壁螺接有充气球囊(19),且充气球囊(19)与第二单向阀(18)连通,所述通孔(9)的内侧壁固定安装有第三单向阀(20)。5. A fluid drainage device for cardiovascular surgery according to claim 1, characterized in that: the outer side wall of the liquid storage bottle (8) is provided with a threaded hole (17), and the threaded hole (17) A second one-way valve (18) is fixedly installed on the inner side wall of the threaded hole (17), an inflatable balloon (19) is screwed on the inner side wall of the threaded hole (17), and the inflatable balloon (19) is connected to the second one-way valve (18). ) is connected, and a third one-way valve (20) is fixedly installed on the inner wall of the through hole (9).
CN201920784359.0U 2019-05-29 2019-05-29 A fluid drainage device for cardiovascular surgery Expired - Fee Related CN210158991U (en)

Priority Applications (1)

Application Number Priority Date Filing Date Title
CN201920784359.0U CN210158991U (en) 2019-05-29 2019-05-29 A fluid drainage device for cardiovascular surgery

Applications Claiming Priority (1)

Application Number Priority Date Filing Date Title
CN201920784359.0U CN210158991U (en) 2019-05-29 2019-05-29 A fluid drainage device for cardiovascular surgery

Publications (1)

Publication Number Publication Date
CN210158991U true CN210158991U (en) 2020-03-20

Family

ID=69793778

Family Applications (1)

Application Number Title Priority Date Filing Date
CN201920784359.0U Expired - Fee Related CN210158991U (en) 2019-05-29 2019-05-29 A fluid drainage device for cardiovascular surgery

Country Status (1)

Country Link
CN (1) CN210158991U (en)

Cited By (4)

* Cited by examiner, † Cited by third party
Publication number Priority date Publication date Assignee Title
CN112451761A (en) * 2020-12-02 2021-03-09 吉林大学第一医院 Pericardial effusion constant-pressure drainage device for nursing of cardiology department
CN112546308A (en) * 2020-12-03 2021-03-26 西安交通大学医学院第一附属医院 Abdominal drainage device for medical oncology
CN112618809A (en) * 2020-12-30 2021-04-09 吉林大学第一医院 EICU intensive care unit postoperative care drainage device
CN114404689A (en) * 2022-01-24 2022-04-29 河南中医药大学第一附属医院 Fluid extraction device for oncology treatment

Cited By (5)

* Cited by examiner, † Cited by third party
Publication number Priority date Publication date Assignee Title
CN112451761A (en) * 2020-12-02 2021-03-09 吉林大学第一医院 Pericardial effusion constant-pressure drainage device for nursing of cardiology department
CN112451761B (en) * 2020-12-02 2022-08-02 吉林大学第一医院 Pericardial effusion constant-pressure drainage device for nursing of cardiology department
CN112546308A (en) * 2020-12-03 2021-03-26 西安交通大学医学院第一附属医院 Abdominal drainage device for medical oncology
CN112618809A (en) * 2020-12-30 2021-04-09 吉林大学第一医院 EICU intensive care unit postoperative care drainage device
CN114404689A (en) * 2022-01-24 2022-04-29 河南中医药大学第一附属医院 Fluid extraction device for oncology treatment

Similar Documents

Publication Publication Date Title
CN210158991U (en) A fluid drainage device for cardiovascular surgery
CN204133918U (en) A kind of Vasculocardiology Deparment drainage bottle
CN109481751A (en) A kind of drainage device for cardiothoracic surgery being fixed easily function with anti-clogging
CN205235035U (en) Thoracic surgery thorax drainage device
CN203303484U (en) Fester drainage double-lumen tube with anti-blocking air bag
CN220125192U (en) Anti-blocking drainage device
CN203555983U (en) Drainage device for cardiovascular medicine
CN218900344U (en) Anti-reflux ascites drainage instrument
CN207253523U (en) A kind of pressure-adjustable wound drainage device
CN213131154U (en) Positive and negative pressure drainage device
CN106110417B (en) A kind of suction device for preventing suction
CN109999251A (en) For burn by phosphorus patient's flusher
CN212166235U (en) Abdominal cavity negative pressure drainage device for preventing tissue incarceration
CN211157605U (en) Drainage device
CN219332736U (en) A leak-proof enema
CN107374709B (en) Special rupture of membranes device of caesarean section operating room
CN221130530U (en) A chest closed flushing and drainage device
CN201410146Y (en) Drainage bag anti-blocking suction device
CN206151960U (en) Prevent suction device of suction
CN219001368U (en) Ascites drainage equipment
CN218793246U (en) A kind of multifunctional drainage frame for cardiovascular medicine
CN113082309A (en) A tubulose negative pressure drainage ware for orthopedics
CN212756656U (en) Stifled drainage device is prevented to thoracic surgery
CN219042984U (en) Sterile anti-reverse drainage device
CN219481044U (en) closed drainage bag

Legal Events

Date Code Title Description
GR01 Patent grant
GR01 Patent grant
CF01 Termination of patent right due to non-payment of annual fee
CF01 Termination of patent right due to non-payment of annual fee

Granted publication date: 20200320

Termination date: 20210529