CN210147674U - An easy-to-clean sanding machine for the production of plastic-coated steel pipes - Google Patents
An easy-to-clean sanding machine for the production of plastic-coated steel pipes Download PDFInfo
- Publication number
- CN210147674U CN210147674U CN201920874071.2U CN201920874071U CN210147674U CN 210147674 U CN210147674 U CN 210147674U CN 201920874071 U CN201920874071 U CN 201920874071U CN 210147674 U CN210147674 U CN 210147674U
- Authority
- CN
- China
- Prior art keywords
- plate
- plastic
- coated steel
- pipe
- production
- Prior art date
- Legal status (The legal status is an assumption and is not a legal conclusion. Google has not performed a legal analysis and makes no representation as to the accuracy of the status listed.)
- Expired - Fee Related
Links
Images
Landscapes
- Coating Apparatus (AREA)
Abstract
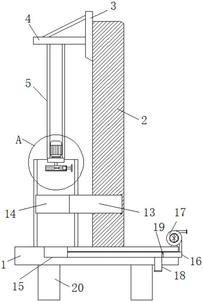
本实用新型涉及涂塑钢管生产技术领域,公开了一种便于清洁的涂塑钢管生产用打砂机,针对现有的钢管加工产生碎屑不便清洁的问题,现提出如下方案,其包括工作台,所述工作台的顶部设有轨道板,轨道板上滑动安装有升降板,升降板上设有横板,横板的底部安装有竖杆,所述竖杆的底部安装有支撑板,所述支撑板的底部转动安装有箱体,所述箱体的一侧滑动安装有柱体,所述柱体的一端安装有打磨片,所述轨道板的两侧铰接有摆动板,摆动板的一端安装有夹持板,轨道板上铰接有两个推杆电机。本实用新型实现涂塑钢管的打磨,打磨稳定,同时可以吸取打磨过程中产生的对碎屑,方便碎屑的收集清洁,使用方便,易于推广。
The utility model relates to the technical field of the production of plastic-coated steel pipes, and discloses a sanding machine for the production of plastic-coated steel pipes which is easy to clean. In view of the problem of inconvenient cleaning of debris generated by the existing steel pipe processing, the following scheme is proposed, which comprises a workbench The top of the workbench is provided with a track plate, a lift plate is slidably installed on the track plate, a horizontal plate is arranged on the lift plate, a vertical rod is installed at the bottom of the horizontal plate, and a support plate is installed at the bottom of the vertical rod, so A box body is rotatably installed at the bottom of the support plate, a column body is slidably installed on one side of the box body, a polishing sheet is installed at one end of the column body, and a swing plate is hinged on both sides of the track plate. A clamping plate is installed at one end, and two push rod motors are hinged on the track plate. The utility model realizes the grinding of the plastic-coated steel pipe, and the grinding is stable, and at the same time, the debris generated in the grinding process can be absorbed, the collection and cleaning of the debris is convenient, the use is convenient, and the promotion is easy.
Description
技术领域technical field
本实用新型涉及涂塑钢管生产技术领域,尤其涉及一种便于清洁的涂塑钢管生产用打砂机。The utility model relates to the technical field of production of plastic-coated steel pipes, in particular to a sanding machine for the production of plastic-coated steel pipes which is convenient for cleaning.
背景技术Background technique
涂塑钢管,又名涂塑管、钢塑复合管、涂塑复合钢管,是以钢管为基体,通过喷、滚、浸、吸工艺在钢管内表面熔接一层塑料防腐层或在内外表面熔接塑料防腐层的钢塑复合钢管。在涂塑钢管生产时对其内壁进行打磨,现有的管道打砂机在打磨时会产生很多碎屑,不便清洁处理,污染环境,因此,需要一种便于清洁的涂塑钢管生产用打砂机来解决以上问题。Plastic-coated steel pipe, also known as plastic-coated pipe, steel-plastic composite pipe, plastic-coated composite steel pipe, is based on steel pipe, and a layer of plastic anti-corrosion layer is welded on the inner surface of the steel pipe through spraying, rolling, dipping and suction processes or welding on the inner and outer surfaces. Steel-plastic composite steel pipe with plastic anti-corrosion layer. When grinding the inner wall of the plastic-coated steel pipe, the existing pipe sander will produce a lot of debris during grinding, which is inconvenient to clean and pollute the environment. Therefore, there is a need for a kind of sanding for the production of plastic-coated steel pipe that is easy to clean. machine to solve the above problems.
发明内容SUMMARY OF THE INVENTION
本实用新型提出的一种便于清洁的涂塑钢管生产用打砂机,解决了现有的钢管加工产生碎屑不便清洁的问题。The utility model proposes a sanding machine for the production of plastic-coated steel pipes which is easy to clean, which solves the problem of inconvenient cleaning of debris generated by the existing steel pipes.
为了实现上述目的,本实用新型采用了如下技术方案:In order to achieve the above-mentioned purpose, the utility model adopts the following technical solutions:
一种便于清洁的涂塑钢管生产用打砂机,包括工作台,所述工作台的顶部设有轨道板,轨道板上滑动安装有升降板,升降板上设有横板,横板的底部安装有竖杆,所述竖杆的底部安装有支撑板,所述支撑板的底部转动安装有箱体,所述箱体的一侧滑动安装有柱体,所述柱体的一端安装有打磨片,所述轨道板的两侧铰接有摆动板,摆动板的一端安装有夹持板,轨道板上铰接有两个推杆电机,推杆电机的输出轴与摆动板铰接,所述工作台的顶部设有收集槽,所述工作台的一侧安装有抽气管,抽气管的一端安装有风机,所述抽气管内设有滤网,所述抽气管的底部安装有除杂管,除杂管位于滤网远离风机的一侧底部。A sanding machine for the production of plastic-coated steel pipes that is easy to clean, including a workbench, a track plate is arranged on the top of the workbench, a lift plate is slidably installed on the track plate, a horizontal plate is arranged on the lift plate, and the bottom of the horizontal plate is provided. A vertical rod is installed, a support plate is installed at the bottom of the vertical rod, a box body is rotatably installed at the bottom of the support plate, a column body is slidably installed on one side of the box body, and a grinder is installed at one end of the column body. A swing plate is hinged on both sides of the track plate, a clamping plate is installed at one end of the swing plate, two push rod motors are hinged on the track plate, the output shaft of the push rod motor is hinged with the swing plate, and the workbench There is a collection tank at the top of the workbench, an air extraction pipe is installed on one side of the workbench, a fan is installed at one end of the air extraction pipe, a filter screen is installed in the air extraction pipe, and an impurity removal pipe is installed at the bottom of the air extraction pipe to remove impurities. The miscellaneous pipe is located at the bottom of the side of the screen away from the fan.
优选的,所述支撑板上安装有驱动电机,支撑板上转动安装有转轴,驱动电机的输出轴与转轴传动连接,转轴的底部与箱体固定连接。Preferably, a drive motor is installed on the support plate, a rotating shaft is rotatably installed on the support plate, the output shaft of the drive motor is connected with the rotating shaft in a transmission, and the bottom of the rotating shaft is fixedly connected with the box.
优选的,所述箱体为空腔结构,箱体内设有电动伸缩杆,电动伸缩杆的活塞杆与柱体远离打磨片的一端连接。Preferably, the box body has a cavity structure, an electric telescopic rod is arranged in the box body, and the piston rod of the electric telescopic rod is connected to the end of the cylinder away from the polishing sheet.
优选的,所述工作台的底部开设有安装孔,除杂管与安装孔的内壁固定,除杂管的顶部与抽气管连通,除杂管的底部螺纹安装有密封盖。Preferably, the bottom of the workbench is provided with an installation hole, the impurity removal pipe is fixed to the inner wall of the installation hole, the top of the impurity removal pipe is connected with the air extraction pipe, and the bottom of the impurity removal pipe is screwed with a sealing cover.
优选的,所述轨道板靠近升降板的一侧开设有滑槽,滑槽内设有气缸,升降板与滑槽内壁滑动连接,气缸的活塞杆与升降板固定连接。Preferably, a chute is provided on the side of the track plate close to the lift plate, a cylinder is arranged in the chute, the lift plate is slidably connected to the inner wall of the chute, and the piston rod of the cylinder is fixedly connected to the lift plate.
优选的,所述工作台的底部安装有支撑柱,支撑柱为长方体结构。Preferably, a support column is installed at the bottom of the workbench, and the support column is a rectangular parallelepiped structure.
本实用新型的有益效果是:通过电动伸缩杆碎屑打磨片与钢管内壁接触,驱动电机带动箱体转动实现打磨,通过夹持板靠拢,实现管道的夹持固定,通过启动风机吸取碎屑,使得碎屑通过收集槽进入抽气管内,被滤网挡住,落到除杂管内,打开除杂管底部的密封盖,即可取出碎屑,清理方便。The beneficial effects of the utility model are as follows: the scrap grinding sheet of the electric telescopic rod is in contact with the inner wall of the steel pipe, the driving motor drives the box body to rotate to realize grinding, the clamping plate is moved closer to realize the clamping and fixing of the pipeline, and the scrap is absorbed by starting the fan. The debris enters the air extraction pipe through the collection groove, is blocked by the filter screen, and falls into the impurity removal pipe. Open the sealing cover at the bottom of the impurity removal pipe to remove the debris, which is convenient for cleaning.
本实用新型实现涂塑钢管的打磨,打磨稳定,同时可以吸取打磨过程中产生的对碎屑,方便碎屑的收集清洁,使用方便,易于推广。The utility model realizes the grinding of the plastic-coated steel pipe, and the grinding is stable, and at the same time, the debris generated in the grinding process can be absorbed, the collection and cleaning of the debris is convenient, the use is convenient, and the promotion is easy.
附图说明Description of drawings
图1为本实用新型提出的一种便于清洁的涂塑钢管生产用打砂机的结构示意图。FIG. 1 is a schematic structural diagram of a sanding machine for the production of plastic-coated steel pipes that is easy to clean and is proposed by the utility model.
图2为图1中A处的结构示意图。FIG. 2 is a schematic diagram of the structure at A in FIG. 1 .
图3为夹持板的俯视结构示意图。FIG. 3 is a schematic top view of the structure of the clamping plate.
图中:1工作台、2轨道板、3升降板、4横板、5竖杆、6支撑板、7转轴、8箱体、9柱体、10打磨片、11电动伸缩杆、12驱动电机、13摆动板、14夹持板、15收集槽、16抽气管、17风机、18除杂管、19滤网、20支撑柱、21推杆电机。In the picture: 1 worktable, 2 track board, 3 lift board, 4 horizontal board, 5 vertical rod, 6 support board, 7 rotating shaft, 8 box body, 9 cylinder body, 10 polishing sheet, 11 electric telescopic rod, 12 drive motor , 13 swing plate, 14 clamp plate, 15 collection tank, 16 exhaust pipe, 17 fan, 18 impurity removal pipe, 19 filter screen, 20 support column, 21 push rod motor.
具体实施方式Detailed ways
下面将结合本实用新型实施例中的附图,对本实用新型实施例中的技术方案进行清楚、完整地描述,显然,所描述的实施例仅仅是本实用新型一部分实施例,而不是全部的实施例。The technical solutions in the embodiments of the present utility model will be clearly and completely described below with reference to the accompanying drawings in the embodiments of the present utility model. Obviously, the described embodiments are only a part of the embodiments of the present utility model, rather than all the implementations. example.
参照图1-3,一种便于清洁的涂塑钢管生产用打砂机,包括工作台1,工作台1的顶部设有轨道板2,轨道板2上滑动安装有升降板3,升降板3上设有横板4,横板4的底部安装有竖杆5,竖杆5的底部安装有支撑板6,支撑板6的底部转动安装有箱体8,箱体8的一侧滑动安装有柱体9,柱体9的一端安装有打磨片10,轨道板2的两侧铰接有摆动板13,摆动板13的一端安装有夹持板14,轨道板2上铰接有两个推杆电机21,推杆电机21的输出轴与摆动板13铰接,工作台1的顶部设有收集槽15,工作台1的一侧安装有抽气管16,抽气管16的一端安装有风机17,抽气管16内设有滤网19,抽气管16的底部安装有除杂管18,除杂管18位于滤网19远离风机17的一侧底部。1-3, a sanding machine for the production of plastic-coated steel pipes that is easy to clean includes a workbench 1, a
本实施例中,支撑板6上安装有驱动电机12,支撑板6上转动安装有转轴7,驱动电机12的输出轴与转轴7传动连接,转轴7的底部与箱体8固定连接,箱体8为空腔结构,箱体8内设有电动伸缩杆11,电动伸缩杆11的活塞杆与柱体9远离打磨片10的一端连接,工作台1的底部开设有安装孔,除杂管18与安装孔的内壁固定,除杂管18的顶部与抽气管16连通,除杂管18的底部螺纹安装有密封盖,轨道板2靠近升降板3的一侧开设有滑槽,滑槽内设有气缸,升降板3与滑槽内壁滑动连接,气缸的活塞杆与升降板3固定连接,工作台1的底部安装有支撑柱20,支撑柱20为长方体结构,通过电动伸缩杆11碎屑打磨片10与钢管内壁接触,驱动电机12带动箱体8转动实现打磨,通过夹持板14靠拢,实现管道的夹持固定,通过启动风机17吸取碎屑,使得碎屑通过收集槽15进入抽气管16内,被滤网19挡住,落到除杂管18内,打开除杂管18底部的密封盖,即可取出碎屑,清理方便,本实用新型实现涂塑钢管的打磨,打磨稳定,同时可以吸取打磨过程中产生的对碎屑,方便碎屑的收集清洁,使用方便,易于推广。In this embodiment, a
本实施例中,工作台1上设有控制器,控制器为AT89C51型控制器,控制器为AT89C51型控制器,风机17为4-75型风机,控制器的输出端分别与驱动电机12、风机17、推杆电机21、电动伸缩杆11、气缸连接,通过电动伸缩杆11带动柱体9和打磨片10水平移动使得打磨片10与钢管内壁接触,驱动电机12带动箱体8转动实现打磨片10对钢管内壁转动打磨,配合气缸带动升降板3升降,实现打磨,通过推杆电机21带动两个摆动板13、夹持板14靠拢,实现管道的夹持固定,保证打磨时钢管的稳定,把钢管竖直放在收集槽15上,打磨产生的碎屑进入收集槽15内,同时启动风机17吸取抽气管16、收集槽15、钢管内的气体排出,使得碎屑通过收集槽15进入抽气管16内,被滤网19挡住,落到除杂管18内,打开除杂管18底部的密封盖,即可取出碎屑,清理方便。In this embodiment, the workbench 1 is provided with a controller, the controller is an AT89C51 type controller, the controller is an AT89C51 type controller, and the
在本实用新型的描述中,需要理解的是,术语“中心”、“纵向”、“横向”、“长度”、“宽度”、“厚度”、“上”、“下”、“前”、“后”、“左”、 “右”、“竖直”、“水平”、“顶”、“底”、“内”、“外”、“ 顺时针”、“逆时针”等指示的方位或位置关系为基于附图所示的方位或位置关系,仅是为了便于描述本实用新型和简化描述,而不是指示或暗示所指的设备或元件必须具有特定的方位、以特定的方位构造和操作,因此不能理解为对本实用新型的限制。In the description of the present invention, it should be understood that the terms "center", "longitudinal", "lateral", "length", "width", "thickness", "upper", "lower", "front", "Back", "Left", "Right", "Vertical", "Horizontal", "Top", "Bottom", "Inner", "Outer", "Clockwise", "Counterclockwise" etc. Or the positional relationship is based on the orientation or positional relationship shown in the accompanying drawings, which is only for the convenience of describing the present invention and simplifying the description, rather than indicating or implying that the referred device or element must have a specific orientation, be constructed in a specific orientation and operation, so it cannot be construed as a limitation to the present invention.
此外,术语“第一”、 “第二”仅用于描述目的,而不能理解为指示或暗示相对重要性或者隐含指明所指示的技术特征的数量。由此,限定有“第一”、“第二”的特征可以明示或者隐含地包括一个或者更多个该特征。在本实用新型的描述中,“多个”的含义是两个或两个以上,除非另有明确具体的限定。In addition, the terms "first" and "second" are only used for descriptive purposes, and should not be construed as indicating or implying relative importance or implying the number of indicated technical features. Thus, a feature defined as "first" or "second" may expressly or implicitly include one or more of that feature. In the description of the present invention, "plurality" means two or more, unless otherwise expressly and specifically defined.
以上所述,仅为本实用新型较佳的具体实施方式,但本实用新型的保护范围并不局限于此,任何熟悉本技术领域的技术人员在本实用新型揭露的技术范围内,根据本实用新型的技术方案及其实用新型构思加以等同替换或改变,都应涵盖在本实用新型的保护范围之内。The above description is only a preferred embodiment of the present invention, but the protection scope of the present invention is not limited to this. Equivalent replacement or modification of the new technical solution and its utility model concept shall be included within the protection scope of the present utility model.
Claims (6)
Priority Applications (1)
| Application Number | Priority Date | Filing Date | Title |
|---|---|---|---|
| CN201920874071.2U CN210147674U (en) | 2019-06-12 | 2019-06-12 | An easy-to-clean sanding machine for the production of plastic-coated steel pipes |
Applications Claiming Priority (1)
| Application Number | Priority Date | Filing Date | Title |
|---|---|---|---|
| CN201920874071.2U CN210147674U (en) | 2019-06-12 | 2019-06-12 | An easy-to-clean sanding machine for the production of plastic-coated steel pipes |
Publications (1)
| Publication Number | Publication Date |
|---|---|
| CN210147674U true CN210147674U (en) | 2020-03-17 |
Family
ID=69762505
Family Applications (1)
| Application Number | Title | Priority Date | Filing Date |
|---|---|---|---|
| CN201920874071.2U Expired - Fee Related CN210147674U (en) | 2019-06-12 | 2019-06-12 | An easy-to-clean sanding machine for the production of plastic-coated steel pipes |
Country Status (1)
| Country | Link |
|---|---|
| CN (1) | CN210147674U (en) |
Cited By (1)
| Publication number | Priority date | Publication date | Assignee | Title |
|---|---|---|---|---|
| CN112059766A (en) * | 2020-09-14 | 2020-12-11 | 朱志坚 | Burr polishing equipment for pipe punching |
-
2019
- 2019-06-12 CN CN201920874071.2U patent/CN210147674U/en not_active Expired - Fee Related
Cited By (1)
| Publication number | Priority date | Publication date | Assignee | Title |
|---|---|---|---|---|
| CN112059766A (en) * | 2020-09-14 | 2020-12-11 | 朱志坚 | Burr polishing equipment for pipe punching |
Similar Documents
| Publication | Publication Date | Title |
|---|---|---|
| CN210147674U (en) | An easy-to-clean sanding machine for the production of plastic-coated steel pipes | |
| CN113696022A (en) | Surface polishing device for machining ferrule type pipe joint | |
| CN214393635U (en) | Grinding device is used in spare part processing | |
| CN219819247U (en) | Metal plate surface rust removing device | |
| CN211589591U (en) | Mould processing grinding device | |
| CN218341669U (en) | Dust collector is used in aluminum alloy ex-trusions processing | |
| CN220389052U (en) | Polishing device for machining motor rotor structure | |
| CN220839530U (en) | Steel pipe rust cleaning sanding device | |
| CN213319399U (en) | Machine part corner grinding device | |
| CN212170020U (en) | Aluminum dustproof cover for automobile hub | |
| CN211103168U (en) | a plastic grinder | |
| CN208147582U (en) | A kind of vacuum cup automatic polishing machine | |
| CN213439008U (en) | Blank burnishing device for glass processing | |
| CN218137121U (en) | Grinding device is used in die casting processing that barrier property is high | |
| CN221658793U (en) | Floor processing grinding device | |
| CN214559907U (en) | Surface polishing device for mechanical equipment production | |
| CN216504204U (en) | Steel pipe inner wall rust cleaning device | |
| CN217860422U (en) | Edging device of metalwork processing mould | |
| CN221676796U (en) | Polishing equipment for bicycle production and manufacturing | |
| CN220007209U (en) | Polishing device for stainless steel manufacturing | |
| CN214237737U (en) | Dust-proof device of surface grinding machine | |
| CN217341592U (en) | Dust collector for grinder | |
| CN220698354U (en) | A water conservancy pipe cutting device | |
| CN220389183U (en) | Fixed frock | |
| CN221851601U (en) | Sculpture processing base for collecting waste materials |
Legal Events
| Date | Code | Title | Description |
|---|---|---|---|
| GR01 | Patent grant | ||
| GR01 | Patent grant | ||
| CF01 | Termination of patent right due to non-payment of annual fee | ||
| CF01 | Termination of patent right due to non-payment of annual fee |
Granted publication date: 20200317 |
