CN210141638U - Air conditioner with upper and lower air outlets - Google Patents
Air conditioner with upper and lower air outlets Download PDFInfo
- Publication number
- CN210141638U CN210141638U CN201920967856.4U CN201920967856U CN210141638U CN 210141638 U CN210141638 U CN 210141638U CN 201920967856 U CN201920967856 U CN 201920967856U CN 210141638 U CN210141638 U CN 210141638U
- Authority
- CN
- China
- Prior art keywords
- air
- air outlet
- flow fan
- outlet
- air duct
- Prior art date
- Legal status (The legal status is an assumption and is not a legal conclusion. Google has not performed a legal analysis and makes no representation as to the accuracy of the status listed.)
- Expired - Fee Related
Links
Images
Landscapes
- Air-Conditioning Room Units, And Self-Contained Units In General (AREA)
Abstract
本实用新型提供的上下出风的空调器,涉及空调技术领域。该上下出风的空调器包括外壳及设置于外壳内的上风道和下风道,上风道与下风道上下设置,并且相互独立。外壳上开设有上出风口和下出风口,上风道通过上出风口与外部连通,下风道通过下出风口与外部连通,上风道内设置有贯流风机组件,下风道内设置有离心风机。与传统的采用多个离心风机的上下出风的空调器相比,本实用提供的上下出风的空调器出风量大并且噪音小。
The upper and lower air outlet air conditioners provided by the utility model relate to the technical field of air conditioners. The upper and lower air outlet air conditioner includes a casing and an upper air duct and a lower air duct arranged in the outer casing. The upper air duct and the lower air duct are arranged up and down and are independent of each other. The casing is provided with an upper air outlet and a lower air outlet, the upper air duct communicates with the outside through the upper air outlet, and the lower air duct communicates with the outside through the lower air outlet. Compared with the traditional air conditioner using multiple centrifugal fans for the upper and lower air discharge, the air conditioner provided by the present invention has a large air output and low noise.
Description
技术领域technical field
本实用新型涉及空调技术领域,具体而言,涉及一种上下出风的空调器。The utility model relates to the technical field of air conditioners, in particular to an air conditioner that discharges air up and down.
背景技术Background technique
由于在制冷时能够实现瀑布沐浴式送风,制热时能够实现地毯式送风,大大提高空调器的舒适性,目前市场上上下出风柜机逐渐趋于流行。Because it can realize waterfall shower-style air supply during cooling and carpet-style air supply during heating, which greatly improves the comfort of the air conditioner. Currently, the upper and lower air outlet cabinets are gradually becoming popular in the market.
但现有技术中,很难平衡风量和噪音需求。However, in the prior art, it is difficult to balance air volume and noise requirements.
实用新型内容Utility model content
本实用新型解决的问题是如何保证出风量,并且降低噪音。The problem solved by the utility model is how to ensure the air volume and reduce the noise.
为解决上述问题,本实用新型提供一种上下出风的空调器,其包括外壳及设置于所述外壳内的上风道和下风道,所述上风道与所述下风道上下设置,并且相互独立;所述外壳上开设有上出风口和下出风口,所述上风道与所述上出风口连通,所述下风道与所述下出风口连通,所述上风道内设置有贯流风机组件,所述下风道内设置有离心风机。In order to solve the above problems, the present utility model provides an air conditioner with upper and lower air outlets, which includes a casing and an upper air duct and a lower air duct arranged in the outer casing. The upper air duct and the lower air duct are arranged up and down and are independent of each other. an upper air outlet and a lower air outlet are provided on the casing, the upper air duct is communicated with the upper air outlet, the lower air duct is communicated with the lower air outlet, and a cross-flow fan assembly is arranged in the upper air duct, A centrifugal fan is arranged in the lower air duct.
本实用新型实施例提供的上下出风的空调器在制冷时可以通过贯流风机组件从上出风口出风,制热时可以通过贯流风机组件和离心风机同时工作从上出风口和下出风口同时出风,保证出风量,并且,贯流风机组件的贯流风叶噪音小,因此与传统的采用多个离心风机的上下出风的空调器相比,本实用新型实施例提供的上下出风的空调器噪音小。The upper and lower air outlet air conditioner provided by the embodiment of the present invention can discharge air from the upper air outlet through the cross-flow fan assembly during cooling, and can simultaneously work through the cross-flow fan assembly and the centrifugal fan to discharge air from the upper air outlet and the lower air outlet during heating. The air outlet simultaneously discharges the air to ensure the air output volume, and the cross-flow fan blades of the cross-flow fan assembly have low noise. Therefore, compared with the traditional air conditioners that use multiple centrifugal fans to discharge air up and down, the upper and lower air outlets provided by the embodiment of the present invention The air conditioner of the wind is less noisy.
进一步地,所述上风道包括相互独立的第一风道和第二风道,所述第一风道和所述第二风道分别与所述上出风口连通,所述贯流风机组件包括第一贯流风机和第二贯流风机,所述第一贯流风机设置于所述第一风道内,所述第二贯流风机设置于所述第二风道内。Further, the upper air duct includes a first air duct and a second air duct that are independent of each other, and the first air duct and the second air duct are respectively communicated with the upper air outlet, and the cross-flow fan assembly includes A first cross-flow fan and a second cross-flow fan, the first cross-flow fan is arranged in the first air duct, and the second cross-flow fan is arranged in the second air duct.
相对于同一个贯流风机要实现两个贯流风机的风量,本实用新型实施例采用第一贯流风机和第二贯流风机的方式能够在保证风量的同时,降低单个贯流风机的功耗,从而进一步降低噪音。Compared with the same cross-flow fan to achieve the air volume of two cross-flow fans, the first cross-flow fan and the second cross-flow fan in the embodiment of the present invention can reduce the power of a single cross-flow fan while ensuring the air volume. consumption, thereby further reducing noise.
进一步地,所述第一贯流风机和第二贯流风机并排竖直设置于所述离心风机的上方。Further, the first cross-flow fan and the second cross-flow fan are vertically arranged side by side above the centrifugal fan.
进一步地,所述第一贯流风机的旋向与所述第二贯流风机的旋向相反。Further, the rotation direction of the first cross-flow fan is opposite to the rotation direction of the second cross-flow fan.
进一步地,所述上出风口包括并排竖直设置的第一出风口和第二出风口,所述第一风道与所述第一出风口连通,所述第二风道与所述第二出风口连通。Further, the upper air outlet includes a first air outlet and a second air outlet vertically arranged side by side, the first air duct communicates with the first air outlet, and the second air duct communicates with the second air outlet. The air outlet is connected.
进一步地,所述第一出风口和所述第二出风口关于所述下出风口的中心线对称设置。Further, the first air outlet and the second air outlet are symmetrically arranged with respect to the center line of the lower air outlet.
进一步地,所述上出风口及所述下出风口设置于所述外壳的同一侧。Further, the upper air outlet and the lower air outlet are arranged on the same side of the casing.
上出风口和下出风口设置于外壳的同一侧能够使得贯流风机组件和离心风机能够朝向用户吹风,提高使用体验感。The arrangement of the upper air outlet and the lower air outlet on the same side of the casing enables the cross-flow fan assembly and the centrifugal fan to blow air toward the user, thereby improving the user experience.
进一步地,所述上下出风的空调器还包括换热器,所述换热器(160)覆盖所述空调器(100)的进风口,所述离心风机设置于所述换热器的下方。Further, the upper and lower air outlet air conditioner further comprises a heat exchanger, the heat exchanger (160) covers the air inlet of the air conditioner (100), and the centrifugal fan is arranged below the heat exchanger .
进一步地,所述离心风机水平设置。Further, the centrifugal fan is set horizontally.
贯流风机组件和离心风机共用同一个换热器,并且,离心风机水平设置,能够减小换热器的体积,提高换热器的利用率。The cross-flow fan assembly and the centrifugal fan share the same heat exchanger, and the horizontal arrangement of the centrifugal fan can reduce the volume of the heat exchanger and improve the utilization rate of the heat exchanger.
进一步地,所述外壳上设置有进风格栅,所述换热器设置于所述贯流风机组件和所述进风格栅之间。Further, an intake grille is provided on the casing, and the heat exchanger is arranged between the cross-flow fan assembly and the intake grille.
附图说明Description of drawings
图1为本实用新型具体实施例所述的上下出风的空调器的第一视角的结构示意图。FIG. 1 is a schematic structural diagram from a first perspective of an air conditioner with an upper and lower air outlet according to a specific embodiment of the present invention.
图2为本实用新型具体实施例所述的上下出风的空调器的剖面结构示意图。FIG. 2 is a schematic cross-sectional structural diagram of an air conditioner with an upper and lower air outlet according to a specific embodiment of the present invention.
附图标记说明:Description of reference numbers:
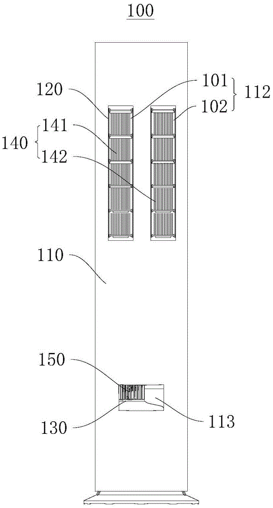
100-上下出风的空调器;110-外壳;112-上出风口;101-第一出风口;102-第二出风口;113-下出风口;114-进风格栅;120-上风道;130-下风道;140-贯流风机组件;141-第一贯流风机;142-第二贯流风机;150-离心风机;160-换热器。100- air conditioner with air outlet from top to bottom; 110- shell; 112- upper air outlet; 101- first air outlet; 102- second air outlet; 113- lower air outlet; 114- air inlet grille; 120- upper air duct ; 130 - lower air duct; 140 - cross flow fan assembly; 141 - first cross flow fan; 142 - second cross flow fan; 150 - centrifugal fan; 160 - heat exchanger.
具体实施方式Detailed ways
为使本实用新型的上述目的、特征和优点能够更为明显易懂,下面结合附图对本实用新型的具体实施例做详细的说明。In order to make the above objects, features and advantages of the present utility model more clearly understood, the specific embodiments of the present utility model are described in detail below with reference to the accompanying drawings.
现有的空调柜机往往在上部设置有出风口,用于出风。制热时,因出风口位于室内柜机的上半部分且热空气的密度比常温空气的密度小,热空气向上飘,现有的导风板很难将热空气压到地面。因此,室内形成人脚底到有热气的常温温度区域(冷)和空调器调节温度后的区域(热),用户的脚在常温温度区域,所以空调器在开启时,脚依然感觉冷,舒适性差。Existing air-conditioning cabinets are often provided with an air outlet at the upper portion for air outlet. During heating, because the air outlet is located in the upper part of the indoor cabinet and the density of the hot air is lower than that of the normal temperature air, the hot air floats upward, and it is difficult for the existing air deflector to press the hot air to the ground. Therefore, there is a room temperature area (cold) from the soles of people's feet to the hot air and an area after the air conditioner adjusts the temperature (hot), and the user's feet are in the normal temperature area, so when the air conditioner is turned on, the feet still feel cold, and the comfort is poor. .
为了解决上述问题,具有上下两个出风口的空调器逐渐流行。这种空调器能够在制热时从下出风口出风,使热空气从下往上扩散,在制冷时从下出风口出风,使冷空气从上往下扩散,以保持良好的舒适性。In order to solve the above problems, air conditioners with upper and lower air outlets are gradually becoming popular. This kind of air conditioner can discharge air from the lower air outlet during heating, so that the hot air diffuses from the bottom to the top, and when cooling, the air is discharged from the lower air outlet, so that the cold air diffuses from the top to the bottom to maintain good comfort. .
但为了满足出风量需求,这类空调器的风机数量较多,占用空间较大,并且噪音也较大。However, in order to meet the demand for air output, this type of air conditioner has a large number of fans, occupies a large space, and is noisy.
图1为本实施例所述的上下出风的空调器100的第一视角的结构示意图。请参照图1,本实施例提供了一种上下出风的空调器100能够有效解决上述问题。FIG. 1 is a schematic structural diagram of the
本实施例中,上下出风的空调器100包括外壳110、上风道120、下风道130、上风机组件、下风机组件、换热器160等结构。In this embodiment, the
上风机组件设置于上风道120内,下风机组件设置于下风道130内,上风道120、下风道130和换热器160分别设置于外壳110内。并且,外壳110的一侧开设有进风口(图未标),另一侧开设有上出风口112和下出风口113,分别用于出风。换热器160靠近进风口设置,并用于换热,上风道120通过上出风口112与外部连通,下风道130通过下出风口113与外部连通,上风机组件用于将经过换热器160换热后的空气流体从上出风口112吹出,下风机组件用于将经过换热器160换热后的空气流体从下出风口113吹出。The upper fan assembly is arranged in the
可选地,本实施例中,外壳110用于安装上风道120、下风道130、换热器160等结构。外壳110大致呈矩形体状,外壳110的进风口处设置有进风格栅114,用于进风。Optionally, in this embodiment, the
上出风口112包括第一出风口101和第二出风口102,第一出风口101和第二出风口102均大致呈矩形状。并且第一出风口101和第二出风口102并排竖直设置。这种形状结构的第一出风口101和第二出风口102主要用于适应上出风组件的结构。The
并且,第一出风口101和第二出风口102的开口面积均较大,且相等,以保证出风量,并且能够保证美观性。Moreover, the opening areas of the
下出风口113也大致呈矩形状,并且下出风口113水平设置。The
需要说明的是,本实施例中,“竖直”、“水平”等均是指空调器使用时的状态,并且“竖直”、“水平”等均不是指绝对的竖直或者绝对的水平,可以有一定范围的倾斜。It should be noted that, in this embodiment, "vertical", "horizontal", etc. all refer to the state of the air conditioner when it is in use, and "vertical", "horizontal", etc. do not refer to absolute vertical or absolute horizontal , can have a certain range of inclination.
可以理解的是,本实施例中,第一出风口101、第二出风口102及下出风口113设置于壳体的同一侧,用户能够正面接收吹出的风,体验感较佳。It can be understood that, in this embodiment, the
另外值得注意的,设置有第一出风口101、第二出风口102及下出风口113的外壳110的这一侧可以设置为平面或者弧形面,以适应用户需求。It should also be noted that the side of the
本实施例中,第一出风口101和第二出风口102关于下出风口113的中心线对称设置。可以理解的是,这种结构能够使得空调器吹出的风均匀性相对较高,并且具有美观性。In this embodiment, the
本实施例中,为了提高保证上风机组件和下风机组件之间的流场不相互干扰,本实施例中,上风道120和下风道130相互独立,上风道120和下风道130可以分别固定在外壳110内,也可以相互连接然后固定于外壳110内。In this embodiment, in order to ensure that the flow fields between the upper fan assembly and the lower fan assembly do not interfere with each other, in this embodiment, the
可选地,本实施例中,上风道120和下风道130上下设置于外壳110内。Optionally, in this embodiment, the
为了适应上风机组件的结构,本实施例中,上风道120包括相互独立的第一风道(图未标)和第二风道(图未标)。本实施例中,第一风道和第一出风口101连通,第二风道和第二出风口102连通。In order to adapt to the structure of the upper fan assembly, in this embodiment, the
需要说明的是,为了保证出风量,保证结构的紧凑性,同时尽可能地降低噪音,本实施例中,上风机组件选用贯流风机组件140,下风机组件选用离心风机150。It should be noted that, in order to ensure the air output, ensure the compactness of the structure, and reduce noise as much as possible, in this embodiment, the upper fan assembly adopts the
可选地,贯流风机组件140包括第一贯流风机141和第二贯流风机142,第一贯流风机141和第二贯流风机142分别对应设置于第一风道和第二风道内。Optionally, the
可以理解的是,贯流风机的贯流风叶噪音小,因此上风机组件采用贯流风机能够使风机噪音相对较小。下风机组件采用离心风机150能够保证结构的紧凑性。并且,采用两个贯流风机方式能够在保证风量的同时,降低单个贯流风机的功耗,从而进一步降低噪音。It can be understood that the cross-flow fan blades of the cross-flow fan have low noise, so the use of the cross-flow fan in the upper fan assembly can make the fan noise relatively small. The use of
应当理解,贯流风机的数量不应当被限定,贯流风机组件140也可以选用一个或者多个贯流风机。相应的,上风道120的结构也可以做适应性的调整。It should be understood that the number of cross-flow fans should not be limited, and one or more cross-flow fans may also be selected for the
本实施例中,第一贯流风机141和第二贯流风机142并排竖直设置于离心风机150的上方。第一贯流风机141的旋向与第二贯流风机142的旋向相反。从而能够将经换热器160换热后的空气流体分别从第一出风口101和第二出风口102输出。In this embodiment, the first
并且,这种排布方式的第一贯流风机141和第二贯流风机142能够提高空调器的结构紧凑性。Moreover, the arrangement of the first
图2为本实施例所述的上下出风的空调器100的剖面结构示意图。请结合参照图1和图2,本实施例中,换热器160的靠近进风格栅114设置,并设置于贯流风机组件140和进风格栅114之间。贯流风机组件140与换热器160并排设置。上风道120设置于换热器160远离进风格栅114的一侧,下风道130设置于换热器160的下方。FIG. 2 is a schematic cross-sectional structural diagram of the
可以理解的是,这种结构能够使得安装于上风道120内的上风机组件和安装于下风道130内的下风机组件能够共用换热器160。It can be understood that this structure enables the upper fan assembly installed in the
应当理解,本实施例中,只要能使下风道130内的下风机组件能够有效地将经过换热器160的空气流体排出,下风道130可以设置于换热器160的正下方,或者是靠近换热器160下部的一侧。It should be understood that, in this embodiment, as long as the down fan assembly in the
需要说明的是,本实施例中,下风机水平设置。可以理解的是,相对于竖直设置的离心风机150,这种水平设置的离心风机150能够使得换热器160的高度设置得相对较小,减小换热器160的占用空间,从而提高空调器结构的紧凑性。It should be noted that, in this embodiment, the down fan is set horizontally. It can be understood that, compared with the
需要说明的是,本实施例提供的上下出风的空调器100使用时可以采用以下控制逻辑:It should be noted that, the following control logic may be adopted when the
当空调器运行制冷功能时,常温空气经过进风口、换热器160变成目标温度的冷空气,控制第一贯流风机141和第二贯流风机142运转,下方的离心风机150低速运转或不转。第一贯流风机141和第二贯流风机142将目标温度空气经第一出风口101和第二出风口102输送到房间,下出风口113有少量或无冷空气输送。When the air conditioner operates the cooling function, the normal temperature air passes through the air inlet and the
当空调器运行制热功能时,常温空气经过进风口、换热器160变成目标温度的热空气,控制第一贯流风机141、第二贯流风机142及下方的离心风机150同时运转,将目标温度由上出风口112和下出风口113输送到房间。When the air conditioner operates the heating function, the normal temperature air passes through the air inlet and the
可以理解的是,本实施例提供的上下出风的空调器100在制冷时可以通过贯流风机组件140从上出风口112出风,制热时可以通过贯流风机组件140和离心风机150同时工作从上出风口112和下出风口113同时出风,保证出风量,并且,贯流风机组件140的贯流风叶噪音小,因此与传统的采用多个离心风机150的上下出风的空调器100相比,本实用新型实施例提供的上下出风的空调器100噪音小。It can be understood that, the
虽然本实用新型披露如上,但本实用新型并非限定于此。任何本领域技术人员,在不脱离本实用新型的精神和范围内,均可作各种更动与修改,因此本实用新型的保护范围应当以权利要求所限定的范围为准。Although the present invention is disclosed above, the present invention is not limited thereto. Any person skilled in the art can make various changes and modifications without departing from the spirit and scope of the present invention. Therefore, the protection scope of the present invention should be based on the scope defined by the claims.
Claims (10)
Priority Applications (1)
| Application Number | Priority Date | Filing Date | Title |
|---|---|---|---|
| CN201920967856.4U CN210141638U (en) | 2019-06-25 | 2019-06-25 | Air conditioner with upper and lower air outlets |
Applications Claiming Priority (1)
| Application Number | Priority Date | Filing Date | Title |
|---|---|---|---|
| CN201920967856.4U CN210141638U (en) | 2019-06-25 | 2019-06-25 | Air conditioner with upper and lower air outlets |
Publications (1)
| Publication Number | Publication Date |
|---|---|
| CN210141638U true CN210141638U (en) | 2020-03-13 |
Family
ID=69735569
Family Applications (1)
| Application Number | Title | Priority Date | Filing Date |
|---|---|---|---|
| CN201920967856.4U Expired - Fee Related CN210141638U (en) | 2019-06-25 | 2019-06-25 | Air conditioner with upper and lower air outlets |
Country Status (1)
| Country | Link |
|---|---|
| CN (1) | CN210141638U (en) |
Cited By (1)
| Publication number | Priority date | Publication date | Assignee | Title |
|---|---|---|---|---|
| CN113074431A (en) * | 2021-03-15 | 2021-07-06 | 珠海格力电器股份有限公司 | Noise control method for air conditioner, readable storage medium and air conditioner |
-
2019
- 2019-06-25 CN CN201920967856.4U patent/CN210141638U/en not_active Expired - Fee Related
Cited By (1)
| Publication number | Priority date | Publication date | Assignee | Title |
|---|---|---|---|---|
| CN113074431A (en) * | 2021-03-15 | 2021-07-06 | 珠海格力电器股份有限公司 | Noise control method for air conditioner, readable storage medium and air conditioner |
Similar Documents
| Publication | Publication Date | Title |
|---|---|---|
| CN108413499B (en) | Vertical air conditioner indoor unit and air conditioner | |
| CN212252875U (en) | Wall-mounted air conditioner indoor unit | |
| CN104864498B (en) | A kind of wall-hanging air conditioner | |
| CN108278683B (en) | Indoor unit of air conditioner and air conditioner | |
| CN108426315B (en) | Air conditioner wall mounted unit, air conditioner and air outlet control method of wall mounted unit | |
| CN110762616A (en) | Machine and air conditioner in air conditioning of reversible air supply | |
| CN109059112A (en) | Air conditioner end equipment and air conditioner | |
| CN210463269U (en) | Wall-mounted air conditioner indoor unit | |
| CN112325381A (en) | Air conditioner indoor unit, control method and air conditioner | |
| CN206361810U (en) | Air conditioner | |
| WO2017049445A1 (en) | Indoor unit of air conditioner | |
| WO2024159759A1 (en) | Indoor air-conditioning unit | |
| CN210141638U (en) | Air conditioner with upper and lower air outlets | |
| CN205957321U (en) | Low-position air conditioner indoor unit and air conditioner | |
| CN106196301A (en) | Low-position air conditioner indoor unit, air conditioner and control method of air conditioner | |
| CN212252874U (en) | Wall-mounted air conditioner indoor unit | |
| CN110296472A (en) | A kind of air conditioner | |
| CN211041151U (en) | An indoor unit that can realize multiple air outlet modes | |
| CN110425637B (en) | Indoor unit capable of realizing multiple air outlet modes and control method thereof | |
| CN210141636U (en) | An air duct housing, an upper air duct assembly and an air conditioner | |
| CN210141633U (en) | Machine and air conditioner in air conditioning | |
| CN206875589U (en) | Air conditioner and sitting and hanging type air conditioner indoor unit thereof | |
| CN207936255U (en) | Wall-hanging air conditioner indoor unit | |
| CN217844100U (en) | an air conditioner | |
| CN217423577U (en) | duct machine |
Legal Events
| Date | Code | Title | Description |
|---|---|---|---|
| GR01 | Patent grant | ||
| GR01 | Patent grant | ||
| CP03 | Change of name, title or address |
Address after: 315191 No. 1166 Mingguang North Road, Jiangshan Town, Ningbo, Zhejiang, Yinzhou District Patentee after: NINGBO AUX ELECTRIC Co.,Ltd. Country or region after: China Patentee after: AUX AIR CONDITIONING LIMITED BY SHARE Ltd. Address before: No. 1166 Mingguang North Road, Jiangshan Town, Ningbo, Zhejiang, Yinzhou District Patentee before: NINGBO AUX ELECTRIC Co.,Ltd. Country or region before: China Patentee before: AUX AIR CONDITIONING LIMITED BY SHARE Ltd. |
|
| CP03 | Change of name, title or address | ||
| CF01 | Termination of patent right due to non-payment of annual fee |
Granted publication date: 20200313 |
|
| CF01 | Termination of patent right due to non-payment of annual fee |
