CN210135654U - A device for purifying indoor air to help sleep - Google Patents
A device for purifying indoor air to help sleep Download PDFInfo
- Publication number
- CN210135654U CN210135654U CN201920728955.7U CN201920728955U CN210135654U CN 210135654 U CN210135654 U CN 210135654U CN 201920728955 U CN201920728955 U CN 201920728955U CN 210135654 U CN210135654 U CN 210135654U
- Authority
- CN
- China
- Prior art keywords
- bin
- humidification
- dust removal
- storehouse
- sleep
- Prior art date
- Legal status (The legal status is an assumption and is not a legal conclusion. Google has not performed a legal analysis and makes no representation as to the accuracy of the status listed.)
- Expired - Fee Related
Links
Images
Landscapes
- Disinfection, Sterilisation Or Deodorisation Of Air (AREA)
- Air Humidification (AREA)
Abstract
本实用新型公开了一种净化室内空气助睡眠装置,包括壳体,所述壳体内部从上之下依次设置设备仓,加湿仓,除尘仓和储水仓,所述除尘仓和加湿仓内部连通,所述除尘仓和加湿仓对应的壳体表面设置出风网,所述除尘仓内部设置带有静电除尘功能的气体净化装置,所述加湿仓内部设置具有雾化功能且与储水仓连通的气体加湿装置,所述设备仓内部设置与加湿仓连通的气味助眠装置,所述设备仓内部还设置音频助眠装置和控制单元,所述气味助眠装置,气体加湿装置,气体净化装置和音频助眠装置分别与控制单元电连接,所述控制单元与外置电源电连接,能够改善室内空气环境,且具有改善睡眠质量的功能。
The utility model discloses a sleeping aid device for purifying indoor air, which comprises a casing. An equipment compartment, a humidifying compartment, a dust removing compartment and a water storage compartment are arranged in the interior of the casing in sequence from top to bottom, and the dust removing compartment and the humidifying compartment are communicated inside. The surface of the shell corresponding to the dust removal bin and the humidification bin is provided with an air outlet net, a gas purification device with an electrostatic dust removal function is set inside the dust removal bin, and a gas humidifier with an atomization function and communicated with the water storage bin is set inside the humidification bin. device, the inside of the equipment compartment is provided with an odor sleep aid device that communicates with the humidification compartment, and an audio sleep aid device and a control unit are also arranged inside the equipment compartment. The sleep devices are respectively electrically connected with the control unit, and the control unit is electrically connected with the external power supply, which can improve the indoor air environment and has the function of improving sleep quality.
Description
技术领域technical field
本实用新型涉及家居设备技术领域,具体涉及一种净化室内空气助睡眠装置。The utility model relates to the technical field of household equipment, in particular to a sleep aid device for purifying indoor air.
背景技术Background technique
随着工业化的进展,城市空气质量不断下降,同时伴随着较大的工作压力,较多居民出现难以入眠的现象,造成次日精神不佳,影响工作,且长期以往,对身体健康存在较大的影响,研究表明,空气质量与人体睡眠同样具有直接关系,但是现有的技术中多数采用物理或化学疗法进行催眠,如播放舒缓的音乐或食用安眠药等手段,并不能改善室内空气环境,难以保证睡眠质量。With the progress of industrialization, the air quality in cities has been declining. At the same time, with greater work pressure, many residents have difficulty falling asleep, resulting in poor spirits the next day and affecting work. In the long run, it has a great impact on physical health. Studies have shown that air quality is also directly related to human sleep, but most of the existing technologies use physical or chemical therapy for hypnosis, such as playing soothing music or taking sleeping pills, etc., which cannot improve the indoor air environment. Ensure sleep quality.
实用新型内容Utility model content
针对现有技术中的缺陷,本实用新型提供净化室内空气助睡眠装置,以改善居住空间的空气质量,同时提供多种助眠方式,有助于提升睡眠质量,改善失眠情况。Aiming at the defects in the prior art, the utility model provides a sleep aid device for purifying indoor air to improve the air quality of the living space, and at the same time provides a variety of sleep aid methods, which helps to improve sleep quality and improve insomnia.
一种净化室内空气助睡眠装置,包括壳体,所述壳体内部从上之下依次设置设备仓,加湿仓,除尘仓和储水仓,所述除尘仓和加湿仓内部连通,所述除尘仓和加湿仓对应的壳体表面设置出风网,所述除尘仓内部设置带有静电除尘功能的气体净化装置,所述加湿仓内部设置具有雾化功能且与储水仓连通的气体加湿装置,所述设备仓内部设置与加湿仓连通的气味助眠装置,所述设备仓内部还设置音频助眠装置和控制单元,所述气味助眠装置,气体加湿装置,气体净化装置和音频助眠装置分别与控制单元电连接,所述控制单元与外置电源电连接。A device for purifying indoor air for sleeping, comprising a casing, wherein an equipment warehouse, a humidification warehouse, a dust removal warehouse and a water storage warehouse are arranged in sequence from top to bottom inside the casing, the dust removal warehouse and the humidification warehouse are communicated internally, and the dust removal warehouse and the humidification warehouse are connected with each other. An air outlet net is arranged on the surface of the shell corresponding to the humidification bin, a gas purification device with electrostatic dust removal function is set inside the dust bin, and a gas humidification device with atomization function and communicated with the water storage bin is set inside the humidification bin. The interior of the warehouse is provided with a scent sleep aid device that communicates with the humidification chamber, and an audio sleep aid device and a control unit are also arranged inside the equipment chamber. The scent sleep aid device, gas humidification device, gas purification device and audio sleep aid device are respectively controlled with The unit is electrically connected, and the control unit is electrically connected with an external power supply.
优选地,所述加湿仓为环形仓,所述加湿仓的环形中间区域与下方的除尘仓连通,所述储水仓为环形仓,所述加湿仓,除尘仓和储水仓的中心位置设置筒状结构且上端开口的过滤体,所述过滤体圆周面与加湿仓和除尘仓对应位置分别设置通孔,且两级通孔之间设置滤芯和风机,所述风机与控制单元电连接,通过设置风机的方式,加快内部气流速度,增大出风量,同时加装滤芯,增加过滤效果,同时采用过滤体的特殊结构设计,方便内部滤芯的更换。Preferably, the humidification silo is an annular silo, the annular middle area of the humidification silo is communicated with the dust removal silo below, the water storage silo is an annular silo, and the central positions of the humidification silo, the dust removal silo and the water storage silo are provided with cylindrical structures and A filter body with an open upper end, through holes are respectively set on the circumferential surface of the filter body and the corresponding positions of the humidification bin and the dust removal bin, and a filter element and a fan are set between the two-stage through holes, and the fan is electrically connected to the control unit. In this way, the internal airflow speed is accelerated, the air output is increased, and the filter element is installed at the same time to increase the filtering effect. At the same time, the special structure design of the filter body is adopted to facilitate the replacement of the internal filter element.
优选地,所述气体净化装置包括静电发生器和两块电极板,且两块电极板分别与除尘仓的上下内壁固定安装,且两块电极板分别与静电发生器的正负输出端电连接,所述静电发生器与控制单元电连接,通过两块电极板之间产生电场,对空气中的灰尘颗粒进行吸附,从而达到除尘的目的。Preferably, the gas purification device includes an electrostatic generator and two electrode plates, and the two electrode plates are respectively fixedly installed on the upper and lower inner walls of the dust removal bin, and the two electrode plates are respectively electrically connected to the positive and negative output ends of the electrostatic generator. The electrostatic generator is electrically connected with the control unit, and an electric field is generated between the two electrode plates to adsorb dust particles in the air, thereby achieving the purpose of dust removal.
优选地,所述气体加湿装置包括布置在加湿仓内部的海绵和棉芯,所述海绵通过棉芯与储水仓连通,所述海绵内部设置超声波雾化片,所述超声波雾化片与控制单元电连接,通过虹吸原理,将储水仓内部的水汲取到海绵内部,然后在超声波雾化片的作用下进行雾化,从而对气流进行加湿。Preferably, the gas humidification device includes a sponge and a cotton core arranged inside the humidification chamber, the sponge communicates with the water storage chamber through the cotton core, an ultrasonic atomizing sheet is arranged inside the sponge, and the ultrasonic atomizing sheet is electrically connected to the control unit. Connection, through the siphon principle, the water inside the water storage tank is drawn into the sponge, and then atomized under the action of the ultrasonic atomizing sheet, thereby humidifying the airflow.
优选地,所述气味助眠装置包括与壳体一体成形且上端开口的香薰仓,所述香薰仓上端设置盖体,所述香薰仓底部设置带有电磁阀的出口,所述出口分别通过管道与海绵连通,所述电磁阀与控制单元电连接,通过控制电磁阀的开启与关闭,实现香薰仓和海绵的接通和闭合,从而控制香薰仓内部液体流向海绵,随海绵内部水分一同雾化。Preferably, the scent sleep aid device comprises an aromatherapy chamber integrally formed with the casing and has an open upper end, a cover body is provided at the upper end of the aromatherapy chamber, and an outlet with a solenoid valve is provided at the bottom of the aromatherapy chamber, and the outlets respectively pass through pipes Connected with the sponge, the solenoid valve is electrically connected with the control unit, and by controlling the opening and closing of the solenoid valve, the connection and closing of the aromatherapy chamber and the sponge are realized, thereby controlling the liquid inside the aromatherapy chamber to flow to the sponge, and atomized together with the moisture in the sponge .
优选地,所述音频助眠装置包括扬声器和数据存储器,所述扬声器和数据存储器分别与控制单元电连接,通过音频助眠装置播放舒缓的音乐进行助眠。Preferably, the audio sleep aid device includes a speaker and a data memory, the speaker and the data memory are respectively electrically connected to the control unit, and the audio sleep aid device plays soothing music for sleep aid.
优选地,所述设备仓内部还设置有信号接收器,所述信号接收器与控制单元电连接,用于连接智能终端进行数据设置,同时可接入如睡眠监测设备等的智能终端,进行不同睡眠阶段的工作模式控制,工作模式包括但不局限于出风量,空气加湿量等。Preferably, a signal receiver is also provided inside the equipment compartment, and the signal receiver is electrically connected to the control unit for connecting to an intelligent terminal for data setting, and at the same time, it can be connected to an intelligent terminal such as a sleep monitoring device to perform different The working mode control of the sleep stage, the working mode includes but is not limited to the air volume, the air humidification volume, etc.
优选地,所述棉芯延伸至储水仓内部,且棉芯贯穿除尘仓,且除尘仓内部的棉芯外部包裹胶套,有效避免灰尘与棉芯接触。Preferably, the cotton core extends to the inside of the water storage bin, and the cotton core runs through the dust removal bin, and the cotton core inside the dust removal bin is wrapped with a rubber sleeve to effectively prevent dust from contacting the cotton core.
本实用新型的有益效果体现在:The beneficial effects of the present utility model are embodied in:
本实用新型采用静电除尘的方式,对空气中的悬浮颗粒进行一次除尘,然后在滤芯的作用下进行二次除尘,随后经过加湿仓时,能够对空气进行加湿,从而起到净化空气且加湿空气的目的,有助于改善空气质量,同时集成气味助眠装置,通过在气体中增加具有安神的香薰液体,有助于改善睡眠质量,同时接入音频助眠装置,通过播放舒缓的音乐,有助于加速睡眠。The utility model adopts the method of electrostatic dust removal to remove the suspended particles in the air once, and then performs secondary dust removal under the action of the filter element, and then humidifies the air when passing through the humidification chamber, thereby purifying the air and humidifying the air. The purpose is to help improve the air quality, and at the same time integrate the odor sleep aid device. By adding a soothing aromatherapy liquid to the gas, it helps to improve the sleep quality. At the same time, the audio sleep aid device is connected to play soothing music. Helps to speed up sleep.
附图说明Description of drawings
为了更清楚地说明本实用新型具体实施方式或现有技术中的技术方案,下面将对具体实施方式或现有技术描述中所需要使用的附图作简单地介绍。在所有附图中,类似的元件或部分一般由类似的附图标记标识。附图中,各元件或部分并不一定按照实际的比例绘制。In order to illustrate the specific embodiments of the present invention or the technical solutions in the prior art more clearly, the following briefly introduces the accompanying drawings required for the description of the specific embodiments or the prior art. Similar elements or parts are generally identified by similar reference numerals throughout the drawings. In the drawings, each element or section is not necessarily drawn to actual scale.
图1为本实用新型实施例的净化室内空气助睡眠装置示意图;Fig. 1 is the schematic diagram of the indoor air purifying sleep aid device according to the embodiment of the present utility model;
图2为本实用新型实施例的净化室内空气助睡眠装置的剖视图。FIG. 2 is a cross-sectional view of a sleep aid device for purifying indoor air according to an embodiment of the present invention.
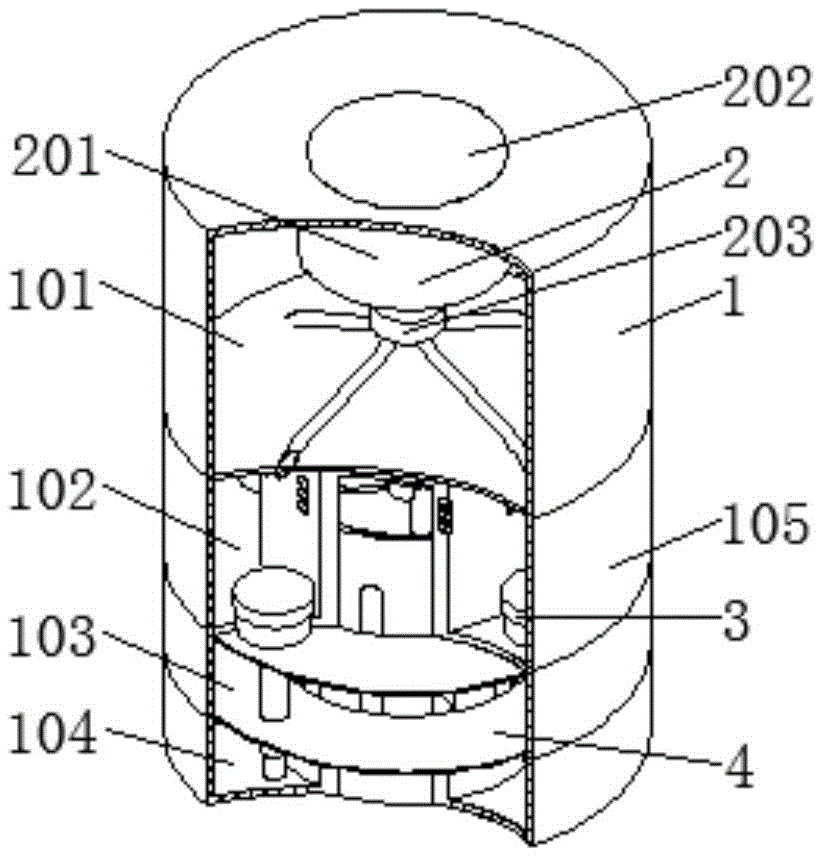
附图中:1-壳体,101-设备仓,102-加湿仓,103-除尘仓,104-储水仓,105-出风网,2-气味助眠装置,201-香薰仓,202-盖体,203-电磁阀,3-气体加湿装置,301-海绵,30-2棉芯,303-超声波雾化片,4-气体净化装置,401-电极板,402-静电发生器,403-过滤体,404-滤芯,405-风机,5-音频助眠装置,6-控制单元,7-信号收发器。In the drawings: 1-shell, 101-equipment warehouse, 102-humidification warehouse, 103-dust removal warehouse, 104-water storage warehouse, 105-air outlet net, 2-scent sleep aid device, 201-aromatherapy warehouse, 202-cover body , 203-solenoid valve, 3-gas humidification device, 301-sponge, 30-2 cotton wick, 303-ultrasonic atomizing sheet, 4-gas purification device, 401-electrode plate, 402-electrostatic generator, 403-filter , 404-filter element, 405-fan, 5-audio sleep aid device, 6-control unit, 7-signal transceiver.
具体实施方式Detailed ways
下面将结合附图对本实用新型技术方案的实施例进行详细的描述。以下实施例仅用于更加清楚地说明本实用新型的技术方案,因此只作为示例,而不能以此来限制本实用新型的保护范围。The embodiments of the technical solutions of the present utility model will be described in detail below with reference to the accompanying drawings. The following embodiments are only used to illustrate the technical solutions of the present invention more clearly, and are therefore only used as examples, and cannot be used to limit the protection scope of the present invention.
需要注意的是,除非另有说明,本申请使用的技术术语或者科学术语应当为本实用新型所属领域技术人员所理解的通常意义。It should be noted that, unless otherwise specified, the technical or scientific terms used in the present application shall have the usual meanings understood by those skilled in the art to which the present invention belongs.
本实施例公开了一种净化室内空气助睡眠装置,包括壳体1,壳体1内部从上之下依次设置设备仓101,加湿仓102,除尘仓103和储水仓104,除尘仓103和加湿仓102内部连通,除尘仓103和加湿仓102对应的壳体1表面设置出风网105,除尘仓103内部设置带有静电除尘功能的气体净化装置4,加湿仓102内部设置具有雾化功能且与储水仓104连通的气体加湿装置3,设备仓101内部设置与加湿仓102连通的气味助眠装置2,设备仓101内部还设置音频助眠装置5和控制单元6,气味助眠装置2,气体加湿装置3,气体净化装置4和音频助眠装置5分别与控制单元电连接,控制单元6与外置电源电连接。This embodiment discloses a device for purifying indoor air for sleeping, including a
加湿仓102为环形仓,加湿仓102的环形中间区域与下方的除尘仓103连通,储水仓104为环形仓,加湿仓102,除尘仓103和储水仓104的中心位置设置筒状结构且上端开口的过滤体403,过滤体403圆周面与加湿仓102和除尘仓103对应位置分别设置通孔,且两级通孔之间设置滤芯404和风机405,风机405与控制单元6电连接,通过设置风机405的方式,加快内部气流速度,增大出风量,同时加装滤芯404,增加过滤效果,同时采用过滤体403的特殊结构设计,方便内部滤芯404的更换,同时将风机405内置,有助于降低噪音传递。The
气体净化装置4包括静电发生器402和两块电极板401,且两块电极板401分别与除尘仓103的上下内壁固定安装,且两块电极板401分别与静电发生器402的正负输出端电连接,静电发生器402与控制单元6电连接,通过两块电极板401之间产生电场,对空气中的灰尘颗粒进行吸附,从而达到除尘的目的,其中静电发生器402为市面上常见的型号。The
气体加湿装置3包括布置在加湿仓102内部的海绵301和棉芯302,海绵301通过棉芯302与储水仓104连通,海绵301内部设置超声波雾化片303,超声波雾化片303与控制单元6电连接,通过虹吸原理,将储水仓104内部的水汲取到海绵301内部,然后在超声波雾化片303的作用下进行雾化,从而对气流进行加湿。The
气味助眠装置2包括与壳体1一体成形且上端开口的香薰仓201,香薰仓201上端设置盖体202,香薰仓201底部设置带有电磁阀203的出口,出口分别通过管道与海绵301连通,电磁阀203与控制单元6电连接,通过控制电磁阀203的开启与关闭,实现香薰仓201和海绵301的接通和闭合,从而控制香薰仓201内部液体流向海绵301,随海绵301内部水分一同雾化。The scent
音频助眠装置5包括扬声器和数据存储器,扬声器和数据存储器分别与控制单元6电连接,通过音频助眠装置5播放存储在数据存储器内部舒缓的音乐进行助眠。The audio
设备仓101内部还设置有信号接收器7,信号接收器7与控制单元6电连接,用于连接智能终端进行数据设置,同时可接入如睡眠监测设备等的智能终端,进行不同睡眠阶段的工作模式控制,工作模式包括但不局限于出风量,空气加湿量等。The
棉芯302延伸至储水仓104内部,且棉芯302贯穿除尘仓103,且除尘仓103内部的棉芯302外部包裹胶套。The
控制单元6优选采用MS80F0801AP-DIP8型单片机,控制单元6控制相关电子元件的方式为现有技术中的常见方式,信号收发器7优选蓝牙适配器,通过蓝牙进行传输,且传输方式为现有技术中的常见方式。The
使用时,将储水仓104内部填充清水,在香薰仓201内部填充香薰液体,当启动时,风机405工作,带动气体由出风网105进入到除尘仓103内部,在除尘仓103内部经过静电除尘,并进过滤芯404过滤,完成气体净化,随后气体进入加湿仓102,超声波雾化片303将海绵301内的水分雾化,从而加湿气流,同时电磁阀203开启,香薰仓201内部的香薰通过管道流入海绵301,随海绵301内部水分一同雾化,使香薰分子随气体一同由出风网105溢出,改善空气质量,同时通过音频助眠装置5进行舒缓音乐的播放,加速睡眠,同时通过信号收发器7与智能终端进行连接,从而根据不同睡眠阶段进行不同出风量的调控,调控通过调节风机405转速实现。When in use, the
最后应说明的是:以上各实施例仅用以说明本实用新型的技术方案,而非对其限制;尽管参照前述各实施例对本实用新型进行了详细的说明,本领域的普通技术人员应当理解:其依然可以对前述各实施例所记载的技术方案进行修改,或者对其中部分或者全部技术特征进行等同替换;而这些修改或者替换,并不使相应技术方案的本质脱离本实用新型各实施例技术方案的范围,其均应涵盖在本实用新型的权利要求和说明书的范围当中。Finally, it should be noted that the above embodiments are only used to illustrate the technical solutions of the present utility model, but not to limit them; although the present utility model has been described in detail with reference to the foregoing embodiments, those of ordinary skill in the art should understand that : it can still modify the technical solutions recorded in the foregoing embodiments, or perform equivalent replacements to some or all of the technical features; and these modifications or replacements do not make the essence of the corresponding technical solutions deviate from the various embodiments of the present utility model The scope of the technical solution should be covered by the scope of the claims and description of the present invention.
Claims (8)
Priority Applications (1)
| Application Number | Priority Date | Filing Date | Title |
|---|---|---|---|
| CN201920728955.7U CN210135654U (en) | 2019-05-21 | 2019-05-21 | A device for purifying indoor air to help sleep |
Applications Claiming Priority (1)
| Application Number | Priority Date | Filing Date | Title |
|---|---|---|---|
| CN201920728955.7U CN210135654U (en) | 2019-05-21 | 2019-05-21 | A device for purifying indoor air to help sleep |
Publications (1)
| Publication Number | Publication Date |
|---|---|
| CN210135654U true CN210135654U (en) | 2020-03-10 |
Family
ID=69704726
Family Applications (1)
| Application Number | Title | Priority Date | Filing Date |
|---|---|---|---|
| CN201920728955.7U Expired - Fee Related CN210135654U (en) | 2019-05-21 | 2019-05-21 | A device for purifying indoor air to help sleep |
Country Status (1)
| Country | Link |
|---|---|
| CN (1) | CN210135654U (en) |
Cited By (2)
| Publication number | Priority date | Publication date | Assignee | Title |
|---|---|---|---|---|
| CN113944970A (en) * | 2020-06-30 | 2022-01-18 | 浙江绍兴苏泊尔生活电器有限公司 | Air purifying and humidifying equipment |
| CN115698597A (en) * | 2020-05-08 | 2023-02-03 | 沃克有限两合公司 | Air scrubber with electrostatic separator |
-
2019
- 2019-05-21 CN CN201920728955.7U patent/CN210135654U/en not_active Expired - Fee Related
Cited By (2)
| Publication number | Priority date | Publication date | Assignee | Title |
|---|---|---|---|---|
| CN115698597A (en) * | 2020-05-08 | 2023-02-03 | 沃克有限两合公司 | Air scrubber with electrostatic separator |
| CN113944970A (en) * | 2020-06-30 | 2022-01-18 | 浙江绍兴苏泊尔生活电器有限公司 | Air purifying and humidifying equipment |
Similar Documents
| Publication | Publication Date | Title |
|---|---|---|
| CN206018837U (en) | A kind of domestic intelligent air-purifying humidification all-in-one | |
| CN209042640U (en) | A multifunctional air purifying humidifier | |
| CN210197520U (en) | Intelligent atomization-containing air purifier | |
| CN203628870U (en) | Minitype air purifier | |
| CN206755469U (en) | A kind of intelligent humidifier for improving humidification efficiency | |
| CN203404849U (en) | Indoor air purifier | |
| CN210135654U (en) | A device for purifying indoor air to help sleep | |
| CN204006484U (en) | Multi-functional air health machine | |
| CN111089378A (en) | Mute type air purification and evaporation humidification integrated machine | |
| CN211400173U (en) | An imitation wood teapot-shaped air humidifier | |
| CN205037455U (en) | Intelligent air purifier of many filter layers | |
| CN207299243U (en) | A kind of disinfection of indoor air Humidifier | |
| CN207214248U (en) | A kind of air-conditioning | |
| CN103344009A (en) | A modular integrated indoor electrostatic adsorption air purification device | |
| CN209042642U (en) | An air humidification and purification machine | |
| CN217330068U (en) | A kind of humidifier for photocatalyst removing formaldehyde | |
| CN208253909U (en) | A kind of filter screen humidifier used for air-conditioning | |
| CN206191769U (en) | Air purifier | |
| CN206207641U (en) | A kind of Multifunctional humidifier | |
| CN205026855U (en) | Electronic display air humidifying clarifier | |
| CN211854418U (en) | Indoor ultrasonic air purifier | |
| CN210153975U (en) | Artificial intelligence indoor air accounts for than balanced system | |
| CN206959231U (en) | Low energy consumption anion humidification device | |
| CN201248883Y (en) | Two-core air purifier | |
| CN112460718A (en) | Wind energy-based household air cleaning and circulating device |
Legal Events
| Date | Code | Title | Description |
|---|---|---|---|
| GR01 | Patent grant | ||
| GR01 | Patent grant | ||
| TR01 | Transfer of patent right | ||
| TR01 | Transfer of patent right |
Effective date of registration: 20240322 Address after: 213000 No. 8, Lan Xiang Road, West Taihu science and Technology Industrial Park, Changzhou, Jiangsu Patentee after: Changzhou Lvyangyuan Environmental Protection Technology Co.,Ltd. Country or region after: China Address before: Room 2801, Unit 2, Building 1, Shanghe City, No. 7 Zhenhua North Lane, Lianhu District, Xi'an City, Shaanxi Province, 710000 Patentee before: Shaanxi Hongying Industrial Co.,Ltd. Country or region before: China |
|
| CF01 | Termination of patent right due to non-payment of annual fee | ||
| CF01 | Termination of patent right due to non-payment of annual fee |
Granted publication date: 20200310 |
