CN210115126U - Household garbage processor - Google Patents
Household garbage processor Download PDFInfo
- Publication number
- CN210115126U CN210115126U CN201920410234.1U CN201920410234U CN210115126U CN 210115126 U CN210115126 U CN 210115126U CN 201920410234 U CN201920410234 U CN 201920410234U CN 210115126 U CN210115126 U CN 210115126U
- Authority
- CN
- China
- Prior art keywords
- pipe
- garbage
- carbonization treatment
- sewage
- screw propeller
- Prior art date
- Legal status (The legal status is an assumption and is not a legal conclusion. Google has not performed a legal analysis and makes no representation as to the accuracy of the status listed.)
- Expired - Fee Related
Links
Images
Landscapes
- Processing Of Solid Wastes (AREA)
Abstract
本实用新型公开了一种生活垃圾处理器,进料斗底部连接所述垃圾撕碎机的进料口,垃圾撕碎机的出料口连接垃圾物料与污水分离管的进料口,第一减速电机的输出轴连接垃圾撕碎机;垃圾物料与污水分离管内设有第一螺旋推进器,第二减速电机的输出轴连接第一螺旋推进器;在垃圾物料与污水分离管底部两端分别设有第一排料口和污水排水口,第一排料口连接碳化处理管的进料口;碳化处理管内设有第二螺旋推进器,外部缠绕陶瓷加热绳,底部设有第二排料口,第三减速电机的输出轴连接所述第二螺旋推进器;垃圾物料与污水分离管设有排烟口,排排烟口连接所述烟气净化系统。本实用新型能及时就地处理垃圾、处理快速、节能环保、能灵活移动、操作方便、成本低。
The utility model discloses a domestic garbage disposer. The bottom of a feeding hopper is connected to a feed port of the garbage shredder, and the discharge port of the garbage shredder is connected to a feed port of a garbage material and a sewage separation pipe. The output shaft of the reduction motor is connected to the garbage shredder; the waste material and sewage separation pipe is provided with a first screw propeller, and the output shaft of the second reduction motor is connected to the first screw propeller; at the bottom ends of the waste material and sewage separation pipe respectively There is a first discharge port and a sewage discharge port, the first discharge port is connected to the feed port of the carbonization treatment pipe; the carbonization treatment pipe is provided with a second screw propeller, a ceramic heating rope is wound outside, and the bottom is provided with a second discharge material The output shaft of the third reduction motor is connected to the second screw propeller; the waste material and sewage separation pipe is provided with a smoke outlet, and the smoke outlet is connected to the flue gas purification system. The utility model can dispose of garbage on the spot in time, has the advantages of fast disposal, energy saving and environmental protection, flexible movement, convenient operation and low cost.
Description
技术领域technical field
本实用新型生活垃圾处理技术领域,特别是一种生活垃圾处理器。The utility model is in the technical field of domestic garbage disposal, in particular to a domestic garbage disposer.
背景技术Background technique
目前,生活垃圾主要有三种处理方式:1.填埋处理,这是大量垃圾最直接有效的处理方法,但是直接填埋会造成地下水质污染,产生有害物质。2.焚烧处理,将垃圾囿于高温炉中焚烧,其优点是垃圾减量效果好,处理彻底,但是常常因为排放造成环境的二次污染,而且焚烧厂的建设和运营费用很高。3.堆肥处理,把生活垃圾堆积、发酵,借助微生物分解能力将有机物分解成无机养分,既能解决垃圾处理又能实现资源再生。但是生活垃圾堆肥处理速度慢,而且堆肥易造成土壤板结和地下水质污染,所以规模较小。上述三种方法,基本上都是适用于集中处理,适合量较大的处理场合,集中处理虽然能集中监控垃圾处理的效果,减少二次污染,有利于资源再生,减少垃圾处理的直接处理的成本,但是也相应的增加垃圾收集和运输的成本。收集不及时就会产生垃圾囤积现象,特别是农村或保洁人员少的小区、街道等等,都会出现或多或少的垃圾,长时间内不能得到及时清运的现象,造成人居环境差,空气污染大。因此,对于家庭、酒店、餐馆、小区、村屯、街道、机关、企事业单位及公共场所等垃圾量较小的单位,有必要研究开发一种能及时就地处理垃圾的设备。At present, there are three main treatment methods for domestic waste: 1. Landfill treatment, which is the most direct and effective treatment method for a large amount of waste, but direct landfill will cause groundwater pollution and produce harmful substances. 2. Incineration treatment, incinerating waste in a high-temperature furnace, has the advantages of good waste reduction effect and thorough treatment, but often causes secondary pollution to the environment due to emissions, and the construction and operation costs of incineration plants are high. 3. Composting, the accumulation and fermentation of domestic garbage, and the decomposition of organic matter into inorganic nutrients with the help of microbial decomposition ability, can not only solve the problem of garbage disposal but also realize resource regeneration. However, the composting speed of domestic waste is slow, and composting is easy to cause soil compaction and groundwater pollution, so the scale is small. The above three methods are basically suitable for centralized treatment, suitable for large-scale treatment occasions. Although centralized treatment can centrally monitor the effect of garbage treatment, reduce secondary pollution, it is conducive to resource regeneration, and reduces the direct treatment of garbage treatment. costs, but also a corresponding increase in the cost of garbage collection and transportation. If the collection is not timely, the phenomenon of garbage hoarding will occur, especially in rural areas or communities with few cleaning staff, streets, etc., there will be more or less garbage, which cannot be cleaned and transported in time for a long time, resulting in poor living environment. Air pollution is high. Therefore, for households, hotels, restaurants, communities, villages, streets, agencies, enterprises and institutions, and public places and other units with a small amount of garbage, it is necessary to research and develop a device that can dispose of garbage on-site in a timely manner.
发明内容SUMMARY OF THE INVENTION
本实用新型要解决的技术问题是提供一种能及时就地处理垃圾、处理垃圾快速、节能、环保、能灵活移动、操作方便、成本低的生活垃圾处理器。The technical problem to be solved by the utility model is to provide a domestic garbage disposer which can dispose of garbage on the spot in time, quickly, save energy, protect the environment, can move flexibly, is easy to operate, and has low cost.
本实用新型采用如下技术方案:The utility model adopts the following technical solutions:
一种生活垃圾处理器,包括进料斗、垃圾撕碎机、垃圾物料与污水分离管、碳化处理管和烟气净化系统;A domestic garbage processor, comprising a feeding hopper, a garbage shredder, a garbage material and sewage separation pipe, a carbonization treatment pipe and a flue gas purification system;
所述进料斗底部连接所述垃圾撕碎机的进料口,所述垃圾撕碎机的出料口连接所述垃圾物料与污水分离管的进料口,第一减速电机的输出轴连接所述垃圾撕碎机;The bottom of the feed hopper is connected to the feed port of the garbage shredder, the discharge port of the garbage shredder is connected to the feed port of the garbage material and the sewage separation pipe, and the output shaft of the first gear motor is connected the garbage shredder;
所述垃圾物料与污水分离管内设有第一螺旋推进器,第二减速电机的输出轴连接所述第一螺旋推进器;在垃圾物料与污水分离管底部两端分别设有第一排料口和污水排水口,第一排料口连接所述碳化处理管的进料口;The waste material and sewage separation pipe is provided with a first screw propeller, and the output shaft of the second reduction motor is connected to the first screw propeller; the two ends of the bottom of the waste material and sewage separation pipe are respectively provided with first discharge ports and sewage outlet, and the first outlet is connected to the inlet of the carbonization treatment pipe;
所述碳化处理管内设有第二螺旋推进器,外部缠绕陶瓷加热绳,底部设有第二排料口,第三减速电机的输出轴连接所述第二螺旋推进器;The carbonization treatment tube is provided with a second screw propeller, a ceramic heating rope is wound outside, a second discharge port is arranged at the bottom, and the output shaft of the third reduction motor is connected to the second screw propeller;
所述垃圾物料与污水分离管设有排烟口,所述排排烟口连接所述烟气净化系统。The waste material and the sewage separation pipe are provided with a smoke outlet, and the smoke outlet is connected to the flue gas purification system.
所述碳化处理管设有二根,分别为第一碳化处理管和第二碳化处理管,第一碳化处理管内设有第二螺旋推进器,第三减速电机的输出轴连接所述第二螺旋推进器,第一碳化处理管通过第二排料口与第二碳化处理管连通;所述第二碳化处理管设有第三螺旋推进器,第四减速电机的输出轴连接所述第三螺旋推进器,第二碳化处理管底部设有第三排料口,所述第二碳化处理管通过第三排料口连接装料箱,第一碳化处理管和第二碳化处理管的外部一起缠绕陶瓷加热绳。The carbonization treatment pipe is provided with two pipes, namely the first carbonization treatment pipe and the second carbonization treatment pipe. The first carbonization treatment pipe is provided with a second screw propeller, and the output shaft of the third reduction motor is connected to the second screw. propeller, the first carbonization treatment pipe is communicated with the second carbonization treatment pipe through the second discharge port; the second carbonization treatment pipe is provided with a third screw propeller, and the output shaft of the fourth reduction motor is connected to the third screw The propeller, the bottom of the second carbonization treatment pipe is provided with a third discharge port, the second carbonization treatment pipe is connected to the charging box through the third discharge port, and the outside of the first carbonization treatment pipe and the second carbonization treatment pipe are wound together Ceramic heating rope.
所述烟气净化系统包括水滤池、活性炭过滤管、除尘布袋和烟囱;所述排烟口管道连接所述水滤池,所述水滤池管道连接所述活性炭过滤管,所述活性炭过滤管管道连接所述除尘布袋,所述除尘布袋管道连接所述抽烟机,所述抽烟机连接所述烟囱。The flue gas purification system includes a water filter tank, an activated carbon filter pipe, a dust removal bag and a chimney; the smoke exhaust pipe is connected to the water filter tank, and the water filter tank pipe is connected to the activated carbon filter pipe, and the activated carbon filter The pipe and pipe are connected to the dust removal bag, the dust removal bag pipe is connected to the fume extractor, and the fume extractor is connected to the chimney.
还包括污水净化池,所述污水净化池顶部管道连接所述污水排水口,所述污水净化池设有过滤器,所述污水净化池通过排水管连接所述烟囱,所述排水管外壁贴靠所述陶瓷加热绳。It also includes a sewage purification tank, the top pipe of the sewage purification tank is connected to the sewage outlet, the sewage purification tank is provided with a filter, the sewage purification tank is connected to the chimney through a drain pipe, and the outer wall of the drain pipe is abutted against The ceramic heating rope.
所述过滤器为沙网。The filter is a sand mesh.
还包括电控中心,所述电控中心分别控制所述第一减速电机、第二减速电机和第三减速电机的启停。It also includes an electric control center, which controls the start and stop of the first deceleration motor, the second deceleration motor and the third deceleration motor respectively.
还包括支架,所述进料斗、垃圾撕碎机、垃圾物料与污水分离管、碳化处理管、烟气净化系统、电控中心、第一减速电机、第二减速电机、第三减速电机、第四减速电机、装料箱和污水净化池分别安装在所述支架上,所述支架底部装分别设有轮子。It also includes a bracket, the feeding hopper, the garbage shredder, the garbage material and sewage separation pipe, the carbonization treatment pipe, the flue gas purification system, the electric control center, the first gear motor, the second gear motor, the third gear motor, The fourth deceleration motor, the charging box and the sewage purification tank are respectively installed on the brackets, and the bottoms of the brackets are respectively provided with wheels.
本实用新型生活垃圾碳化处理器具有的以下优点:The utility model has the following advantages:
1、更环保、更以人为本:其一是垃圾能够及时有效就地处理,不用囤积;其二是垃圾经过高温处理后变成碳化物,没有污染;产生的烟气经过烟气净化系统净化后,二恶英等有害气体大大减少,达到国家标准排放;产生的污水经过污水处理系统滤化、消毒后符合标准后再排出。特别是本发明采用在水滤池的水里加入动物油或植物油进行二次过滤,能很有效地吸附二恶英等有害气体。1. More environmentally friendly and more people-oriented: First, the garbage can be disposed of on-site in a timely and effective manner without hoarding; the second is that the garbage becomes carbide after high temperature treatment, and there is no pollution; after the generated flue gas is purified by the flue gas purification system, Dioxins and other harmful gases are greatly reduced, and the discharge reaches the national standard; the generated sewage is filtered and disinfected by the sewage treatment system and then discharged after meeting the standard. In particular, in the present invention, animal oil or vegetable oil is added to the water of the water filter for secondary filtration, which can effectively absorb harmful gases such as dioxins.
2、本发明采用陶瓷加热绳对碳化处理管内的垃圾高温加热进行碳化,污水排水管外壁贴靠陶瓷加热绳,经过高温加热变成水蒸气再排放,能实现更清洁的排放,且充分利用了陶瓷加热绳的热源。2. The present invention uses a ceramic heating rope to carbonize the garbage in the carbonization treatment pipe at high temperature. The outer wall of the sewage drainage pipe is attached to the ceramic heating rope. After high temperature heating, it becomes water vapor and then discharged, which can achieve cleaner discharge and make full use of it. Heat source for ceramic heating cords.
3、可移动:本处理器重量轻、体积小,支架底部装有可移动轮子,随时随处可移动到达。3. Movable: The processor is light in weight and small in size. The bottom of the bracket is equipped with movable wheels, which can be moved anywhere at any time.
4、操作简便,处理快速:操作方法以人为本,只分为四步:启动、开盖、投放垃圾、合盖,半分钟内完成操作,就象平时将垃圾放入垃圾桶一样简单。4. Easy to operate and fast to handle: The operation method is people-oriented, and it is only divided into four steps: start, open the lid, put garbage, and close the lid.
5、实用性广:现在以3-5口人的家庭为主,按每天每户产生垃圾5-10公斤计算,每天可处理150-300户的垃圾。本发明处理能力为每小时能有效处理生活垃圾60-100公斤,日处理量为1.2-1.5吨,所以适用于居民小区、城镇街道、农村村民小组、行政机关、企事业单位、独门独院家庭和公园广场等公共场所。特别是农村的自然村屯(村民小组)主要以100户以下为聚居点,主要是通电的地方都可以用得上。5. Wide practicability: At present, families with 3-5 people are the main ones. According to the calculation that each household produces 5-10 kilograms of garbage every day, it can process 150-300 households of garbage every day. The processing capacity of the invention is that it can effectively process 60-100 kilograms of domestic waste per hour, and the daily processing capacity is 1.2-1.5 tons, so it is suitable for residential quarters, urban streets, rural villager groups, administrative organs, enterprises and institutions. public places such as parks and plazas. In particular, the natural villages (village groups) in rural areas are mainly inhabited by less than 100 households, and they can be used mainly in places with electricity.
6、省人工、减强度:平时处理垃圾需要打扫、收集、装车、运送、填埋(或焚烧)等工序,工作量大,人手多、劳动强度大。本发明生活垃圾碳化处理器能简化以上工序,直接由垃圾生产地使用本处理器一步完成垃圾处理,垃圾碳化处理后能再回收利用。6. Save labor and reduce intensity: Usually, garbage disposal requires processes such as cleaning, collection, loading, transportation, landfill (or incineration), etc. The workload is large, the manpower is large, and the labor intensity is high. The household garbage carbonization processor of the present invention can simplify the above procedures, directly use the processor in the garbage production site to complete the garbage treatment in one step, and the garbage can be recycled after carbonization treatment.
附图说明Description of drawings
图1是本实用新型生活垃圾处理器的结构示意图。FIG. 1 is a schematic structural diagram of a domestic garbage disposer of the present invention.
图2是图1中垃圾撕碎机的结构示意图。FIG. 2 is a schematic structural diagram of the garbage shredder in FIG. 1 .
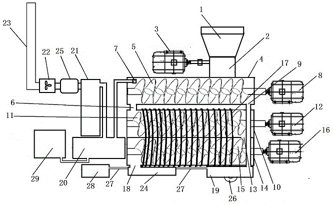
图中:1:进料斗,2:垃圾撕碎机,3:第一减速电机,4:垃圾物料与污水分离管,5:第一螺旋推进器,6:第一排料口,7:排烟口,8:第二减速电机,9:污水排水口,10:第一碳化处理管,11:第二螺旋推进器,12:第三减速电机,13:第二排料口,14:第二碳化处理管,15:第三螺旋推进器,16:第四减速电机,17:陶瓷加热绳,18:第三排料口,19:污水净化池;20:水滤池;21:活性炭过滤管,22:抽烟机;23:烟囱,24:装料箱,25:除尘布袋,26:过滤沙网,27:排水管,28:集水箱,29:供水箱。In the picture: 1: Feed hopper, 2: Garbage shredder, 3: First gear motor, 4: Separation pipe for garbage material and sewage, 5: First screw propeller, 6: First discharge port, 7: Smoke exhaust port, 8: Second gear motor, 9: Sewage outlet, 10: First carbonization treatment pipe, 11: Second screw propeller, 12: Third gear motor, 13: Second discharge port, 14: Second carbonization treatment tube, 15: Third screw propeller, 16: Fourth gear motor, 17: Ceramic heating rope, 18: Third discharge port, 19: Sewage purification tank; 20: Water filter tank; 21: Activated carbon Filter pipe, 22: hood; 23: chimney, 24: charging box, 25: dust bag, 26: sand filter, 27: drain pipe, 28: water collection tank, 29: water supply tank.
2-1:箱体,2-2:驱动轴,2-3:从动轴,2-4:动刀,2-5:定刀。2-1: Box, 2-2: Drive shaft, 2-3: Driven shaft, 2-4: Moving knife, 2-5: Fixed knife.
具体实施方式Detailed ways
以下结合附图对本实用新型的具体实施方式作详细说明,但不构成对本实用新型保护范围的限制。The specific embodiments of the present invention will be described in detail below with reference to the accompanying drawings, which do not limit the protection scope of the present invention.
如图1所示,生活垃圾处理器,进料斗1底部连接垃圾撕碎机2的进料口,垃圾撕碎机2的出料口连接垃圾物料与污水分离管4顶部的进料口,第一减速电机3的输出轴连接垃圾撕碎机2。垃圾撕碎机2实现把垃圾破碎,方便后续固液分离步骤。As shown in Figure 1, in the domestic garbage processor, the bottom of the hopper 1 is connected to the feed port of the garbage shredder 2, and the discharge port of the garbage shredder 2 is connected to the feed port on the top of the garbage material and the sewage separation pipe 4, The output shaft of the first reduction motor 3 is connected to the garbage shredder 2 . The garbage shredder 2 realizes the shredding of garbage, which is convenient for subsequent solid-liquid separation steps.
如图2所示,所述垃圾撕碎机2包括箱体2-1、驱动轴2-2、从动轴2-3、动刀2-4、定刀2-5和齿轮;所述箱体2-1上下分别开口,上开口为进料口,下开口为出料口。驱动轴2-2从箱体2-1外穿进箱体内,驱动轴2-2上设有交错排列的动刀2-4;所述驱动轴2-2与从动轴2-3通过齿轮传动,从动轴2-3上也交错排列的动刀2-4,箱体2-1内壁分别设有定刀2-5,所述动刀2-4与定刀2-5形成相对运动,驱动轴2-2上的动刀2-4和从动轴2-3上的动刀2-4也形成相对运动。垃圾进入所述垃圾撕碎机2后,受到挤、撕、剪的作用,从而使垃圾得到破碎。本实用新型的垃圾撕碎机2也可以采用现有的垃圾破碎机。As shown in Figure 2, the garbage shredder 2 includes a box body 2-1, a drive shaft 2-2, a driven shaft 2-3, a movable knife 2-4, a fixed knife 2-5 and gears; the box The upper and lower openings of the body 2-1 are respectively, the upper opening is the feeding port, and the lower opening is the discharging port. The drive shaft 2-2 penetrates into the casing from the outside of the box body 2-1, and the drive shaft 2-2 is provided with staggered moving knives 2-4; the drive shaft 2-2 and the driven shaft 2-3 pass through gears The movable knives 2-4 on the driven shaft 2-3 are also staggered, and the inner wall of the box body 2-1 is respectively provided with fixed knives 2-5, and the movable knives 2-4 and the fixed knives 2-5 form relative motion. , the movable knife 2-4 on the driving shaft 2-2 and the movable knife 2-4 on the driven shaft 2-3 also form relative motion. After the garbage enters the garbage shredder 2, it is squeezed, torn, and sheared, so that the garbage is shredded. The garbage shredder 2 of the present invention can also adopt the existing garbage shredder.
所述垃圾物料与污水分离管4内设有第一螺旋推进器5,第二减速电机8的输出轴连接所述第一螺旋推进器5;在垃圾物料与污水分离管4底部两端分别设有第一排料口6和污水排水口9,所述第一排料口6设在所述垃圾物料与污水分离管4的进料口的远离端,第一排料口6管道连接第一碳化处理管10的进料口。所述垃圾物料与污水分离管4内底面向污水排水口9倾斜,污水排水口9管道连接污水净化池19。所述第一螺旋推进器5从所述垃圾物料与污水分离管4的进料口开始将垃圾旋压推挤到第一排料口6,实现垃圾固料和污水分离,分离后的垃圾固料从第一排料口6排至第一碳化处理管10,污水从污水排水口9排出到污水净化池19。The waste material and sewage separation pipe 4 is provided with a first screw propeller 5, and the output shaft of the second reduction motor 8 is connected to the first screw propeller 5; There are a first discharge port 6 and a sewage discharge port 9, the first discharge port 6 is located at the far end of the waste material and the feed port of the sewage separation pipe 4, and the first discharge port 6 is connected to the first discharge pipe. The feed port of the carbonization treatment tube 10. The inner bottom of the waste material and sewage separation pipe 4 is inclined toward the sewage outlet 9 , and the sewage outlet 9 is connected to the sewage purification tank 19 by the pipeline. The first screw propeller 5 starts from the feed port of the garbage material and sewage separation pipe 4 to spin and push the garbage to the first discharge port 6, so as to realize the separation of solid waste and sewage, and the solid waste after separation. The material is discharged from the first discharge port 6 to the first carbonization treatment pipe 10 , and the sewage is discharged from the sewage discharge port 9 to the sewage purification tank 19 .
所述第一碳化处理管10内设有第二螺旋推进器11,第三减速电机12的输出轴连接所述第二螺旋推进器11,第一碳化处理管10通过其底部的第二排料口13与第二碳化处理管14连通,所述第二排料口13设在所述第一碳化处理管10的进料口的远离端;所述第二螺旋推进器11从第一碳化处理管10的进料口开始将垃圾旋压推挤到第二排料口13,从第二排料口13排进第二碳化处理管14内。The first carbonization treatment tube 10 is provided with a second screw propeller 11, the output shaft of the third reduction motor 12 is connected to the second screw propeller 11, and the first carbonization treatment tube 10 passes through the second discharge at the bottom of the first carbonization treatment tube 10. The port 13 is communicated with the second carbonization treatment pipe 14, and the second discharge port 13 is provided at the far end of the feed port of the first carbonization treatment pipe 10; the second screw propeller 11 starts from the first carbonization treatment pipe The feed port of the pipe 10 begins to spin and push the garbage to the second discharge port 13 , and the waste is discharged into the second carbonization treatment pipe 14 from the second discharge port 13 .
所述第一碳化处理管10与其下方的所述第二碳化处理管14外壁贴靠,所述第二碳化处理管14内设有第三螺旋推进器15,第四减速电机16的输出轴连接所述第三螺旋推进器15,第二碳化处理管14底部设有第三排料口18,所述第三排料口18位于第二排料口13的远离端。所述第二碳化处理管14通过第三排料口18连接装料箱24。第三螺旋推进器15从第二排料口13开始将垃圾旋压推挤到第三排料口18,并从第三排料口18排到装料箱24。第一碳化处理管10和第二碳化处理管14的外部一起用陶瓷加热绳17缠绕。通过分别设置所述第一碳化处理管10和所述第二碳化处理管14,使垃圾碳化更充分。The first carbonization treatment pipe 10 is in contact with the outer wall of the second carbonization treatment pipe 14 below it. The second carbonization treatment pipe 14 is provided with a third screw propeller 15, and the output shaft of the fourth reduction motor 16 is connected The third screw propeller 15 and the bottom of the second carbonization treatment pipe 14 are provided with a third discharge port 18 , and the third discharge port 18 is located at the remote end of the second discharge port 13 . The second carbonization treatment pipe 14 is connected to the charging box 24 through the third discharge port 18 . The third screw propeller 15 starts from the second discharge port 13 to spin and push the garbage to the third discharge port 18 , and discharges the garbage from the third discharge port 18 to the charging box 24 . The outer portions of the first carbonization treatment pipe 10 and the second carbonization treatment pipe 14 are wound together with a ceramic heating wire 17 . By disposing the first carbonization treatment pipe 10 and the second carbonization treatment pipe 14 respectively, the garbage can be more fully carbonized.
所述垃圾物料与污水分离管4开设有排烟口7,本实用新型还包括烟气净化系统,所述烟气净化系统包括水滤池20、活性炭过滤管21、除尘布袋25和烟囱23;所述排烟口7管道连接所述水滤池20,所述水滤池20管道连接所述活性炭过滤管21,所述活性炭过滤管21管道连接所述除尘布袋25,所述除尘布袋25管道连接所述抽烟机22,所述抽烟机22连接所述烟囱23。所述水滤池20管道连接供水箱29。The waste material and sewage separation pipe 4 is provided with a smoke outlet 7, and the utility model also includes a flue gas purification system, which includes a water filter tank 20, an activated carbon filter pipe 21, a dust removal bag 25 and a chimney 23; The smoke exhaust port 7 is connected to the water filter 20, the water filter 20 is connected to the activated carbon filter pipe 21, the activated carbon filter pipe 21 is connected to the dust filter bag 25, and the dust filter bag 25 is connected to the pipe The smoke machine 22 is connected, and the smoke machine 22 is connected to the chimney 23 . The water filter tank 20 is connected to a water supply tank 29 by a pipeline.
烟气处理系统的净化方法为:第一步是水滤池20的水滤化使烟气迅速降温到100℃以下,并且对可被水溶的部分物质进行滤化。第二步是利用二恶英对脂溶性物质有很大亲和力的特点,在所述水滤池20的水里加入动物油或者植物油,漂浮在水面上形成第二层过滤,吸附二恶英等有害气体。第三步是活性炭过滤管21的活性碳对随附着水分子和油脂分子的有害物质进行有效的吸附。第四步是除尘布袋25除尘,对烟气进行再过滤后更加清洁排出。The purification method of the flue gas treatment system is as follows: the first step is to filter the water in the water filter 20 to rapidly cool the flue gas to below 100°C, and filter some water-soluble substances. The second step is to take advantage of the fact that dioxins have a great affinity for fat-soluble substances, add animal oil or vegetable oil to the water in the water filter 20, float on the water surface to form a second layer of filtration, and absorb harmful dioxins and other harmful substances. gas. The third step is that the activated carbon of the activated carbon filter tube 21 effectively adsorbs the harmful substances attached with water molecules and oil molecules. The fourth step is to remove the dust in the dust bag 25, and re-filter the flue gas and discharge it more cleanly.
所述污水净化池19设有过滤用的沙网26。所述污水净化池19通过排水管27连接集水箱28,所述排水管27外壁贴靠所述陶瓷加热绳17,污水经过污水净化池19过滤、沉淀后排到所述排水管27充分利用陶瓷加热绳17的热源进行高温加热,使之变成水蒸汽再排出到所述集水箱28。The sewage purification tank 19 is provided with a sand mesh 26 for filtering. The sewage purification tank 19 is connected to the water collecting tank 28 through a drain pipe 27. The outer wall of the drain pipe 27 is attached to the ceramic heating rope 17. The heat source of the heating rope 17 is heated at a high temperature to turn it into water vapor and then discharged to the water collecting tank 28 .
第一减速电机3、第二减速电机8、第三减速电机12、第四减速电机16和抽烟机22分别电连接电控中心,由所述电控中心分别控制它们的启停。The first deceleration motor 3 , the second deceleration motor 8 , the third deceleration motor 12 , the fourth deceleration motor 16 and the smoking machine 22 are respectively electrically connected to the electric control center, and the electric control center controls their start and stop respectively.
本生活垃圾处理器还包括支架,所述进料斗1、垃圾撕碎机2、垃圾物料与污水分离管4、第一碳化处理管10、第二碳化处理管14、烟气净化系统、电控中心、第一减速电机3、第二减速电机8、第三减速电机12、第四减速电机16、装料箱24、污水净化池19、集水箱28和供水箱29分别安装在所述支架上,所述支架底部装分别设有轮子。The domestic garbage processor also includes a bracket, the feed hopper 1, the garbage shredder 2, the garbage material and sewage separation pipe 4, the first carbonization treatment pipe 10, the second carbonization treatment pipe 14, the flue gas purification system, the electric The control center, the first deceleration motor 3, the second deceleration motor 8, the third deceleration motor 12, the fourth deceleration motor 16, the charging box 24, the sewage purification tank 19, the water collecting tank 28 and the water supply box 29 are respectively installed on the brackets The bottom of the bracket is equipped with wheels respectively.
Claims (6)
Priority Applications (1)
| Application Number | Priority Date | Filing Date | Title |
|---|---|---|---|
| CN201920410234.1U CN210115126U (en) | 2019-03-28 | 2019-03-28 | Household garbage processor |
Applications Claiming Priority (1)
| Application Number | Priority Date | Filing Date | Title |
|---|---|---|---|
| CN201920410234.1U CN210115126U (en) | 2019-03-28 | 2019-03-28 | Household garbage processor |
Publications (1)
| Publication Number | Publication Date |
|---|---|
| CN210115126U true CN210115126U (en) | 2020-02-28 |
Family
ID=69612451
Family Applications (1)
| Application Number | Title | Priority Date | Filing Date |
|---|---|---|---|
| CN201920410234.1U Expired - Fee Related CN210115126U (en) | 2019-03-28 | 2019-03-28 | Household garbage processor |
Country Status (1)
| Country | Link |
|---|---|
| CN (1) | CN210115126U (en) |
Cited By (1)
| Publication number | Priority date | Publication date | Assignee | Title |
|---|---|---|---|---|
| CN109967184A (en) * | 2019-03-28 | 2019-07-05 | 农东奎 | A kind of incinerator for treating domestic refuse and its waste disposal method |
-
2019
- 2019-03-28 CN CN201920410234.1U patent/CN210115126U/en not_active Expired - Fee Related
Cited By (1)
| Publication number | Priority date | Publication date | Assignee | Title |
|---|---|---|---|---|
| CN109967184A (en) * | 2019-03-28 | 2019-07-05 | 农东奎 | A kind of incinerator for treating domestic refuse and its waste disposal method |
Similar Documents
| Publication | Publication Date | Title |
|---|---|---|
| CN102322642A (en) | Sludge drying and incinerating system on basis of incineration of waste grate furnace and treatment method thereof | |
| WO2010108402A9 (en) | Method and apparatus for automatic collection, pipeline evacuation and comprehensive utilization of solid waste | |
| CN204107978U (en) | A kind of refuse disposal system | |
| CN103695472A (en) | Two-phase anaerobic fermentation method for kitchen waste | |
| CN201644488U (en) | Urban garbage oxidation and carbonization smokeless treatment device | |
| CN1181935C (en) | Disposal method of municipal solid waste and waste water as resources | |
| CN107321767B (en) | A kind of energy-saving and environment-friendly domestic garbage disposer | |
| CN112694181B (en) | System for domestic waste and domestic sewage integrated treatment | |
| CN110345485B (en) | Mobile household garbage oxygen-enriched incineration disposal system and method | |
| CN210115126U (en) | Household garbage processor | |
| CN205874171U (en) | Mud resourceful treatment device | |
| CN107781824A (en) | A kind of high-efficiency low-pollution rural garbage method of disposal and its device | |
| CN205797980U (en) | A kind of urban garbage treatment system | |
| CN110937285B (en) | Method for cleaning garbage in community by using unmanned garbage cleaning vehicle | |
| CN109967184A (en) | A kind of incinerator for treating domestic refuse and its waste disposal method | |
| CN111992572A (en) | Environment-friendly conversion processor for kitchen/kitchen waste | |
| CN207514920U (en) | A kind of high-efficiency low-pollution rural garbage disposal plant | |
| CN214866066U (en) | Organic waste recycling and screening device capable of rapidly discharging waste gas | |
| CN207786744U (en) | A kind of house refuse environment-friendly processing unit | |
| CN111718845A (en) | Household garbage treatment system | |
| CN116753526A (en) | A system and method for collaborative disposal of urban pollutants with garbage incinerators | |
| CN206724183U (en) | A kind of environment-friendly type municipal solid wastes directly burn gasification energy supplying system | |
| CN215975659U (en) | Garbage pyrolysis device | |
| CN214400001U (en) | System for comprehensive treatment of household garbage and domestic sewage | |
| CN212805664U (en) | Waste incineration flying ash dioxin removing device |
Legal Events
| Date | Code | Title | Description |
|---|---|---|---|
| GR01 | Patent grant | ||
| GR01 | Patent grant | ||
| CF01 | Termination of patent right due to non-payment of annual fee |
Granted publication date: 20200228 |
|
| CF01 | Termination of patent right due to non-payment of annual fee |
