CN210106691U - 一种膜片式安全阀 - Google Patents

一种膜片式安全阀 Download PDF

Info

Publication number
CN210106691U
CN210106691U CN201920510405.8U CN201920510405U CN210106691U CN 210106691 U CN210106691 U CN 210106691U CN 201920510405 U CN201920510405 U CN 201920510405U CN 210106691 U CN210106691 U CN 210106691U
Authority
CN
China
Prior art keywords
diaphragm
valve body
cock
valve
safety valve
Prior art date
Legal status (The legal status is an assumption and is not a legal conclusion. Google has not performed a legal analysis and makes no representation as to the accuracy of the status listed.)
Expired - Fee Related
Application number
CN201920510405.8U
Other languages
English (en)
Inventor
陈磊
王宗滨
Current Assignee (The listed assignees may be inaccurate. Google has not performed a legal analysis and makes no representation or warranty as to the accuracy of the list.)
Tianjin Hewitt Environmental Protection Technology Development Co Ltd
Original Assignee
Tianjin Hewitt Environmental Protection Technology Development Co Ltd
Priority date (The priority date is an assumption and is not a legal conclusion. Google has not performed a legal analysis and makes no representation as to the accuracy of the date listed.)
Filing date
Publication date
Application filed by Tianjin Hewitt Environmental Protection Technology Development Co Ltd filed Critical Tianjin Hewitt Environmental Protection Technology Development Co Ltd
Priority to CN201920510405.8U priority Critical patent/CN210106691U/zh
Application granted granted Critical
Publication of CN210106691U publication Critical patent/CN210106691U/zh
Expired - Fee Related legal-status Critical Current
Anticipated expiration legal-status Critical

Links

Images

Landscapes

  • Safety Valves (AREA)

Abstract

一种膜片式安全阀,其特征在于它由阀体、膜片及旋塞构成;所述阀体和旋塞内部为相对应的通孔;所述膜片安装于阀体和旋塞之间将通孔隔开;所述膜片密封安装于阀体的通孔上;所述旋塞压紧于膜片上并与阀体固定安装。本实用新型的优越性:本装置结构简单,安装使用方便,用于高压管路中能够快速灵敏地实现安全保护;膜片爆破后仅需将旋塞取下更换新的膜片,方便快捷,而且成本很低;本装置可以按照不同系统不同的工作压力,选择不同爆破压力的膜片;流量传感器能够实时监测到膜片是否爆破,爆破后能够及时发出信号。

Description

一种膜片式安全阀
(一)技术领域:
本实用新型涉及一种高压管路用安全阀,尤其是一种膜片式安全阀。
(二)背景技术:
在高压管路中,当设备出现故障时,如通路堵塞或者通路异常升压,导致通路内的压力超出设定值,如果没有及时发现采取泄压措施,则会造成设备损坏,带来经济损失;目前,高压管路中采用的安全装置结构比较复杂,灵敏度不高,而且使用成本较高。
(三)实用新型内容:
本实用新型的目的在于提供一种膜片式安全阀,它能够解决现有技术的不足,通过简单的结构,实现对高压设备的保护,当高压系统超过膜片爆破压力时,膜片爆破,系统降压,实现保护功能。
本实用新型的技术方案:一种膜片式安全阀,其特征在于它由阀体、膜片及旋塞构成;所述阀体和旋塞内部为相对应的通孔;所述膜片安装于阀体和旋塞之间将通孔隔开;所述膜片密封安装于阀体的通孔上;所述旋塞压紧于膜片上并与阀体固定安装。
所述膜片的爆破压力为高压管路工作压力的1.05-11倍。
所述膜片采用半球形膜片。
所述膜片与阀体之间通过密封垫密封。
所述旋塞与阀体通过螺纹固定安装。
所述阀体的进水端与高压管路连接。
所述阀体的进水端与高压管路之间通过O型密封圈密封。
所述旋塞的通孔内设置流量传感器。
本实用新型的优越性:本装置结构简单,安装使用方便,用于高压管路中能够快速灵敏地实现安全保护;膜片爆破后仅需将旋塞取下更换新的膜片,方便快捷,而且成本很低;本装置可以按照不同系统不同的工作压力,选择不同爆破压力的膜片;流量传感器能够实时监测到膜片是否爆破,爆破后能够及时发出信号。
(四)附图说明:
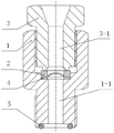
图1为本实用新型所涉一种膜片式安全阀的结构示意图。
其中,1为阀体,1-1为通孔Ⅰ,2为膜片,3为旋塞,3-3为通孔Ⅱ,4为密封垫,5为O型密封圈。
(五)具体实施方式:
实施例:以下结合具体实施例对本实用新型作进一步详细说明。应当理解,此处所描述的具体实施例仅仅用以解释本实用新型,并不用于限定本实用新型。
如图1所示,一种膜片式安全阀,其特征在于它由阀体1、膜片2及旋塞3构成;所述阀体1内的通孔Ⅰ1-1和旋塞3内的通孔Ⅱ3-1相对应;所述膜片2安装于阀体1和旋塞3之间将通孔Ⅰ1-1和通孔Ⅱ3-1隔开;所述膜片密封安装于阀体1的通孔Ⅰ1-1上;所述旋塞3压紧于膜片2上并与阀体1固定安装。
所述膜片2的爆破压力为高压管路工作压力的1.05-11倍。
所述膜片2采用半球形膜片。
所述膜片2与阀体1之间通过密封垫4密封。
所述旋塞3与阀体1通过螺纹固定安装。
所述阀体1的进水端与高压管路连接。
所述阀体1的进水端与高压管路之间通过O型密封圈5密封。
所述旋塞3的通孔Ⅱ3-1内设置流量传感器。

Claims (8)

1.一种膜片式安全阀,其特征在于它由阀体、膜片及旋塞构成;所述阀体和旋塞内部为相对应的通孔;所述膜片安装于阀体和旋塞之间将通孔隔开;所述膜片密封安装于阀体的通孔上;所述旋塞压紧于膜片上并与阀体固定安装。
2.根据权利要求1所述一种膜片式安全阀,其特征在于所述膜片的爆破压力为高压管路工作压力的1.05-11倍。
3.根据权利要求1所述一种膜片式安全阀,其特征在于所述膜片采用半球形膜片。
4.根据权利要求1所述一种膜片式安全阀,其特征在于所述膜片与阀体之间通过密封垫密封。
5.根据权利要求1所述一种膜片式安全阀,其特征在于所述旋塞与阀体通过螺纹固定安装。
6.根据权利要求1所述一种膜片式安全阀,其特征在于所述阀体的进水端与高压管路连接。
7.根据权利要求6所述一种膜片式安全阀,其特征在于所述阀体的进水端与高压管路之间通过O型密封圈密封。
8.根据权利要求1所述一种膜片式安全阀,其特征在于所述旋塞的通孔内设置流量传感器。
CN201920510405.8U 2019-04-16 2019-04-16 一种膜片式安全阀 Expired - Fee Related CN210106691U (zh)

Priority Applications (1)

Application Number Priority Date Filing Date Title
CN201920510405.8U CN210106691U (zh) 2019-04-16 2019-04-16 一种膜片式安全阀

Applications Claiming Priority (1)

Application Number Priority Date Filing Date Title
CN201920510405.8U CN210106691U (zh) 2019-04-16 2019-04-16 一种膜片式安全阀

Publications (1)

Publication Number Publication Date
CN210106691U true CN210106691U (zh) 2020-02-21

Family

ID=69536566

Family Applications (1)

Application Number Title Priority Date Filing Date
CN201920510405.8U Expired - Fee Related CN210106691U (zh) 2019-04-16 2019-04-16 一种膜片式安全阀

Country Status (1)

Country Link
CN (1) CN210106691U (zh)

Cited By (3)

* Cited by examiner, † Cited by third party
Publication number Priority date Publication date Assignee Title
CN111963691A (zh) * 2020-08-18 2020-11-20 西南石油大学 一种带纹路膜片小体积高温高压回压阀
CN112628436A (zh) * 2020-12-29 2021-04-09 西安交通大学 一种高压爆破片夹持装置及其密封性检测方法
CN113581678A (zh) * 2021-07-14 2021-11-02 广东工业大学 一种化工加工用防爆型原料存贮及输送机构

Cited By (3)

* Cited by examiner, † Cited by third party
Publication number Priority date Publication date Assignee Title
CN111963691A (zh) * 2020-08-18 2020-11-20 西南石油大学 一种带纹路膜片小体积高温高压回压阀
CN112628436A (zh) * 2020-12-29 2021-04-09 西安交通大学 一种高压爆破片夹持装置及其密封性检测方法
CN113581678A (zh) * 2021-07-14 2021-11-02 广东工业大学 一种化工加工用防爆型原料存贮及输送机构

Similar Documents

Publication Publication Date Title
US4951697A (en) Rupture disk failure indicating apparatus
CN210106691U (zh) 一种膜片式安全阀
US4284097A (en) In line back flow preventer
US4770207A (en) Fluidic system
JPS5986701A (ja) 液圧アキユムレ−タ装置
CN105736822A (zh) 一种多功能液体报漏阀
US4172468A (en) Pressure shock absorber for oxygen-regulator supply system
CN104913091B (zh) 一种可调可视报警式安全阀
CN201196597Y (zh) 一种调压器阀体的检测装置
CN210035087U (zh) 一种管道测压装置
CN202974549U (zh) 一种在线压力检测装置
CN207569286U (zh) 一种脱险装置用排气安全阀
CN204784906U (zh) 一种可调可视报警式安全阀
CN209927386U (zh) 新型阀门泄漏监测装置
CN206159574U (zh) 压力信号远传式安全阀
US3335610A (en) Safety device for pressure gauges
CN203809268U (zh) 一种新型的水泵控制器
CN204556193U (zh) 一种输液管内壁检测装置
CN210856009U (zh) 一种防漏气乙炔发生装置
CN109801721B (zh) 一种具备报警功能的爆破片保护装置
US2912992A (en) High pressure relief device
WO2018189415A1 (en) Shut-off valve
CN216715859U (zh) 一种用于七氟丙烷的防泄漏钢瓶
CN204729705U (zh) 一种高精度卫生级爆破针阀
CN218236266U (zh) 一种安全阀用防护装置

Legal Events

Date Code Title Description
GR01 Patent grant
GR01 Patent grant
CF01 Termination of patent right due to non-payment of annual fee

Granted publication date: 20200221

CF01 Termination of patent right due to non-payment of annual fee