CN210067733U - Adjustable courtyard door hinge assembly - Google Patents

Adjustable courtyard door hinge assembly Download PDF

Info

Publication number
CN210067733U
CN210067733U CN201920075359.3U CN201920075359U CN210067733U CN 210067733 U CN210067733 U CN 210067733U CN 201920075359 U CN201920075359 U CN 201920075359U CN 210067733 U CN210067733 U CN 210067733U
Authority
CN
China
Prior art keywords
hinge
adjustable
cover
fixed
lower hinge
Prior art date
Legal status (The legal status is an assumption and is not a legal conclusion. Google has not performed a legal analysis and makes no representation as to the accuracy of the status listed.)
Active
Application number
CN201920075359.3U
Other languages
Chinese (zh)
Inventor
陈壮
Current Assignee (The listed assignees may be inaccurate. Google has not performed a legal analysis and makes no representation or warranty as to the accuracy of the list.)
Foshan Carlos En Doors And Windows Co Ltd
Original Assignee
Foshan Carlos En Doors And Windows Co Ltd
Priority date (The priority date is an assumption and is not a legal conclusion. Google has not performed a legal analysis and makes no representation as to the accuracy of the date listed.)
Filing date
Publication date
Application filed by Foshan Carlos En Doors And Windows Co Ltd filed Critical Foshan Carlos En Doors And Windows Co Ltd
Priority to CN201920075359.3U priority Critical patent/CN210067733U/en
Application granted granted Critical
Publication of CN210067733U publication Critical patent/CN210067733U/en
Active legal-status Critical Current
Anticipated expiration legal-status Critical

Links

Images

Landscapes

  • Hinges (AREA)

Abstract

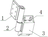
The utility model discloses a courtyard door hinge subassembly with adjustable, including last hinge and lower hinge, the projection of lower hinge is pegged graft in the shaft hole of last hinge, it has the screw hole to open on the fixed plate of hinge to go up, the side of lower hinge is equipped with fixed box, and the outside of fixed box is fixed with the dress trim cover through interior hexagonal screw. According to the adjustable courtyard door hinge assembly, the hinge decoration cover is arranged, so that the hinge decoration cover can cover the hinge decoration cover, the attractiveness degree is improved, the lower hinge can be adjusted, and the influence of size errors on the attractiveness of installation is avoided.

Description

Adjustable courtyard door hinge assembly
Technical Field
The utility model belongs to the technical field of the hinge, concretely relates to courtyard door hinge subassembly with adjustable.
Background
The courtyard door is customized according to the size of a place, has no uniform size and specification, and can generate a small amount of deviation in the production or measurement process, so that the front visual angle has a gap after installation, the appearance is not attractive, and the hinge is exposed, so that the appearance is influenced.
Disclosure of Invention
An object of the utility model is to provide a courtyard door hinge subassembly with adjustable to solve the problem that proposes among the above-mentioned background art.
In order to achieve the above object, the utility model provides a following technical scheme: the adjustable courtyard door hinge assembly comprises an upper hinge and a lower hinge, wherein a convex column of the lower hinge is inserted into a shaft hole of the upper hinge, a fixing plate of the upper hinge is provided with a screw hole, a fixing box is arranged on the side face of the lower hinge, and a decorative cover is fixed on the outer side of the fixing box through an inner hexagonal screw.
Preferably, the upper side wall and the lower side wall of the decorative cover are in threaded connection with hexagon socket head cap screws.
The utility model discloses a technological effect and advantage: according to the adjustable courtyard door hinge assembly, the hinge decoration cover is arranged, so that the hinge decoration cover can cover the hinge decoration cover, the attractiveness degree is improved, the lower hinge can be adjusted, and the influence of size errors on the attractiveness of installation is avoided.
Drawings
Fig. 1 is a schematic structural view of the present invention;
FIG. 2 is an enlarged schematic view of the structure at A of the present invention;
fig. 3 is a schematic diagram of the explosion structure of the present invention;
fig. 4 is a schematic view of the installation structure of the present invention.
In the figure: 1. mounting a hinge; 2. a lower hinge; 3. a decorative cover; 4. a hexagon socket head cap screw; 5. a column; 6. a door panel.
Detailed Description
The technical solutions in the embodiments of the present invention will be described clearly and completely with reference to the accompanying drawings in the embodiments of the present invention, and it is obvious that the described embodiments are only some embodiments of the present invention, not all embodiments. Based on the embodiments in the present invention, all other embodiments obtained by a person skilled in the art without creative work belong to the protection scope of the present invention.
The utility model provides a courtyard door hinge subassembly with adjustable as shown in fig. 1-4, including last hinge 1 and lower hinge 2, the projection of lower hinge 2 is pegged graft in the axle hole of last hinge 1, it has the screw hole to open on the fixed plate of last hinge 1, the side of lower hinge 2 is equipped with fixed box, and the outside of fixed box is fixed with dress trim cover 3 through interior hexagonal screw 4.
Specifically, the upper and lower side walls of the decorative cover 3 are screwed with hexagon socket head cap screws 4.
During the installation, install hinge 1's fixed plate on door plant 6, open slottedly on door plant 6, it is that hinge 1's fixed plate sinks at the inslot to go up, and dress trim cover 3 is fixed on stand 5, then pegs graft the fixed box of hinge 2 down in dress trim cover 3 to prolong dress trim cover 3 and go up the downside and screw into hexagon socket head cap screw 4, it is fixed with hinge 2 down, then will go up hinge 1's axle hole cover on hinge 2's projection down, can accomplish door plant 6's installation.
Finally, it should be noted that: although the present invention has been described in detail with reference to the foregoing embodiments, it will be apparent to those skilled in the art that modifications and variations can be made in the embodiments or in part of the technical features of the embodiments without departing from the spirit and the scope of the invention.

Claims (2)

1. An adjustable courtyard door hinge assembly, includes upper hinge (1) and lower hinge (2), its characterized in that: the convex column of lower hinge (2) is pegged graft in the shaft hole of last hinge (1), it has the screw hole to open on the fixed plate of last hinge (1), the side of lower hinge (2) is equipped with fixed box, and the outside of fixed box is fixed with dress trim cover (3) through hexagon socket head cap screw (4).
2. The adjustable patio door hinge assembly of claim 1, wherein: the upper side wall and the lower side wall of the decorative cover (3) are in threaded connection with hexagon socket head cap screws (4).
CN201920075359.3U 2019-01-17 2019-01-17 Adjustable courtyard door hinge assembly Active CN210067733U (en)

Priority Applications (1)

Application Number Priority Date Filing Date Title
CN201920075359.3U CN210067733U (en) 2019-01-17 2019-01-17 Adjustable courtyard door hinge assembly

Applications Claiming Priority (1)

Application Number Priority Date Filing Date Title
CN201920075359.3U CN210067733U (en) 2019-01-17 2019-01-17 Adjustable courtyard door hinge assembly

Publications (1)

Publication Number Publication Date
CN210067733U true CN210067733U (en) 2020-02-14

Family

ID=69424703

Family Applications (1)

Application Number Title Priority Date Filing Date
CN201920075359.3U Active CN210067733U (en) 2019-01-17 2019-01-17 Adjustable courtyard door hinge assembly

Country Status (1)

Country Link
CN (1) CN210067733U (en)

Cited By (1)

* Cited by examiner, † Cited by third party
Publication number Priority date Publication date Assignee Title
CN114320051A (en) * 2022-01-17 2022-04-12 江苏金峰门业有限公司 Hinge with adjustable concealed stainless steel door of airtight door of grain depot

Cited By (1)

* Cited by examiner, † Cited by third party
Publication number Priority date Publication date Assignee Title
CN114320051A (en) * 2022-01-17 2022-04-12 江苏金峰门业有限公司 Hinge with adjustable concealed stainless steel door of airtight door of grain depot

Similar Documents

Publication Publication Date Title
CN210067733U (en) Adjustable courtyard door hinge assembly
CN211066099U (en) Indoor office curtain box mounting structure
CN205477126U (en) Installation component in shower room
CN2392147Y (en) Lower hinge of refrigerator door
CN107781603A (en) It is easy to the TV fixed mount of construction
CN206015871U (en) A kind of solar electrical energy generation glass sunlight house
CN220621557U (en) Assembled adjustable leveling door pocket
CN204081881U (en) A kind of aluminum alloy door and window
CN202990187U (en) Illuminating light ball curtain wall with honeycomb plate base
CN203570132U (en) Stone hidden door
CN113982153B (en) Mounting bracket of curtain construction usefulness
CN216110347U (en) Aluminum alloy door and window convenient to install glass
CN206148814U (en) Embedded block terminal of high -rise building wall
CN213980434U (en) Shower room with hidden hinge structure
CN218234829U (en) Extremely narrow type fixed center pillar structure
CN2406400Y (en) Adjustable inserting case
CN215716825U (en) Adjustable wall protection pendant
CN208831717U (en) A new type of retractable closing device
CN216157450U (en) Hidden regulation pivot door
CN220267468U (en) World hinge
CN2476831Y (en) Protecter for micro-camera lens
CN220226626U (en) Quick disassembly and assembly of invisible connectors
CN214497976U (en) Section bar, plate, industrial air shower room and industrial air screen
CN218062953U (en) Drawer component
CN202970334U (en) Adjustable integrated door

Legal Events

Date Code Title Description
GR01 Patent grant
GR01 Patent grant