CN210056383U - 一种可调节长度及坡度的布朗架 - Google Patents

一种可调节长度及坡度的布朗架 Download PDF

Info

Publication number
CN210056383U
CN210056383U CN201920487374.9U CN201920487374U CN210056383U CN 210056383 U CN210056383 U CN 210056383U CN 201920487374 U CN201920487374 U CN 201920487374U CN 210056383 U CN210056383 U CN 210056383U
Authority
CN
China
Prior art keywords
rod
bracket
brown frame
rods
tail
Prior art date
Legal status (The legal status is an assumption and is not a legal conclusion. Google has not performed a legal analysis and makes no representation as to the accuracy of the status listed.)
Expired - Fee Related
Application number
CN201920487374.9U
Other languages
English (en)
Inventor
夏娟娟
赵向
龚祖华
Current Assignee (The listed assignees may be inaccurate. Google has not performed a legal analysis and makes no representation or warranty as to the accuracy of the list.)
Tongji Hospital Affiliated to Tongji Medical College of Huazhong University of Science and Technology
Original Assignee
Tongji Hospital Affiliated to Tongji Medical College of Huazhong University of Science and Technology
Priority date (The priority date is an assumption and is not a legal conclusion. Google has not performed a legal analysis and makes no representation as to the accuracy of the date listed.)
Filing date
Publication date
Application filed by Tongji Hospital Affiliated to Tongji Medical College of Huazhong University of Science and Technology filed Critical Tongji Hospital Affiliated to Tongji Medical College of Huazhong University of Science and Technology
Priority to CN201920487374.9U priority Critical patent/CN210056383U/zh
Application granted granted Critical
Publication of CN210056383U publication Critical patent/CN210056383U/zh
Expired - Fee Related legal-status Critical Current
Anticipated expiration legal-status Critical

Links

Images

Landscapes

  • Orthopedics, Nursing, And Contraception (AREA)

Abstract

本实用新型公开了一种可调节长度及坡度的布朗架,包括布朗架,所述布朗架包括前底盘、后地盘、第一托架和第二托架,所述前底盘和后地盘之间设置有活动套杆组,所述第一托架包括两个顶杆和两个尾杆,所述前底盘的顶部与两个顶杆的底部相连接,且后地盘的顶部与两个尾杆的底部相连接,所述顶杆的凹槽内设置有数量不低于四个的立柱,所述立柱底部的弹簧槽内固定安装有弹簧。本实用中,布朗架长度大小改变是通过顶杆位于尾杆内一端长度发生改变时,前底盘和后地盘也会随着改变而改变,并用过顶杆内弹出的立柱卡入尾杆开设的卡接口内,从而实现固定,实现了适用于不同身高高度的患者目的。

Description

一种可调节长度及坡度的布朗架
技术领域
本实用新型涉及医疗设备技术领域,具体来说涉及一种可调节长度及坡度的布朗架。
背景技术
布朗架是一种骨科治疗下肢骨折牵引使用的器械,当下肢骨折在骨骼愈合的端期间,通过布朗架在这个期间对其进行矫正。
因为现在市场上的布朗架都是按同一规格进行生产的,在具体的使用过程中,因为人的身高是不同的,因此下肢的长短也是不同,因此当我们将需要牵引的下肢放置到布朗架上的时候,由于下肢的长度和布朗架的长度比例不一致,因此在使用时候十分的不方便,而当下肢骨折时,布朗架的尾端不能很好地调整角度,使得大腿和小腿摆放姿势十分的不舒服,易造成血液不循环的问题,影响后期的正常康复。
实用新型内容
鉴于现有技术存在的上述问题,本实用新型的一方面目的在于提供一种可调节长度及坡度的布朗架,便于调节布朗架的长度,且第一托架和第二托架之间的角度是可以活动调节的,从而极大的便于不同身高以及下肢不同部位固定的患者使用。
为了实现上述目的,本实用新型提供的一种可调节长度及坡度的布朗架,包括布朗架,所述布朗架包括前底盘、后地盘、第一托架和第二托架,所述前底盘和后地盘之间设置有活动套杆组,用于改变前底盘和后地盘之间的间隔大小使用,所述第一托架包括两个顶杆和两个尾杆,因此第一托架的长短是可以通过顶杆进入尾杆长度大小改变第一托架的长度,所述前底盘的顶部与两个顶杆的底部相连接,且后地盘的顶部与两个尾杆的底部相连接,因此当顶杆与尾杆分离时作为连接前底盘和后地盘的活动套杆组,也会随着顶杆与尾杆分离距离的大小而改变,增加结构的稳定性,所述顶杆的凹槽内设置有数量不低于四个的立柱,所述立柱底部的弹簧槽内固定安装有弹簧,所述弹簧远离立柱的一端与顶杆凹槽的底部相连接,所述尾杆的外面开设有数量不低于四个的卡接口,所述顶杆与尾杆通过立柱与卡接口相连接,通过立柱卡入卡接口,实现对调整第一托架长度之后进行固定使用的,避免在使用过程中,无法固定顶杆在进入尾杆内部大小,所述后地盘上安装有活动杆,所述第二托架之间固定安装有弧形板,所述弧形板的底部固定安装有角度调节块,所述角度调节块的底部活动安装有插接杆,所述插接杆的尾端活动安装有可以转动的滑环,所述活动杆与滑环为螺纹连接,且活动杆的一端位于插接杆的内部,通过滑环与活动杆的螺纹连接,当顺时针转动滑杆时,活动杆会进入插接杆的内部,从而将与第一托架第二托架的角度缩小。
作为优选,所述滑环的外壁活动插接有固定杆,所述活动杆的表面开设有若干数量的插孔,所述活动杆与滑环通过插孔与固定杆相连接,用于完成第一托架第二托架的角度改变之后的固定使用。
作为优选,所述第一托架和第二托架的连接处设置有转轴,所述第一托架之间设置有尼龙弹性绳,所述第二托架之间设置有尼龙弹性绳。
作为优选,两个所述顶杆的顶部均固定安装有立架,顶端活动安装有通过调节螺栓固定的支架。
作为优选,所述立架与支架的顶端均固定安装有滑轮,方便牵引装置的使用。
与现有技术相比较,本实用新型提供的一种可调节长度及坡度的布朗架,具备以下有益效果:
1、该可调节长度及坡度的布朗架,通过顶杆与尾杆的套接方式,从而实现改变第一托架长度的目的,并用过顶杆内弹出的立柱卡入尾杆开设的卡接口内,从而实现固定,在第一托架长度改变时,前底盘和后地盘也会随着第一托架长度的改变,之间起连接作用的活动套杆组也会随着改变,实现了实用为了适用于不同身高高度的患者实用的目的。
2、该可调节长度及坡度的布朗架,因为后地盘上的活动杆与第二托架底部安装的插接杆是为活动插接的,因此当转动插接杆上的滑环时,在螺纹作用下,活动杆改变进入插接杆内部的长短,从而实现了改变第一托架和第二托架之间的角度大小,从而当患者发生下肢骨折时,不会因为第二托架与第一托架之前的角度,而影响使用,造成供血不足的情况发生,影响后期的康复。
应当理解,前面的一般描述和以下详细描述都仅是示例性和说明性的,而不是用于限制本公开。
本申请文件提供本公开中描述的技术的各种实现或示例的概述,并不是所公开技术的全部范围或所有特征的全面公开。
附图说明
图1为本实用新型结构立体图;
图2为本实用后地盘与角度调节块的安装示意图;
图3为本实用顶杆和尾杆连接关系侧面剖视图;
图4为本实用顶杆局部剖视图。
主要附图标记:
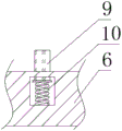
1、布朗架;2、前底盘;3、后地盘;4、第一托架;5、第二托架;6、顶杆;7、活动套杆组;8、尾杆;9、立柱;10、弹簧;11、卡接口;12、活动杆;13、弧形板;14、角度调节块;15、插接杆;16、滑环;17、固定杆; 18、转轴;19、尼龙弹性绳;20、立架;21、支架;22、滑轮。
具体实施方式
为了使得本公开实施例的目的、技术方案和优点更加清楚,下面将结合本公开实施例的附图,对本公开实施例的技术方案进行清楚、完整地描述。显然,所描述的实施例是本公开的一部分实施例,而不是全部的实施例。基于所描述的本公开的实施例,本领域普通技术人员在无需创造性劳动的前提下所获得的所有其他实施例,都属于本公开保护的范围。
除非另外定义,本公开使用的技术术语或者科学术语应当为本公开所属领域内具有一般技能的人士所理解的通常意义。本公开中使用的“包括”或者“包含”等类似的词语意指出现该词前面的元件或者物件涵盖出现在该词后面列举的元件或者物件及其等同,而不排除其他元件或者物件。“连接”或者“相连”等类似的词语并非限定于物理的或者机械的连接,还可以包括电性的连接,不管是直接的还是间接的。“上”、“下”、“顶”、“尾”等仅用于表示相对位置关系,当被描述对象的绝对位置改变后,则该相对位置关系也可能相应地改变。
为了保持本公开实施例的以下说明清楚且简明,本公开省略了已知功能和已知部件的详细说明。
请参阅图1-4,一种可调节长度及坡度的布朗架,包括布朗架1,如图1 所示,可以看出布朗架1包括前底盘2、后地盘3、第一托架4和第二托架5 所组成,并且前底盘2和后地盘3之间设置有活动套杆组7,用于稳定前底盘 2和后地盘3间距大小改变而设计使用的,作为本实用中改变布朗架1长度的目的的结构,是通过第一托架4包括两个顶杆6和两个尾杆8来实现的,进一步说明,因为前底盘2的顶部与两个顶杆6的底部相连接,且后地盘3的顶部与两个尾杆8的底部相连接,因此当顶杆6进入尾杆8内部的长度大小改变时,相应的前底盘2和后地盘3和水发生间距的改变,而上述的活动套杆组7即使配合第一托架4长度改变时随着改变前底盘2和后地盘3间距大小,进一步稳定结构,当完成改变布朗架1长度大小时,参照图3和图4所示,因为顶杆6的凹槽内设置有数量不低于四个的立柱9,立柱9底部的弹簧槽内固定安装有弹簧10,且弹簧10远离立柱9的一端与顶杆6凹槽的底部相连接,尾杆8的外面开设有数量不低于四个的卡接口11,顶杆6与尾杆8通过立柱9与卡接口11相连接,也就是说,通过设置的立柱9卡入卡接口11 内,从而将改变长度大小的布朗架1进行固定。
如图2所示,本实用新型进一步提出的技术方案中,后地盘3上安装有活动杆12,这里的活动杆12在后地盘3上下摆动的幅度是一定限制的,而第二托架5之间固定安装有弧形板13,并且弧形板13的底部固定安装有角度调节块14,角度调节块14的底部活动安装有插接杆15,同时插接杆15的尾端活动安装有可以转动的滑环16,并且活动杆12与滑环16为螺纹连接,且活动杆12的一端位于插接杆15的内部,也就是说,当需要改变第一托架4和第二托架5角度大小时,转动滑环16,从而可以改变活动杆12进入插接杆 15内部长短,从而实现改变第一托架4和第二托架5的角度。
本实用新型进一步提出的技术方案中,当完成第一托架4和第二托架5 的角度调整之后,这里滑环16的外壁活动插接有固定杆17,活动杆12的表面开设有若干数量的插孔,活动杆12与滑环16通过插孔与固定杆17相连接,也就是说通过将固定杆17插入滑环16并最终固定在活动杆12上的插孔,即可实现固定。
再者,在本实用新型中,第一托架4和第二托架5的连接处设置有转轴 18,第一托架4之间设置有尼龙弹性绳19,第二托架5之间设置有尼龙弹性绳19,尼龙弹性绳19用于下肢的摆放。
同时,两个顶杆6的顶部均固定安装有立架20,顶端活动安装有通过调节螺栓固定的支架21,且立架20与支架21的顶端均固定安装有滑轮22,供牵引装置安装所使用的。
正常来说,本实用提供的装置在工作时,当需要改变布朗架1长度大小时:将立柱9从而卡接口11用手指按压到尾杆8内部,并拉动顶杆6,当第一托架4达到指定长度时,将顶杆6上立柱9再次卡入卡接口11即可,当顶杆6在尾杆8内部位置移动时,前底盘2和后地盘3的间距大小也会改变,并且起连接作用的活动套杆组7的长度也会改变,从而稳定整体结构。
当需要改变布朗架1角度时,将固定杆17从而滑环16上拔出,并顺时针转动滑环16,会活动杆12缩短插接杆15内一端的长度,从而将第二托架 5抬升,而当逆时针转动滑环16,第二托架5会下降,从而实现改变第一托架4和第二托架5角度大小的目的。
本领域技术人员可以理解的是,其他类似连接方式也可以实现本实用新型。例如焊接、粘接或者螺接等方式。
以上实施例仅为本实用的示例性实施例,不用于限制本实用,本实用的保护范围由权利要求书限定。本领域技术人员可以在本实用的实质和保护范围内,对本实用做出各种修改或等同替换,这种修改或等同替换也应视为落在本实用的保护范围内。

Claims (5)

1.一种可调节长度及坡度的布朗架,包括布朗架(1),其特征在于:所述布朗架(1)包括前底盘(2)、后地盘(3)、第一托架(4)和第二托架(5),所述前底盘(2)和后地盘(3)之间设置有活动套杆组(7),所述第一托架(4)包括两个顶杆(6)和两个尾杆(8),所述前底盘(2)的顶部与两个顶杆(6)的底部相连接,且后地盘(3)的顶部与两个尾杆(8)的底部相连接,所述顶杆(6)的凹槽内设置有数量不低于四个的立柱(9),所述立柱(9)底部的弹簧槽内固定安装有弹簧(10),所述弹簧(10)远离立柱(9)的一端与顶杆(6)凹槽的底部相连接,所述尾杆(8)的外面开设有数量不低于四个的卡接口(11),所述顶杆(6)与尾杆(8)通过立柱(9)与卡接口(11)相连接,所述后地盘(3)上安装有活动杆(12),所述第二托架(5)之间固定安装有弧形板(13),所述弧形板(13)的底部固定安装有角度调节块(14),所述角度调节块(14)的底部活动安装有插接杆(15),所述插接杆(15)的尾端活动安装有可以转动的滑环(16),所述活动杆(12)与滑环(16)为螺纹连接,且活动杆(12)的一端位于插接杆(15)的内部。
2.根据权利要求1所述的一种可调节长度及坡度的布朗架,其特征在于:所述滑环(16)的外壁活动插接有固定杆(17),所述活动杆(12)的表面开设有若干数量的插孔,所述活动杆(12)与滑环(16)通过插孔与固定杆(17)相连接。
3.根据权利要求1所述的一种可调节长度及坡度的布朗架,其特征在于:所述第一托架(4)和第二托架(5)的连接处设置有转轴(18),所述第一托架(4)之间设置有尼龙弹性绳(19),所述第二托架(5)之间设置有尼龙弹性绳(19)。
4.根据权利要求1所述的一种可调节长度及坡度的布朗架,其特征在于:两个所述顶杆(6)的顶部均固定安装有立架(20),顶端活动安装有通过调节螺栓固定的支架(21)。
5.根据权利要求4所述的一种可调节长度及坡度的布朗架,其特征在于:所述立架(20)与支架(21)的顶端均固定安装有滑轮(22)。
CN201920487374.9U 2019-04-11 2019-04-11 一种可调节长度及坡度的布朗架 Expired - Fee Related CN210056383U (zh)

Priority Applications (1)

Application Number Priority Date Filing Date Title
CN201920487374.9U CN210056383U (zh) 2019-04-11 2019-04-11 一种可调节长度及坡度的布朗架

Applications Claiming Priority (1)

Application Number Priority Date Filing Date Title
CN201920487374.9U CN210056383U (zh) 2019-04-11 2019-04-11 一种可调节长度及坡度的布朗架

Publications (1)

Publication Number Publication Date
CN210056383U true CN210056383U (zh) 2020-02-14

Family

ID=69436663

Family Applications (1)

Application Number Title Priority Date Filing Date
CN201920487374.9U Expired - Fee Related CN210056383U (zh) 2019-04-11 2019-04-11 一种可调节长度及坡度的布朗架

Country Status (1)

Country Link
CN (1) CN210056383U (zh)

Cited By (1)

* Cited by examiner, † Cited by third party
Publication number Priority date Publication date Assignee Title
CN111759567A (zh) * 2020-07-20 2020-10-13 陈志湘 一种折叠式布朗式架

Cited By (1)

* Cited by examiner, † Cited by third party
Publication number Priority date Publication date Assignee Title
CN111759567A (zh) * 2020-07-20 2020-10-13 陈志湘 一种折叠式布朗式架

Similar Documents

Publication Publication Date Title
CN206080960U (zh) 一种心理辅导使用专用床
CN207679593U (zh) 一种急诊用可升降式腿部骨折临时固定架
CN109620509A (zh) 一种中医骨科用可折叠固定装置
CN210056383U (zh) 一种可调节长度及坡度的布朗架
CN104905901B (zh) 一种小腿骨折牵引复位架
CN104905923B (zh) 一种下肢康复护理支架
CN206355274U (zh) 一种骨科护理换药装置
CN211301024U (zh) 一种康复护理用辅助器具
CN209679209U (zh) 可调节式手臂支撑装置
CN208741234U (zh) 一种外科用髋关节复位外展固定架
CN207613938U (zh) 神经外科护理用约束带
CN107343819B (zh) 一种具有可折叠额托的眼科检疗辅助托架
CN205569259U (zh) 一种可调节的床头架
CN204601039U (zh) 一种手术中可以托住病人颈部的架子
CN210932449U (zh) 一种便于装卸的肢体固定支架
CN220655751U (zh) 一种医疗骨科用的骨科牵引架
CN208464987U (zh) 一种理疗床
CN207996230U (zh) 一种骨盆骨折外固定架
CN204428390U (zh) 多功能健身康复床
CN219480524U (zh) 一种骨伤科用充气夹板
CN218979648U (zh) 一种辅助脑卒中患者康复的训练装置
CN201042474Y (zh) 儿童专用的负载下可升降调节的勃朗氏牵引架
CN211750875U (zh) 一种用于骨科护理的可调式助行装置
CN205073223U (zh) 一种手术床上托住病人颈部的架子
CN219042866U (zh) 一种创伤骨科术后恢复用腿部支架

Legal Events

Date Code Title Description
GR01 Patent grant
GR01 Patent grant
CF01 Termination of patent right due to non-payment of annual fee
CF01 Termination of patent right due to non-payment of annual fee

Granted publication date: 20200214