CN210049195U - Revetment bank protection module device - Google Patents
Revetment bank protection module device Download PDFInfo
- Publication number
- CN210049195U CN210049195U CN201921848067.5U CN201921848067U CN210049195U CN 210049195 U CN210049195 U CN 210049195U CN 201921848067 U CN201921848067 U CN 201921848067U CN 210049195 U CN210049195 U CN 210049195U
- Authority
- CN
- China
- Prior art keywords
- planting
- slope
- soil
- bank
- main body
- Prior art date
- Legal status (The legal status is an assumption and is not a legal conclusion. Google has not performed a legal analysis and makes no representation as to the accuracy of the status listed.)
- Expired - Fee Related
Links
Images
Landscapes
- Revetment (AREA)
Abstract
本实用新型涉及一种驳岸护坡模块装置,包括坡岸主体,所述坡岸主体内设挡土墙和立柱,所述坡岸主体的坡面上埋设有若干纵向的种植堰,所述种植堰的顶部从坡面露出,相邻种植堰之间的槽形空间为种植槽,所述种植槽呈多级阶梯状分布,所述种植槽内设有种植土,表面为设有透水颗粒层,由铺设在种植土上面的硬质颗粒组成,所述透水颗粒层上设有若干种植筒,所述种植筒的底部敞口,位于种植土内,所述种植筒的顶部敞口,从所述透水颗粒层表面露出,所述种植筒内也设置种植土,所述种植筒内的种植土与位于其下方的种植土连在一起。这种护坡在保证护岸强度的同时,兼顾了生态效应和景观效应。
The utility model relates to a revetment slope protection module device, comprising a slope bank main body, a retaining wall and a column are arranged in the slope bank main body, a plurality of longitudinal planting weirs are buried on the slope surface of the slope bank main body, and the planting weirs are The top of the trough is exposed from the slope surface, and the groove-shaped space between the adjacent planting weirs is a planting trough. The planting trough is distributed in a multi-level ladder shape. The planting trough is provided with planting soil and the surface is provided with a permeable particle layer. It is composed of hard particles laid on the planting soil. The water-permeable particle layer is provided with several planting cylinders. The bottom of the planting cylinder is open and is located in the planting soil. The top of the planting cylinder is open. The surface of the permeable particle layer is exposed, and planting soil is also arranged in the planting cylinder, and the planting soil in the planting cylinder is connected with the planting soil below it. This kind of slope protection not only ensures the strength of the bank protection, but also takes into account the ecological effect and the landscape effect.
Description
技术领域technical field
本实用新型涉及一种驳岸护坡(或称护岸)模块装置,属园林和水利技术领域。The utility model relates to a revetment slope protection (or called bank protection) module device, which belongs to the technical field of garden and water conservancy.
背景技术Background technique
园林及其他各种水体均应有稳定、美观的岸线,并使陆地与水面之间保持一定的比例关系,防止因水岸坍塌而影响水体,因而在水体的边缘修筑驳岸或进行护坡处理。驳岸是一面临水的挡土墙,是支持陆地和防止岸壁坍塌的水工构筑物。驳岸用来维系陆地与水面的界限,使其保持一定的比例关系。驳岸是正面临水的挡土墙,用来支撑墙后的陆地土壤。如果水际边缘不做驳岸处理,就很容易因为水的浮托,冻胀或风浪淘刷而使岸壁坍塌,导致陆地后退,岸线变形,影像园林景观。驳岸能保证水体岸坡不受冲刷。通常水体岸坡受冲刷的程度取决于水面的大小,水位高低。风速及岸土的密实程度等。当这些因素达到一定程度时,如水体岸坡不做工程处理,岸坡将失去稳定,而造成破坏。因而,要沿岸线设计驳岸以保证水体坡岸不受冲刷。驳岸还可以强化岸线的景观层次。驳岸除支撑和防冲刷作用之外,还可以通过不同的形式处理,增加驳岸的变化,丰富水景的立面层次,增强景观的艺术效果。Gardens and other water bodies should have stable and beautiful shorelines, and maintain a certain proportional relationship between the land and the water surface to prevent the water body from being affected by the collapse of the water bank. Therefore, revetments or slope protection should be built at the edge of the water body. The revetment is a retaining wall facing the water, and is a hydraulic structure that supports the land and prevents the collapse of the bank. The revetment is used to maintain the boundary between the land and the water, so that it maintains a certain proportional relationship. A revetment is a retaining wall that is facing water and is used to support the land soil behind the wall. If the water boundary is not treated with revetment, it is easy to collapse the bank wall due to the floating of the water, frost heave or wind and waves, resulting in the retreat of the land, the deformation of the shoreline, and the image of the garden landscape. The revetment can ensure that the bank slope of the water body is not eroded. Usually, the degree of scour on the bank slope of the water body depends on the size of the water surface and the level of the water level. Wind speed and compactness of the shore soil, etc. When these factors reach a certain level, such as the water bank slope without engineering treatment, the bank slope will lose its stability and cause damage. Therefore, the revetment should be designed along the shoreline to ensure that the slope of the water body is not scoured. The revetment can also enhance the landscape level of the shoreline. In addition to supporting and anti-scour, the revetment can also be handled in different forms to increase the changes of the revetment, enrich the façade level of the waterscape, and enhance the artistic effect of the landscape.
随着社会经济的发展,人们的生活水平日益提高,对于美好生活的向往已经不单纯是物质层面,对精神领域的追求日益增强,尤其是对生态环境的要求也越来越高。因此,在环境建设中人们特别重视生态环境的多样性、安全性、观赏性。水是人类赖以生存不可缺少的物质条件,在景观建设中,水景成为满足人们心理需求及实际需要的重要方面。于是,“无水不成景、有景必有水”已经成为营造景观的惯例。水景不仅为我们的居住空间增添了靓丽的色彩,而且能带给人舒适安逸的心情,营造出优美宜人的水景景观。但由于认识上、知识层面上的差异,造成不同形式水景景观的质量参差不齐,而水景景观营建中最重要的便是驳岸形式、类型的处理。只有通过科学、合理、得当的岸线处理方式、方法,才能营造出宜人的亲水空间景观。当前园林建设中驳岸形式主要有自然驳岸和人工驳岸2种形式。自然驳岸是利用草皮、石块、植物造坡等形成自然式缓坡,水岸边种植各种水生植物,岸线上种植灌木及乔木,形成层次群落,提供生物栖息的环境,对滨水区的生态起到修复与维护作用,但这种驳岸的总体稳定性相对较低,受水流冲击和温度影响较大。人工驳岸主要使用钢筋混凝土、山石、石笼、混凝土、块石、生态砖、仿木桩等材料筑坡,根据现场的基础条件选择不同的材料,可以垒砌成规则或者不规则形式,以提高美观程度。但这种驳岸满意适应于人们日益增强的亲近自然的要求,地表土层易受水流冲蚀,也难以截留和保持地表径流夹带的土质和有机物。With the development of society and economy, people's living standards are improving day by day, and the yearning for a better life is not only material, but the pursuit of spiritual fields is increasing, especially the requirements for the ecological environment are getting higher and higher. Therefore, in environmental construction, people pay special attention to the diversity, safety and viewing of the ecological environment. Water is an indispensable material condition for human survival. In landscape construction, waterscape has become an important aspect to meet people's psychological and practical needs. Therefore, "there is no landscape without water, and there must be water when there is a landscape" has become the practice of creating landscapes. Water features not only add beautiful colors to our living space, but also bring people a comfortable and comfortable mood, creating a beautiful and pleasant water landscape. However, due to the differences in understanding and knowledge, the quality of different forms of waterscape landscapes is uneven, and the most important thing in the construction of waterscape landscapes is the treatment of the form and type of revetment. Only through scientific, reasonable and appropriate shoreline processing methods and methods, can a pleasant hydrophilic space landscape be created. At present, there are two main forms of revetment in garden construction: natural revetment and artificial revetment. Natural revetment is a natural gentle slope formed by turf, stones, plants, etc., various aquatic plants are planted on the water bank, and shrubs and trees are planted on the shoreline to form a hierarchical community and provide a habitat for living creatures. The ecology plays a role in restoration and maintenance, but the overall stability of this kind of revetment is relatively low, and it is greatly affected by the impact of water flow and temperature. The artificial revetment mainly uses reinforced concrete, rock, gabion, concrete, block stone, ecological brick, imitation wood pile and other materials to build the slope. Different materials can be selected according to the basic conditions of the site. Aesthetics. However, this kind of revetment satisfies people's increasing requirement to be close to nature. The surface soil layer is easily eroded by water flow, and it is difficult to intercept and maintain the soil and organic matter entrained by surface runoff.
实用新型内容Utility model content
为克服现有技术的上述缺陷,本实用新型提供了一种驳岸护坡模块装置,以在保证护岸强度的同时,兼顾生态效应和景观效应。In order to overcome the above-mentioned defects of the prior art, the utility model provides a revetment and slope protection module device, which can take into account the ecological effect and the landscape effect while ensuring the strength of the bank protection.
本实用新型的技术方案是:一种驳岸护坡模块装置, 包括坡岸主体,所述坡岸主体主要由岸土构成,其特征在于所述坡岸主体内设挡土墙,所述挡土墙位于坡顶和坡面的邻接部位,其上方留有一定厚度的土层,所述坡岸主体的坡面上埋设有若干纵向的种植堰,所述种植堰的顶部从坡面露出,相邻种植堰中的内侧种植堰的顶部高度低于外侧种植堰的顶部高度,相邻种植堰之间的槽形空间为种植槽,所述种植槽呈多级阶梯状分布,所述种植槽内设有种植土,表面为设有透水颗粒层,由铺设在种植土上面的硬质颗粒组成,所述透水颗粒层上设有若干种植筒,所述种植筒的底部敞口,位于种植土内,所述种植筒的顶部敞口,从所述透水颗粒层表面露出,所述种植筒内也设置种植土,所述种植筒内的种植土与位于其下方的种植土连在一起。The technical scheme of the utility model is: a revetment and slope protection module device, comprising a slope bank main body, the slope bank main body is mainly composed of bank soil, and it is characterized in that a retaining wall is arranged in the slope bank main body, and the retaining wall It is located at the adjoining part of the slope top and the slope surface, and there is a certain thickness of soil layer above it. Several longitudinal planting weirs are buried on the slope surface of the main body of the slope bank. The top of the planting weirs is exposed from the slope surface, adjacent to The top height of the inner planting weir in the planting weir is lower than the top height of the outer planting weir, and the trough-shaped space between adjacent planting weirs is a planting trough, and the planting trough is distributed in a multi-level ladder shape. There is planting soil, and the surface is provided with a permeable particle layer, which is composed of hard particles laid on the planting soil. Several planting cylinders are arranged on the permeable particle layer. The top of the planting tube is open and exposed from the surface of the permeable particle layer, and planting soil is also arranged in the planting tube, and the planting soil in the planting tube is connected with the planting soil below it.
所述种植堰位于透水颗粒层表面以下部分的高度优选小于其外侧种植槽内的植物根系的竖向长度,且大于相应透水颗粒层的厚度。The height of the part of the planting weir below the surface of the permeable particle layer is preferably smaller than the vertical length of the plant root system in the planting groove outside of the planting weir, and greater than the thickness of the corresponding permeable particle layer.
所述种植堰的顶部优选呈锯齿形,分布有若干缺口。The top of the planting weir is preferably in a zigzag shape with several notches distributed.
所述护坡主体内优选还埋设有若干立柱,任一所述种植堰的内侧均与多个所述立柱相邻且连接。A plurality of uprights are preferably embedded in the main body of the slope protection, and the inner side of any one of the planting weirs is adjacent to and connected to a plurality of the uprights.
不同的所述立柱之间可以通过横向和/或纵向的连接梁连接。The different columns can be connected by transverse and/or longitudinal connecting beams.
所述挡土墙与邻近的立柱之间可以通过连接梁相互连接。The retaining wall and the adjacent columns can be connected to each other by connecting beams.
所述坡岸主体的坡脚区域优选设置若干石笼。Preferably, several gabions are arranged in the toe area of the main body of the slope bank.
所述石笼在横向上可以为阶梯状的多级分布,最外侧的石笼位于最内侧的立柱的内侧,与相应立柱和岸坡主体相接触。The gabions can be distributed in a stepped multi-level in the lateral direction, and the outermost gabions are located on the inner side of the innermost column and are in contact with the corresponding column and the main body of the bank slope.
最外侧石笼的高度优选不低于与其相接部位的坡岸主体的高度。The height of the outermost gabion is preferably not lower than the height of the main body of the bank at the part where it joins.
位于所述挡土墙内侧的坡岸主体内可以设置一层与岸坡形状相仿的碎石层,所述碎石层的外侧设有一层或者多层拦石网,所述拦石网的外侧固定连接在所述挡土墙上,内侧固定连接在内侧的立柱上和/或外侧的石笼上。A layer of crushed stone layer similar to the shape of the bank slope can be arranged in the main body of the slope bank located on the inner side of the retaining wall, and one or more layers of stone blocking nets are arranged on the outer side of the crushed stone layer. It is fixedly connected to the retaining wall, and the inner side is fixedly connected to the inner column and/or the outer gabion.
所述挡土墙的下面可以设置基桩。Foundation piles may be arranged below the retaining wall.
本实用新型的有益效果是:由于设置了内置挡土墙,能够有效地避免陆地侧土壤(岸土)和地下水的压力以及水体侧的水体压力和冲击力,有效地保证护岸的总体稳定,且不妨碍地面绿化和景观效果;由于设置若干立柱作为护岸的总体框架, 且立柱之间以及立柱与内置挡土墙之间通过纵横设置的水平连接梁连接,形成牢靠的护岸框架,且在该框架的水体侧设有安装在水体地面的多级石笼,由此保证了护岸的整体性和稳定性,立柱的下端可以根据实际地理状况伸入到夯实的素土基础下的一定深度,以形成牢靠的支撑;阶梯形分布的种植槽在种植堰的保护下免受水流冲击,种植槽表面设置的鹅卵石(或碎石或其他形式的大颗粒固体)层能够有效地截留表面径流中的土壤等颗粒物等,并沉积到鹅卵石层内,随着种植槽内的下降水流沉积到种植槽的种植土层上,其中的有机物和其他营养成分能够进一步渗入到种植土层内,不断为种植土层补充营养成分,有利于维持植物的生长;由于种植槽没有底,其中的种植土层与下面的回填土浑为一体,保证了透气和通水效果,是植物的土壤环境基本上不受护岸结构的影响,相对于现有技术下设置独立的花盆或底部设置不透水隔离体,很好地保持了植物生长环境,明显地降低了植物的养护成本,改善植物的生长状态;由于在种植槽内的鹅卵石层内设置了种植筒,筒内设置种植土,种植筒没底,种植筒内的种植土与下方的种植土或回填土浑为一体,有效地避免鹅卵石对植物生长的影响,种植筒的大小和设置密度依据具体种植种植确定,各种植筒可以为相互独立的筒体,也可以多个连为一体,例如,采用网格状或蜂窝状的组合式种植筒;可以依据种植的需要进行种植槽的模块化设计,在工厂加工出若干规格的种植筒和挡水板,现场依据设计要求进行模块化组装,以方便施工,降低建设成本,并通过工业化的制造保证产品质量,提高生产效率;由于在水体底部设置了石笼,且石笼在横向上可以设置为多级,在竖向上可以设置成阶梯状,可以使横向上不同位置的石笼层数不同,由此形成由近岸层向水体中心侧高度逐渐降低的阶梯状,其石笼挡最内侧立柱的内侧,有利于保证护岸的牢固,并有利于减轻或避免水体对护岸土层的冲蚀;由于护岸土质与水体之间除了种植堰和石笼等的局部遮挡外,没有成片的实体隔离,与现有硬质护岸将水体完全隔离的方式相比,不仅有利于消解护岸内外两侧的水体压力差,减少水体压力差及水体压力差变换对护岸的损坏,而且保持了水体内是与周围环境地下水的连通和交换,有利于维持良好的生态环境,有利于水体内水的复氧,改善水体的总体生态状况,减轻或避免水体内污泥的生成和沉积。The beneficial effects of the utility model are: because the built-in retaining wall is arranged, the pressure of the soil (shore soil) and groundwater on the land side and the water body pressure and impact force on the water body side can be effectively avoided, the overall stability of the bank protection can be effectively ensured, and It does not hinder the greening and landscape effect on the ground; since several columns are set as the overall frame of the revetment, and the columns and between the columns and the built-in retaining wall are connected by horizontal connecting beams arranged vertically and horizontally, a solid revetment frame is formed, and in the frame There are multi-stage gabions installed on the ground of the water body on the side of the water body, thus ensuring the integrity and stability of the revetment. Reliable support; the step-shaped planting trough is protected from the impact of the water flow under the protection of the planting weir, and the cobblestone (or crushed stone or other forms of large solids) layer set on the surface of the planting trough can effectively trap the soil in the surface runoff, etc. Particles, etc., are deposited into the cobblestone layer, and deposited on the planting soil layer of the planting tank with the descending water flow in the planting tank. The organic matter and other nutrients in it can further penetrate into the planting soil layer and continuously replenish the planting soil layer. Nutrient components are beneficial to maintain the growth of plants; since the planting trough has no bottom, the planting soil layer is integrated with the backfill soil below, which ensures the effect of ventilation and water flow, and the soil environment of plants is basically not affected by the revetment structure. Influence, compared with the prior art of setting an independent flowerpot or setting an impermeable spacer at the bottom, the plant growth environment is well maintained, the maintenance cost of the plant is obviously reduced, and the growth state of the plant is improved; A planting tube is set in the cobblestone layer, and the planting soil is set in the tube. The size and setting density are determined according to the specific planting and planting. Each planting tube can be independent of each other, or several can be connected as a whole. For example, a grid-shaped or honeycomb-shaped combined planting tube can be used; it can be based on the needs of planting. Carry out the modular design of the planting tank, process several specifications of planting cylinders and baffles in the factory, and carry out modular assembly on site according to the design requirements to facilitate construction and reduce construction costs, and ensure product quality and improve production through industrialized manufacturing. Efficiency; because the gabion is set at the bottom of the water body, and the gabion can be set in multiple stages in the horizontal direction, and can be set in a stepped shape in the vertical direction, so that the number of layers of The height of the bank layer gradually decreases toward the center of the water body. The gabion blocks the inner side of the innermost column, which is conducive to ensuring the firmness of the bank protection and reducing or avoiding the erosion of the bank protection soil layer by the water body. Except for the partial occlusion of planting weirs and stone cages, there is no physical isolation in pieces. Compared with the existing hard revetment to completely isolate the water body, it is not only conducive to eliminating the water pressure difference between the inside and outside of the revetment, reducing the The damage to the revetment caused by the pressure difference of the water body and the change of the pressure difference of the water body, and the connection and exchange between the water body and the surrounding groundwater are maintained, which is beneficial to In order to maintain a good ecological environment, it is conducive to the re-oxygenation of water in the water body, improving the overall ecological status of the water body, and reducing or avoiding the formation and deposition of sludge in the water body.
附图说明Description of drawings
图1是本实用新型的断面结构示意图;Fig. 1 is the cross-sectional structure schematic diagram of the present utility model;
图2是本实用新型的另一种断面结构示意图;Fig. 2 is another kind of sectional structure schematic diagram of the present utility model;
图3是本实用新型的俯视示意图。3 is a schematic top view of the present invention.
具体实施方式Detailed ways
下面结合附图对本实用新型做进一步说明。The present utility model will be further described below in conjunction with the accompanying drawings.
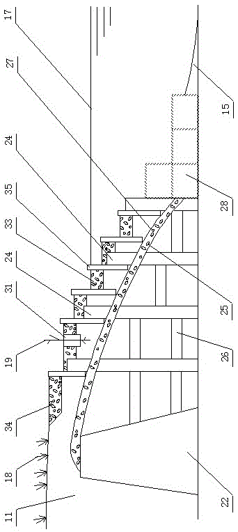
如图1-3,本实用新型提供的驳岸护坡模块装置,包括坡岸主体11,所述坡岸主体主要由岸土构成,内设挡土墙22,所述挡土墙位于坡顶和坡面的邻接部位,其上方留有一定厚度的土层,所述坡岸主体的坡面上埋设有若干纵向的种植堰35,所述种植堰的顶部从坡面露出,相邻种植堰中的内侧种植堰的顶部高度低于外侧种植堰的顶部高度,相邻种植堰之间为种植槽,所述种植槽呈多级阶梯状分布,所述种植槽的表面为透水颗粒层33,由铺设在种植槽表面的硬质颗粒组成,例如,鹅卵石。所述透水颗粒层上设有若干种植筒31,所述种植筒的底部敞口,位于岸土(种植槽内的种植土)内,顶部也敞口,从所述透水颗粒层表面露出,顶端高度可以与透水颗粒层相同或略高,所述种植筒内设置种植土,所述种植筒内的种植土与位于其下方的岸土(种植槽内的种植土)连在一起,用于种植植物19,所述植物品种依据种植槽所处的位置确定,例如,对于长期位于水面17以下的种植槽,可以种植挺水植物,对于位于较深的水下的,可以种植挺水植物,对于有时位于水上、有时位于水下的种植槽,可以种植阳性湿生植物,对于长时间位于水面以上的种植槽,则可以种植相应的中生植物。As shown in Figures 1-3, the revetment and slope protection module device provided by the present utility model includes a
所述种植堰的高度(竖向尺寸)不宜过大,以避免对种植槽的过度隔离,通常应保证位于种植堰下方的土壤依然是适应于植物根系生长的土壤,位于透水颗粒层表面以下部分的高度优选小于相应植物根系(位于其外侧的种植槽的植物根系)的竖向长度,例如,优选不超出相应植物根系的竖向长度的1/2或1/3。同时,所述种植堰的高度优选大于透水颗粒层的厚度,以有效地阻挡透水颗粒层中的颗粒物从其下方穿过,由此,使得种植槽的植物根系能够延伸其他种植槽的下方土壤内,各种植槽内的植物根系相互交叉,保证土壤的整体性。The height (vertical dimension) of the planting weir should not be too large to avoid excessive isolation of the planting trough. Usually, it should be ensured that the soil under the planting weir is still suitable for the growth of plant roots, and is located below the surface of the permeable particle layer. The height is preferably less than the vertical length of the corresponding plant root system (the plant root system of the planting tank located outside it), for example, preferably not more than 1/2 or 1/3 of the vertical length of the corresponding plant root system. At the same time, the height of the planting weir is preferably greater than the thickness of the permeable particle layer, so as to effectively prevent the particulate matter in the permeable particle layer from passing below it, so that the plant root system of the planting trough can extend into the soil below other planting troughs. , The plant roots in each planting tank cross each other to ensure the integrity of the soil.
所述种植堰的顶部可以分布有若干缺口36,例如,呈锯齿形,所述缺口可以为矩形缺口,也可以为半圆形或者三角形缺口等,以便溢流水流出。A number of
所述护坡主体内还埋设有若干立柱24,所述种植堰的内侧与多个(两个或多于两个以上)立柱连接,由此通过立柱保证种植堰位置的稳定性,抵住外侧水和土壤等压力。A number of
可以通过相应固定件将种植堰和立柱的相互固定在一起,也可以采用预制的插接、卡接结构相互连接,和/或通过水泥等固结在一起。The planting weirs and the uprights can be fixed to each other by corresponding fixing parts, or can be connected to each other by a prefabricated plug-in or snap-connection structure, and/or fixed together by cement or the like.
所述立柱的下端延伸长度应保证立柱的稳定牢靠,可以根据实际需要和地理状况等因素确定。The extension length of the lower end of the column should ensure the stability and reliability of the column, which can be determined according to factors such as actual needs and geographical conditions.
不同的所述立柱之间可以通过横向和/或纵向的连接梁26连接,通常可以按行、按列依次连接,形成框架结构,各立柱相互支撑,以提高牢固性。The different columns can be connected by horizontal and/or longitudinal connecting
所述挡土墙与邻近的立柱之间也优先通过连接梁相互连接。The retaining wall and the adjacent columns are also preferably connected to each other by connecting beams.
所述连接梁通常为水平设置,也可以水平面有一定的倾斜,例如,与相应部分的坡面基本平行的倾斜方式。The connecting beams are usually arranged horizontally, and the horizontal plane may also be inclined to a certain extent, for example, in an inclined manner that is substantially parallel to the slope surface of the corresponding part.
所述立柱可以采用石柱,也可以采用经过防腐处理的木桩等,所述连接梁可以采用与所述立柱系统的材料,也可以采用钢筋等。The column can be a stone column or a wood pile that has undergone anti-corrosion treatment, and the connecting beam can be made of the same material as the column system, or steel bars and the like.
所述坡岸主体的坡脚区域可以设置若干石笼28,所述石笼为由拦石网做成的笼状内填充石材,可以采用市售产品,具体规格依据实际需要。
所述石笼可以直接放在的水体的底面15上,水体底面可以依据设计进行构建,也可以直接采用夯实的素土。The gabion can be directly placed on the
横向上,所述石笼可以为多个,形成横向上的多级分布。In the lateral direction, the gabions can be multiple, forming a multi-level distribution in the lateral direction.
最外侧的石笼位于最内侧的立柱的内侧,与相应立柱和岸坡主体(岸土)相接触,形成对立柱和岸坡主体在相应方向上的支撑。The outermost gabion is located on the inner side of the innermost column, and is in contact with the corresponding column and the main body of the bank slope (bank soil), forming a support for the column and the main body of the bank slope in the corresponding direction.
当所述石笼为多级时,可以呈阶梯状,即至少部分相邻石笼中,外侧石笼的层数高于内侧石笼的层数。When the gabions are multi-level, they can be stepped, that is, in at least some adjacent gabions, the number of layers of the outer gabions is higher than the number of layers of the inner gabions.
最外侧石笼的高度(当多层石笼时,指多层的总高度)不低于与其相接部位的坡岸主体的高度。The height of the outermost gabion (in the case of multi-layer gabions, refers to the total height of the multi-layers) shall not be lower than the height of the main body of the slope bank where it joins.
对于强度要求更高的护岸,可以对坡岸主体作进一步的加强,具体为在所述挡土墙内侧的坡岸主体内,设置一层与岸坡形状相仿的碎石层25,所述碎石层由不规则碎石铺设而成,或者由片石铺设而成,以获得更高的强度。铺设方式可以为满铺(覆盖碎石层的全部面积)或者为非满铺(只覆盖碎石层的部分面积),当满铺时,可以为单层铺设(除边缘部位交叉外,碎石间没有明显的叠置)或多层铺设(碎石之间存在明显的叠置)。所述碎石层的外侧设有一层或者多层拦石网27,用拦石网将碎石层过紧,拦石网的外侧固定连接在所述挡土墙上,内侧固定连接在内侧的立柱上和/或外侧的石笼上,穿过拦石网立柱(也穿过碎石层)与所述拦石网固定连接或者无需进行专门连接。For the revetment with higher strength requirements, the main body of the slope bank can be further strengthened, specifically, a layer of
满铺设置多层满铺有利于提高强度,而非满铺则允许植物根系穿过碎石层中的空隙,向下延伸。可以依据实际需要以及植物特点进行铺设方式的选择。Placing multiple layers of full paving is beneficial for strength, while non-full paving allows plant roots to penetrate the gaps in the gravel layer and extend downward. The laying method can be selected according to actual needs and plant characteristics.
所述种植堰可以设置所述碎石层(及所述拦石网)的上面,其下端与所述拦石网或碎石层接触或邻近但略有间距,施工时,可以先设置位于碎石层下方的坡岸主体、挡土墙及立柱和连接梁等,再铺设碎石层和拦石网,再设置种植堰,再在种植堰之间填充适应于种植的土壤,设置种植筒和透水隔离层。The planting weir can be set on the top of the crushed stone layer (and the stone blocking net), and its lower end is in contact with or adjacent to the rock blocking net or the crushed stone layer but with a slight distance. The main body of the sloping bank, retaining walls, columns and connecting beams, etc. below the stone layer, then lay a gravel layer and a stone blocking net, and then set up planting weirs, and then fill the soil between the planting weirs suitable for planting, and set up planting tubes and Water-permeable barrier.
必要时,可以在挡土墙的下面设置基桩23,以提高挡土墙的强度。If necessary, foundation piles 23 can be arranged under the retaining wall to improve the strength of the retaining wall.
坡顶的土壤上可以种植草坪18和植物等,最外层的种植堰的外侧可以设置鹅卵石池34,在地面上挖出一条凹槽,填入鹅卵石,鹅卵石池的池底和四周池壁可以做成不透水结构(例如,采用石材铺设)。可以在所述鹅卵石池内设置喷水设置(例如,小型喷泉设置)和/或水下灯光,形式小型水景观,隔离坡顶草坪与坡面护坡区域,并有利于缓解雨天径流对坡面护坡区域的冲击。
本实用新型公开的各优选和可选的技术手段,除特别说明外及一个优选或可选技术手段为另一技术手段的进一步限定外,均可以任意组合,形成若干不同的技术方案。The preferred and optional technical means disclosed in the present invention can be arbitrarily combined to form several different technical solutions, unless otherwise specified and unless one preferred or optional technical means is further defined as another technical means.
Claims (1)
Priority Applications (1)
| Application Number | Priority Date | Filing Date | Title |
|---|---|---|---|
| CN201921848067.5U CN210049195U (en) | 2019-10-30 | 2019-10-30 | Revetment bank protection module device |
Applications Claiming Priority (1)
| Application Number | Priority Date | Filing Date | Title |
|---|---|---|---|
| CN201921848067.5U CN210049195U (en) | 2019-10-30 | 2019-10-30 | Revetment bank protection module device |
Publications (1)
| Publication Number | Publication Date |
|---|---|
| CN210049195U true CN210049195U (en) | 2020-02-11 |
Family
ID=69399295
Family Applications (1)
| Application Number | Title | Priority Date | Filing Date |
|---|---|---|---|
| CN201921848067.5U Expired - Fee Related CN210049195U (en) | 2019-10-30 | 2019-10-30 | Revetment bank protection module device |
Country Status (1)
| Country | Link |
|---|---|
| CN (1) | CN210049195U (en) |
Cited By (2)
| Publication number | Priority date | Publication date | Assignee | Title |
|---|---|---|---|---|
| CN112681220A (en) * | 2021-01-08 | 2021-04-20 | 福州大学 | Mangrove forest ecological breakwater with stepped drop energy dissipation and working method thereof |
| CN113026659A (en) * | 2021-03-19 | 2021-06-25 | 江苏顺骁工程科技有限公司 | Artificial intelligent wharf quay wall supporting structure and construction method thereof |
-
2019
- 2019-10-30 CN CN201921848067.5U patent/CN210049195U/en not_active Expired - Fee Related
Cited By (2)
| Publication number | Priority date | Publication date | Assignee | Title |
|---|---|---|---|---|
| CN112681220A (en) * | 2021-01-08 | 2021-04-20 | 福州大学 | Mangrove forest ecological breakwater with stepped drop energy dissipation and working method thereof |
| CN113026659A (en) * | 2021-03-19 | 2021-06-25 | 江苏顺骁工程科技有限公司 | Artificial intelligent wharf quay wall supporting structure and construction method thereof |
Similar Documents
| Publication | Publication Date | Title |
|---|---|---|
| CN106192938B (en) | A kind of ecological canal system and construction method for farmland water-break pollution prevention | |
| WO2021082689A1 (en) | Ecological revetment for wandering river improvement | |
| CN103774627B (en) | The construction process of the ecological channel of irrigated area antiseepage type | |
| CN202989856U (en) | Ecological riverway system of hydraulic engineering | |
| CN108442320A (en) | A kind of combined type shore protection and its construction method containing ecological habitat | |
| CN211972073U (en) | An urban ecological river section | |
| CN210049195U (en) | Revetment bank protection module device | |
| CN103510489A (en) | Layered water landscape bank protection system | |
| CN107268520A (en) | A kind of ramped restorative procedure of upright river course slope protection | |
| CN101213925B (en) | Drought resisting method for man-made forest construction and foster | |
| CN108978579A (en) | A kind of river course environment repairs structure and river channel ecology environment restoration method | |
| CN103061310A (en) | Novel ecological habitat revetment | |
| CN217923356U (en) | A gabion gabion revetment structure | |
| CN107585866A (en) | An underwater sand-retaining ridge constructed with porous concrete and a method for intercepting and controlling algae | |
| KR20190083290A (en) | Water-energy reduction type crib in which plant can be planted | |
| CN207987862U (en) | A kind of green ecological bank protection waterfront structure | |
| CN100445470C (en) | A diving groyne system used for shore protection and beneficial to the breeding of various organisms | |
| CN219604268U (en) | Near water area purifies ecological revetment of recreation formula | |
| CN215562318U (en) | Ecological bank protection | |
| CN109629510A (en) | An ecological revetment system and its construction method | |
| KR20200106251A (en) | Ecological case with reinforcing plate | |
| CN212506106U (en) | A stepped ecological revetment structure | |
| CN213328973U (en) | Ecological corridor constructed on hard vertical revetment foundation | |
| CN213358503U (en) | Natural bank slope protective structure based on sponge city idea | |
| CN209260662U (en) | One kind is chimeric to link sash ecological bank protection structure |
Legal Events
| Date | Code | Title | Description |
|---|---|---|---|
| GR01 | Patent grant | ||
| GR01 | Patent grant | ||
| CF01 | Termination of patent right due to non-payment of annual fee | ||
| CF01 | Termination of patent right due to non-payment of annual fee |
Granted publication date: 20200211 |
