CN210037399U - Consolidation-infiltration-shear wave velocity coupling experimental device - Google Patents
Consolidation-infiltration-shear wave velocity coupling experimental device Download PDFInfo
- Publication number
- CN210037399U CN210037399U CN201920332044.2U CN201920332044U CN210037399U CN 210037399 U CN210037399 U CN 210037399U CN 201920332044 U CN201920332044 U CN 201920332044U CN 210037399 U CN210037399 U CN 210037399U
- Authority
- CN
- China
- Prior art keywords
- cover plate
- sample cylinder
- hole
- piston
- plate
- Prior art date
- Legal status (The legal status is an assumption and is not a legal conclusion. Google has not performed a legal analysis and makes no representation as to the accuracy of the status listed.)
- Active
Links
Images
Landscapes
- Investigating Strength Of Materials By Application Of Mechanical Stress (AREA)
- Sampling And Sample Adjustment (AREA)
- Investigation Of Foundation Soil And Reinforcement Of Foundation Soil By Compacting Or Drainage (AREA)
Abstract
本实用新型公开了一种固结‑渗透‑剪切波速耦合实验装置。包括顶盖板、底盖板、试样筒和两个加压活塞机构,试样筒安装有径向弯曲元对,试样筒上下两端连接有顶盖板和底盖板,两个加压活塞机构安装在试样筒内并伸出到试样筒外;加压活塞机构包括活塞板、导流板、透水石、活塞杆和帽体,活塞板置于试样筒内并开有圆形槽,导流板开有导流槽和导流板汇流孔,轴向弯曲元装在导流板和透水石的安装孔中并穿出插入到土样容腔的待测土样中,液压腔的内壁布置有橡胶膜千斤顶,顶盖板和底盖板上均开有两个和液压腔相通的通孔。本实用新型能在一个土体中同时测定径向及轴向上的剪切波速、渗透系数、竖向变形值,进行污染物击穿实验。
The utility model discloses a consolidation-penetration-shear wave velocity coupling experiment device. It includes a top cover plate, a bottom cover plate, a sample cylinder and two pressurizing piston mechanisms. The sample cylinder is installed with a pair of radial bending elements. The upper and lower ends of the sample cylinder are connected with a top cover plate and a bottom cover plate. The press piston mechanism is installed in the sample cylinder and extends out of the sample cylinder; the pressurized piston mechanism includes a piston plate, a deflector, a permeable stone, a piston rod and a cap body, and the piston plate is placed in the sample cylinder and opened with a A circular groove, the guide plate is provided with a guide groove and a confluence hole of the guide plate, and the axial bending element is installed in the installation hole of the guide plate and the permeable stone, and is inserted into the soil sample to be tested in the soil sample cavity. The inner wall of the hydraulic chamber is arranged with a rubber membrane jack, and two through holes communicated with the hydraulic chamber are opened on the top cover plate and the bottom cover plate. The utility model can simultaneously measure the shear wave velocity, the permeability coefficient and the vertical deformation value in the radial direction and the axial direction in a soil body, and carry out the pollutant breakdown experiment.
Description
技术领域technical field
本实用新型属于岩土工程单元体的一种试验装置,具体涉及一种固结-渗透-剪切波速耦合实验装置,能同时测定土样剪切波速、渗透系数、固结压缩系数。The utility model belongs to a test device for a unit body of geotechnical engineering, in particular to a consolidation-penetration-shear wave velocity coupling experimental device, which can simultaneously measure the shear wave velocity, permeability coefficient and consolidation compressibility coefficient of soil samples.
背景技术Background technique
土壤和地下水污染是目前全球面临的一个挑战。在全球范围内,有超过500万个污染场地需要治理。在我国,预计有101万平方公里的土壤污染程度超标,总治理费用达6821亿元。不正规的城市固体废物填埋场是导致上述现状的主要原因之一。我国目前有1600个城市固体废物填埋场,27000个简易填埋场,普遍存在渗滤液泄漏到周围地下水以及土壤中的风险,预计治理费用达216亿元。Soil and groundwater pollution is a current global challenge. Globally, there are more than 5 million contaminated sites that need to be treated. In my country, it is estimated that 1.01 million square kilometers of soil pollution exceeds the standard, and the total treatment cost is 682.1 billion yuan. Informal municipal solid waste landfills are one of the main reasons for the above situation. There are currently 1,600 municipal solid waste landfills and 27,000 simple landfills in my country. There is a common risk of leachate leakage into the surrounding groundwater and soil. The estimated treatment cost is 21.6 billion yuan.
土-膨润土-有机膨润土竖向防污屏障具有低渗透性、高吸附性及良好的化学相容性,可以长期有效地降低渗滤液渗漏的风险,具备广泛应用于工程现场的潜力。但目前还没有学者全方位的评估过该材料在长期被渗滤液渗透条件下的渗透系数、剪切波速、压缩系数的变化。传统的土工三轴仪虽然可以满足上述要求,但是只能测定土单元体上下轴向方向上的剪切波速。The soil-bentonite-organic bentonite vertical antifouling barrier has low permeability, high adsorption and good chemical compatibility, which can effectively reduce the risk of leachate leakage for a long time, and has the potential to be widely used in engineering sites. However, no scholars have comprehensively evaluated the changes of permeability coefficient, shear wave velocity and compressibility coefficient of the material under the condition of long-term permeation by leachate. Although the traditional geotechnical triaxial instrument can meet the above requirements, it can only measure the shear wave velocity in the upper and lower axial directions of the soil unit body.
如何在一个土体中同时测定径向及轴向上的剪切波速、渗透系数、压缩系数,是现有技术缺失的技术问题,是需要解决的技术问题。How to simultaneously measure the shear wave velocity, permeability coefficient, and compressibility coefficient in the radial and axial directions in a soil mass is a technical problem lacking in the prior art, and a technical problem that needs to be solved.
实用新型内容Utility model content
针对背景技术中提出的关键问题,本实用新型提供了一种同时测定土样剪切波速、渗透系数、压缩系数的试验装置,同时对土样进行渗透、固结、测定剪切波速的试验装置,是在土单元体固结应力下能同时测试其径向及轴向上的剪切波速、渗透系数、竖向变形值和污染物击穿曲线的试验装置。In view of the key problems raised in the background technology, the utility model provides a test device for simultaneously measuring the shear wave velocity, permeability coefficient and compressibility coefficient of soil samples, and a test device for simultaneously infiltrating, consolidating and measuring the shear wave speed of soil samples , is a test device that can simultaneously test the radial and axial shear wave velocity, permeability coefficient, vertical deformation value and pollutant breakdown curve under the consolidation stress of the soil unit.
为了实现上述的目的,本实用新型采用了以下的技术方案:In order to achieve the above-mentioned purpose, the utility model adopts the following technical scheme:
本实用新型包括顶盖板、底盖板、试样筒以及两个结构相同且上下对称布置的加压活塞机构,试样筒的中部两侧侧壁对称安装有径向弯曲元对,试样筒的上下两端分别连接有顶盖板和底盖板,上下两个加压活塞机构主体安装在试样筒内部,上下两个加压活塞机构分别贯穿穿过顶盖板和底盖板伸出到试样筒外;上下两个加压活塞机构之间的试样筒内腔构成了土样容腔,待测土样置于土样容腔中。The utility model comprises a top cover plate, a bottom cover plate, a sample cylinder and two pressurizing piston mechanisms with the same structure and symmetrically arranged up and down. The upper and lower ends of the cylinder are respectively connected with a top cover plate and a bottom cover plate. The upper and lower two pressurizing piston mechanism bodies are installed inside the sample cylinder. out of the sample cylinder; the inner cavity of the sample cylinder between the upper and lower pressurizing piston mechanisms constitutes a soil sample cavity, and the soil sample to be tested is placed in the soil sample cavity.
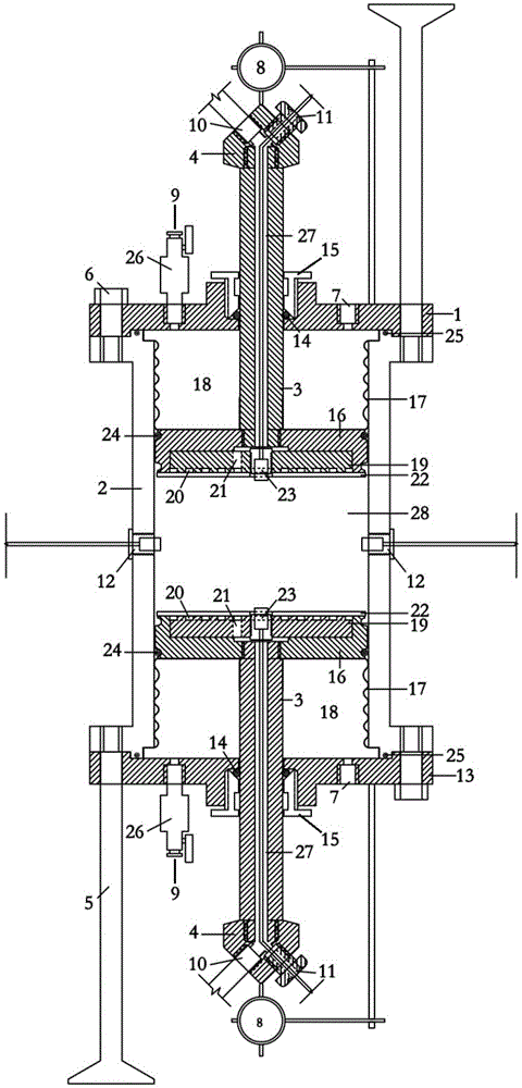
每个加压活塞机构包括活塞板、导流板、透水石、活塞杆和帽体,活塞板置于试样筒内,活塞板外壁与试样筒内壁通过第二O型密闭环配合连接,透水石放置在活塞板靠近试样筒中央的端面处,活塞板在和透水石接触的端面中心开有圆形槽,圆形槽槽底中心开有沉槽,圆形槽中装有导流板,导流板靠近试样筒中心的一端面开有导流槽,且在导流板靠近试样筒中心的端面偏心一侧开设导流板汇流孔,导流槽和导流板汇流孔连通,导流板汇流孔和沉槽连通;导流板和透水石中心均开设用于安装轴向弯曲元的安装孔,轴向弯曲元装在导流板和透水石的安装孔中并穿出安装孔后插入到土样容腔的待测土样中;活塞杆一端通过螺纹连接到活塞板远离试样筒中央的端面中心,活塞杆另一端穿出顶盖板/底盖板后通过螺纹连接帽体,帽体上两侧分别开设出入流孔和弯曲元连接线出口,弯曲元连接线出口处安装弯曲元线塞;活塞杆内部设置轴向的中空通道,中空通道一端连通出入流孔和弯曲元连接线出口,中空通道另一端连通活塞板的沉槽;活塞板和顶盖板/底盖板之间的试样筒内腔空间形成液压腔,液压腔的内壁布置有环形的橡胶膜千斤顶,橡胶膜千斤顶分为外缘密封部分、外圈周面褶皱部分、底面部分和内圈周面部分的四个部分,四个部分依次衔接成一体;外缘密封部分紧贴布置在试样筒外端面和顶盖板/底盖板之间,外圈周面褶皱部分紧贴布置在试样筒内壁,底面部分紧贴布置在活塞板远离试样筒中央的端面上,内圈周面部分过盈配合紧贴套装在活塞杆外;外圈周面褶皱部分具有弹性伸缩性,外缘密封部分、底面部分和内圈周面部分不具有弹性伸缩性,使得活塞板在固结实验和渗透实验进行时移动,带动外圈周面褶皱部分伸长或者收缩,外缘密封部分、底面部分和内圈周面部分保持紧贴各自的表面;顶盖板和底盖板上均开有两个和液压腔相通的通孔,一个通孔作为溢流孔,另一个通孔上安装液压腔阀门,液压腔阀门出口作为液压水入口。Each pressurized piston mechanism includes a piston plate, a deflector, a permeable stone, a piston rod and a cap body. The piston plate is placed in the sample cylinder, and the outer wall of the piston plate is connected with the inner wall of the sample cylinder through a second O-shaped sealing ring. The permeable stone is placed on the end face of the piston plate close to the center of the sample cylinder. The piston plate has a circular groove in the center of the end face in contact with the permeable stone. The bottom center of the circular groove has a sinking groove, and the circular groove is equipped with a diversion. The end face of the deflector near the center of the sample cylinder is provided with a diversion groove, and the eccentric side of the end face of the deflector close to the center of the sample cylinder is provided with a diversion plate confluence hole, a diversion groove and a deflector confluence hole Connected, the confluence hole of the deflector and the sink are connected; the center of the deflector and the permeable stone are provided with installation holes for installing the axial bending element, and the axial bending element is installed in the installation hole of the deflector and the permeable stone and penetrates After exiting the installation hole, insert it into the soil sample to be tested in the soil sample cavity; one end of the piston rod is connected to the center of the end face of the piston plate away from the center of the sample cylinder through threads, and the other end of the piston rod passes through the top cover plate/bottom cover plate and passes through the The cap body is threadedly connected, the inflow and outflow holes and the outlet of the bending element connecting line are respectively provided on both sides of the cap body, and the bending element wire plug is installed at the outlet of the bending element connecting line; an axial hollow channel is arranged inside the piston rod, and one end of the hollow channel is connected to the inflow and outflow. The hole and the outlet of the bending element connecting line, the other end of the hollow channel is connected to the sinking groove of the piston plate; the inner cavity space of the sample cylinder between the piston plate and the top cover plate/bottom cover plate forms a hydraulic chamber, and the inner wall of the hydraulic chamber is arranged with an annular Rubber film jack, rubber film jack is divided into four parts: outer edge sealing part, outer ring peripheral surface wrinkle part, bottom surface part and inner ring peripheral surface part, and the four parts are connected into one in turn; the outer edge sealing part is closely arranged on the Between the outer end face of the sample cylinder and the top cover plate/bottom cover plate, the wrinkled part of the outer ring peripheral surface is closely arranged on the inner wall of the sample cylinder, and the bottom part is closely arranged on the end face of the piston plate away from the center of the sample cylinder, and the inner ring The interference fit of the peripheral surface part is tightly fitted on the outside of the piston rod; the folded part of the peripheral surface of the outer ring has elastic elasticity, and the outer edge sealing part, the bottom surface part and the peripheral surface part of the inner ring do not have elastic elasticity, which makes the piston plate in the consolidation process. When the experiment and penetration experiment are carried out, the movement will drive the folded part of the peripheral surface of the outer ring to extend or shrink, and the sealing part of the outer edge, the bottom surface part and the peripheral surface part of the inner ring remain close to their respective surfaces; the top cover and bottom cover are open. There are two through holes communicating with the hydraulic chamber, one through hole is used as an overflow hole, the other through hole is installed with a hydraulic chamber valve, and the hydraulic chamber valve outlet is used as a hydraulic water inlet.
固结实验时土样容腔的液体透过透水石进入到导流板的各个导流槽,然后汇聚到导流板汇流孔后再经沉槽流通到活塞杆内部的中空通道,最后从出入流孔流出。During the consolidation experiment, the liquid in the soil sample cavity enters each diversion groove of the deflector through the permeable stone, and then converges to the confluence hole of the deflector, and then flows to the hollow channel inside the piston rod through the sink, and finally flows from the inlet and outlet. orifice outflow.
所述的试样筒、加压活塞、导流板、顶盖板、底盖板、螺栓均为不锈钢材质。所述的透水石采用钛合金材质。The sample cylinder, pressurizing piston, deflector, top cover, bottom cover and bolts are all made of stainless steel. The permeable stone is made of titanium alloy.
所述的顶盖板/底盖板开有中心通孔,中心通孔中安装旋塞,旋塞套装在活塞杆上,旋塞和顶盖板/底盖板之间的活塞杆上还套装有第一O型密闭环,旋塞旋紧入中心通孔后将第一O型密闭环压紧在活塞杆和中心通孔之间的间隙处。The top cover plate/bottom cover plate is provided with a central through hole, a cock is installed in the central through hole, the cock is sleeved on the piston rod, and the piston rod between the cock and the top cover plate/bottom cover plate is also sleeved with a first O-shaped sealing ring, the first O-shaped sealing ring is pressed against the gap between the piston rod and the central through hole after the cock is screwed into the central through hole.
所述上下两个加压活塞机构中,帽体在远离试样筒中央的一侧侧方设有百分表,百分表通过支架固定于顶盖板/底盖板,百分表的探头端朝向帽体,百分表测量探头端和帽体之间的距离。In the upper and lower pressurizing piston mechanisms, the cap body is provided with a dial indicator on the side away from the center of the sample cylinder. The dial indicator is fixed on the top cover plate/bottom cover plate through a bracket. With the end facing the cap body, the dial indicator measures the distance between the probe tip and the cap body.
所述的试样筒上下端均设有法兰凸缘,顶盖板和底盖板均通过紧固短螺栓分别安装于试样筒上下端面设置的法兰凸缘,同时通过支架长螺栓使得试样筒固定。The upper and lower ends of the sample tube are provided with flange flanges, and the top cover plate and the bottom cover plate are respectively installed on the flange flanges provided on the upper and lower end faces of the sample tube by fastening short bolts, and at the same time, the long bolts of the bracket make the The sample tube is fixed.
所述的试样筒法兰凸缘和顶盖板/底盖板端面之间设有环形凹槽,环形凹槽中安装有橡胶密封垫圈,且外缘密封部分延伸经过环形凹槽,橡胶密封垫圈位于外缘密封部分顶盖板/底盖板端面之间。There is an annular groove between the flange flange of the sample tube and the end face of the top cover plate/bottom cover plate, a rubber sealing gasket is installed in the annular groove, and the outer edge sealing part extends through the annular groove, and the rubber seal The gasket is located between the top/bottom cover plate ends of the rim seal section.
所述的轴向弯曲元包括弯曲元探头、空心螺栓和连接电线,导流板的安装孔为螺纹孔,透水石的安装孔为通孔,弯曲元探头固定于空心螺栓中,空心螺栓通过螺纹安装在导流板的螺纹孔中,弯曲元探头探测端穿过透水石的通孔后插入到土样容腔的待测土样中,弯曲元探头的输入/输出端经连接电线连接到外部的接收电路,连接电线走线依次经过空心螺栓、沉槽、活塞杆的中空通道后穿入弯曲元连接线出口的弯曲元线塞,从弯曲元线塞贯穿出后连接到外部的接收电路。The axial bending element includes a bending element probe, a hollow bolt and a connecting wire, the installation hole of the deflector is a threaded hole, the installation hole of the permeable stone is a through hole, the bending element probe is fixed in the hollow bolt, and the hollow bolt passes through the thread. It is installed in the threaded hole of the deflector, and the detection end of the bending element probe passes through the through hole of the permeable stone and is inserted into the soil sample to be tested in the soil sample cavity. The input/output end of the bending element probe is connected to the outside through connecting wires. The receiving circuit of the connecting wire passes through the hollow bolt, the sink groove and the hollow channel of the piston rod in sequence, and then penetrates into the bending element wire plug at the outlet of the bending element connecting line, and connects to the external receiving circuit after passing through the bending element wire plug.
还包括渗滤液储存箱、气压调节阀、压力水箱、蠕动泵、入流压力室、出流压力室、废液收集容器、出流流量计和出流取样口;渗滤液储存箱出口连接到压力水箱入口,压力水箱出口经蠕动泵连接到入流压力室入口,入流压力室出口连接到试样筒的入流孔,试样筒的出流孔连接到出流压力室的入口,出流压力室的出口连接到废液收集容器;气源经气压调节阀连接到压力水箱、入流压力室和出流压力室的顶部。Also includes leachate storage tank, air pressure regulating valve, pressure water tank, peristaltic pump, inflow pressure chamber, outflow pressure chamber, waste liquid collection container, outflow flow meter and outflow sampling port; the outlet of the leachate storage tank is connected to the pressure water tank The inlet, the outlet of the pressure water tank is connected to the inlet of the inflow pressure chamber through the peristaltic pump, the outlet of the inflow pressure chamber is connected to the inflow hole of the sample cylinder, the outflow hole of the sample cylinder is connected to the inlet of the outflow pressure chamber, and the outlet of the outflow pressure chamber Connect to the waste liquid collection container; the air source is connected to the top of the pressure water tank, the inflow pressure chamber and the outflow pressure chamber through the air pressure regulating valve.
本实用新型通过加压活塞机构结构及试样筒结构的设计安装使得能够实现固结-渗透-剪切波速耦合实验,即同时实现固结-渗透-剪切波速的测试于同一装置上。The utility model can realize the coupling experiment of consolidation-penetration-shear wave velocity through the design and installation of the pressurizing piston mechanism structure and the sample cylinder structure, that is, the test of consolidation-penetration-shear wave velocity can be simultaneously realized on the same device.
本实用新型进一步配合流量计、孔压计、污染物浓度测试系统、反压饱和常水头系统实现固结-渗透-剪切波速耦合实验。The utility model further cooperates with the flow meter, the porosimeter, the pollutant concentration test system and the back pressure saturated normal head system to realize the coupling experiment of consolidation-penetration-shear wave velocity.
本实用新型通过橡胶膜千斤顶推动加压活塞加压,中空通道排水来实现固结功能。通过嵌入至导流板圆心的轴向弯曲元对及试样筒侧壁的径向弯曲元对来测试土样轴向及径向剪切波速。渗流液体经下中空通道至土样中,最终由上中空通道流出至出入流孔,以实现渗流功能。The utility model realizes the consolidation function through the rubber membrane jack pushing the pressurizing piston to pressurize, and the hollow channel drains the water. The axial and radial shear wave velocities of soil samples are measured by the axial bending element pair embedded in the center of the baffle plate and the radial bending element pair in the side wall of the sample cylinder. The seepage liquid flows into the soil sample through the lower hollow channel, and finally flows out from the upper hollow channel to the inflow and outflow holes to realize the seepage function.
与背景技术相比,本实用新型具有的有益效果是:Compared with the background technology, the utility model has the following beneficial effects:
(1)本实用新型开创性地耦合了在土样中进行的径向及轴向剪切波速测量试验、渗透/污染物击穿试验、固结试验,解决了传统土工三轴实验无法测试土样径向剪切波速的缺陷。(1) The utility model creatively couples the radial and axial shear wave velocity measurement tests, penetration/pollutant breakdown tests, and consolidation tests in soil samples, which solves the problem that the traditional geotechnical triaxial test cannot test the soil Sample Radial Shear Wave Velocity Defects.
(2)本实用新型采用上下加压活塞同时对土样加相同荷载,使得土体上下表面同时向其中部推进相同位移,从而处使得于土体半高位置的弯曲元不会因为土体变形而受到剪切作用。(2) The utility model adopts the upper and lower pressurizing pistons to apply the same load to the soil sample at the same time, so that the upper and lower surfaces of the soil body push the same displacement to the middle at the same time, so that the bending element at the half-height position of the soil body will not be deformed due to the soil body. subject to shearing.
(3)通过将污染物的出流浓度曲线与径向及轴向剪切波速变化曲线相互关联,进而提出利用剪切波速值作为防污屏障污染程度测监测手段。(3) By correlating the outflow concentration curve of pollutants with the radial and axial shear wave velocity change curves, it is proposed to use the shear wave velocity value as a means of measuring and monitoring the pollution degree of the anti-fouling barrier.
(4)本实用新型采用橡胶膜千斤顶加压,其与试样筒之间的摩擦力小,大大减少了轴向荷载的损失。密闭性好,可靠性高。(4) The utility model adopts the rubber membrane jack to pressurize, and the friction force between it and the sample cylinder is small, which greatly reduces the loss of the axial load. Good airtightness and high reliability.
附图说明Description of drawings
图1是本实用新型装置的俯视图示意图。FIG. 1 is a schematic top view of the device of the present invention.
图2是本实用新型装置的1-1剖面示意图。FIG. 2 is a schematic sectional view of 1-1 of the device of the present invention.
图3是本实用新型装置的轴向弯曲元安装处的局部剖面示意图。3 is a partial cross-sectional schematic diagram of the installation of the axial bending element of the device of the present invention.
图4是本实用新型装置的橡胶膜千斤顶局部剖面示意图。4 is a partial cross-sectional schematic diagram of the rubber membrane jack of the device of the present invention.
图5是导流板表面布置示意图。FIG. 5 is a schematic diagram of the surface arrangement of the deflector.
图6是本实用新型实施例示意图。Figure 6 is a schematic diagram of an embodiment of the present invention.
图中:1、顶盖板,2、试样筒,3、活塞杆,4、帽体,5、支架长螺栓,6、紧固短螺栓,7、溢流孔,8、百分表,9、液压水入口,10、出入流孔,11、弯曲元连接线出口,12、径向弯曲元对,13、底盖板,14、第一O型密闭环,15、旋塞,16、活塞板,17、橡胶膜千斤顶,18、液压腔,19、导流板,20、导流槽,21、导流板汇流孔,22、透水石,23、轴向弯曲元对,24、第二O型密闭环,25、橡胶密封垫圈,26、液压腔阀门,27、中空通道,28、土样容腔,29、渗滤液储存箱,30、气压调节阀,31、压力水箱,32、蠕动泵,33、入流压力室,34、入流流量计,35、孔压计,36、出流压力室,37、废液收集容器,38、压力/体变控制器,39、弯曲元测试系统,40、出流流量计,41、出流取样口,42、阀门;17-1、外圈周面褶皱部分,17-2、内圈周面部分,17-3、外缘密封部分,23-1、弯曲元探头,23-2、空心螺栓,23-3、连接电线。In the picture: 1. Top cover plate, 2. Sample cylinder, 3. Piston rod, 4. Cap body, 5. Long bracket bolt, 6. Fastening short bolt, 7. Overflow hole, 8. Dial indicator, 9. Hydraulic water inlet, 10. Inflow and outflow hole, 11. Bending element connecting line outlet, 12. Radial bending element pair, 13. Bottom cover plate, 14. First O-shaped sealing ring, 15. Plug, 16. Piston plate, 17, rubber membrane jack, 18, hydraulic chamber, 19, deflector, 20, deflector groove, 21, deflector confluence hole, 22, permeable stone, 23, pair of axial bending elements, 24, second O-type sealing ring, 25, rubber sealing gasket, 26, hydraulic chamber valve, 27, hollow channel, 28, soil sample chamber, 29, leachate storage tank, 30, air pressure regulating valve, 31, pressure water tank, 32, peristalsis Pump, 33, Inflow pressure chamber, 34, Inflow flowmeter, 35, Pore pressure gauge, 36, Outflow pressure chamber, 37, Waste liquid collection container, 38, Pressure/volume change controller, 39, Bending element test system, 40. Outflow flowmeter, 41, Outflow sampling port, 42, Valve; 17-1, Wrinkled part of outer ring peripheral surface, 17-2, Inner ring peripheral surface part, 17-3, Outer edge sealing part, 23- 1. Bending element probe, 23-2, hollow bolt, 23-3, connecting wire.
具体实施方式Detailed ways
下面结合附图和实施例对本实用新型作进一步说明。The utility model will be further described below in conjunction with the accompanying drawings and embodiments.
在本实用新型中所使用到的专业术语,除非另有说明,一般能被本领域普通技术人员所理解。The technical terms used in the present invention, unless otherwise specified, can generally be understood by those of ordinary skill in the art.
如图1和图2所示,本实用新型具体实施包括顶盖板1、底盖板13、试样筒2以及两个结构相同且上下对称布置的加压活塞机构,试样筒2的中部两侧侧壁对称安装有径向弯曲元对12,试样筒2的上下两端分别连接有顶盖板1和底盖板13,上下两个加压活塞机构主体安装在试样筒2内部,上下两个加压活塞机构分别贯穿穿过顶盖板1和底盖板13伸出到试样筒2外;上下两个加压活塞机构之间的试样筒2内腔构成了土样容腔28,待测土样置于土样容腔28中。As shown in Figures 1 and 2, the specific implementation of the present invention includes a
试样筒2上下端均设有法兰凸缘,顶盖板1和底盖板13均通过紧固短螺栓6分别安装于试样筒2上下端面设置的法兰凸缘,同时通过支架长螺栓5固定整个装置。The upper and lower ends of the
如图2所示,顶盖板1和底盖板13上均开有两个和液压腔18相通的通孔,一个通孔作为溢流孔,另一个通孔上安装液压腔阀门26,液压腔阀门26出口作为液压水入口9。As shown in Figure 2, the
如图2-图3所示,每个加压活塞机构包括活塞板16、导流板19、透水石、22、活塞杆3和帽体4,活塞板16置于试样筒2内,活塞板16外壁和试样筒2内壁之间通过第二O型密闭环24间隙配合,透水石22放置在活塞板16靠近试样筒2中央的端面处,活塞板16在和透水石19接触的端面中心开有圆形槽,圆形槽槽底中心开有沉槽,沉槽和到活塞杆3内部的中空通道27连通,圆形槽中装有导流板19,导流板19靠近试样筒2中心的一端面开有多道同心布置的环形导流槽20,多道导流槽20之间通过径向的一条导流通道连通,且在导流板19靠近试样筒2中心的端面偏心一侧开设导流板汇流孔21,导流槽20和导流板汇流孔21连通,导流板汇流孔21和沉槽连通,如图5所示。As shown in Figures 2-3, each pressurizing piston mechanism includes a
如图2所示,导流板19和透水石22中心均开设用于安装轴向弯曲元23的安装孔,轴向弯曲元23装在导流板19和透水石22的安装孔中并穿出安装孔后插入到土样容腔28的待测土样中;活塞杆3一端通过螺纹密封连接到活塞板16远离试样筒2中央的端面中心,活塞杆3另一端穿出顶盖板1/底盖板13后通过螺纹密封连接帽体4,上加压活塞机构的帽体4为顶帽,下加压活塞机构的帽体4为底帽,帽体4上两侧分别开设出入流孔10和弯曲元连接线出口11,弯曲元连接线出口11处安装弯曲元线塞;活塞杆3内部设置轴向的中空通道27,中空通道27一端连通出入流孔10和弯曲元连接线出口11,中空通道27另一端连通活塞板16的沉槽。As shown in FIG. 2 , the center of the
如图4所示,活塞板16和顶盖板1/底盖板13之间的试样筒2内腔空间形成液压腔18,液压腔18的内壁布置有环形的橡胶膜千斤顶17,橡胶膜千斤顶17分为外缘密封部分17-3、外圈周面褶皱部分17-1、底面部分和内圈周面部分17-2的四个部分,四个部分沿径向依次衔接成一体;外缘密封部分17-3紧贴布置在试样筒2外端面和顶盖板1/底盖板13之间,外圈周面褶皱部分17-1紧贴布置在试样筒2内壁,底面部分紧贴布置在活塞板16远离试样筒2中央的端面上,内圈周面部分17-2过盈配合紧贴套装在活塞杆3外,内圈周面部分17-2紧紧包裹活塞杆3外周面,内圈周面部分17-2内柱面可设有环形凸起以增强和活塞杆3之间接触的密封性;外圈周面褶皱部分17-1具有弹性伸缩性,外缘密封部分17-3、底面部分和内圈周面部分17-2不具有弹性伸缩性,使得活塞板16在固结实验和渗透实验进行时移动,带动外圈周面褶皱部分17-1伸长或者收缩,外缘密封部分17-3、底面部分和内圈周面部分17-2保持紧贴各自的表面橡胶膜千斤顶起到更好的液压保持,防止液压损失的作用。As shown in FIG. 4 , the inner cavity space of the
试样筒2法兰凸缘和顶盖板1/底盖板13端面之间设有环形凹槽,环形凹槽中安装有橡胶密封垫圈25,且外缘密封部分17-3延伸经过环形凹槽,橡胶密封垫圈25位于外缘密封部分17-3顶盖板1/底盖板13端面之间。There is an annular groove between the flange flange of the
顶盖板1/底盖板13开有中心通孔,中心通孔中安装旋塞15,旋塞15套装在活塞杆3上,旋塞15和顶盖板1/底盖板13之间的活塞杆3上还套装有第一O型密闭环14,旋塞15旋紧入中心通孔后将第一O型密闭环14压紧在活塞杆3和中心通孔之间的间隙处,从而实现活塞杆3和顶盖板1/底盖板13之间的密封。旋紧旋塞15即能保证液压腔18内部的密闭度,同时又尽量保持第一O型密闭环14与活塞杆3之间的摩擦力处在较小的范围内。The
现有技术中通常没有如本实用新型橡胶膜千斤顶17的膜结构,施加到液压腔18的液体压力经活塞板16施压至土样容腔28时,会因活塞板16与试样筒2之间过盈配合而产生的过大摩擦力而损失一部分。本实用新型采用橡胶膜千斤顶17后,则活塞板16与试样筒2之间的过盈配合便可替换为间隙配合,液压腔18内部的液压会让橡胶膜千斤顶17的底面部分挤紧活塞板16与试样筒2之间的空隙。仅需拉动橡胶膜千斤顶17的外圈周面褶皱部分17-1,即可实现加压活塞机构在向土体的运动。该设计大大的减少了加压活塞机构向土体运动过程中所产生的摩擦力,进而保持施加到液压腔18的液体压力和施压到土样容腔28的压力基本一致。There is usually no membrane structure like the
如图2所示,固结实验时土样容腔28的液体透过透水石19进入到导流板19的各个导流槽20,然后汇聚到导流板汇流孔21后再经沉槽流通到活塞杆3内部的中空通道27,最后从出入流孔10流出。As shown in FIG. 2 , during the consolidation experiment, the liquid in the
上下两个加压活塞机构中,帽体4在远离试样筒2中央的一侧侧方设有百分表8,百分表8通过支架固定于顶盖板1/底盖板13上,百分表8的探头端朝向帽体4并用于接触连接到帽体4外端部,百分表8测量探头端和帽体4之间的距离,量测待测土样轴向变形值。In the upper and lower pressurizing piston mechanisms, the cap body 4 is provided with a
如图3所示,轴向弯曲元23包括弯曲元探头23-1、空心螺栓23-2和连接电线23-3,导流板19的安装孔为螺纹孔,透水石22的安装孔为通孔,弯曲元探头23-1固定于空心螺栓23-2中,空心螺栓23-2通过螺纹安装在导流板19的螺纹孔中,具体通过缠绕生料带至空心螺栓23-2表面,再拧入至螺纹孔中,弯曲元探头23-1探测端穿过透水石22的通孔后插入到土样容腔28的待测土样中,通过改变空心螺栓23-2的拧入圈数,可调节弯曲元探头23-1伸入到试样筒内待测土样的深度。弯曲元探头23-1的输入/输出端经连接电线23-3连接到外部的电路系统中,连接电线23-3走线依次经过空心螺栓23-2、沉槽、中空通道27后穿入弯曲元连接线出口11的弯曲元线塞,从弯曲元线塞贯穿出后连接到外部的接收电路。As shown in FIG. 3 , the axial bending element 23 includes a bending element probe 23-1, a hollow bolt 23-2 and a connecting wire 23-3, the installation holes of the
空心螺栓23-2采用尼龙顶丝材质制成,弯曲元探头23-1中的弯曲元片采用美国Pizeo system公司生产的标准黄铜增强型压电陶瓷板加工而成,弯曲元片与空心螺栓之间的空隙由AB胶填充。The hollow bolt 23-2 is made of nylon top wire, and the bending element in the bending element probe 23-1 is made of standard brass reinforced piezoelectric ceramic plate produced by American Pizeo system. The bending element and the hollow bolt The gaps between are filled by AB glue.
具体实施中,试样筒2两侧壁的左右弯曲元对的连接线直接引出。试样筒2内腔中的上下弯曲元对的连接线经过中空通道后引出至活塞杆端头弯曲元连接线出口11,弯曲元线塞密封,有效避免渗流液体从此处泄漏。In the specific implementation, the connecting lines of the left and right bending element pairs on the two side walls of the
如图6所示,具体实施还包括渗滤液储存箱29、气压调节阀30、压力水箱31、蠕动泵32、入流压力室33、出流压力室36、废液收集容器37和出流流量计40;渗滤液储存箱29出口连接到压力水箱31入口,压力水箱31出口经蠕动泵32连接到入流压力室33入口,入流压力室33出口连接到下加压活塞机构的入流孔,上加压活塞机构的出流孔连接到出流压力室36的入口,出流压力室36的出口连接到废液收集容器37;气源经气压调节阀30连接到压力水箱31、入流压力室33和出流压力室36的顶部。As shown in FIG. 6 , the specific implementation further includes a
压力/体变控制器38起液压源作用,其连接安装在液压腔阀门26上,弯曲元测试系统39用于采集两对弯曲元的测试数据并进行分析处理获得测试土样中的剪切波速值。The pressure/
具体实施中,入流压力室33和下加压活塞机构的入流孔之间的的管路设置有入流流量计34,上加压活塞机构的出流孔和出流压力室36之间的管路设置有孔压计35、出流流量计40以及出流取样口41,出流压力室36的出口经阀门42后连接到废液收集容器37。渗滤液储存箱29和压力水箱31之间、压力水箱31和蠕动泵32之间、蠕动泵32和入流压力室33之间、入流压力室33和试样筒2之间的管路上均设置有阀门42。In the specific implementation, the pipeline between the
入流压力室33内部连接有从底部入口延伸到内腔上方空间的引导管,在入流压力室33的底座平台上固定粘接有PVC材质的套筒,引导管出口位于套筒上表面正上方,引导管出流液体滴入套筒中直至套筒内被入流液体溢满,套筒上表面即为入流水头。出流压力室36内部连接有从底部入口延伸到内腔上方空间的引导管,引导管排出出流液体,其出口即为出流水头。入流水头和出流水头之间的高度差形成渗透/污染物击穿实验所需的常水头差。The
本实用新型的具体实施过程如下:The specific implementation process of the present utility model is as follows:
A、固结技术方案过程:A. Consolidation technical solution process:
1)加压方案1) Pressurization scheme
将待测土体装入土样容腔28,一般先安装下方的加压活塞机构、透水石22及滤纸,装入待测土体后再安装透水石22、滤纸及上方的加压活塞机构。Load the soil to be tested into the
无气水从压力/体变控制器38输出,经过上下加压活塞机构的两个液压腔阀门26后进入到液压腔18内,多余液体通过溢流孔7溢出,保证液压腔18内充满液体没有气体。The airless water is output from the pressure/
提高输入的无气水的液压至所需的固结压力,通过上下橡胶膜千斤顶17同时向上下活塞板16施加压力,使得贴在试样筒2内壁上的成褶皱状的橡皮膜17-1被拉动,推动加压活塞,进而向土样容腔28内的待测土体施加轴压。这样能可以大大减少加压过程中的压力损失,解决了加压过程中的压力容易损失的技术问题。Increase the hydraulic pressure of the input airless water to the required consolidation pressure, and simultaneously apply pressure to the upper and
活塞板16与试样筒2之间为间隙配合,两者之间的紧密贴合由橡胶膜千斤顶17提供——橡胶膜千斤顶内部的液压会让橡胶膜千斤顶17的底面部分挤紧活塞板16与试样筒2之间的空隙,有效防止了土样被挤压后入涌到活塞板16以上。活塞板16在向土样推动时,仅需拉动橡胶膜千斤顶17的外圈周面褶皱部分17-1,有效的避免了活塞板16与试样筒2内壁之间的滑动摩擦,大大的减少了加压活塞机构向土样运动过程中所产生的摩擦力。There is a clearance fit between the
2)排水方案2) Drainage scheme
待测土体在固结压力下排水,上下表面的水先后经过透水石22,然后经导流板19表面的导流槽20导流,汇集流入到导流板汇流孔21内,再流经圆形槽槽底中心的沉槽、活塞杆3内部的中空通道27,最终流至活塞杆3端部的出入流孔10,并通过快拧接口出流到外部管路系统中。The soil to be tested is drained under the consolidation pressure, and the water on the upper and lower surfaces passes through the
B、渗透技术方案过程:B. The process of penetration technology scheme:
1)导水方案。1) Water guide scheme.
一方面,无气水从压力/体变控制器38输出,同时经过顶盖板1和底盖板13的两个液压腔阀门26后到液压腔18内,多余液体通过溢流孔7溢出,使得液压腔18充满一定压力。On the one hand, the airless water is output from the pressure/
渗流液体从入流孔进入,分别经过下加压活塞机构中活塞杆3内部的中空通道27、导流板汇流孔21、导流板16表面的导流槽20、透水石22后到待测土样内,再经上加压活塞机构中透水石22、导流板16表面的导流槽20、导流板汇流孔21、活塞杆3内部的中空通道27后,从出流孔最终流出。The seepage liquid enters from the inflow hole, passes through the
2)饱和方案。2) Saturation scheme.
为了保证测得的是饱和土样的渗透系数,入流压力室33和出流压力室36分别施加压力(这部分压力也称反压)到入流和出流渗流液体上,使得土样中的气体溶解于水后排出,从而实现土样饱和。In order to ensure that the permeability coefficient of the saturated soil sample is measured, the
3)污染物击穿曲线测定方案。3) Determination scheme of pollutant breakdown curve.
上加压活塞机构的出流孔和出流压力室36之间设置有出流取样口41,即可在污染物开始渗透后每隔一段时间在出流管路中取得污染液出流样品。An
测定出流样品中的污染物浓度,即得所研究的污染物的击穿曲线。The contaminant concentration in the effluent sample is determined to obtain the breakdown curve of the contaminant under study.
C、剪切波速测试技术方案过程如下:C. The process of the shear wave velocity test technical scheme is as follows:
1)将制作好的弯曲元对直接拧入试样筒筒外壁半高处两侧所开的两个内螺纹孔,进而测试其所在高度范围内水平径向上待测土样的剪切波速。1) Screw the fabricated bending element pair directly into the two internally threaded holes on both sides of the outer wall of the sample cylinder at half height, and then test the shear wave velocity of the soil sample to be tested in the horizontal radial direction within its height range.
2)将弯曲元对拧入上下导流板圆心位置处的内螺纹孔,以测试待测土体上下轴向方向上的剪切波速。2) Screw the bending element pair into the inner threaded hole at the center of the upper and lower deflectors to test the shear wave velocity in the upper and lower axial directions of the soil to be tested.
通过这些实验结果,可以获得(1)竖向防污屏障某深度处土单元体在其自重固结应力下被渗滤液长期渗透下的渗透系数、竖向变形值变化,以及对相应污染物的阻滞因子,全方面评估了土-有机膨润土在城市固体废物填埋场中的长期服役性能。(2)关联径向及轴向上的剪切波速与污染出流浓度,提出利用剪切波速值作为防污屏障污染程度测监测手段。Through these experimental results, we can obtain (1) the permeability coefficient and vertical deformation value changes of the soil unit body at a certain depth of the vertical anti-fouling barrier under its self-weight consolidation stress under the long-term infiltration of the leachate, as well as the changes in the corresponding pollutants. retardation factor, which comprehensively evaluates the long-term service performance of soil-organic bentonite in municipal solid waste landfills. (2) Correlating the shear wave velocity in the radial and axial directions and the pollution outflow concentration, it is proposed to use the shear wave velocity value as a measure and monitoring method for the pollution degree of the anti-fouling barrier.
本实用新型实施例如下:Embodiments of the present utility model are as follows:
土-膨润土-有机膨润土由一定比例的内蒙古高庙子膨润土、深圳光明新区建筑渣土、天津双瑞有机膨润土有限公司生产的YS2001有机膨润土及去离子水拌和而成。垃圾填埋场渗滤液取自杭州天子岭垃圾填埋场老龄渗滤液(下文简称渗滤液)。Soil-bentonite-organic bentonite is made by mixing a certain proportion of Gaomiaozi bentonite in Inner Mongolia, construction waste in Shenzhen Guangming New District, YS2001 organic bentonite produced by Tianjin Shuangrui Organic Bentonite Co., Ltd. and deionized water. The landfill leachate was obtained from the aged leachate of the Tianziling Landfill in Hangzhou (hereinafter referred to as leachate).
在刚性固结排水筒中施加轴压Pe(竖向防污屏障某深度处土单元体的自重有效应力大小)至所拌和好的土-膨润土-有机膨润土上并排水。取出预固结后土样,将其切削成10cm高10cm直径的土柱,放入到本实用新型中。Axial pressure Pe (the effective stress of the soil unit at a certain depth of the vertical antifouling barrier) is applied to the mixed soil-bentonite-organic bentonite in the rigid consolidation drainage cylinder and drained. Take out the soil sample after pre-consolidation, cut it into a soil column with a height of 10cm and a diameter of 10cm, and put it into the utility model.
按照图6将各部件连接好。通去离子水到液压腔18内,直到水溢出溢流孔7,此时再换压力/体变控制器38继续通去离子水到液压腔18内,直到水充满管路,再次溢流出溢流孔7,关闭溢流孔7,将压力/体变控制器38的体变值归零。将取回来的渗滤液装入渗滤液储存箱29中,利用高度水头将其中的10升渗滤液通入压力水箱31中。Connect the components according to Figure 6. Pass the deionized water into the
关闭压力水箱31的入流阀门。由气压调节阀30施加P1大小的气压至压力水箱31、入流压力室33、出流压力室36中。开启蠕动泵32,打开压力水箱的出流阀门和入流压力室的入流阀门,使得压力水箱31中的渗滤液入流至压力室33内部的引导管,并流入内套筒直至溢出。打开入流压力室33的出流阀门,使得液压为P1大小的渗滤液通过入流孔进入到待测土样中,并同时施加P2(P2=P1+Pe)大小的轴压至土样28上。关闭入流压力室33的出流阀门及出流压力室36的入流阀门,将轴压提高20kpa,测定孔压计35变化值,进而根据提高的轴压值以及孔隙水压力变化值测定待测土样的Skempton B值。Close the inflow valve of the
然后再把轴压降回P2,并打开入流压力室33的出流阀门及出流压力室36的入流阀门。若Skempton B值达不到0.95。则同时提高反压P1与轴压P250kpa,并继续按照上述步骤测定同时提高反压P1与轴压P2后待测土样的Skempton B值,以此进行下去,直到Skempton B值≥0.95。则可认为土样已经饱和,并正在进行常水头下的渗滤液击穿实验。The axial pressure is then dropped back to P 2 , and the outflow valve of the
(A)获取土-有机膨润土在渗滤液长期渗透下各类污染物的击穿曲线(A) The breakdown curves of various pollutants obtained under the long-term permeation of leachate by soil-organic bentonite
在土体饱和后的0h,2h,4h,8h,16h,24h,2d,3d,4d,…10d,12d,14d,…30d,35d,40d,…60d时于出流取样口41处收集出流试样至小试剂瓶中。并测定试样中各类污染物浓度,绘制污染物击穿曲线,反推各类污染物的Rd值、DL值。评估土-膨润土-有机土膨润土对于各类污染物的阻滞性能。After the soil is saturated at 0h, 2h, 4h, 8h, 16h, 24h, 2d, 3d, 4d,…10d, 12d, 14d,…30d, 35d, 40d,…60d, it is collected at the
(B)获取土-有机膨润土在渗滤液长期渗透下渗透系数的变化曲线(B) The change curve of the permeability coefficient of the obtained soil-organic bentonite under the long-term infiltration of the leachate
待入流流量计34与出流流量计40读数稳定后,且入流流量值与出流流量值之比在0.75~1.25之间时,开始测定渗透系数(K)值,K=Q/(A·i)。取入流与出流的平均流量值算得不考虑起始水力梯度的渗透系数值。测得1d,2d,3d,…10d,12d,14d,…30d,35d,40d,…60d的渗透系数值。渗透系数随时间变化曲线可以用来分析新型土-膨润土-有机膨润土的长期服役性能。若K值随时间降低明显,表明新型土-膨润土-有机膨润土的化学兼容性差。After the readings of the
(C)获取土-有机膨润土在渗滤液长期渗透下径向、轴向剪切波速的变化曲线(C) Variations of radial and axial shear wave velocities of soil-organic bentonite under long-term leachate infiltration
将径向弯曲元对12与轴向弯曲元对23的连接线连接至弯曲元测试系统39。在土体饱和后的0h,2h,4h,8h,16h,24h,2d,3d,4d,…10d,12d,14d,…30d,35d,40d,…60d读取剪切波速值,并绘制轴向剪切波速与径向剪切波速的时间变化曲线。将污染物的击穿曲线与轴向剪切波速及径向剪切波速变化曲线关联起来,探究轴向剪切波速值及径向剪切波速值作为防渗帷幕中污染物出流浓度监测手段的可能性。The connecting line of the radial
(D)土体变形值测定(D) Determination of soil deformation value
以土体刚饱和时为初始位置,将此刻百分表的读数归零。此后将上下端百分表值相加得到土体5d,10d,20d,30d,…60d分别对应的竖向变形值。并与压力/体变控制器38显示的体变值所推导出的变形值进行对比校核。得到的变形值可以评估土-膨润土-有机膨润土的膨胀性、化学兼容性。Take the initial position when the soil is just saturated, and reset the reading of the dial indicator to zero. After that, add the upper and lower dial indicator values to obtain the vertical deformation values corresponding to soil 5d, 10d, 20d, 30d, ... 60d respectively. The deformation value derived from the body deformation value displayed by the pressure/
上述结合附图和具体实施例是为了进一步解释说明本实用新型。但应注意的是,此举并非对本实用新型进行限制。在本实用新型的精神和权利要求的保护范围内,对本实用新型作出的任何修改和改变,都落入本实用新型的保护范围。The above is to further explain the present utility model in conjunction with the accompanying drawings and specific embodiments. However, it should be noted that this does not limit the present invention. Within the spirit of the present invention and the protection scope of the claims, any modifications and changes made to the present invention fall into the protection scope of the present invention.
Claims (8)
Priority Applications (1)
| Application Number | Priority Date | Filing Date | Title |
|---|---|---|---|
| CN201920332044.2U CN210037399U (en) | 2019-03-15 | 2019-03-15 | Consolidation-infiltration-shear wave velocity coupling experimental device |
Applications Claiming Priority (1)
| Application Number | Priority Date | Filing Date | Title |
|---|---|---|---|
| CN201920332044.2U CN210037399U (en) | 2019-03-15 | 2019-03-15 | Consolidation-infiltration-shear wave velocity coupling experimental device |
Publications (1)
| Publication Number | Publication Date |
|---|---|
| CN210037399U true CN210037399U (en) | 2020-02-07 |
Family
ID=69354990
Family Applications (1)
| Application Number | Title | Priority Date | Filing Date |
|---|---|---|---|
| CN201920332044.2U Active CN210037399U (en) | 2019-03-15 | 2019-03-15 | Consolidation-infiltration-shear wave velocity coupling experimental device |
Country Status (1)
| Country | Link |
|---|---|
| CN (1) | CN210037399U (en) |
Cited By (2)
| Publication number | Priority date | Publication date | Assignee | Title |
|---|---|---|---|---|
| CN109959553A (en) * | 2019-03-15 | 2019-07-02 | 浙江大学 | Consolidation-Infiltration-Shear Wave Velocity Coupling Experimental Device |
| CN115343167A (en) * | 2022-10-18 | 2022-11-15 | 湖南大学 | Soil body occurrence state evolution test device under geological and stress history coupling effect |
-
2019
- 2019-03-15 CN CN201920332044.2U patent/CN210037399U/en active Active
Cited By (3)
| Publication number | Priority date | Publication date | Assignee | Title |
|---|---|---|---|---|
| CN109959553A (en) * | 2019-03-15 | 2019-07-02 | 浙江大学 | Consolidation-Infiltration-Shear Wave Velocity Coupling Experimental Device |
| CN115343167A (en) * | 2022-10-18 | 2022-11-15 | 湖南大学 | Soil body occurrence state evolution test device under geological and stress history coupling effect |
| CN115343167B (en) * | 2022-10-18 | 2023-02-14 | 湖南大学 | Soil body occurrence state evolution test device under geological and stress history coupling effect |
Similar Documents
| Publication | Publication Date | Title |
|---|---|---|
| CN109959553B (en) | Consolidation-penetration-shear wave velocity coupling experimental device | |
| CN106092853B (en) | A kind of sunken consolidation infiltration simultaneous determination instrument of soil mass water-air humidity | |
| CN204461965U (en) | Adding pressure type rock permeability instrument | |
| CN105486840B (en) | A kind of consolidation infiltration Collaborative experiment device | |
| CN109342150B (en) | Test device and method for gas-containing soil sample consolidation test and permeation test | |
| CN201130143Y (en) | Porous medium material permeability coefficient determinator | |
| CN107941604B (en) | Consolidation test device and test method for gas-containing soil | |
| CN101504354B (en) | A penetration deformation test device for landfill liner anti-seepage material | |
| CN201716256U (en) | Soil mass permeability testing device | |
| CN201716254U (en) | Concrete permeability testing device | |
| CN103808643B (en) | Vertical seepage tests method under soil body one-dimensional consolidation condition | |
| CN208140705U (en) | It is a kind of can automatic collection pore pressure permeability consolidometer | |
| CN202956329U (en) | Indoor grouting test device under simulated complex stress | |
| CN101358916A (en) | Concrete Permeameter Under Load | |
| CN110296889B (en) | Pressure chamber for large freeze-thawing cycle triaxial test of coarse-grained soil and test method thereof | |
| CN109060543B (en) | Device for directly measuring the embedded amount of rubber film in triaxial test and its measuring method | |
| CN109520909B (en) | Concrete impermeability test device | |
| CN210037399U (en) | Consolidation-infiltration-shear wave velocity coupling experimental device | |
| CN103792175A (en) | Unsaturated rock-earth mass constant head reverse penetration testing method | |
| CN204255812U (en) | The device for testing permeability coefficient of original state coarse-grained soil | |
| CN114324104A (en) | Cement concrete coefficient of permeability test experimental apparatus | |
| CN1841042A (en) | Soil Infiltration Meter | |
| CN110514533B (en) | Triaxial device suitable for testing mechanical properties of soil body under water circulation permeation effect and application method | |
| CN210604037U (en) | Environment detection sampler | |
| CN203365432U (en) | Soil-water characteristic curve testing instrument applicable to special coarse-grained soil |
Legal Events
| Date | Code | Title | Description |
|---|---|---|---|
| GR01 | Patent grant | ||
| GR01 | Patent grant |
