CN209997291U - 一种震动式便于分离污水杂物的污水处理装置 - Google Patents
一种震动式便于分离污水杂物的污水处理装置 Download PDFInfo
- Publication number
- CN209997291U CN209997291U CN201920740045.0U CN201920740045U CN209997291U CN 209997291 U CN209997291 U CN 209997291U CN 201920740045 U CN201920740045 U CN 201920740045U CN 209997291 U CN209997291 U CN 209997291U
- Authority
- CN
- China
- Prior art keywords
- case
- riser
- slide bar
- sewage
- handle
- Prior art date
- Legal status (The legal status is an assumption and is not a legal conclusion. Google has not performed a legal analysis and makes no representation as to the accuracy of the status listed.)
- Expired - Fee Related
Links
- 239000010865 sewage Substances 0.000 title claims abstract description 42
- 230000007246 mechanism Effects 0.000 claims abstract description 7
- 230000007704 transition Effects 0.000 claims description 21
- 239000012535 impurity Substances 0.000 claims description 12
- 230000001360 synchronised effect Effects 0.000 claims description 2
- 230000000694 effects Effects 0.000 abstract description 2
- 230000005484 gravity Effects 0.000 abstract description 2
- 239000011148 porous material Substances 0.000 description 4
- XLYOFNOQVPJJNP-UHFFFAOYSA-N water Substances O XLYOFNOQVPJJNP-UHFFFAOYSA-N 0.000 description 4
- 238000004140 cleaning Methods 0.000 description 2
- 230000009286 beneficial effect Effects 0.000 description 1
- 230000008859 change Effects 0.000 description 1
- 238000000034 method Methods 0.000 description 1
- 230000008569 process Effects 0.000 description 1
- 238000000926 separation method Methods 0.000 description 1
Images
Landscapes
- Filtration Of Liquid (AREA)
- Water Treatment By Electricity Or Magnetism (AREA)
Abstract
本实用新型公开了一种震动式便于分离污水杂物的污水处理装置,包括处理箱,所述处理箱内竖直设有竖板,所述竖板的右侧从上之下等间距固定连接有三个倾斜设置的分离组件,所述分离组件包括两个边板和固定连接在两个边板、竖板内侧的过滤网,从上之下设置的三个所述分离组件中过滤网的孔径依次减小,所述竖板的左侧中部固定连接有左滑动杆,所述处理箱贯穿有与左滑动杆滑动连接的左直线轴承,所述处理箱在左滑动杆远离竖板的一端设有震动机构。本装置可连续对污水中的杂物进行分离与分类,便于后期对杂物的处理,另外由于杂物可在自身重力的作用下逐渐移动、离开处理箱,使得本装置具有可持续作业性。
Description
技术领域
本实用新型涉及污水处理技术领域,尤其涉及一种震动式便于分离污水杂物的污水处理装置。
背景技术
生活污水是居民日常生活中排出的废水,主要来源于居住建筑和公共建筑,如住宅、机关、学校、医院、商店、公共场所及工业企业卫生间等。现有技术中的污水处理装置在对污水中的杂物进行分离时,直接使用孔径最小的过滤网/板将杂物拦截,一方面对过滤网/板造成的压力较大,不利于对杂物进行分类处理,另一方面当过滤网/板积攒一定量的杂物后,便要倒出清理,清理过程需要不少时间,不能持续进行杂物分离。
实用新型内容
本实用新型的目的是为了解决背景技术中提出的问题,而提出的一种震动式便于分离污水杂物的污水处理装置。
为了实现上述目的,本实用新型采用了如下技术方案:
一种震动式便于分离污水杂物的污水处理装置,包括处理箱,所述处理箱内竖直设有竖板,所述竖板的右侧从上之下等间距固定连接有三个倾斜设置的分离组件,所述分离组件包括两个边板和固定连接在两个边板、竖板内侧的过滤网,从上之下设置的三个所述分离组件中过滤网的孔径依次减小,所述竖板的左侧中部固定连接有左滑动杆,所述处理箱贯穿有与左滑动杆滑动连接的左直线轴承,所述处理箱在左滑动杆远离竖板的一端设有震动机构,所述边板远离竖板的一端固定连接有右滑动杆,所述处理箱贯穿有与右滑动杆滑动连接的右直线轴承,所述处理箱的右侧内壁均固定有与分离组件倾斜角度相同的过渡孔板,所述处理箱的右侧内壁且在过渡孔板的上端开设有流出口,所述处理箱的上端开设有喂入口,所述处理箱的下端外壁连通有带有阀门的出水管。
优选的,所述震动机构包括固定连接在处理箱左侧的横板,所述横板的上端固定连接有立杆,所述立杆的上端转动连接有转轴,所述转轴远离立杆的一端固定连接有圆盘,所述圆盘远离转轴的一侧且在偏心处转动连接有连杆,所述连杆远离圆盘的一端与左滑动杆转动连接,所述横板的上端固定安装有旋转电机,所述旋转电机与转轴通过带传动。
优选的,所述喂入口的形状大小小于过滤网的形状大小。
优选的,所述过渡孔板的上表面经抛光处理。
优选的,所述旋转电机输出轴的外壁与转轴的外壁均固定套接有带轮,所述带轮的外壁张紧有同步带。
优选的,所述旋转电机采用Z2-52直流电动机。
与现有的技术相比,本震动式便于分离污水杂物的污水处理装置的优点在于:
本装置可连续对污水中的杂物进行分离与分类,便于后期对杂物的处理,另外由于杂物可在自身重力的作用下逐渐移动、离开处理箱,使得本装置具有可持续作业性。
附图说明
图1为本实用新型提出的一种震动式便于分离污水杂物的污水处理装置正面的结构透视图;
图2为本实用新型提出的一种震动式便于分离污水杂物的污水处理装置分离组件部分俯视的结构示意图。
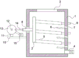
图中:1处理箱、2竖板、3喂入口、4出水管、5分离组件、51边板、52过滤网、6过渡孔板、7流出口、8左滑动杆、9右滑动杆、10横板、11立杆、12转轴、13圆盘、14连杆、15旋转电机。
具体实施方式
下面将结合本实用新型实施例中的附图,对本实用新型实施例中的技术方案进行清楚、完整地描述,显然,所描述的实施例仅仅是本实用新型一部分实施例,而不是全部的实施例。
在本实用新型的描述中,需要理解的是,术语“上”、“下”、“前”、“后”、“左”、“右”、“顶”、“底”、“内”、 “外”等指示的方位或位置关系为基于附图所示的方位或位置关系,仅是为了便于描述本实用新型和简化描述,而不是指示或暗示所指的装置或元件必须具有特定的方位、以特定的方位构造和操作,因此不能理解为对本实用新型的限制。
参照图1-2,一种震动式便于分离污水杂物的污水处理装置,包括处理箱1,处理箱1内竖直设有竖板2,竖板2的右侧从上之下等间距固定连接有三个倾斜设置的分离组件5,分离组件5与竖板2的倾斜角度一定,可维持在80°以上、90°以下,保证杂物在移动结束后,污水便可通过下过滤网52的网孔、过渡孔板6流出汇聚在处理箱1的内底部,分离组件5包括两个边板51和固定连接在两个边板51、竖板2内侧的过滤网52,从上之下设置的三个分离组件5中过滤网52的孔径依次减小,竖板2的左侧中部固定连接有左滑动杆8,处理箱1贯穿有与左滑动杆8滑动连接的左直线轴承,处理箱1在左滑动杆8远离竖板2的一端设有震动机构,边板51远离竖板2的一端固定连接有右滑动杆9,处理箱1贯穿有与右滑动杆9滑动连接的右直线轴承,处理箱1的右侧内壁均固定有与分离组件5倾斜角度相同的过渡孔板6,处理箱1的右侧内壁且在过渡孔板6的上端开设有流出口7,处理箱1的上端开设有喂入口3,处理箱1的下端外壁连通有带有阀门的出水管4。
震动机构包括固定连接在处理箱1左侧的横板10,横板10的上端固定连接有立杆11,立杆11的上端转动连接有转轴12,转轴12远离立杆11的一端固定连接有圆盘13,圆盘13远离转轴12的一侧且在偏心处转动连接有连杆14,连杆14远离圆盘13的一端与左滑动杆8转动连接,横板10的上端固定安装有旋转电机15,具体的,旋转电机15采用Z2-52直流电动机,旋转电机15与转轴12通过带传动,具体的,旋转电机15输出轴的外壁与转轴12的外壁均固定套接有带轮,带轮的外壁张紧有同步带。
喂入口3的形状大小小于过滤网52的形状大小,方便喂入。
过渡孔板6的上表面经抛光处理,降低杂物与过渡孔板6之间的摩擦力,提高杂物的滑出效率。
进一步说明,上述固定连接,除非另有明确的规定和限定,否则应做广义理解,例如,可以是焊接,也可以是胶合,或者一体成型设置等本领域技术人员熟知的惯用手段。
在使用本装置时,持续不断地通过喂入口3向位于最上端分离组件5中的过滤网52的上端,与此同时,旋转电机15通过带传动将转矩传递给转轴12,转轴12带动圆盘13转动,圆盘13进而通过连杆14带动左滑动杆8作往复直线滑动,右滑动杆9在右直线轴承内作往复直线滑动,圆盘12、连杆14和左滑动杆8共同构成机械中的曲柄滑块机构,由于曲柄滑块机构具有急回特性,因此竖板2和多个分离组件5则会产生水平方向、循环往复、不等速的震动现象,并且由于分离组件5倾斜设置,则杂物在震动环境下发生筛分,即杂物会落至其无法通过网孔的过滤网52的上端,并因自身重力逐渐向右移动,直至落至过渡孔板6上端,再次因自身重力通过流出口7流出,在每个流出口7的对应位置上设置对应的收集装置,污水在此过程中,通过过滤网52中的网孔与过渡孔板6流出,汇聚在处理箱1的内底部,可打开阀门并通过出水管4收集;综上,本装置可连续对污水中的杂物进行分离与分类,便于后期对杂物的处理,另外由于杂物可在自身重力的作用下逐渐移动、离开处理箱1,使得本装置具有可持续作业性。
以上所述,仅为本实用新型较佳的具体实施方式,但本实用新型的保护范围并不局限于此,任何熟悉本技术领域的技术人员在本实用新型揭露的技术范围内,根据本实用新型的技术方案及其实用新型构思加以等同替换或改变,都应涵盖在本实用新型的保护范围之内。
Claims (6)
1.一种震动式便于分离污水杂物的污水处理装置,包括处理箱(1),其特征在于,所述处理箱(1)内竖直设有竖板(2),所述竖板(2)的右侧从上之下等间距固定连接有三个倾斜设置的分离组件(5),所述分离组件(5)包括两个边板(51)和固定连接在两个边板(51)、竖板(2)内侧的过滤网(52),从上之下设置的三个所述分离组件(5)中过滤网(52)的孔径依次减小,所述竖板(2)的左侧中部固定连接有左滑动杆(8),所述处理箱(1)贯穿有与左滑动杆(8)滑动连接的左直线轴承,所述处理箱(1)在左滑动杆(8)远离竖板(2)的一端设有震动机构,所述边板(51)远离竖板(2)的一端固定连接有右滑动杆(9),所述处理箱(1)贯穿有与右滑动杆(9)滑动连接的右直线轴承,所述处理箱(1)的右侧内壁均固定有与分离组件(5)倾斜角度相同的过渡孔板(6),所述处理箱(1)的右侧内壁且在过渡孔板(6)的上端开设有流出口(7),所述处理箱(1)的上端开设有喂入口(3),所述处理箱(1)的下端外壁连通有带有阀门的出水管(4)。
2.根据权利要求1所述的一种震动式便于分离污水杂物的污水处理装置,其特征在于,所述震动机构包括固定连接在处理箱(1)左侧的横板(10),所述横板(10)的上端固定连接有立杆(11),所述立杆(11)的上端转动连接有转轴(12),所述转轴(12)远离立杆(11)的一端固定连接有圆盘(13),所述圆盘(13)远离转轴(12)的一侧且在偏心处转动连接有连杆(14),所述连杆(14)远离圆盘(13)的一端与左滑动杆(8)转动连接,所述横板(10)的上端固定安装有旋转电机(15),所述旋转电机(15)与转轴(12)通过带传动。
3.根据权利要求1所述的一种震动式便于分离污水杂物的污水处理装置,其特征在于,所述喂入口(3)的形状大小小于过滤网(52)的形状大小。
4.根据权利要求1所述的一种震动式便于分离污水杂物的污水处理装置,其特征在于,所述过渡孔板(6)的上表面经抛光处理。
5.根据权利要求2所述的一种震动式便于分离污水杂物的污水处理装置,其特征在于,所述旋转电机(15)输出轴的外壁与转轴(12)的外壁均固定套接有带轮,所述带轮的外壁张紧有同步带。
6.根据权利要求2所述的一种震动式便于分离污水杂物的污水处理装置,其特征在于,所述旋转电机(15)采用Z2-52直流电动机。
Priority Applications (1)
| Application Number | Priority Date | Filing Date | Title |
|---|---|---|---|
| CN201920740045.0U CN209997291U (zh) | 2019-05-22 | 2019-05-22 | 一种震动式便于分离污水杂物的污水处理装置 |
Applications Claiming Priority (1)
| Application Number | Priority Date | Filing Date | Title |
|---|---|---|---|
| CN201920740045.0U CN209997291U (zh) | 2019-05-22 | 2019-05-22 | 一种震动式便于分离污水杂物的污水处理装置 |
Publications (1)
| Publication Number | Publication Date |
|---|---|
| CN209997291U true CN209997291U (zh) | 2020-01-31 |
Family
ID=69307648
Family Applications (1)
| Application Number | Title | Priority Date | Filing Date |
|---|---|---|---|
| CN201920740045.0U Expired - Fee Related CN209997291U (zh) | 2019-05-22 | 2019-05-22 | 一种震动式便于分离污水杂物的污水处理装置 |
Country Status (1)
| Country | Link |
|---|---|
| CN (1) | CN209997291U (zh) |
Cited By (1)
| Publication number | Priority date | Publication date | Assignee | Title |
|---|---|---|---|---|
| CN112755621A (zh) * | 2020-12-17 | 2021-05-07 | 深圳市星源空间环境技术有限公司 | 一种震动式便于分离污水杂物的污水处理机构 |
-
2019
- 2019-05-22 CN CN201920740045.0U patent/CN209997291U/zh not_active Expired - Fee Related
Cited By (1)
| Publication number | Priority date | Publication date | Assignee | Title |
|---|---|---|---|---|
| CN112755621A (zh) * | 2020-12-17 | 2021-05-07 | 深圳市星源空间环境技术有限公司 | 一种震动式便于分离污水杂物的污水处理机构 |
Similar Documents
| Publication | Publication Date | Title |
|---|---|---|
| CN110404613A (zh) | 一种大米去壳机 | |
| CN209997291U (zh) | 一种震动式便于分离污水杂物的污水处理装置 | |
| CN215781989U (zh) | 一种处理含有固体颗粒物废液的过滤装置 | |
| CN214600349U (zh) | 一种高效振动筛分装置 | |
| CN209853134U (zh) | 一种刮板式链板输送装置 | |
| CN110508050A (zh) | 一种蓝藻过滤斜面振动筛 | |
| CN218188325U (zh) | 一种建筑工程给排水过滤装置 | |
| CN220758348U (zh) | 一种多级旋流式浓缩机 | |
| CN213762004U (zh) | 一种金刚石破碎摇选一体机 | |
| CN110498540A (zh) | 一种重金属废水处理设备 | |
| CN214019416U (zh) | 一种麦芽汁过滤装置 | |
| CN214991244U (zh) | 一种胶原蛋白肽的分离提纯装置 | |
| CN214440946U (zh) | 基于风力送料的谷米外壳交错分离回收装置 | |
| CN212442015U (zh) | 一种高效建筑垃圾分拣装置 | |
| CN213101097U (zh) | 一种加工涂料用过滤装置 | |
| CN222710216U (zh) | 一种活性炭风选去石机 | |
| CN219399126U (zh) | 一种6-氯烟酸分离提纯设备 | |
| CN111744669A (zh) | 一种芝麻油加工用磁选机 | |
| CN214288828U (zh) | 一种卧式离心机转鼓结构 | |
| CN222000767U (zh) | 一种豆奶粉加工筛豆装置 | |
| CN214808975U (zh) | 一种硫酸镁生产软膏高效分离装置 | |
| CN215048728U (zh) | 一种家庭用污水处理装置 | |
| CN217369162U (zh) | 一种自动上料的粮食振动除杂机 | |
| CN214234892U (zh) | 一种层叠式振动筛选煤机 | |
| CN217527857U (zh) | 一种高速三相离心机 |
Legal Events
| Date | Code | Title | Description |
|---|---|---|---|
| GR01 | Patent grant | ||
| GR01 | Patent grant | ||
| CF01 | Termination of patent right due to non-payment of annual fee | ||
| CF01 | Termination of patent right due to non-payment of annual fee |
Granted publication date: 20200131 |