CN209996584U - Urine receiving device for easy collection in obstetrics and gynecology - Google Patents
Urine receiving device for easy collection in obstetrics and gynecology Download PDFInfo
- Publication number
- CN209996584U CN209996584U CN201920252146.3U CN201920252146U CN209996584U CN 209996584 U CN209996584 U CN 209996584U CN 201920252146 U CN201920252146 U CN 201920252146U CN 209996584 U CN209996584 U CN 209996584U
- Authority
- CN
- China
- Prior art keywords
- urine
- bottom end
- bag
- obstetrics
- receiving device
- Prior art date
- Legal status (The legal status is an assumption and is not a legal conclusion. Google has not performed a legal analysis and makes no representation as to the accuracy of the status listed.)
- Expired - Fee Related
Links
- 210000002700 urine Anatomy 0.000 title claims abstract description 65
- 238000007789 sealing Methods 0.000 claims abstract description 30
- 230000027939 micturition Effects 0.000 claims abstract description 6
- 238000004321 preservation Methods 0.000 abstract description 3
- 238000000034 method Methods 0.000 description 4
- 210000003708 urethra Anatomy 0.000 description 3
- 238000003745 diagnosis Methods 0.000 description 2
- 230000002265 prevention Effects 0.000 description 2
- 230000001850 reproductive effect Effects 0.000 description 2
- 208000036818 High risk pregnancy Diseases 0.000 description 1
- 241000973497 Siphonognathus argyrophanes Species 0.000 description 1
- 230000009286 beneficial effect Effects 0.000 description 1
- 230000000903 blocking effect Effects 0.000 description 1
- 230000035606 childbirth Effects 0.000 description 1
- 238000010586 diagram Methods 0.000 description 1
- 201000010099 disease Diseases 0.000 description 1
- 208000037265 diseases, disorders, signs and symptoms Diseases 0.000 description 1
- 239000003814 drug Substances 0.000 description 1
- 208000010515 dystocia Diseases 0.000 description 1
- 238000005516 engineering process Methods 0.000 description 1
- 239000003292 glue Substances 0.000 description 1
- 210000000056 organ Anatomy 0.000 description 1
- 231100000915 pathological change Toxicity 0.000 description 1
- 230000036285 pathological change Effects 0.000 description 1
- 230000007170 pathology Effects 0.000 description 1
- 230000035935 pregnancy Effects 0.000 description 1
- 238000000926 separation method Methods 0.000 description 1
- 230000002485 urinary effect Effects 0.000 description 1
- 230000005186 women's health Effects 0.000 description 1
Images
Landscapes
- Orthopedics, Nursing, And Contraception (AREA)
Abstract
本实用新型公开了一种妇产科用便于收集的接尿装置,包括接尿斗,所述接尿斗的左右两侧均卡接有接尿斗连接绳,所述的底端中心位置通过连接管口插接有连接软管,所述连接软管的外壁底端卡接有第一连接座,所述第一连接座的底端左右两侧均卡接有卡块,所述卡块的外壁套接有第二连接座,所述第二连接座的内腔左右两侧均开设有与卡块相匹配的卡槽。该妇产科用便于收集的接尿装置,通过封口袋和封口胶条的配合,可以当尿袋单独拿出时,将尿袋的顶口封住,从而对尿液进行保存,通过排尿管口可以将尿袋内腔的尿液排出,该装置不仅便于对尿液的收集与保存,而且还不会发生外漏的现象,操作简单,使用灵活,实用性强,减少了许多不必要的麻烦。
The utility model discloses a urine receiving device for obstetrics and gynecology, which is easy to collect. A connection hose is inserted into the connection nozzle, the bottom end of the outer wall of the connection hose is clamped with a first connection seat, and the left and right sides of the bottom end of the first connection seat are clamped with clamp blocks, and the clamp blocks are clamped. A second connecting seat is sleeved on the outer wall of the second connecting seat, and the left and right sides of the inner cavity of the second connecting seat are provided with a card slot matching the card block. The obstetrics and gynecology department uses a urine receiving device that is easy to collect. Through the cooperation of the sealing bag and the sealing tape, when the urine bag is taken out separately, the top opening of the urine bag can be sealed, so that the urine can be stored, and the urine can pass through the urination tube. The mouth can discharge the urine in the inner cavity of the urine bag. The device is not only convenient for the collection and preservation of urine, but also does not leak out. It is simple to operate, flexible to use, and practical, and reduces many unnecessary trouble.
Description
技术领域technical field
本实用新型涉及妇产科技术领域,具体为一种妇产科用便于收集的接尿装置。The utility model relates to the technical field of obstetrics and gynecology, in particular to a urine receiving device for obstetrics and gynecology that is easy to collect.
背景技术Background technique
妇产科是临床医学四大主要学科之一,主要研究女性生殖器官疾病的病因、病理、诊断及防治,妊娠、分娩的生理和病理变化,高危妊娠及难产的预防和诊治,女性生殖内分泌,计划生育及妇女保健等,在为女性患者做常规检查时,一般都会为女性的尿液进行化验处理,而对尿液的收集,医护人员会给患者一个简单的容器来收集尿液,但该容器体积和容积较小,不便于对尿液的收集与保存,而且在尿液收集过程中,尿液很容易外漏,给患者带来了许多不必要的麻烦,因此,基于以上缺点,现急需一种装置来对此进行改善。Obstetrics and gynecology is one of the four main disciplines of clinical medicine, mainly studying the etiology, pathology, diagnosis and prevention of female reproductive organ diseases, physiological and pathological changes of pregnancy and childbirth, prevention, diagnosis and treatment of high-risk pregnancy and dystocia, female reproductive endocrinology, Family planning and women's health care, etc., when performing routine examinations for female patients, women's urine is generally tested, and for the collection of urine, medical staff will give patients a simple container to collect urine, but the The volume and volume of the container are small, which is inconvenient for the collection and preservation of urine, and in the process of urine collection, urine is easy to leak out, which brings a lot of unnecessary trouble to the patient. Therefore, based on the above shortcomings, it is now There is an urgent need for a device to improve this.
实用新型内容Utility model content
本实用新型的目的在于提供一种妇产科用便于收集的接尿装置,以解决上述背景技术中提出的问题。The purpose of the utility model is to provide a urine receiving device for obstetrics and gynecology that is easy to collect, so as to solve the problems raised in the above background technology.
为实现上述目的,本实用新型提供如下技术方案:一种妇产科用便于收集的接尿装置,包括接尿斗,所述接尿斗的左右两侧均卡接有接尿斗连接绳,所述的底端中心位置通过连接管口插接有连接软管,所述连接软管的外壁底端卡接有第一连接座,所述第一连接座的底端左右两侧均卡接有卡块,所述卡块的外壁套接有第二连接座,所述第二连接座的内腔左右两侧均开设有与卡块相匹配的卡槽,所述第二连接座的底端卡接有封口袋,所述封口袋的内腔前后两侧均卡接有封口胶条,所述封口袋的底端卡接有尿袋,所述尿袋的底端中心位置插接有排尿管口。In order to achieve the above purpose, the utility model provides the following technical solutions: a urine receiving device for obstetrics and gynecology that is easy to collect, including a urinal, and the left and right sides of the urinal are clipped with a urinal connecting rope, A connecting hose is inserted into the center of the bottom end through the connecting nozzle, the bottom end of the outer wall of the connecting hose is clamped with a first connecting seat, and the left and right sides of the bottom end of the first connecting seat are clamped. There is a clamping block, the outer wall of the clamping block is sleeved with a second connection seat, the left and right sides of the inner cavity of the second connection seat are provided with clamping grooves that match the clamping block, and the bottom of the second connection seat is The end is clamped with a sealing bag, the inner cavity of the sealing bag is clamped with sealing strips on both sides, the bottom end of the sealing bag is clamped with a urine bag, and the center of the bottom end of the urine bag is inserted with a Urinary tube orifice.
优选的,所述两个卡块相对于第一连接座的中心位置对称设置。Preferably, the two clamping blocks are arranged symmetrically with respect to the center position of the first connecting seat.
优选的,所述卡块的外侧底端延伸出第二连接座的外壁的长度为2cm。Preferably, the length of the outer bottom end of the clamping block extending beyond the outer wall of the second connecting seat is 2 cm.
优选的,所述封口袋的底端与尿袋的顶端是相通的。Preferably, the bottom end of the sealing bag communicates with the top end of the urine bag.
优选的,所述封口袋和尿袋前后两侧均为透明状。Preferably, both the front and rear sides of the sealing bag and the urine bag are transparent.
与现有技术相比,本实用新型的有益效果是:该妇产科用便于收集的接尿装置,通过连接绳可以将接尿斗捆绑在使用者的裆部,使得接尿斗紧紧包裹在尿道周围,通过第一连接座、卡块、第二连接座和卡槽的配合,可以将连接软管底端的位置固定在尿袋的内腔,通过连接管口和连接软管的配合,从而可以将尿液从接尿斗的内腔导入进尿袋的内腔,通过尿袋可以对尿液进行收集,通过封口袋和封口胶条的配合,可以当尿袋单独拿出时,将尿袋的顶口封住,从而对尿液进行保存,通过排尿管口可以将尿袋内腔的尿液排出,该装置不仅便于对尿液的收集与保存,而且还不会发生外漏的现象,操作简单,使用灵活,实用性强,减少了许多不必要的麻烦。Compared with the prior art, the beneficial effect of the present utility model is that: the obstetrics and gynecology department uses a urine receiving device that is easy to collect, and the urinal can be tied to the user's crotch through the connecting rope, so that the urinal is tightly wrapped. Around the urethra, through the cooperation of the first connection seat, the clamping block, the second connection seat and the clamping groove, the position of the bottom end of the connecting hose can be fixed in the inner cavity of the urine bag. Therefore, urine can be introduced from the inner cavity of the urinal into the inner cavity of the urine bag, and the urine can be collected through the urine bag. The top opening of the urine bag is sealed to preserve the urine, and the urine in the inner cavity of the urine bag can be discharged through the urination tube opening. The device is not only convenient for the collection and preservation of urine, but also prevents leakage Phenomenon, simple operation, flexible use, strong practicability, reducing many unnecessary troubles.
附图说明Description of drawings
图1为本实用新型结构示意图;Fig. 1 is the structural representation of the utility model;
图2为本实用新型的卡槽结构示意图;FIG. 2 is a schematic diagram of the structure of the card slot of the present invention;
图3为本实用新型的第二连接座俯视结构示意图;3 is a schematic top view of the second connecting seat of the present invention;
图4为本实用新型的封口胶条俯视结构示意图。4 is a schematic top view of the structure of the sealing tape of the present invention.
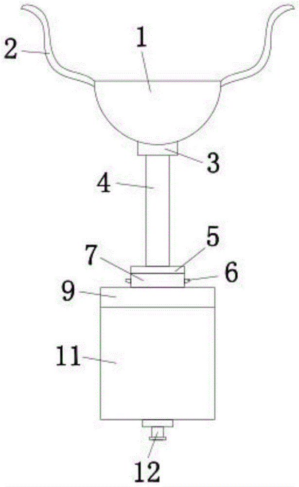
图中:1、接尿斗,2、连接绳,3、连接管口,4、连接软管,5、第一连接座,6、卡块,7、第二连接座,8、卡槽,9、封口袋,10、封口胶条,11、尿袋,12、排尿管口。In the picture: 1. Connecting the urinal, 2. Connecting the rope, 3. Connecting the nozzle, 4. Connecting the hose, 5. The first connecting seat, 6. The clip, 7. The second connecting seat, 8. The card slot, 9. Sealing bag, 10. Sealing tape, 11. Urine bag, 12. Urinating tube mouth.
具体实施方式Detailed ways
下面将结合本实用新型实施例中的附图,对本实用新型实施例中的技术方案进行清楚、完整地描述,显然,所描述的实施例仅仅是本实用新型一部分实施例,而不是全部的实施例。基于本实用新型中的实施例,本领域普通技术人员在没有做出创造性劳动前提下所获得的所有其他实施例,都属于本实用新型保护的范围。The technical solutions in the embodiments of the present utility model will be clearly and completely described below with reference to the accompanying drawings in the embodiments of the present utility model. Obviously, the described embodiments are only a part of the embodiments of the present utility model, rather than all the implementations. example. Based on the embodiments of the present invention, all other embodiments obtained by those of ordinary skill in the art without creative work fall within the protection scope of the present invention.
请参阅图1-4,本实用新型提供一种技术方案:一种妇产科用便于收集的接尿装置,包括接尿斗1,接尿斗1的左右两侧均卡接有接尿斗连接绳2,通过连接绳2可以将接尿斗1紧紧地包裹在尿道口周围,1的底端中心位置通过连接管口3插接有连接软管4,连接软管4的外壁底端卡接有第一连接座5,第一连接座5的底端左右两侧均卡接有卡块6,卡块6的外壁套接有第二连接座7,第二连接座7的内腔左右两侧均开设有与卡块6相匹配的卡槽8,卡块6位于卡槽8的内腔,通过卡块6与卡槽8之间的配合,从而可以将第一连接座5和第二连接座7相互固定卡紧,第二连接座7的底端卡接有封口袋9,封口袋9的内腔前后两侧均卡接有封口胶条10,通过封口胶条10可以将封口袋9进行封口处理,从而对尿袋11内腔的尿液进行保存,封口袋9的底端卡接有尿袋11,通过尿袋11可以对尿液进行收集与保存,尿袋11的底端中心位置插接有排尿管口12,通过排尿管口12可以将尿袋11内腔的尿液排出。Please refer to FIGS. 1-4 , the present utility model provides a technical solution: a urine receiving device for obstetrics and gynecology, which is easy to collect, including a urinal 1, and the left and right sides of the
作为优选方案,更进一步的,两个卡块6相对于第一连接座5的中心位置对称设置,从而明确了两个卡块6与第一连接座5之间的位置关系。As a preferred solution, further, the two
作为优选方案,更进一步的,卡块6的外侧底端延伸出第二连接座7的外壁的长度为2cm,从而可以更加稳定将第一连接座5与第二连接座7相互卡紧锁死。As a preferred solution, further, the length of the outer bottom end of the
作为优选方案,更进一步的,封口袋9的底端与尿袋11的顶端是相通的,从而明确了封口袋9与尿袋11内部的结构。As a preferred solution, further, the bottom end of the
作为优选方案,更进一步的,封口袋9和尿袋11前后两侧均为透明状,从而便于观察尿袋11内腔尿液的高度与尿量的多少。As a preferred solution, further, the front and rear sides of the
其详细连接手段,为本领域公知技术,下述主要介绍工作原理以及过程,具体工作如下。The detailed connection means are known in the art. The following mainly introduces the working principle and process, and the specific work is as follows.
使用时,先将连接软管4的底端插入进尿袋11的内腔,促使卡块6卡入进卡槽8的内腔,卡块6的外侧底端会延伸出第二连接座7的外壁,使得第一连接座5与第二连接座7相互固定住,然后把连接绳2捆绑在使用者的裆部,促使接尿斗1与使用者体表相接触,接尿斗1会将使用者的尿道周围紧紧地贴合包裹起来,对尿液收集时,尿液会经过接尿斗1、连接管口3和连接软管4且进入到尿袋11的内腔,尿袋11对尿液进行收集处理,当收集完毕后,向内侧按压封口袋9,促使两个封口胶条10相卡住,从而对封口袋9进行封口处理,然后向内侧挤压卡块6,当卡块6移动进第二连接座7的内腔时,向上拉动第一连接座5,使得第一连接座5与第二连接座7相分离,相分离之后可以将接尿斗1、连接绳2、连接管口3、连接软管4、第一连接座5和卡块6进行回收清洗消毒,以便接下来其他人使用,而第二连接座7、卡槽8、封口袋9、封口胶条10、尿袋11和排尿管口12可以拿出,以便对尿液进行收集与保存,该装置便于对尿液的收集与保存,避免发生外漏的现象,满足现有的使用需求。When in use, first insert the bottom end of the connecting
Claims (5)
Priority Applications (1)
| Application Number | Priority Date | Filing Date | Title |
|---|---|---|---|
| CN201920252146.3U CN209996584U (en) | 2019-02-28 | 2019-02-28 | Urine receiving device for easy collection in obstetrics and gynecology |
Applications Claiming Priority (1)
| Application Number | Priority Date | Filing Date | Title |
|---|---|---|---|
| CN201920252146.3U CN209996584U (en) | 2019-02-28 | 2019-02-28 | Urine receiving device for easy collection in obstetrics and gynecology |
Publications (1)
| Publication Number | Publication Date |
|---|---|
| CN209996584U true CN209996584U (en) | 2020-01-31 |
Family
ID=69300758
Family Applications (1)
| Application Number | Title | Priority Date | Filing Date |
|---|---|---|---|
| CN201920252146.3U Expired - Fee Related CN209996584U (en) | 2019-02-28 | 2019-02-28 | Urine receiving device for easy collection in obstetrics and gynecology |
Country Status (1)
| Country | Link |
|---|---|
| CN (1) | CN209996584U (en) |
Cited By (1)
| Publication number | Priority date | Publication date | Assignee | Title |
|---|---|---|---|---|
| CN112057112A (en) * | 2020-08-11 | 2020-12-11 | 冯静 | Urine sugar detection device for endocrine |
-
2019
- 2019-02-28 CN CN201920252146.3U patent/CN209996584U/en not_active Expired - Fee Related
Cited By (1)
| Publication number | Priority date | Publication date | Assignee | Title |
|---|---|---|---|---|
| CN112057112A (en) * | 2020-08-11 | 2020-12-11 | 冯静 | Urine sugar detection device for endocrine |
Similar Documents
| Publication | Publication Date | Title |
|---|---|---|
| CN106390212A (en) | Built-in negative-pressure drainage metering device for blood discharged from vagina for obstetrical department | |
| CN209996584U (en) | Urine receiving device for easy collection in obstetrics and gynecology | |
| CN211355797U (en) | A downstream bag for accurate collection of uterine distention fluid for hysteroscopic surgery | |
| CN215078906U (en) | A mid-section urine sample collection device for female subjects in a phase I clinical trial of a drug | |
| CN217724199U (en) | Built-in intermittent inflatable internal fixed detachable anus internal excrement collector | |
| CN213525799U (en) | Urine collecting device | |
| CN215227857U (en) | Urine sampling device for obstetrics and gynecology department | |
| CN214231386U (en) | An oral pathological sample collection device used in clinical departments | |
| CN211433010U (en) | Urine collecting device for gynecological and obstetrical nursing | |
| CN211409869U (en) | Comfortable urinal for women | |
| CN209966726U (en) | Urine collection bag for collecting urine specimen of newborn | |
| CN216257733U (en) | A leak-proof urine collection bag structure | |
| CN209187596U (en) | Disposable medical vomiting cup | |
| CN209236207U (en) | Gynecological sampling device | |
| CN223126958U (en) | Deodorizing urine collection bag | |
| CN217118459U (en) | Vagina endocrine sample collection device | |
| CN221713002U (en) | A disposable double-channel quantifiable blood collection bag for vaginal delivery | |
| CN219594660U (en) | A collector that collects amniotic fluid and blood separately | |
| CN211884203U (en) | New hard shell urine collection bag | |
| CN211796605U (en) | Make things convenient for women's diabetes mellitus patient to detect and use urine collection device | |
| CN216603377U (en) | Urinal for women | |
| CN216876773U (en) | Collection device for pregnant woman childbirth | |
| CN219048607U (en) | A disposable hysteroscopic operation specimen collection device | |
| CN215023371U (en) | Uropoiesis surgery is with novel nursing urine bag | |
| CN221831452U (en) | A vaginal medication device |
Legal Events
| Date | Code | Title | Description |
|---|---|---|---|
| GR01 | Patent grant | ||
| GR01 | Patent grant | ||
| CF01 | Termination of patent right due to non-payment of annual fee | ||
| CF01 | Termination of patent right due to non-payment of annual fee |
Granted publication date: 20200131 |
