CN209988459U - Garbage bin is used in campus - Google Patents
Garbage bin is used in campus Download PDFInfo
- Publication number
- CN209988459U CN209988459U CN201920707153.8U CN201920707153U CN209988459U CN 209988459 U CN209988459 U CN 209988459U CN 201920707153 U CN201920707153 U CN 201920707153U CN 209988459 U CN209988459 U CN 209988459U
- Authority
- CN
- China
- Prior art keywords
- trash
- barrel
- wall
- outer frame
- campus
- Prior art date
- Legal status (The legal status is an assumption and is not a legal conclusion. Google has not performed a legal analysis and makes no representation as to the accuracy of the status listed.)
- Expired - Fee Related
Links
- 239000010813 municipal solid waste Substances 0.000 title claims abstract description 76
- 230000002787 reinforcement Effects 0.000 claims abstract description 7
- 230000005484 gravity Effects 0.000 description 5
- 238000010586 diagram Methods 0.000 description 3
- 238000000034 method Methods 0.000 description 2
- 238000012986 modification Methods 0.000 description 2
- 230000004048 modification Effects 0.000 description 2
- 230000003014 reinforcing effect Effects 0.000 description 2
- 241001391944 Commicarpus scandens Species 0.000 description 1
- 230000009286 beneficial effect Effects 0.000 description 1
- 239000010806 kitchen waste Substances 0.000 description 1
- 239000002184 metal Substances 0.000 description 1
- 239000002699 waste material Substances 0.000 description 1
Images
Landscapes
- Refuse Receptacles (AREA)
Abstract
本实用新型公开了一种校园用垃圾桶,包括桶盖和外框,所述外框的上端安装有桶盖,所述桶盖的上端靠近前侧外壁上连接有把手,所述桶盖的后端连接有拉手,所述外框的周长内部套接有向下延伸的桶体,所述外框的下端左侧周长外壁上连接有加固块,所述加固块的一端和桶体固定连接,所述桶体的左端下侧外壁上连接有滑轮,所述桶体的前端中心处外壁上连接有转动支撑装置,通过在垃圾桶的前侧加装一个转动支撑装置,在桶体的左右两侧安装侧拉手,在需要学生将垃圾桶里面的垃圾倾倒至指定收集地点时,可以将支撑板绕连接杆转动同时倾斜垃圾桶,然后用手提着侧拉手将垃圾桶绕支撑板转动,从而使得垃圾被倾倒出来。
The utility model discloses a trash can for campus, which comprises a bucket cover and an outer frame. The upper end of the outer frame is provided with a bucket cover, and a handle is connected to the upper end of the bucket cover near the front side outer wall. A handle is connected to the rear end, a barrel body extending downward is sleeved on the perimeter of the outer frame, a reinforcement block is connected to the outer wall of the left perimeter of the lower end of the outer frame, and one end of the reinforcement block is connected to the barrel body. Fixed connection, a pulley is connected to the outer wall of the lower left end of the barrel body, and a rotating support device is connected to the outer wall of the front center of the barrel body. Side handles are installed on the left and right sides. When students need to dump the garbage in the trash can to the designated collection location, they can rotate the support plate around the connecting rod and tilt the trash can, and then hold the side handle with their hands to rotate the trash can around the support plate. , so that the rubbish is dumped out.
Description
技术领域technical field
本实用新型属于垃圾桶相关技术领域,具体涉及一种校园用垃圾桶。The utility model belongs to the technical field of trash cans, in particular to a trash can for campus.
背景技术Background technique
垃圾桶,又名废物箱或垃圾箱,是指装放垃圾的地方,多数以金属或塑胶制,用时放入塑料袋,当垃圾一多便可扎起袋丢掉,垃圾桶是人们生活中“藏污纳垢”的容器,也是社会文化的一种折射,多数垃圾桶都有盖以防垃圾的异味四散,有些垃圾桶可以脚踏开启,家居的垃圾桶多数放于厨房,以便放置厨余,有些家庭会在主要房间都各置一个。有些游乐场的垃圾桶会特别设计成可爱的人物。Trash cans, also known as waste bins or trash cans, refer to the place where garbage is placed. Most of them are made of metal or plastic. When used, put them in plastic bags. When there is too much garbage, you can tie up the bags and throw them away. "Hidden dirt" containers are also a reflection of social culture. Most trash cans have lids to prevent the odor of garbage from spreading. Some trash cans can be opened by foot. Most of the trash cans at home are placed in the kitchen to store kitchen waste , some families will have one each in the main room. Some playground trash cans are specially designed with cute characters.
现有的校园用垃圾桶技术存在以下问题:现有的校园垃圾桶在使用时,一般学校都是将垃圾收集在一起处理,在将盛满垃圾的垃圾桶里面的垃圾倒出来时非常费力,直接推倒垃圾桶又容易将垃圾桶摔坏。The existing campus trash can technology has the following problems: when the existing campus trash can is used, the general school collects the garbage for disposal, and it is very laborious to pour out the garbage in the trash can full of garbage. Pushing the trash can directly is easy to break the trash can.
实用新型内容Utility model content
本实用新型的目的在于提供一种校园用垃圾桶,以解决上述背景技术中提出盛满垃圾的垃圾桶倾倒不方便的问题。The purpose of this utility model is to provide a trash can for campus, so as to solve the problem of inconvenient dumping of the trash can full of garbage proposed in the above-mentioned background art.
为实现上述目的,本实用新型提供如下技术方案:一种校园用垃圾桶,包括桶盖和外框,所述外框的上端安装有桶盖,所述桶盖的上端靠近前侧外壁上连接有把手,所述桶盖的后端连接有拉手,所述外框的周长内部套接有向下延伸的桶体,所述外框的下端左侧周长外壁上连接有加固块,所述加固块的一端和桶体固定连接,所述桶体的左端下侧外壁上连接有滑轮,所述桶体的前端中心处外壁上连接有转动支撑装置。In order to achieve the above purpose, the utility model provides the following technical solutions: a trash can for campus, comprising a bucket cover and an outer frame, the upper end of the outer frame is provided with a bucket cover, and the upper end of the bucket cover is connected to the outer wall of the front side. There is a handle, a handle is connected to the rear end of the barrel cover, a barrel body extending downward is sleeved inside the perimeter of the outer frame, and a reinforcement block is connected to the outer wall of the left perimeter of the lower end of the outer frame, so One end of the reinforcing block is fixedly connected to the barrel body, a pulley is connected to the outer wall of the lower left end of the barrel body, and a rotating support device is connected to the outer wall of the front center of the barrel body.
优选的,所述转动支撑装置上设置有固定座,所述转动支撑装置通过固定座和桶体固定连接,所述固定座共设置有两个,两个所述固定座的大小形状均相同,两个所述固定座的对向内部设置有连接杆,所述连接杆的圆周外部套接有向下延伸的支撑板,所述转动支撑装置在桶体左端靠近下侧外壁上设置有侧拉手。Preferably, the rotating support device is provided with a fixed seat, the rotating support device is fixedly connected to the barrel body through the fixed seat, there are two fixed seats in total, and the size and shape of the two fixed seats are the same, The opposite inner parts of the two fixed seats are provided with connecting rods, and the outer circumference of the connecting rods is sleeved with a downwardly extending support plate. .
优选的,所述把手共设置有两个,两个所述把手的大小形状均相同,两个所述把手分别设置在桶盖的上端靠近左右两侧处。Preferably, a total of two handles are provided, the size and shape of the two handles are the same, and the two handles are respectively arranged on the upper end of the bucket lid near the left and right sides.
优选的,所述侧拉手共设置有两个,两个所述侧拉手的大小形状均相同,两个所述侧拉手分别设置在桶体的左右端靠近下侧外壁上。Preferably, a total of two side handles are provided, the size and shape of the two side handles are the same, and the two side handles are respectively arranged on the left and right ends of the barrel body close to the outer wall of the lower side.
优选的,所述支撑板的高度只有桶体高度的一半。Preferably, the height of the support plate is only half of the height of the barrel.
优选的,所述外框的高度和桶盖的高度相同,所述外框的长度和宽度略大于桶盖的长度和宽度。Preferably, the height of the outer frame is the same as the height of the barrel cover, and the length and width of the outer frame are slightly larger than the length and width of the barrel cover.
与现有技术相比,本实用新型提供了一种校园用垃圾桶,具备以下有益效果:Compared with the prior art, the utility model provides a trash can for campus, which has the following beneficial effects:
本实用新型通过在垃圾桶的前侧加装一个转动支撑装置,在桶体的左右两侧安装侧拉手,在需要学生将垃圾桶里面的垃圾倾倒至指定收集地点时,可以将支撑板绕连接杆转动同时倾斜垃圾桶,然后用手提着侧拉手将垃圾桶绕支撑板转动,从而使得垃圾被倾倒出来,这样运用支撑板达到一个杠杆的原理,大大减少了使用者的用力程度,非常省力,也解决了一般的垃圾桶在倾倒时直接推倒垃圾桶而对垃圾桶造成的损坏,非常实用;In the utility model, a rotating support device is installed on the front side of the trash can, and side handles are installed on the left and right sides of the bucket body. When students need to dump the garbage in the trash can to the designated collection place, the support plate can be connected around the The lever rotates while tilting the trash can, and then the trash can is rotated around the support plate with the side handle in hand, so that the trash is dumped out. In this way, the support plate is used to achieve the principle of a lever, which greatly reduces the user's effort and is very labor-saving. It also solves the damage to the trash can caused by directly pushing the trash can over when the general trash can is dumped, which is very practical;
本新型校园用垃圾桶在使用时,先将垃圾桶推至指定垃圾收集地点,打开桶盖,绕连接杆转动支撑板使其与桶体之间形成一定的角度,顺势倾斜垃圾桶,使得支撑板的下端与地面接触,垃圾桶的重力由支撑板分担,用一只手拉住侧拉手,一只手拉住拉手,用力提起侧拉手使得垃圾桶绕支撑板转动,垃圾桶从垃圾桶口倾倒出来,倒完之后平放垃圾桶,支撑板在重力作用下回到与水平垂直的位置,合上桶盖即可。When using this new type of trash can for campus, first push the trash can to the designated garbage collection location, open the bucket lid, rotate the support plate around the connecting rod to form a certain angle with the bucket body, and tilt the trash can to make the support The lower end of the plate is in contact with the ground, and the gravity of the trash can is shared by the support plate. Pull the side handle with one hand, hold the handle with the other hand, and lift the side handle forcefully to make the trash can rotate around the support plate. Dump it out, put the trash can horizontally after pouring, the support plate returns to the horizontal and vertical position under the action of gravity, and then close the bucket lid.
附图说明Description of drawings
附图用来提供对本实用新型的进一步理解,并且构成说明书的一部分,与本实用新型的实施例一起用于解释本实用新型,并不构成对本实用新型的限制,在附图中:The accompanying drawings are used to provide a further understanding of the present utility model, and constitute a part of the specification, and are used to explain the present utility model together with the embodiments of the present utility model, and do not constitute a limitation to the present utility model. In the accompanying drawings:
图1为本实用新型提出的一种校园用垃圾桶立体结构示意图;1 is a schematic diagram of the three-dimensional structure of a trash can for campuses proposed by the utility model;
图2为本实用新型提出的一种校园用垃圾桶正面结构示意图;Fig. 2 is a kind of front structure schematic diagram of trash can for campus proposed by the utility model;
图3为本实用新型提出的转动支撑装置结构示意图;3 is a schematic structural diagram of the rotating support device proposed by the utility model;
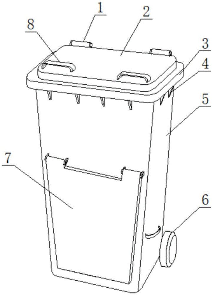
图中:1、拉手;2、桶盖;3、外框;4、加固块;5、桶体;6、滑轮;7、转动支撑装置;8、把手;9、侧拉手;10、支撑板;11、固定座;12、连接杆。In the figure: 1. Handle; 2. Barrel lid; 3. Outer frame; 4. Reinforcing block; 5. Barrel body; 6. Pulley; 7. Rotating support device; 8. Handle; 9. Side handle; 10. Support plate ; 11. Fixed seat; 12. Connecting rod.
具体实施方式Detailed ways
下面将结合本实用新型实施例中的附图,对本实用新型实施例中的技术方案进行清楚、完整地描述,显然,所描述的实施例仅仅是本实用新型一部分实施例,而不是全部的实施例。基于本实用新型中的实施例,本领域普通技术人员在没有做出创造性劳动前提下所获得的所有其他实施例,都属于本实用新型保护的范围。The technical solutions in the embodiments of the present utility model will be clearly and completely described below with reference to the accompanying drawings in the embodiments of the present utility model. Obviously, the described embodiments are only a part of the embodiments of the present utility model, rather than all the implementations. example. Based on the embodiments of the present invention, all other embodiments obtained by those of ordinary skill in the art without creative work fall within the protection scope of the present invention.
请参阅图1-3,本实用新型提供一种技术方案:一种校园用垃圾桶,包括桶盖2和外框3,外框3的上端安装有桶盖2,外框3的高度和桶盖2的高度相同,外框3的长度和宽度略大于桶盖2的长度和宽度,使得桶盖2套接在外框3的上端,这样在往垃圾桶中倒垃圾时,如果有垃圾没倒进去会倒在外框3上,不会掉在地上,便于收集处理,桶盖2的上端靠近前侧外壁上连接有把手8,把手8共设置有两个,两个把手8的大小形状均相同,两个把手8分别设置在桶盖2的上端靠近左右两侧处,两个把手8设置在桶盖2的左右两侧,方便在两侧都能打开桶盖2,桶盖2的后端连接有拉手1,外框3的周长内部套接有向下延伸的桶体5,外框3的下端左侧周长外壁上连接有加固块4,加固块4的一端和桶体5固定连接,桶体5的左端下侧外壁上连接有滑轮6,桶体5的前端中心处外壁上连接有转动支撑装置7。Please refer to FIGS. 1-3, the present utility model provides a technical solution: a trash can for campus, comprising a
一种校园用垃圾桶,转动支撑装置7上设置有固定座11,转动支撑装置7通过固定座11和桶体5固定连接,固定座11共设置有两个,两个固定座11的大小形状均相同,两个固定座11的对向内部设置有连接杆12,连接杆12的圆周外部套接有向下延伸的支撑板10,支撑板10的高度只有桶体5高度的一半,因为支撑板10的上端连接在桶体5的中部,支撑板10的长度不能过长,不然会影响到垃圾桶的正常使用,只有桶体5高度的一半刚好,既不会影响使用,也能在转动时分担垃圾桶足够多的重力,转动支撑装置7在桶体5左端靠近下侧外壁上设置有侧拉手9,侧拉手9共设置有两个,两个侧拉手9的大小形状均相同,两个侧拉手9分别设置在桶体5的左右端靠近下侧外壁上,侧拉手9的作用跟把手8类似,桶体5左右两侧都设置有侧拉手9,使得在左右两侧都可以通过侧拉手9将垃圾倒出。A trash can for campus, the rotating
本实用新型的工作原理及使用流程:本实用新型安装好过后,在垃圾桶内垃圾很多使得垃圾桶很重不好倾倒垃圾时,通过支撑板10的转动,使得支撑板10形成一个杠杆,运用杠杆原理使得在倾倒垃圾时达到省力的作用,在使用时,先将垃圾桶推至指定垃圾收集地点,打开桶盖2,绕连接杆12转动支撑板10使其与桶体5之间形成一定的角度,顺势倾斜垃圾桶,使得支撑板10的下端与地面接触,垃圾桶的重力由支撑板10分担,用一只手拉住侧拉手9,一只手拉住拉手1,用力提起侧拉手9使得垃圾桶绕支撑板10转动,垃圾从垃圾桶口倾倒出来,倒完之后平放垃圾桶,支撑板10在重力作用下回到与水平垂直的位置,合上桶盖2即可。The working principle and use process of the utility model: After the utility model is installed, when there is a lot of garbage in the trash can and the trash can is heavy and it is difficult to dump the garbage, the rotation of the
尽管已经示出和描述了本实用新型的实施例,对于本领域的普通技术人员而言,可以理解在不脱离本实用新型的原理和精神的情况下可以对这些实施例进行多种变化、修改、替换和变型,本实用新型的范围由所附权利要求及其等同物限定。Although the embodiments of the present invention have been shown and described, it will be understood by those skilled in the art that various changes and modifications can be made to these embodiments without departing from the principles and spirit of the present invention , alternatives and modifications, the scope of the present invention is defined by the appended claims and their equivalents.
Claims (6)
Priority Applications (1)
| Application Number | Priority Date | Filing Date | Title |
|---|---|---|---|
| CN201920707153.8U CN209988459U (en) | 2019-05-17 | 2019-05-17 | Garbage bin is used in campus |
Applications Claiming Priority (1)
| Application Number | Priority Date | Filing Date | Title |
|---|---|---|---|
| CN201920707153.8U CN209988459U (en) | 2019-05-17 | 2019-05-17 | Garbage bin is used in campus |
Publications (1)
| Publication Number | Publication Date |
|---|---|
| CN209988459U true CN209988459U (en) | 2020-01-24 |
Family
ID=69294497
Family Applications (1)
| Application Number | Title | Priority Date | Filing Date |
|---|---|---|---|
| CN201920707153.8U Expired - Fee Related CN209988459U (en) | 2019-05-17 | 2019-05-17 | Garbage bin is used in campus |
Country Status (1)
| Country | Link |
|---|---|
| CN (1) | CN209988459U (en) |
-
2019
- 2019-05-17 CN CN201920707153.8U patent/CN209988459U/en not_active Expired - Fee Related
Similar Documents
| Publication | Publication Date | Title |
|---|---|---|
| CN208470678U (en) | A kind of folding cover type garbage bin | |
| CN201604955U (en) | Household garbage can | |
| CN206203151U (en) | A kind of dustbin being convenient for people to use | |
| CN210285522U (en) | Lifting and dumping device for dustbin of electric sweeper | |
| CN209988459U (en) | Garbage bin is used in campus | |
| CN205499946U (en) | Lever garbage bin | |
| CN106364817A (en) | Clean type dustbin convenient to empty and special for outdoor use | |
| CN205972574U (en) | Garbage can | |
| CN207312352U (en) | A kind of school's dustbin being moved easily | |
| CN210593627U (en) | A pedal flip-top trash can that is easy to move | |
| CN107914994B (en) | Garbage can | |
| CN206203142U (en) | A kind of Medical garbage bin easy to use | |
| CN207209052U (en) | A kind of lift rollover dustbin | |
| CN212798138U (en) | Tipping bucket garbage bin | |
| CN205771269U (en) | Novel garbage can | |
| CN205906521U (en) | For kitchen use garbage bin convenient to empty | |
| CN214191059U (en) | A multifunctional garbage recycling device for municipal environmental protection | |
| CN215515187U (en) | A waste bin for retail aquatic products with a sorting mechanism | |
| CN210823828U (en) | Integrative convenient washing topples over formula dustbin | |
| CN220431138U (en) | Kitchen waste treatment barrel convenient for pouring out garbage | |
| CN221820882U (en) | Novel visual garbage bin | |
| CN209651089U (en) | An easy-to-clean trash can | |
| CN217200054U (en) | Novel metal garbage bin that fire resistance is good | |
| CN218641950U (en) | Garbage can dumping device for garbage classification | |
| CN211282314U (en) | A recycling bin for waste and used daily necessities in the municipal field |
Legal Events
| Date | Code | Title | Description |
|---|---|---|---|
| GR01 | Patent grant | ||
| GR01 | Patent grant | ||
| TR01 | Transfer of patent right | ||
| TR01 | Transfer of patent right |
Effective date of registration: 20201218 Address after: Room 602, building 4, Xixi happy city, Xianlin street, Yuhang District, Hangzhou City, Zhejiang Province Patentee after: Hangzhou Shengxiang purification equipment Engineering Co.,Ltd. Address before: 310000 Binjiang District binwen Road, Hangzhou, Hangzhou, Zhejiang Patentee before: ZHEJIANG INSTITUTE OF MECHANICAL & ELECTRICAL ENGINEERING |
|
| CF01 | Termination of patent right due to non-payment of annual fee | ||
| CF01 | Termination of patent right due to non-payment of annual fee |
Granted publication date: 20200124 Termination date: 20210517 |
