CN209958930U - 一种防猫眼开锁的门锁 - Google Patents
一种防猫眼开锁的门锁 Download PDFInfo
- Publication number
- CN209958930U CN209958930U CN201821936917.2U CN201821936917U CN209958930U CN 209958930 U CN209958930 U CN 209958930U CN 201821936917 U CN201821936917 U CN 201821936917U CN 209958930 U CN209958930 U CN 209958930U
- Authority
- CN
- China
- Prior art keywords
- clutch
- handle
- door lock
- limiting
- piece
- Prior art date
- Legal status (The legal status is an assumption and is not a legal conclusion. Google has not performed a legal analysis and makes no representation as to the accuracy of the status listed.)
- Active
Links
- 238000000926 separation method Methods 0.000 claims abstract description 18
- 230000009471 action Effects 0.000 claims abstract description 16
- 241000282326 Felis catus Species 0.000 claims abstract description 11
- 230000004888 barrier function Effects 0.000 claims description 5
- 229910001297 Zn alloy Inorganic materials 0.000 claims description 4
- 230000003647 oxidation Effects 0.000 claims description 4
- 238000007254 oxidation reaction Methods 0.000 claims description 4
- XAGFODPZIPBFFR-UHFFFAOYSA-N aluminium Chemical compound [Al] XAGFODPZIPBFFR-UHFFFAOYSA-N 0.000 claims description 3
- 229910052782 aluminium Inorganic materials 0.000 claims description 3
- 238000009713 electroplating Methods 0.000 claims description 3
- 210000004907 gland Anatomy 0.000 claims description 3
- 238000003780 insertion Methods 0.000 description 3
- 230000037431 insertion Effects 0.000 description 3
- 230000006835 compression Effects 0.000 description 2
- 238000007906 compression Methods 0.000 description 2
- 238000010276 construction Methods 0.000 description 2
- 230000008878 coupling Effects 0.000 description 2
- 238000010168 coupling process Methods 0.000 description 2
- 238000005859 coupling reaction Methods 0.000 description 2
- 238000005034 decoration Methods 0.000 description 2
- 238000010586 diagram Methods 0.000 description 2
- 230000000694 effects Effects 0.000 description 2
- 238000005516 engineering process Methods 0.000 description 2
- 239000011148 porous material Substances 0.000 description 2
- 238000003466 welding Methods 0.000 description 2
- 229910000838 Al alloy Inorganic materials 0.000 description 1
- 239000000428 dust Substances 0.000 description 1
- 238000009434 installation Methods 0.000 description 1
- 238000011900 installation process Methods 0.000 description 1
- 238000000034 method Methods 0.000 description 1
- 238000007790 scraping Methods 0.000 description 1
Images
Landscapes
- Lock And Its Accessories (AREA)
Abstract
本实用新型提供一种防猫眼开锁的门锁,其包括面板、操作部、动作部和锁舌;面板设有固定孔及沿固定孔的周向设置的限位板和限位块,限位块位于限位板的缺口的中间位置;操作部包括把手和按钮;动作部包括连接筒、驱动件和扭簧;扭簧位于限位板的内侧且扭簧的两个扭臂分别抵接限位块的两侧,扭臂可在限位块和限位板的端部之间移动;连接筒包括限位盖和转筒,限位盖设有位于两个扭臂之间的第一卡件;驱动件包括拦板和离合套筒,拦板设有位于两个扭臂之间的第二卡件,离合套筒设有离合结构;按钮处于按压状态下,离合件能够与离合结构配合,把手的转动能够带动驱动件的转动。该门锁能够避免发生外人从猫眼孔将门打开的情况,提高门锁的安全性。
Description
技术领域
本实用新型涉及门锁技术领域,具体涉及一种防猫眼开锁的门锁。
背景技术
目前,市场上主流的门锁以传统旋转式把手为主,在门闭合情况下,外人可通过猫眼孔将工具送入门的内侧并作用于把手以将门打开,对住户安全带来很大隐患。
因此,如何提供一种门锁,能够避免发生外人从猫眼孔将门打开的情况,提高门锁的安全性,是本领域技术人员需要解决的技术问题。
实用新型内容
本实用新型的目的是提供一种防猫眼开锁的门锁,能够避免发生外人从猫眼孔将门打开的情况,提高门锁的安全性。
为解决上述技术问题,本实用新型提供一种防猫眼开锁的门锁,其包括面板、操作部、动作部和锁舌;所述面板设有固定孔,且所述面板沿所述固定孔的周向设有限位板和限位块,所述限位板设有缺口,所述限位块位于所述缺口的中间位置;所述操作部包括把手、按钮和回位弹簧,所述把手包括手柄和连接部,所述连接部设有与所述固定孔连通的容置腔,所述容置腔内设有弹簧挡板,所述回位弹簧位于所述按钮和所述弹簧挡板之间,所述按钮包括按键和离合件,所述按键伸出所述容置腔外;所述动作部包括连接筒、驱动件和扭簧;所述扭簧位于所述限位板的内侧且所述扭簧的两个扭臂分别抵接所述限位块的两侧,所述扭臂可在所述限位块和所述限位板的端部之间移动;所述连接筒包括限位盖和转筒,所述限位盖设有位于两个所述扭臂之间的第一卡件,所述转筒穿过所述固定孔并与所述把手固定,所述转筒内设有空腔,且所述转筒的空腔与所述容置腔连通并形成离合腔;所述驱动件包括拦板和离合套筒,所述拦板设有位于两个所述扭臂之间的第二卡件,所述离合套筒穿过所述转筒的空腔且所述离合套筒的端部设有与所述离合件相适配的离合结构;所述按钮处于按压状态下,所述离合件能够与所述离合结构在所述离合腔内配合,所述把手的转动能够带动所述驱动件的转动。
当对操作部进行操作,将按钮按下使其处于按压状态,此时,离合件和离合结构配合,手柄的转动可传递至驱动件的转动,而驱动件的转动可带动锁舌的伸出与缩回,因此,同时按压按钮并转动手柄可实现该智能门锁的锁止和解锁。而当撤出对按钮的按压作用后,离合件与离合结构脱离,此时,手柄的转动无法传递至驱动件,而驱动件将在扭簧的作用下带动锁舌伸出以使门锁处于锁止状态。因此,在仅转动手柄而不按压按钮的情况下,无法将该智能门锁打开。
因此,即便是门外有人将工具穿过猫眼孔以对把手进行转动,也无法驱动锁舌缩回,即无法打开门锁。从而保证该智能门锁的安全性。
限位板的内侧用于限制扭簧的位置,避免扭簧在使用过程中沿其径向方向发生窜动,进而避免扭簧与驱动件脱离导致无法作用于驱动件使其带动锁舌伸出的情况。限位板的缺口和限位块限制了第一卡件和第二卡件的转动角度,进而限制了把手的转动角度,同时限制了扭簧的压缩行程。
初始状态下,第一卡件、第二卡件和限位块沿扭簧的两个扭臂之间并列设置,当离合件和离合结构配合后,把手的转动能够带动驱动件的转动,同时,由于连接筒与把手固接,因此,第一卡件和第二卡件同步转动,并推动扭簧的一个扭臂使其向远离另一扭臂的方向移动至限位板的另一端,而当门锁打开后撤出对按键的按压操作,离合件和离合结构分离,扭簧的回复力将带动第一卡件和第二卡件回至初始位置,同时,连接筒的转动将带动把手转动至原位。
通过限位板和限位块对驱动件的转动角度和把手的转动角度进行限位,限位板和限位块设于面板并与面板为一体结构,具体的限位板和限位块可以是与面板为一体成型结构也可以是焊接等不可拆卸的固定方式连接,稳定性好。由于门锁在使用过程中,把手的转动为经常性动作,因此,通过限位板和限位块对把手的转动角度进行限位,可避免限位板和限位块在与第一卡件、第二卡件发生多次碰撞限位后发生变形、松动的情况,结构简单、可靠,稳定性好。
可选地,所述限位盖设有第一挡件,所述拦板设有与所述第一挡件相适配的第二挡件,当所述离合件和所述离合结构处于分离的状态下,所述把手向反锁方向转动可通过第一挡件和第二挡件带动所述驱动件转动,以使所述门锁反锁。
可选地,所述按键和所述离合件为分体式结构并通过螺栓固定,所述按键为表面经过硬质阳极氧化的铝型材,所述离合件为表面经电镀处理的锌合金。
可选地,还包括压盖,所述限位盖远离所述转筒的一侧设有安装槽,所述压盖与所述限位盖固定,所述拦板可旋转地位于所述安装槽内。
可选地,还包括轴承,所述固定孔朝向所述动作部的一端沿其周向设有凸缘,所述轴承的外圈与所述凸缘固接,所述限位盖和所述连接部分别从两端与所述轴承的内圈抵接。
可选地,所述凸缘的内壁沿其周向均匀设有至少三个凸筋,所述凸筋的长度方向与所述凸缘的轴向平行,所述轴承的外圈与各所述凸筋过盈配合。
可选地,还包括与所述面板连接的轴承压板,所述凸缘的直径大于所述固定孔的直径,所述轴承压板和所述固定孔的边缘分别从两端抵接所述轴承的外圈。
可选地,所述连接部朝向所述驱动件的一侧设有第一凸台,所述限位盖朝向所述操作部的一侧设有第二凸台,所述第一凸台和所述第二凸台从两端抵接所述轴承的内圈。
可选地,所述转筒的端部设有连接板,所述连接板和所述弹簧挡板通过螺钉固定,所述连接板设有卡件和穿孔,所述弹簧挡板设有与所述卡件相适配的卡槽,且所述卡件与所述卡槽配合时,所述穿孔与所述离合件对应。
可选地,所述离合件包括插接柱,所述离合结构为与所述插接柱相适配的插接槽。
附图说明
图1是本实用新型实施例所提供的门锁的爆炸图;
图2是图1中A的放大图;
图3是智能门锁的结构示意图;
图4是图3的内部结构示意图;
图5是图4中B的放大图;
图6是图3的左视图;
图7是面板的结构示意图;
图8是连接筒在第一角度下的结构示意图;
图9是连接筒在第二角度下的结构示意图;
图10是驱动件的结构示意图。
附图1-10中,附图标记说明如下:
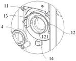
1-面板,11-固定孔,12-凸缘,121-凸筋,13-限位板,14-限位块;
21-把手,211-连接部,212-手柄,215-第一凸台,22-按键,23-离合件,24-回位弹簧,25-弹簧挡板,26-容置腔;
311-离合结构,312-拦板,313-离合套筒,314-第二卡件,315-第二挡件,316-插接槽,32-连接筒,321-限位盖,322-转筒,323-第一卡件,324-第一挡件,325-连接板,326-第二凸台,327-卡件,33-扭簧,331-扭臂;34-压盖;
4-轴承,41-轴承压板。
具体实施方式
为了使本领域的技术人员更好地理解本实用新型的技术方案,下面结合附图和具体实施例对本实用新型作进一步的详细说明。
请参考图1-10,图1是本实用新型实施例所提供的门锁的爆炸图;图2是图1中A的放大图;图3是智能门锁的结构示意图;图4是图3的内部结构示意图;图5是图4中B的放大图;图6是图3的左视图;图7是面板的结构示意图;图8是连接筒在第一角度下的结构示意图;图9是连接筒在第二角度下的结构示意图;图10是驱动件的结构示意图。
本实用新型实施例提供了一种防猫眼开锁的门锁,该门锁包括面板1、操作部、动作部和锁舌;其中,操作部和动作部分别位于面板1的两侧,如图7所示,面板1设有固定孔11,且面板1沿固定孔11的周向设有限位板13和限位块14,限位板13设有缺口,限位块14位于该缺口的中间位置。具体的,缺口的中间位置是指限位板13的两端的中间位置,该限位孔距离限位板13的两端的距离相同,且限位板13的端部沿周向延伸将经过限位块14所在位置。
操作部包括把手21、按钮和回位弹簧24,其中,把手21包括手柄212和连接部211,连接部211设有与固定孔11连通的容置腔26,容置腔26内设有弹簧挡板25,回位弹簧24位于按钮和弹簧挡板25之间,按钮包括按键22和离合件23,按键22伸出容置腔26外。动作部包括连接筒32、驱动件和扭簧33,其中,驱动件的转动能够带动锁舌伸出和缩回,扭簧33能够作用于驱动件,使其带动锁舌伸出。
扭簧33位于限位板13的内侧,如图3所示,扭簧33的两个扭臂331分别抵接限位块14的两侧,扭臂331可在限位块14和限位板13的端部之间移动,连接筒32包括限位盖321和转筒322,限位盖321设有位于两个扭臂331之间的第一卡件323,该第一卡件323位于上述限位块14处,转筒322穿过固定孔11并与把手21的连接部211固定,即把手21转动时可带动连接筒32一同转动,转筒322内设有空腔,且转筒322的空腔与容置腔26连通并形成离合腔。
驱动件包括拦板312和离合套筒313,拦板312设有位于两个扭臂331之间的第二卡件314,该第二卡件314同样位于上述限位块14处,为避免发生干涉,如图6所示,第一卡件323、第二卡件314和限位块14可沿扭簧33的扭臂331的长度方向并列设置。离合套筒313穿过所述转筒322的空腔且该离合套筒313的端部设有与离合件23相适配的离合结构311。按钮处于按压状态下,离合件23能够与离合结构311在上述离合腔内配合,把手21的转动能够带动驱动件的转动,进而带动锁舌伸出或缩回,以实现该门锁的锁止或解锁。
也就是说,当对操作部进行操作,将按钮按下使其处于按压状态,此时,离合件23和离合结构311配合,手柄212的转动可传递至驱动件的转动,而驱动件的转动可带动锁舌的伸出与缩回,因此,同时按压按钮并转动手柄212可实现该智能门锁的锁止和解锁。而当撤出对按钮的按压作用后,离合件23与离合结构311脱离,此时,手柄212的转动无法传递至驱动件,而驱动件将在扭簧33的作用下带动锁舌伸出以使门锁处于锁止状态。因此,在仅转动手柄212而不按压按钮的情况下,无法将该智能门锁打开。
因此,即便是门外有人将工具穿过猫眼孔以对把手21进行转动,也无法驱动锁舌缩回,即无法打开门锁。从而保证该智能门锁的安全性。
限位板13的内侧用于限制扭簧33的位置,避免扭簧33在使用过程中沿其径向方向发生窜动,进而避免扭簧33与驱动件脱离导致无法作用于驱动件使其带动锁舌伸出的情况。限位板13的缺口和限位块14限制了第一卡件323和第二卡件314的转动角度,进而限制了把手21的转动角度,同时限制了扭簧33的压缩行程。
初始状态下,如图3所示,第一卡件323、第二卡件314和限位块14沿扭簧33的两个扭臂331之间并列设置,当离合件23和离合结构311配合后,把手21的转动能够带动驱动件的转动,同时,由于连接筒32与把手21固接,因此,第一卡件323和第二卡件314同步转动,并推动扭簧33的一个扭臂331使其向远离另一扭臂331的方向移动至限位板13的另一端,而当门锁打开后撤出对按键22的按压操作,离合件23和离合结构311分离,扭簧33的回复力将带动第一卡件323和第二卡件314回至初始位置,同时,连接筒32的转动将带动把手21转动至原位。
通过限位板13和限位块14对驱动件的转动角度和把手21的转动角度进行限位,限位板13和限位块14设于面板1并与面板1为一体结构,具体的限位板13和限位块14可以是与面板1为一体成型结构也可以是焊接等不可拆卸的固定方式连接,稳定性好。由于门锁在使用过程中,把手21的转动为经常性动作,因此,通过限位板13和限位块14对把手21的转动角度进行限位,可避免限位板13和限位块14在与第一卡件323、第二卡件314发生多次碰撞限位后发生变形、松动的情况,结构简单、可靠,稳定性好。
具体的,本实施例中,把手21可以是长条形结构,通过下压或上提以实现转动,该把手21还可以是圆形把手21,通过顺时针扭转或逆时针扭转以实现上述转动,以下实施例以把手21下压实现锁舌缩回解锁、把手21上提实现反锁为例进行说明。
在上述实施例中,限位盖321设有第一挡件324(如图9所示),拦板312设有与第一挡件324相适配的第二挡件315(如图10所示),当离合件23和离合结构311处于分离的状态下,把手21向反锁方向转动可通过第一挡件324和第二挡件315带动驱动件转动,以使门锁反锁。当离合件23和离合结构311处于分离的状态下,把手21的转动可带动连接筒32转动而无法带动驱动件转动,下压把手21无法实现开锁,而上提把手21(向反锁方向转动把手21)时,连接筒32随把手21一同转动,此时,第一挡件324和第二挡件315配合并带动驱动件转动,以实现反锁,也就是说,开锁需要同时按压按键22并下压把手21,反锁时无需按压按键22仅需上提把手21即可实现,保证安全的前提下操作方便。
另外,把手21向反锁方向转动时,第一挡件324能够推动第二挡件315使驱动件转动,而对于把手21相对门的位置的不同,开门时把手21的转动方向不同,如将该门锁设于门的左侧和右侧,开锁时把手21的转动方向是相反的,因此,对于不同的设置位置,仅需选用相应的连接筒32即可,具体的讲,连接筒32的第一挡件324的设置位置不同,选用当连接筒32朝向反锁反向转动时第一挡件324能够推动第二挡件315转动的连接筒32即可。
在上述实施例中,按键22和离合件23为分体式结构并通过螺栓固定,按键22为表面经过硬质阳极氧化的铝型材,离合件23为表面经电镀处理的锌合金。按键22伸出容置腔26外以供按压操作,具体的,把手21包括连接部211、手柄212和后盖,后盖设有孔结构以便使按键22能够伸出容置腔26外,孔结构的内壁和按键22的外壁之间可能存在摩擦,此时,将按键22设置为表面经过硬质阳极氧化的铝型材,使其硬度提高、耐磨性好,避免刮花、磨损。离合件23为表面经电镀处理的锌合金,可保证其具有足够的强度,使其在转动时通过与离合结构311的配合带动驱动件转动。
在上述实施例中,该门锁还包括压盖34,限位盖321远离转筒322的一侧设有安装槽,压盖34与限位盖321固定,拦板312可旋转地位于安装槽内。当然,本实施例中,还可以将安装槽开设于压盖34朝向限位盖321的一侧,或者,限位盖321和压盖34二者均设有部分安装槽均可。该压盖34用于限制限位盖321沿其轴向发生移动。
在上述实施例中,如图1和图2所示,该门锁还包括轴承4,固定孔11朝向动作部的一侧沿其周向设有凸缘12,轴承4的外圈与凸缘12固接,限位盖321和把手21的连接部211分别从两端与轴承4的内圈抵接。连接筒32的转筒322穿过固定孔11与把手21固接,并且由于把手21在使用过程中,需要带动连接筒32频繁的转动,因此,轴承4的设置可消除连接筒32与固定孔11之间的间隙,避免灰尘进入,保证内部清洁的同时,可避免把手21在转动过程中连接筒32发生松动,同时可消除把手21的晃动,保证使用过程中的稳定性,且可避免由于摩擦造成的磨损,延长使用寿命。另外,凸缘12的设置更便于实现与轴承4的外圈的固定,在保证能够稳定固定的情况下,减小对面板1的厚度要求。
凸缘12位于限位板13的内侧,此时,扭簧33套设于凸缘12的外侧,即凸缘12和限位板13之间围合形成用于放置扭簧33的放置槽,结构简单,且放置稳定性好。
进一步的,如图2所示,凸缘12的内壁沿轴向均匀设有至少三个121,并且各凸筋121的长度方向与凸缘12的轴向平行,轴承4的外圈与各凸筋121过盈配合,当然本实施例中,还可将轴承4的外圈直接与凸缘12的内壁过盈配合以实现固定,而凸筋121的设置便于实现对精度的要求,同时,减小对凸缘12的强度要求,便于安装操作。
在上述实施例中,还包括与面板1连接的轴承压板41,凸缘12的直径大于固定孔11的直径,轴承压板41和固定孔11的边缘分别从两端抵接轴承4的外圈,以限制轴承4的轴向移动。由于把手21转动开门后,需要通过推拉把手21实现推门或拉门的动作,固定孔11的边缘和轴承压板41能够使得轴承4的位置稳定,避免发生轴承4在把手21的带动下与固定孔11脱离的情况。
在上述实施例中,如图4和图5所示,连接部211朝向驱动件的一侧设有第一凸台215,限位盖321朝向操作部的一侧设有第二凸台326,第一凸台215和第二凸台326从两端抵接轴承4的内圈。第一凸台215和第二凸台326的设置可使限位盖321或连接部211不与轴承4的外圈接触,或者本实施例中,还可以将限位盖321和连接部211的尺寸设置的与轴承4的内圈刚刚好不会抵接轴承4的外圈。而设置第一凸台215和第二凸台326的方案可简化对限位盖321和连接部211的尺寸要求,简化加工工艺。
在上述实施例中,如图8和图9所示,转筒322的端部设有连接板325,连接板325和弹簧挡板25通过螺钉固定,连接板325设有卡件327和穿孔,弹簧挡板25设有与卡件相适配的卡槽,且卡件327与卡槽配合时,穿孔与离合件23对应,以便离合件23能够依次穿过弹簧挡板25和穿孔并与离合结构311配合,卡件327和卡槽的设置便于在安装过程中实现精确定位,提高安装效率。
在上述实施例中,离合件23包括插接柱,离合结构311为与插接柱相适配的插接槽316(如图10所示)。或者,还可以将离合件23设有插接槽316,离合结构311为插接柱。插接柱和插接槽316的结构设置简单、可简化加工工艺,经济性好。并且离合件23包括插接柱的方案,便于实现如上所述的插接柱穿过弹簧挡板25和连接板325与离合结构311配合。
另外,本实施例中的插接槽316和插接柱的数量为两个,当然,插接槽316和插接柱的数量还可以是三个或三个以上,并且插接槽316的数量不少于插接柱的数量即可。而将插接槽316和插接柱的数量均设置为两个可在保证把手21的转动能够带动驱动件的转动的前提下,简化整体结构。
以上仅是本实用新型的优选实施方式,应当指出,对于本技术领域的普通技术人员来说,在不脱离本实用新型原理的前提下,还可以做出若干改进和润饰,这些改进和润饰也应视为本实用新型的保护范围。
Claims (10)
1.一种防猫眼开锁的门锁,其特征在于,包括面板(1)、操作部、动作部和锁舌;
所述面板(1)设有固定孔(11),且所述面板(1)沿所述固定孔(11)的周向设有限位板(13)和限位块(14),所述限位板(13)设有缺口,所述限位块(14)位于所述缺口的中间位置;
所述操作部包括把手(21)、按钮和回位弹簧(24),所述把手(21)包括手柄(212)和连接部(211),所述连接部(211)设有与所述固定孔(11)连通的容置腔(26),所述容置腔(26)内设有弹簧挡板(25),所述回位弹簧(24)位于所述按钮和所述弹簧挡板(25)之间,所述按钮包括按键(22)和离合件(23),所述按键(22)伸出所述容置腔(26)外;
所述动作部包括连接筒(32)、驱动件和扭簧(33);
所述扭簧(33)位于所述限位板(13)的内侧且所述扭簧(33)的两个扭臂(331)分别抵接所述限位块(14)的两侧,所述扭臂(331)可在所述限位块(14)和所述限位板(13)的端部之间移动;
所述连接筒(32)包括限位盖(321)和转筒(322),所述限位盖(321)设有位于两个所述扭臂(331)之间的第一卡件(323),所述转筒(322)穿过所述固定孔(11)并与所述把手(21)固定,所述转筒(322)内设有空腔,且所述转筒(322)的空腔与所述容置腔(26)连通并形成离合腔;
所述驱动件包括拦板(312)和离合套筒(313),所述拦板(312)设有位于两个所述扭臂(331)之间的第二卡件(314),所述离合套筒(313)穿过所述转筒(322)的空腔且所述离合套筒(313)的端部设有与所述离合件(23)相适配的离合结构(311);
所述按钮处于按压状态下,所述离合件(23)能够与所述离合结构(311)在所述离合腔内配合,所述把手(21)的转动能够带动所述驱动件的转动。
2.根据权利要求1所述的门锁,其特征在于,所述限位盖(321)设有第一挡件(324),所述拦板(312)设有与所述第一挡件(324)相适配的第二挡件(315),当所述离合件(23)和所述离合结构(311)处于分离的状态下,所述把手(21)向反锁方向转动可通过第一挡件(324)和第二挡件(315)带动所述驱动件转动,以使所述门锁反锁。
3.根据权利要求1所述的门锁,其特征在于,所述按键(22)和所述离合件(23)为分体式结构并通过螺栓固定,所述按键(22)为表面经过硬质阳极氧化的铝型材,所述离合件(23)为表面经电镀处理的锌合金。
4.根据权利要求1所述的门锁,其特征在于,还包括压盖(34),所述限位盖(321)远离所述转筒(322)的一侧设有安装槽,所述压盖(34)与所述限位盖(321)固定,所述拦板(312)可旋转地位于所述安装槽内。
5.根据权利要求1所述的门锁,其特征在于,还包括轴承(4),所述固定孔(11)朝向所述动作部的一端沿其周向设有凸缘(12),所述轴承(4)的外圈与所述凸缘(12)固接,所述限位盖(321)和所述连接部(211)分别从两端与所述轴承(4)的内圈抵接。
6.根据权利要求5所述的门锁,其特征在于,所述凸缘(12)的内壁沿其周向均匀设有至少三个凸筋(121),所述凸筋(121)的长度方向与所述凸缘(12)的轴向平行,所述轴承(4)的外圈与各所述凸筋(121)过盈配合。
7.根据权利要求5所述的门锁,其特征在于,还包括与所述面板(1)连接的轴承压板(41),所述凸缘(12)的直径大于所述固定孔(11)的直径,所述轴承压板(41)和所述固定孔(11)的边缘分别从两端抵接所述轴承(4)的外圈。
8.根据权利要求5所述的门锁,其特征在于,所述连接部(211)朝向所述驱动件的一侧设有第一凸台(215),所述限位盖(321)朝向所述操作部的一侧设有第二凸台(326),所述第一凸台(215)和所述第二凸台(326)从两端抵接所述轴承(4)的内圈。
9.根据权利要求1所述的门锁,其特征在于,所述转筒的端部设有连接板(325),所述连接板(325)和所述弹簧挡板(25)通过螺钉固定,所述连接板(325)设有卡件(327)和穿孔,所述弹簧挡板(25)设有与所述卡件(327)相适配的卡槽,且所述卡件(327)与所述卡槽配合时,所述穿孔与所述离合件(23)对应。
10.根据权利要求1所述的门锁,其特征在于,所述离合件(23)包括插接柱,所述离合结构(311)为与所述插接柱相适配的插接槽(316)。
Priority Applications (1)
| Application Number | Priority Date | Filing Date | Title |
|---|---|---|---|
| CN201821936917.2U CN209958930U (zh) | 2018-11-22 | 2018-11-22 | 一种防猫眼开锁的门锁 |
Applications Claiming Priority (1)
| Application Number | Priority Date | Filing Date | Title |
|---|---|---|---|
| CN201821936917.2U CN209958930U (zh) | 2018-11-22 | 2018-11-22 | 一种防猫眼开锁的门锁 |
Publications (1)
| Publication Number | Publication Date |
|---|---|
| CN209958930U true CN209958930U (zh) | 2020-01-17 |
Family
ID=69234106
Family Applications (1)
| Application Number | Title | Priority Date | Filing Date |
|---|---|---|---|
| CN201821936917.2U Active CN209958930U (zh) | 2018-11-22 | 2018-11-22 | 一种防猫眼开锁的门锁 |
Country Status (1)
| Country | Link |
|---|---|
| CN (1) | CN209958930U (zh) |
Cited By (1)
| Publication number | Priority date | Publication date | Assignee | Title |
|---|---|---|---|---|
| CN114109137A (zh) * | 2021-11-19 | 2022-03-01 | 无锡睿勤科技有限公司 | 防猫眼开锁的把手装置及门锁 |
-
2018
- 2018-11-22 CN CN201821936917.2U patent/CN209958930U/zh active Active
Cited By (2)
| Publication number | Priority date | Publication date | Assignee | Title |
|---|---|---|---|---|
| CN114109137A (zh) * | 2021-11-19 | 2022-03-01 | 无锡睿勤科技有限公司 | 防猫眼开锁的把手装置及门锁 |
| CN114109137B (zh) * | 2021-11-19 | 2024-05-31 | 无锡睿勤科技有限公司 | 防猫眼开锁的把手装置及门锁 |
Similar Documents
| Publication | Publication Date | Title |
|---|---|---|
| US4011741A (en) | Lock cylinder with dual drivers | |
| US3302434A (en) | Pop-out handle and lock assembly | |
| CN208686215U (zh) | 一种防猫眼开锁门把手结构及具有其的门锁 | |
| CN113153011B (zh) | 智能门锁 | |
| EP2963209B1 (en) | An improved structure of key cylinder | |
| US4709565A (en) | United opening device for a double-locked door | |
| CN209958930U (zh) | 一种防猫眼开锁的门锁 | |
| CN201087612Y (zh) | 强力防盗锁的门把手离合器 | |
| KR200447937Y1 (ko) | 강제해정 방지수단이 마련된 내측 손잡이 | |
| CN111206825A (zh) | 一种智能门锁 | |
| GB2608879A (en) | Anti-forced entry mechanism for electro-mechanical lock core | |
| CN209958923U (zh) | 一种防猫眼开锁的门锁 | |
| CN102936983B (zh) | 一种卫生间用门锁 | |
| RU2643125C2 (ru) | Дверной замок | |
| CN105913512A (zh) | 手机网络控制防盗门锁全自动智能系统 | |
| CN205743319U (zh) | 电子锁控制机构 | |
| CN211524387U (zh) | 圆柱锁 | |
| KR101742220B1 (ko) | 데드래치 기능을 가진 도어락 모티스 | |
| CN210289385U (zh) | 一种执手锁具 | |
| CN111101760A (zh) | 一种锁芯及锁具 | |
| CN218509221U (zh) | 一种便捷式门锁 | |
| CN205427999U (zh) | 手机网络控制防盗门锁全自动智能系统 | |
| CN205591653U (zh) | 门把手结构 | |
| CN111155834B (zh) | 一种执手锁具 | |
| CN108266052A (zh) | 一种t型锁体 |
Legal Events
| Date | Code | Title | Description |
|---|---|---|---|
| GR01 | Patent grant | ||
| GR01 | Patent grant | ||
| CP01 | Change in the name or title of a patent holder |
Address after: 100085 a521, 5th floor, block a, Huilongguan maker Plaza, 338 Huilongguan East Street, Changping District, Beijing Patentee after: Yunding Network Technology (Beijing) Co.,Ltd. Address before: 100085 a521, 5th floor, block a, Huilongguan maker Plaza, 338 Huilongguan East Street, Changping District, Beijing Patentee before: YUN DING NETWORK TECHNOLOGY (BEIJING) Co.,Ltd. |
|
| CP01 | Change in the name or title of a patent holder |