CN209917521U - 一种节能型喷淋除尘净化装置 - Google Patents
一种节能型喷淋除尘净化装置 Download PDFInfo
- Publication number
- CN209917521U CN209917521U CN201920295081.0U CN201920295081U CN209917521U CN 209917521 U CN209917521 U CN 209917521U CN 201920295081 U CN201920295081 U CN 201920295081U CN 209917521 U CN209917521 U CN 209917521U
- Authority
- CN
- China
- Prior art keywords
- box
- dust removal
- filter box
- water
- flange
- Prior art date
- Legal status (The legal status is an assumption and is not a legal conclusion. Google has not performed a legal analysis and makes no representation as to the accuracy of the status listed.)
- Expired - Fee Related
Links
- 239000000428 dust Substances 0.000 title claims abstract description 81
- 239000007921 spray Substances 0.000 title claims abstract description 25
- 238000000746 purification Methods 0.000 title claims abstract description 15
- XLYOFNOQVPJJNP-UHFFFAOYSA-N water Substances O XLYOFNOQVPJJNP-UHFFFAOYSA-N 0.000 claims abstract description 93
- 238000005192 partition Methods 0.000 claims abstract description 25
- 238000009434 installation Methods 0.000 claims abstract description 18
- 230000000903 blocking effect Effects 0.000 claims description 7
- 238000007789 sealing Methods 0.000 claims description 2
- 239000010865 sewage Substances 0.000 abstract description 19
- 238000004140 cleaning Methods 0.000 abstract description 5
- 238000004062 sedimentation Methods 0.000 abstract description 3
- 230000009471 action Effects 0.000 abstract description 2
- 239000007789 gas Substances 0.000 description 11
- 238000000034 method Methods 0.000 description 9
- 239000002912 waste gas Substances 0.000 description 7
- 238000001914 filtration Methods 0.000 description 6
- 230000008569 process Effects 0.000 description 4
- 230000000694 effects Effects 0.000 description 3
- 239000002245 particle Substances 0.000 description 3
- 238000003915 air pollution Methods 0.000 description 2
- 238000006477 desulfuration reaction Methods 0.000 description 2
- 230000023556 desulfurization Effects 0.000 description 2
- 238000010586 diagram Methods 0.000 description 2
- 238000005516 engineering process Methods 0.000 description 2
- 230000004048 modification Effects 0.000 description 2
- 238000012986 modification Methods 0.000 description 2
- 239000003973 paint Substances 0.000 description 2
- 230000004888 barrier function Effects 0.000 description 1
- 230000009286 beneficial effect Effects 0.000 description 1
- 238000006243 chemical reaction Methods 0.000 description 1
- 239000012141 concentrate Substances 0.000 description 1
- 238000007599 discharging Methods 0.000 description 1
- 201000010099 disease Diseases 0.000 description 1
- 208000037265 diseases, disorders, signs and symptoms Diseases 0.000 description 1
- 230000007613 environmental effect Effects 0.000 description 1
- 239000000284 extract Substances 0.000 description 1
- 230000009916 joint effect Effects 0.000 description 1
- 210000004072 lung Anatomy 0.000 description 1
- 239000000463 material Substances 0.000 description 1
- 239000013618 particulate matter Substances 0.000 description 1
- 238000001556 precipitation Methods 0.000 description 1
- 238000005086 pumping Methods 0.000 description 1
- 238000011084 recovery Methods 0.000 description 1
- 238000004064 recycling Methods 0.000 description 1
- 210000002345 respiratory system Anatomy 0.000 description 1
- 239000013049 sediment Substances 0.000 description 1
- 238000005507 spraying Methods 0.000 description 1
- 239000008399 tap water Substances 0.000 description 1
- 235000020679 tap water Nutrition 0.000 description 1
- 239000002351 wastewater Substances 0.000 description 1
Images
Landscapes
- Separation Of Particles Using Liquids (AREA)
Abstract
本实用新型公开了一种节能型喷淋除尘净化装置,包括除尘箱,所述除尘箱的上端安装有除尘器,除尘箱的两端分别开设有进气口和出气口,除尘箱的下表面固定连接有出水口,出水口两侧的除尘箱内连接有斜坡,除尘箱外部的下表面连接有卡圈,卡圈卡合连接有过滤箱,所述过滤箱的上表面开设有安装槽,安装槽与卡圈卡合连接。本节能型喷淋除尘净化装置,除尘箱外部的下表面连接有卡圈,过滤箱的上表面开设有安装槽,采用卡合连接的方式,方便过滤箱拆卸,安装槽能够对过滤箱内部进行清理,通过隔板、固定板和挡水板的共同作用,采用沉淀的方式对污水进行初步过滤,成本较低,同时配合第一过滤网和第二过滤网,保证过滤效果。
Description
技术领域
本实用新型涉及喷淋除尘技术领域,具体为一种节能型喷淋除尘净化装置。
背景技术
废气处理设备,主要是运用不同工艺技术,通过回收或去除减少排放尾气的有害成分,达到保护环境、净化空气的一种环保设备,让我们的环境不受到污染,废气处理设备种类很多,且处理方式各不相同,但是随着各种废气的排放,导致目前大气污染越来越严重,使得越来越多的人患上呼吸道肺部等疾病,从而使得废气处理装置越来越备受重视。目前市场上的废气处理装置,结构较为简单,在进行使用时不够节能,容易造成水 资源浪费,且容易出现对废气处理不够完全的现象,从而导致对大气造成污染。
中国专利CN207119222U公开了一种节能型废气处理装置,包括喷淋除尘器和废气处理塔,喷淋除尘器一端通过废气连接管与废气处理入口连通,喷淋除尘器另一端通过废气连接管与增压风机连通,且增压风机一侧通过废气连接管与废气处理塔内部下方的扩装器连通,扩装器内部通过固定底座固定有风扇,废气处理塔内部上方固定有对废气进行脱硫处理的废气脱硫反应层,喷淋除尘器上壳体嵌入有喷淋器。本实用新型中,首先通过设有过滤水箱,从而可以将喷淋除尘器中使用的污水通过过滤水箱进行过滤,然后在通过循环水泵和回收水管将过滤后的水注入到喷漆器中,从而对喷淋水重复进行使用,节约水资源,减少使用成本。
该申请虽然在一定程度上解决了背景技术中的问题,但是该申请中的喷淋除尘器底部固定设有过滤箱,过滤箱内的过滤材料使用超过一定次数后如何进行更换需要解决。
实用新型内容
本实用新型的目的在于提供一种节能型喷淋除尘净化装置,具有方便清理,节约成本的优点,解决了现有技术中的问题。
为实现上述目的,本实用新型提供如下技术方案:一种节能型喷淋除尘净化装置,包括除尘箱,所述除尘箱的上端安装有除尘器,除尘箱的两端分别开设有进气口和出气口,除尘箱的下表面固定连接有出水口,出水口两侧的除尘箱内连接有斜坡,除尘箱外部的下表面连接有卡圈,卡圈卡合连接有过滤箱,所述过滤箱的上表面开设有安装槽,安装槽与卡圈卡合连接,过滤箱内部的一端连接有隔板,隔板的两侧与过滤箱的侧壁固定连接,隔板一端的上表面固定连接有固定板,固定板的两端与过滤箱的侧壁固定连接,固定板的上端连接有第一过滤网,第一过滤网的上端与过滤箱的顶部连接,过滤箱的侧壁上交错连接有插槽,插槽内插接有挡水板,过滤箱远离固定板的一端连接有抽水管,过滤箱远离抽水管的一端连接有排水管,所述挡水板的一端与插槽卡合连接,挡水板之间连接有固定架,固定架的两端固定连接有卡块,卡块与挡水板的上侧卡合连接,所述抽水管贯穿过滤箱,抽水管置于过滤箱外部的一端连接有第一法兰,抽水管靠近第一法兰一端的内壁上开设有凹槽,凹槽内安装有第二过滤网,第一法兰通过螺栓连接有抽水泵,抽水泵的输出端连接有送水管,送水管通过第二法兰与除尘器连接,所述除尘器远离第二法兰的一端连接有进水管,除尘器的下表面固定连接有等距离分布的喷淋头,喷淋头贯穿除尘器,并延伸至除尘器的内部。
优选的,所述出水口延伸至安装槽内,且出水口位于挡水板的一侧。
优选的,所述斜坡的最低端与出水口的上端固定连接。
优选的,所述固定板的高度低于挡水板的高度,挡水板的长度短于过滤箱的内部宽度。
优选的,所述过滤箱靠近排水管一端的外表面连接有透明板。
优选的,所述第一法兰和第二法兰的安装处均连接有密封垫。
与现有技术相比,本实用新型的有益效果如下:
本节能型喷淋除尘净化装置,除尘箱外部的下表面连接有卡圈,过滤箱的上表面开设有安装槽,安装槽与卡圈卡合连接,采用卡合连接的方式,方便过滤箱拆卸,安装槽能够对过滤箱内部进行清理,另外在过滤箱的内部连接有隔板,通过隔板、固定板和挡水板的共同作用,污水呈S形在隔板的上方流淌,充分进行沉淀的污水,水中的颗粒物与水分离,采用沉淀的方式对污水进行初步过滤,成本较低,同时配合第一过滤网和第二过滤网,保证过滤效果。
附图说明
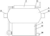
图1为本实用新型的整体结构图;
图2为本实用新型的剖面图;
图3为本实用新型的除尘箱仰视图;
图4为本实用新型的过滤箱俯视图;
图5为本实用新型的抽水管结构图。
图中:1、除尘箱;11、进气口;12、出气口;13、出水口;14、斜坡;15、卡圈;2、除尘器;21、进水管;22、喷淋头;3、过滤箱;31、安装槽;32、隔板;33、固定板;34、第一过滤网;35、插槽;36、排水管;37、透明板;4、挡水板;41、固定架;42、卡块;5、抽水管;51、第一法兰;52、凹槽;53、第二过滤网;54、抽水泵;55、送水管;56、第二法兰。
具体实施方式
下面将结合本实用新型实施例中的附图,对本实用新型实施例中的技术方案进行清楚、完整地描述,显然,所描述的实施例仅仅是本实用新型一部分实施例,而不是全部的实施例。基于本实用新型中的实施例,本领域普通技术人员在没有做出创造性劳动前提下所获得的所有其他实施例,都属于本实用新型保护的范围。
请参阅图1-5,一种节能型喷淋除尘净化装置,包括除尘箱1,除尘箱1的上端安装有除尘器2,除尘箱1的两端分别开设有进气口11和出气口12,除尘气体从进气口11进入,从出气口12排出,除尘箱1的下表面固定连接有出水口13,出水口13两侧的除尘箱1内连接有斜坡14,斜坡14的最低端与出水口13的上端固定连接,斜坡14将除尘箱1内的除尘水集中至出水口13排出,除尘箱1外部的下表面连接有卡圈15,卡圈15卡合连接有过滤箱3,过滤箱3的上表面开设有安装槽31,安装槽31与卡圈15卡合连接,采用卡合连接的方式,方便过滤箱3拆卸,出水口13延伸至安装槽31内,且出水口13位于挡水板4的一侧,出水口13将除尘箱1内的除尘水排出至过滤箱3内,过滤箱3内部的一端连接有隔板32,隔板32的两侧与过滤箱3的侧壁固定连接,隔板32一端的上表面固定连接有固定板33,固定板33的两端与过滤箱3的侧壁固定连接,隔板32和固定板33将过滤箱3隔成上下两个空间,固定板33的上端连接有第一过滤网34,第一过滤网34的上端与过滤箱3的顶部连接,第一过滤网34对污水进行第一次过滤,过滤箱3的侧壁上交错连接有插槽35,插槽35内插接有挡水板4,固定板33的高度低于挡水板4的高度,防止污水直接流入到隔板32的下方,挡水板4的长度短于过滤箱3的内部宽度,使得污水从挡水板4的一端流过,通过交错分布的插槽35将挡水板4安装成交错分布的状态,污水呈S形在隔板32的上方流淌,挡水板4能降低污水的水流速度,污水充分进行沉淀,将水中的颗粒物与水分离,经过沉淀后的污水流至固定板33的一侧时,水流漫过固定板33会流淌至隔板32的下方,过滤箱3远离固定板33的一端连接有抽水管5,过滤箱3远离抽水管5的一端连接有排水管36,排水管36用于排放多次使用后的污水,过滤箱3靠近排水管36一端的外表面连接有透明板37,透明板37可以用来观察过滤箱3内部的储水量,挡水板4的一端与插槽35卡合连接,挡水板4可以拆卸,在清理沉淀时,可以将挡水板4拆卸,方便对隔板32进行清理,挡水板4之间连接有固定架41,固定架41的两端固定连接有卡块42,卡块42与挡水板4的上侧卡合连接,固定架41用于控制挡水板4之间的距离,防止挡水板4的一端在没有固定的情况下,位置偏移,抽水管5贯穿过滤箱3,抽水管5置于过滤箱3外部的一端连接有第一法兰51,抽水管5靠近第一法兰51一端的内壁上开设有凹槽52,凹槽52内安装有第二过滤网53,第二过滤网53对污水进行二次过滤,保证过滤效果,第一法兰51通过螺栓连接有抽水泵54,抽水泵54通过抽水管5抽取过滤箱3内的储水,抽水泵54的输出端连接有送水管55,送水管55通过第二法兰56与除尘器2连接,送水管55将水送至除尘器2内,再次使用,第一法兰51和第二法兰56的安装处均连接有密封垫,防止漏水,除尘器2远离第二法兰56的一端连接有进水管21,进水管21连接自来水管,除尘器2的下表面固定连接有等距离分布的喷淋头22,喷淋头22贯穿除尘器2,并延伸至除尘器2的内部,通过喷淋头22将水洒至除尘箱1,进行除尘。
工作过程:第一次使用时,通过进水管21将自来水引入除尘器2内进行喷洒除尘,使用过的污水通过出水口13进入至过滤箱3内隔板32上的一端,在挡水板4的阻隔下,污水呈S形在隔板32的上方流淌,挡水板4能降低污水的水流速度,污水充分进行沉淀,将水中的颗粒物与水分离,经过沉淀后的污水流至固定板33的一侧时,上方的清水漫过固定板33流淌至隔板32的下方,同时在第一过滤网34的作用下,对沉淀后的水再次进行过滤,隔板32下方的储水量通过透明板37可以观察,达到可使用的标准时,关闭进水管21,开启抽水管5,将储存水重复使用,需要清理过滤箱3时,将第一法兰51和第二法兰56拆卸后,除尘箱1可以整体拆下,此时通过安装槽31可以对过滤箱3的内进行清理,挡水板4可以拆下,方便清扫沉淀,同时第一过滤网34和第二过滤网53也能进行更换。
综上所述:本节能型喷淋除尘净化装置,除尘箱1外部的下表面连接有卡圈15,过滤箱3的上表面开设有安装槽31,安装槽31与卡圈15卡合连接,采用卡合连接的方式,方便过滤箱3拆卸,安装槽31能够对过滤箱3内部进行清理,另外在过滤箱3的内部连接有隔板32,通过隔板32、固定板33和挡水板4的共同作用,污水呈S形在隔板32的上方流淌,充分进行沉淀的污水,水中的颗粒物与水分离,采用沉淀的方式对污水进行初步过滤,成本较低,同时配合第一过滤网34和第二过滤网53,保证过滤效果。
需要说明的是,在本文中,诸如第一和第二等之类的关系术语仅仅用来将一个实体或者操作与另一个实体或操作区分开来,而不一定要求或者暗示这些实体或操作之间存在任何这种实际的关系或者顺序。而且,术语“包括”、“包含”或者其任何其他变体意在涵盖非排他性的包含,从而使得包括一系列要素的过程、方法、物品或者设备不仅包括那些要素,而且还包括没有明确列出的其他要素,或者是还包括为这种过程、方法、物品或者设备所固有的要素。
尽管已经示出和描述了本实用新型的实施例,对于本领域的普通技术人员而言,可以理解在不脱离本实用新型的原理和精神的情况下可以对这些实施例进行多种变化、修改、替换和变型,本实用新型的范围由所附权利要求及其等同物限定。
Claims (6)
1.一种节能型喷淋除尘净化装置,包括除尘箱(1),其特征在于:所述除尘箱(1)的上端安装有除尘器(2),除尘箱(1)的两端分别开设有进气口(11)和出气口(12),除尘箱(1)的下表面固定连接有出水口(13),出水口(13)两侧的除尘箱(1)内连接有斜坡(14),除尘箱(1)外部的下表面连接有卡圈(15),卡圈(15)卡合连接有过滤箱(3),所述过滤箱(3)的上表面开设有安装槽(31),安装槽(31)与卡圈(15)卡合连接,过滤箱(3)内部的一端连接有隔板(32),隔板(32)的两侧与过滤箱(3)的侧壁固定连接,隔板(32)一端的上表面固定连接有固定板(33),固定板(33)的两端与过滤箱(3)的侧壁固定连接,固定板(33)的上端连接有第一过滤网(34),第一过滤网(34)的上端与过滤箱(3)的顶部连接,过滤箱(3)的侧壁上交错连接有插槽(35),插槽(35)内插接有挡水板(4),过滤箱(3)远离固定板(33)的一端连接有抽水管(5),过滤箱(3)远离抽水管(5)的一端连接有排水管(36),所述挡水板(4)的一端与插槽(35)卡合连接,挡水板(4)之间连接有固定架(41),固定架(41)的两端固定连接有卡块(42),卡块(42)与挡水板(4)的上侧卡合连接,所述抽水管(5)贯穿过滤箱(3),抽水管(5)置于过滤箱(3)外部的一端连接有第一法兰(51),抽水管(5)靠近第一法兰(51)一端的内壁上开设有凹槽(52),凹槽(52)内安装有第二过滤网(53),第一法兰(51)通过螺栓连接有抽水泵(54),抽水泵(54)的输出端连接有送水管(55),送水管(55)通过第二法兰(56)与除尘器(2)连接,所述除尘器(2)远离第二法兰(56)的一端连接有进水管(21),除尘器(2)的下表面固定连接有等距离分布的喷淋头(22),喷淋头(22)贯穿除尘器(2),并延伸至除尘器(2)的内部。
2.根据权利要求1所述的一种节能型喷淋除尘净化装置,其特征在于:所述出水口(13)延伸至安装槽(31)内,且出水口(13)位于挡水板(4)的一侧。
3.根据权利要求1所述的一种节能型喷淋除尘净化装置,其特征在于:所述斜坡(14)的最低端与出水口(13)的上端固定连接。
4.根据权利要求1所述的一种节能型喷淋除尘净化装置,其特征在于:所述固定板(33)的高度低于挡水板(4)的高度,挡水板(4)的长度短于过滤箱(3)的内部宽度。
5.根据权利要求1所述的一种节能型喷淋除尘净化装置,其特征在于:所述过滤箱(3)靠近排水管(36)一端的外表面连接有透明板(37)。
6.根据权利要求1所述的一种节能型喷淋除尘净化装置,其特征在于:所述第一法兰(51)和第二法兰(56)的安装处均连接有密封垫。
Priority Applications (1)
| Application Number | Priority Date | Filing Date | Title |
|---|---|---|---|
| CN201920295081.0U CN209917521U (zh) | 2019-03-08 | 2019-03-08 | 一种节能型喷淋除尘净化装置 |
Applications Claiming Priority (1)
| Application Number | Priority Date | Filing Date | Title |
|---|---|---|---|
| CN201920295081.0U CN209917521U (zh) | 2019-03-08 | 2019-03-08 | 一种节能型喷淋除尘净化装置 |
Publications (1)
| Publication Number | Publication Date |
|---|---|
| CN209917521U true CN209917521U (zh) | 2020-01-10 |
Family
ID=69069562
Family Applications (1)
| Application Number | Title | Priority Date | Filing Date |
|---|---|---|---|
| CN201920295081.0U Expired - Fee Related CN209917521U (zh) | 2019-03-08 | 2019-03-08 | 一种节能型喷淋除尘净化装置 |
Country Status (1)
| Country | Link |
|---|---|
| CN (1) | CN209917521U (zh) |
Cited By (1)
| Publication number | Priority date | Publication date | Assignee | Title |
|---|---|---|---|---|
| CN113019032A (zh) * | 2021-03-30 | 2021-06-25 | 山东工业职业学院 | 一种烟气脱硫脱硝预处理装置 |
-
2019
- 2019-03-08 CN CN201920295081.0U patent/CN209917521U/zh not_active Expired - Fee Related
Cited By (1)
| Publication number | Priority date | Publication date | Assignee | Title |
|---|---|---|---|---|
| CN113019032A (zh) * | 2021-03-30 | 2021-06-25 | 山东工业职业学院 | 一种烟气脱硫脱硝预处理装置 |
Similar Documents
| Publication | Publication Date | Title |
|---|---|---|
| CN118217752A (zh) | 一种撬装式智能高效湿式除尘设备 | |
| CN114288788A (zh) | 一种转炉炼钢烟气用除尘装置 | |
| CN209917521U (zh) | 一种节能型喷淋除尘净化装置 | |
| CN207462906U (zh) | 一种新风系统净化除尘装置 | |
| CN207654875U (zh) | 除尘装置和除尘设备 | |
| CN207745654U (zh) | 一种便于清除内部灰尘的烟气除尘装置 | |
| CN214209922U (zh) | 一种用于环境保护的烟气脱硫脱硝设备 | |
| CN108722092A (zh) | 一种废气净化塔 | |
| CN106823641A (zh) | 一种高蛋白燃料锅炉尾气除尘装置 | |
| CN212383402U (zh) | 一种高效涂料生产除尘及废气处理系统 | |
| CN219664005U (zh) | 一种湿式静电除尘器 | |
| CN106039886A (zh) | 涂装废气处理设备 | |
| CN218249318U (zh) | 一种除尘除雾设备 | |
| CN206934993U (zh) | 一种新型除尘器 | |
| CN216537549U (zh) | 一种可多级净化的废气处理排放装置 | |
| CN214345316U (zh) | 一种用于水帘喷漆室的净化装置 | |
| CN211302495U (zh) | 一种化工用环保的废气脱硫塔 | |
| CN211913155U (zh) | 一种新型空气净化设备 | |
| CN214552100U (zh) | 一种高效光解活性炭一体机 | |
| CN210509254U (zh) | 隧道工作面污风循环利用装置 | |
| CN114053820A (zh) | 一种工业节能减排式烟尘净化器 | |
| CN208320292U (zh) | 水除尘装置 | |
| CN219518267U (zh) | 一种石材加工喷水除尘设备 | |
| CN205683772U (zh) | 涂装废气处理设备 | |
| CN220478476U (zh) | 一种废气净化环保设备 |
Legal Events
| Date | Code | Title | Description |
|---|---|---|---|
| GR01 | Patent grant | ||
| GR01 | Patent grant | ||
| CF01 | Termination of patent right due to non-payment of annual fee | ||
| CF01 | Termination of patent right due to non-payment of annual fee |
Granted publication date: 20200110 |