CN203670023U - Oil injector, diesel engine and sealing part for oil injector - Google Patents

Oil injector, diesel engine and sealing part for oil injector Download PDF

Info

Publication number
CN203670023U
CN203670023U CN201320683285.4U CN201320683285U CN203670023U CN 203670023 U CN203670023 U CN 203670023U CN 201320683285 U CN201320683285 U CN 201320683285U CN 203670023 U CN203670023 U CN 203670023U
Authority
CN
China
Prior art keywords
seal
fuel injector
hole
sealing
diesel engine
Prior art date
Legal status (The legal status is an assumption and is not a legal conclusion. Google has not performed a legal analysis and makes no representation as to the accuracy of the status listed.)
Expired - Lifetime
Application number
CN201320683285.4U
Other languages
Chinese (zh)
Inventor
楼建平
朱国华
李晓琴
邢东仕
颜黄斌
李世宁
卢静
高宇
程连宏
Current Assignee (The listed assignees may be inaccurate. Google has not performed a legal analysis and makes no representation or warranty as to the accuracy of the list.)
SAIC Motor Corp Ltd
Kunming Yunnei Power Co Ltd
Original Assignee
SAIC Motor Corp Ltd
Kunming Yunnei Power Co Ltd
Priority date (The priority date is an assumption and is not a legal conclusion. Google has not performed a legal analysis and makes no representation as to the accuracy of the date listed.)
Filing date
Publication date
Application filed by SAIC Motor Corp Ltd, Kunming Yunnei Power Co Ltd filed Critical SAIC Motor Corp Ltd
Priority to CN201320683285.4U priority Critical patent/CN203670023U/en
Application granted granted Critical
Publication of CN203670023U publication Critical patent/CN203670023U/en
Anticipated expiration legal-status Critical
Expired - Lifetime legal-status Critical Current

Links

Images

Landscapes

  • Cylinder Crankcases Of Internal Combustion Engines (AREA)

Abstract

本实用新型涉及一种用于喷油器的密封件,所述密封件布置在气门室罩盖的安装孔上,所述密封件包括由弹性材料制成的本体部分和突出部分,其中所述本体部分设置有用于插入所述喷油器的通孔,并且在所述通孔内设置有用于密封的凸起的唇部,所述唇部是沿所述通孔的径向环绕设置的;所述突出部分是环绕设置在所述本体部分的侧部上的,并且在所述突出部分中设置有由金属材料制成的骨架部分。本实用新型还涉及设置有该密封件的喷油器以及配置有该喷油器的柴油机。本实用新型的用于喷油器的密封件可以有效解决润滑机油及油气容易泄漏等问题,并且设置有该用于喷油器的密封件的柴油机能显著降低机油耗。

The utility model relates to a seal for an injector, the seal is arranged on the mounting hole of a valve chamber cover, the seal includes a body part and a protruding part made of elastic material, wherein the The body part is provided with a through hole for inserting the fuel injector, and a protruding lip for sealing is provided in the through hole, and the lip is arranged around the radial direction of the through hole; The protruding portion is provided circumferentially on a side portion of the body portion, and a skeleton portion made of a metal material is provided in the protruding portion. The utility model also relates to a fuel injector provided with the sealing member and a diesel engine equipped with the fuel injector. The sealing part for the fuel injector of the utility model can effectively solve problems such as easy leakage of lubricating engine oil and oil gas, and the diesel engine provided with the sealing part for the fuel injector can significantly reduce engine oil consumption.

Description

用于喷油器的密封件、喷油器和柴油机Seals for injectors, injectors and diesel engines

技术领域 technical field

本实用新型属于汽车发动机技术领域,尤其涉及一种用于喷油器的密封件、设置有该密封件的喷油器以及配置有该喷油器的柴油机。 The utility model belongs to the technical field of automobile engines, and in particular relates to a seal used for a fuel injector, a fuel injector provided with the seal and a diesel engine equipped with the fuel injector.

背景技术 Background technique

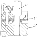
目前国内传统的缸内直喷柴油机一般采用端面密封的方式来密封喷油器。如图1所示,用于喷油器的密封件1’布置在气门室罩盖2’与缸盖3’之间,装配时需从上方将喷油器4’穿过气门室罩盖2’插入缸盖3’内。 At present, domestic traditional in-cylinder direct injection diesel engines generally use end face sealing to seal the fuel injector. As shown in Figure 1, the seal 1' for the fuel injector is arranged between the valve chamber cover 2' and the cylinder head 3', and the fuel injector 4' needs to pass through the valve chamber cover 2 from above during assembly 'Insert cylinder head 3'.

这种端面密封方式的缺点在于,第一,缸盖的上顶面与气门室罩盖下部密封槽组成了与密封件配合的两个密封端面,但由于缸盖的顶部结构复杂并且缸盖与气门室罩盖之间存在一定的装配误差,难以保证密封件在缸盖的上顶面的密封端面的完整性;第二,气门室罩盖上的密封槽的铸造面公差较大,其与缸盖之间的高度差难以保证密封件压缩比稳定在有效密封范围内,导致缸盖3’的端面处容易形成润滑机油及油气的渗漏(见图2),不仅使得发动机油耗升高而且降低产品的可靠性。  The disadvantage of this end face sealing method is that, first, the upper top surface of the cylinder head and the lower sealing groove of the valve chamber cover form two sealing end faces that cooperate with the seal, but due to the complicated structure of the top of the cylinder head and the relationship between the cylinder head and the There is a certain assembly error between the valve chamber covers, and it is difficult to ensure the integrity of the sealing end surface of the seal on the upper top surface of the cylinder head; second, the casting surface tolerance of the sealing groove on the valve chamber cover is relatively large, which is different from The height difference between the cylinder heads is difficult to ensure that the compression ratio of the seals is stable within the effective sealing range, resulting in easy leakage of lubricating oil and oil gas at the end face of the cylinder head 3' (see Figure 2), which not only increases the fuel consumption of the engine but also Reduce product reliability. the

因此,研究并改进现有的用于喷油器的密封件的结构构造,对于柴油机的性能提高无疑是具有重大意义的。 Therefore, it is of great significance to study and improve the existing structure of the seal used for the fuel injector to improve the performance of the diesel engine.

实用新型内容 Utility model content

有鉴于此,本实用新型的目的在于提供一种用于喷油器的密封件、设置有该密封件的喷油器以及配置有该喷油器的柴油机,以便能够有效地解决现有技术中存在的上述及其他方面的问题。 In view of this, the purpose of the utility model is to provide a seal for a fuel injector, a fuel injector provided with the seal and a diesel engine equipped with the fuel injector, so as to effectively solve the problems in the prior art. The above-mentioned and other problems that exist.

为实现上述的目的,本实用新型采用了以下技术方案: In order to achieve the above-mentioned purpose, the utility model adopts the following technical solutions:

一种用于喷油器的密封件,所述密封件布置在气门室罩盖的安装孔上,所述密封件包括由弹性材料制成的本体部分和突出部分,其中 A seal for a fuel injector, the seal being arranged on a mounting hole of a valve chamber cover, the seal comprising a body portion and a protruding portion made of an elastic material, wherein

所述本体部分设置有用于插入所述喷油器的通孔,并且在所述通孔内设置有用于密封的凸起的唇部,所述唇部是沿所述通孔的径向环绕设置的; The body part is provided with a through hole for inserting the fuel injector, and a raised lip for sealing is provided in the through hole, and the lip is arranged around the radial direction of the through hole of;

所述突出部分是环绕设置在所述本体部分的侧部上的,并且在所述突出部分中设置有由金属材料制成的骨架部分。 The protruding portion is provided circumferentially on a side portion of the body portion, and a skeleton portion made of a metal material is provided in the protruding portion.

在上述的密封件中,优选地,所述唇部是沿所述通孔的径向环绕设置的。 In the above sealing element, preferably, the lip is arranged around the radial direction of the through hole.

在上述的密封件中,优选地,所述通孔的所述唇部与所述喷油器是过盈配合的。 In the above sealing element, preferably, the lip of the through hole is in an interference fit with the fuel injector.

在上述的密封件中,优选地,所述密封件的所述突出部分与所述气门室罩盖的安装孔是过盈配合的。 In the above seal, preferably, the protruding portion of the seal is interference-fitted with the mounting hole of the valve chamber cover.

在上述的密封件中,优选地,所述突出部分的外表面呈波纹或锯齿形形状。 In the above seal, preferably, the outer surface of the protruding portion is corrugated or sawtooth-shaped.

在上述的密封件中,优选地,所述弹性材料是橡胶。 In the above seal, preferably, the elastic material is rubber.

一种喷油器,所述喷油器设置有以上任一或多项所述的密封件。 A fuel injector, the fuel injector is provided with any one or more of the above seals.

一种柴油机,所述柴油机配置有上述的喷油器。 A diesel engine is equipped with the above fuel injector.

本实用新型的技术方案与现有设计方案相比,一方面密封件采用突出部与气门室罩盖的安装孔的配合实现了气门室罩盖与密封件之间的密封,另一方面密封件的通孔采用凸起的唇部与喷油器的紧配合实现了喷油器与密封件之间的密封,通过上述密封方式能够有效地防止润滑机油及油气的泄露,以此降低柴油机的油耗。 Compared with the existing design scheme, the technical solution of the utility model realizes the sealing between the valve chamber cover and the sealing member by the cooperation of the protrusion and the installation hole of the valve chamber cover on the one hand, and the seal on the other hand The through hole adopts the tight fit between the protruding lip and the injector to realize the seal between the injector and the seal. Through the above sealing method, the leakage of lubricating oil and oil gas can be effectively prevented, thereby reducing the fuel consumption of the diesel engine .

附图说明 Description of drawings

以下将结合附图和实施例,对本实用新型的技术方案作进一步的详细描述,其中: Below in conjunction with accompanying drawing and embodiment, the technical solution of the utility model is described in further detail, wherein:

图1是现有技术中的用于喷油器的密封件的装配示意图。 Fig. 1 is a schematic diagram of assembly of a seal used in a fuel injector in the prior art.

图2是现有技术中的缸盖顶面的结构示意图。 Fig. 2 is a structural schematic diagram of the top surface of the cylinder head in the prior art.

图3是本实用新型的用于喷油器的密封件的一个实施例的局部截面视图。 FIG. 3 is a partial cross-sectional view of an embodiment of a seal for a fuel injector of the present invention.

图4是图3中的用于喷油器的密封件的装配示意图。 FIG. 4 is a schematic assembly diagram of the seal used in the fuel injector in FIG. 3 .

具体实施方式 Detailed ways

首先,需要说明的是,以下将以示例方式来具体说明本实用新型的用于喷油器的密封件以及设置有该密封件的喷油器的结构构造、特点以及优点,然而所有的描述仅是用来进行说明的,而不应将它们理解为对本实用新型形成任何的限制。此外,在本文所提及的各实施例中予以描述或隐含的任意单个技术特征,或者被显示或隐含在各附图中的任意单个技术特征,仍然可以在这些技术特征(或其等同物)之间继续进行任意组合或者删减,从而获得可能未在本文中直接提及的本实用新型的更多其他实施例。 First of all, it should be noted that the structure, features and advantages of the seal for the fuel injector of the present invention and the fuel injector provided with the seal will be described in detail below by way of example, but all descriptions are only are used for illustration, but they should not be construed as forming any limitation on the utility model. In addition, any single technical feature described or implied in each embodiment mentioned herein, or any single technical feature shown or implied in each drawing, can still be included in these technical features (or their equivalents) Objects) continue to make any combination or deletion, so as to obtain more other embodiments of the present utility model that may not be directly mentioned herein.

如图2所示,它在示意性地图示出了本实用新型的用于喷油器的密封件的一个实施例的局部截面示意图。密封件1具有由诸如橡胶等弹性材料制成的本体部分2和突出部分3,本体部分2设置有用于插入喷油器的通孔,并且在通孔的侧壁处设置有凸起的唇部4,唇部4可以是沿通孔的径向环绕设置的凸起部。突出部分3环绕设置在本体部分2的侧部处。出于增强密封件的突出部分的结构强度的目的,在该突出部分中设置有由金属材料制成的骨架部分5。该骨架部分5可通过硫化等工艺粘结在密封件的突出部分3中。请参阅图4,在装配时操作人员使用特制的工装将密封件1安装在气门室罩盖8的安装孔内,形成密封件1与气门室罩盖8之间的密封,随后将喷油器7从密封件1中插入缸盖9中,形成密封件1与喷油器7之间的密封。 As shown in FIG. 2 , it schematically shows a partial cross-sectional view of an embodiment of the seal for the fuel injector of the present invention. The seal 1 has a body part 2 made of elastic material such as rubber and a protruding part 3, the body part 2 is provided with a through hole for inserting the fuel injector, and a raised lip is provided at the side wall of the through hole 4. The lip 4 may be a raised portion arranged around the radial direction of the through hole. The protruding portion 3 is provided circumferentially at the side of the body portion 2 . For the purpose of enhancing the structural strength of the protruding portion of the seal, a skeleton portion 5 made of a metal material is provided in the protruding portion. The skeleton part 5 can be bonded in the protruding part 3 of the seal by vulcanization or the like. Please refer to Figure 4. During assembly, the operator uses special tooling to install the seal 1 in the installation hole of the valve chamber cover 8 to form a seal between the seal 1 and the valve chamber cover 8, and then install the injector 7 is inserted into the cylinder head 9 from the seal 1 to form a seal between the seal 1 and the fuel injector 7 .

结合上述实施例在其它一些实施例中,为了使密封件与喷油器之间的密封效果更好,密封件的通孔的唇部4与喷油器7可以是过盈配合的。当喷油器插入密封件时,密封件的唇部受到挤压并且发生预期的变形,以此产生足够的密封压力使得密封件与喷油器紧紧地配合在一起。 In some other embodiments, in order to improve the sealing effect between the seal and the fuel injector, the lip 4 of the through hole of the seal and the fuel injector 7 may be in an interference fit. When the injector is inserted into the seal, the lips of the seal are squeezed and deformed in anticipation, thereby generating sufficient sealing pressure to make the seal fit tightly with the injector.

作为优选,突出部分的外表面6(即突出部分上与气门室罩盖的安装孔贴合的表面)可以设计成呈波纹或锯齿形形状,以此增大密封件的突出部分与气门室罩盖的安装孔间的密封压力使气门室罩盖与密封件之间的密封效果更好。当然,突出部分的外表面6的形状也可以根据不同的实际情况灵活设计,并且除了上述波纹或锯齿形状还可以设计成其它不规则的形状。此外,出于节省制造成本等原因,该突出部分的外表面上不考虑设置该波纹或锯齿形形状或采用其它形式也是同样可以接收的。在该优选的情形下,密封件的突出部分与气门室罩盖的安装孔可以是过盈配合的。 As a preference, the outer surface 6 of the protruding part (that is, the surface on the protruding part that fits the mounting hole of the valve chamber cover) can be designed in a corrugated or zigzag shape, so as to increase the contact between the protruding part of the seal and the valve chamber cover. The sealing pressure between the mounting holes of the cover makes the sealing effect between the valve cover and the seal better. Of course, the shape of the outer surface 6 of the protruding part can also be flexibly designed according to different actual situations, and other irregular shapes can also be designed in addition to the above-mentioned corrugated or sawtooth shape. In addition, for the reasons of saving manufacturing cost and the like, it is also acceptable to not consider setting the corrugated or zigzag shape on the outer surface of the protruding portion or to adopt other forms. In this preferred case, the protruding portion of the seal may have an interference fit with the mounting hole of the valve chamber cover.

综上所述,本实用新型的用于喷油器的密封件一改常用的端面密封方式而采用径向静密封方式,能够保证密封件与气门室罩盖之间以及密封件与喷油器之间密封面的完整性,从而获得理想的密封效果。此外,鉴于该用于喷油器的密封件结构简单、安装方便,可以满足标准化生产的条件,因此十分推荐这种密封件与喷油器配套使用,同时建议在柴油机中推广应用设置有该密封件的喷油器。 To sum up, the seal used for the fuel injector of the utility model changes the commonly used end face seal method and adopts the radial static seal method, which can ensure the seal between the seal and the valve chamber cover and between the seal and the fuel injector. The integrity of the sealing surface between them, so as to obtain the ideal sealing effect. In addition, in view of the simple structure and easy installation of the seal used for fuel injectors, which can meet the conditions of standardized production, it is highly recommended that this seal be used in conjunction with fuel injectors, and it is recommended to promote the application of this seal in diesel engines. parts of the injector.

以上列举了若干具体实施例来详细阐明本实用新型的用于喷油器的密封件、设置有该密封件的喷油器以及配置有该喷油器的柴油机,这些个例仅供说明本实用新型的原理及其实施方式之用,而非对本实用新型的限制,在不脱离本实用新型的精神和范围的情况下,本领域的普通技术人员还可以做出各种变形和改进。因此,所有等同的技术方案均应属于本实用新型的范畴并为本实用新型的各项权利要求所限定。 A number of specific embodiments have been listed above to illustrate in detail the seal for the fuel injector of the present invention, the fuel injector provided with the seal and the diesel engine equipped with the fuel injector. These examples are only for illustrating the utility model. The principle of the new model and its implementation are used instead of limiting the utility model, and those skilled in the art can make various modifications and improvements without departing from the spirit and scope of the utility model. Therefore, all equivalent technical solutions should belong to the scope of the utility model and be limited by the claims of the utility model.

Claims (7)

1.一种用于喷油器的密封件,所述密封件布置在气门室罩盖的安装孔上,其特征在于,所述密封件包括由弹性材料制成的本体部分和突出部分,其中 1. A seal for a fuel injector, said seal being arranged on a mounting hole of a valve chamber cover, characterized in that said seal comprises a body portion and a protruding portion made of elastic material, wherein 所述本体部分设置有用于插入所述喷油器的通孔,并且在所述通孔内设置有用于密封的凸起的唇部,所述唇部是沿所述通孔的径向环绕设置的; The body part is provided with a through hole for inserting the fuel injector, and a raised lip for sealing is provided in the through hole, and the lip is arranged around the radial direction of the through hole of; 所述突出部分是环绕设置在所述本体部分的侧部上的,并且在所述突出部分中设置有由金属材料制成的骨架部分。 The protruding portion is provided circumferentially on a side portion of the body portion, and a skeleton portion made of a metal material is provided in the protruding portion. 2.根据权利要求1所述的密封件,其特征在于,所述通孔的所述唇部与所述喷油器是过盈配合的。 2. The seal of claim 1 wherein said lip of said through hole is an interference fit with said fuel injector. 3.根据权利要求1所述的密封件,其特征在于,所述密封件的所述突出部分与所述气门室罩盖的安装孔是过盈配合的。 3. The sealing member according to claim 1, wherein the protruding portion of the sealing member is an interference fit with the mounting hole of the valve chamber cover. 4.根据权利要求1-3中任一项所述的密封件,其特征在于,所述突出部分的外表面呈波纹或锯齿形形状。 4. The sealing member according to any one of claims 1-3, characterized in that, the outer surface of the protruding portion is corrugated or saw-toothed. 5.根据权利要求1-3中任一项所述的密封件,其特征在于,所述弹性材料是橡胶。 5. The seal according to any one of claims 1-3, wherein the elastic material is rubber. 6.一种喷油器,其特征在于,所述喷油器设置有根据权利要求1-5中任一或多项所述的密封件。 6. A fuel injector, characterized in that the fuel injector is provided with the sealing member according to any one or more of claims 1-5. 7.一种柴油机,其特征在于,所述柴油机配置有根据权利要求6所述的喷油器。 7. A diesel engine, characterized in that the diesel engine is equipped with the fuel injector according to claim 6.
CN201320683285.4U 2013-11-01 2013-11-01 Oil injector, diesel engine and sealing part for oil injector Expired - Lifetime CN203670023U (en)

Priority Applications (1)

Application Number Priority Date Filing Date Title
CN201320683285.4U CN203670023U (en) 2013-11-01 2013-11-01 Oil injector, diesel engine and sealing part for oil injector

Applications Claiming Priority (1)

Application Number Priority Date Filing Date Title
CN201320683285.4U CN203670023U (en) 2013-11-01 2013-11-01 Oil injector, diesel engine and sealing part for oil injector

Publications (1)

Publication Number Publication Date
CN203670023U true CN203670023U (en) 2014-06-25

Family

ID=50966331

Family Applications (1)

Application Number Title Priority Date Filing Date
CN201320683285.4U Expired - Lifetime CN203670023U (en) 2013-11-01 2013-11-01 Oil injector, diesel engine and sealing part for oil injector

Country Status (1)

Country Link
CN (1) CN203670023U (en)

Cited By (2)

* Cited by examiner, † Cited by third party
Publication number Priority date Publication date Assignee Title
CN104632459A (en) * 2015-01-26 2015-05-20 陕西北方动力有限责任公司 In-line four-cylinder water-cooling diesel engine cylinder head cover
CN108495994A (en) * 2015-11-26 2018-09-04 罗伯特·博世有限公司 Sealing element and fuel injector with sealing element

Cited By (3)

* Cited by examiner, † Cited by third party
Publication number Priority date Publication date Assignee Title
CN104632459A (en) * 2015-01-26 2015-05-20 陕西北方动力有限责任公司 In-line four-cylinder water-cooling diesel engine cylinder head cover
CN108495994A (en) * 2015-11-26 2018-09-04 罗伯特·博世有限公司 Sealing element and fuel injector with sealing element
CN108495994B (en) * 2015-11-26 2021-06-08 罗伯特·博世有限公司 Sealing element and fuel injector with sealing element

Similar Documents

Publication Publication Date Title
CN101892927B (en) Intake system for internal combustion engine
CN203670023U (en) Oil injector, diesel engine and sealing part for oil injector
CN102425520A (en) Embedded oil charging structure for high-pressure fuel oil system
CN202756109U (en) Natural gas engine cylinder cover
CN211598892U (en) Injector bushing sealing structure and engine having the same
CN203570452U (en) Sealing structure of cylinder cover spacer combustion chamber
CN202468120U (en) Fuel injector gasket
CN105464829A (en) Gas sealing structure of cylinder cover of internal combustion engine
CN206280157U (en) A kind of inlet manifold sealing structure
CN202152710U (en) Single-layer metal cylinder gasket for 1.3L gasoline engine
CN203686129U (en) Steel wire ring structure metal air cylinder pad for engine
CN201599121U (en) Bushing structure of diesel engine cylinder cover
CN203463161U (en) Valve oil seal easy to mount and hard to demount and applied to turbo-charging and cylinder direct injection engine
CN211500855U (en) A fuel injector sealing structure
CN204088880U (en) A kind of mounting structure of spark plug protective sleeve
CN203570449U (en) High-pressure oil spraying type sealing piston
CN219993804U (en) Anticreep formula seal structure and engine
CN207454104U (en) The connecting flange of novel energy internal combustion engine
CN108150303B (en) An engine cylinder head cover gasket
CN203453466U (en) Non-asbestos gasket capable of improving sealing performance and used for engine
CN213541034U (en) Insert nut and plastic part
CN205260175U (en) Compound air intake manifold that sprays of direct injection gasoline engine
CN204200398U (en) A kind of symmetry takes overlapped piston ring
CN202188270U (en) Fly wheel cover with sealing ring
CN203856580U (en) Single-cylinder engine and rear cover board thereof

Legal Events

Date Code Title Description
C14 Grant of patent or utility model
GR01 Patent grant
CX01 Expiry of patent term

Granted publication date: 20140625

CX01 Expiry of patent term