CN203664434U - Automatic pressure wave device - Google Patents

Automatic pressure wave device Download PDF

Info

Publication number
CN203664434U
CN203664434U CN201420006919.7U CN201420006919U CN203664434U CN 203664434 U CN203664434 U CN 203664434U CN 201420006919 U CN201420006919 U CN 201420006919U CN 203664434 U CN203664434 U CN 203664434U
Authority
CN
China
Prior art keywords
wave
conveying
height
automatic
lifting
Prior art date
Legal status (The legal status is an assumption and is not a legal conclusion. Google has not performed a legal analysis and makes no representation as to the accuracy of the status listed.)
Expired - Lifetime
Application number
CN201420006919.7U
Other languages
Chinese (zh)
Inventor
黄国浩
宋卫国
杨维廷
吴学奇
Current Assignee (The listed assignees may be inaccurate. Google has not performed a legal analysis and makes no representation or warranty as to the accuracy of the list.)
Taicang CIMC Reefer Logistics Equipment Co Ltd
Original Assignee
China International Marine Containers Group Co Ltd
Shanghai CIMC Reefer Containers Co Ltd
CIMC Containers Holding Co Ltd
Taicang CIMC Reefer Logistics Equipment Co Ltd
Priority date (The priority date is an assumption and is not a legal conclusion. Google has not performed a legal analysis and makes no representation as to the accuracy of the date listed.)
Filing date
Publication date
Application filed by China International Marine Containers Group Co Ltd, Shanghai CIMC Reefer Containers Co Ltd, CIMC Containers Holding Co Ltd, Taicang CIMC Reefer Logistics Equipment Co Ltd filed Critical China International Marine Containers Group Co Ltd
Priority to CN201420006919.7U priority Critical patent/CN203664434U/en
Application granted granted Critical
Publication of CN203664434U publication Critical patent/CN203664434U/en
Anticipated expiration legal-status Critical
Expired - Lifetime legal-status Critical Current

Links

Images

Landscapes

  • Press Drives And Press Lines (AREA)

Abstract

The utility model provides an automatic press ripples device for press ripples and form the buckled plate that has certain wave depth to panel. The automatic wave pressing device comprises a wave pressing machine for pressing waves on the plate, two conveying frames, two conveying devices and two driving motors. The two conveying frames are respectively arranged at the feeding end and the discharging end of the wave pressing machine, one end of the conveying frame close to the wave pressing machine is connected to the top end of a lifting device, one end of the conveying frame far away from the wave pressing machine is movably connected to the top end of a supporting device, the lifting device at least has a first height and a second height, and the second height is higher than at least one wave depth of the first height. The two conveying devices are respectively arranged on the two conveying frames and used for conveying the plates. The two driving motors are respectively arranged on the two conveying frames and used for driving the two conveying devices. The utility model provides an automatic pressure ripples device has improved the degree of automation and the production efficiency of container production, has reduced workman's intensity of labour simultaneously, is favorable to realizing the pipelined production mode of high rhythm.

Description

Automatic pressing wave apparatus
Technical field
The utility model relates to corrugated plating and manufactures field, particularly relates to a kind of automatic pressing wave apparatus.
Background technology
The underframe of container is mainly made up of corrugated plating, beam, goose neck tunnel etc., and wherein underframe corrugated plating has spliced after multiple veneers are pressed ripple respectively.The traditional manufacturing process of corrugated plating is by workman, single steel plate to be transported in punch and to press ripple moulding, by workman, the single steel plate of pressing ripple moulding is transported to next station again and carries out assembled welding and other operations after deburring.This manufacturing process automaticity is low, labor strength is large.
For above problem, the method for taking in the industry at present is normally connected punch cooperation with conveying device, to improving automaticity, reduces labor strength.But in pressure wave process, steel plate, because the punching press meeting of punch produces the contraction of horizontal direction and the displacement of vertical direction, makes the ripple spacing of corrugated plating produce larger error, and then affects the intensity of sheet material.Therefore, by pressing wave device to improve, ensureing, under the prerequisite of corrugated plating quality, to provide a kind of automaticity higher, the pressure wave apparatus that labor strength is lower, has become a large technical problem urgently to be resolved hurrily in the industry.
Utility model content
The utility model will solve and in prior art, press the technical problem that wave device automaticity is lower.
For solving the problems of the technologies described above, the utility model adopts following technical scheme:
The automatic pressing wave apparatus the utility model proposes, for sheet material is pressed ripple and is formed the corrugated plating with certain depth of convolution, wherein, described automatic pressing wave apparatus comprises the punch for press ripple on described sheet material, two carriages, two conveyers and two drive motors, described two carriages are located at respectively described punch feed end and discharge end, described carriage is connected in a lowering or hoisting gear top ends in the one end near described punch, be movably connected on a bracing or strutting arrangement top ends away from one end of described punch, described lowering or hoisting gear at least has the first height and the second height, and the second height is higher than first at least one depth of convolution of height, described two conveyers are located at respectively on described two carriages, for delivery of described sheet material, described two drive motors, be installed on respectively on two carriages, be used for driving two conveyers.
According to an embodiment of the present utility model, described conveyer is conveyer belt, transfer roller.
According to another embodiment, described bracing or strutting arrangement comprises two fixed supporting legs, and described two fixed supporting legs are symmetricly set in described carriage bottom.
According to another embodiment, described carriage is articulated and connected in described fixed supporting leg top ends, or is connected in rotationally described fixed supporting leg top ends.
According to another embodiment, described lowering or hoisting gear comprises two lifting legs, and described two lifting legs are symmetricly set in described carriage bottom.
According to another embodiment, described lifting leg comprises two cylinders, and the cylinder body of described two cylinders links together, and the piston rod of two cylinders stretches out round about.
According to another embodiment, described lifting leg comprises a cylinder.
According to another embodiment, described each carriage top is provided with a transporter to transport described sheet material.
According to another embodiment, described transporter is sucking disc lifting frame or absorbing and hoisting machine.
According to another embodiment, described lowering or hoisting gear also has third high degree, and third high degree is higher than second at least one depth of convolution of height.
As shown from the above technical solution, advantage and the good effect of the automatic pressing wave apparatus the utility model proposes are: the automatic pressing wave apparatus the utility model proposes, by punch and the coordinating of conveyer of being located at punch both sides, the equipment connection of punch and other operations is got up, realize pipeline system production, improved automaticity; This automatic pressing wave apparatus, by the cooperation of bracing or strutting arrangement and lowering or hoisting gear, make carriage and conveyer can coordinate the punching press action of punch, coordinate the lower punching press ripple of punch die head, lifting by lowering or hoisting gear or fall with punch coordinates, lifting or fall carriage, has further improved the automaticity of producing corrugated plating.The automatic pressing wave apparatus the utility model proposes has improved automaticity and the production efficiency of container production, has reduced workman's labour intensity simultaneously, is conducive to realize the pipeline system production model of high rhythm.
Brief description of the drawings
Fig. 1 is the utility model automatic pressing wave apparatus the first embodiment structural representation;
Fig. 2 is the top view of the utility model automatic pressing wave apparatus;
Fig. 3 is the side view of the utility model automatic pressing wave apparatus;
Fig. 4 a is the workflow diagram of the utility model automatic pressing wave apparatus the first embodiment, represents to press wavefront state;
Fig. 4 b is the workflow diagram of the utility model automatic pressing wave apparatus the first embodiment, represents to press wavy state;
Fig. 4 c is the workflow diagram of the utility model automatic pressing wave apparatus the first embodiment, represents travel condition;
Fig. 5 is the structural representation of the utility model automatic pressing wave apparatus the second embodiment;
Fig. 6 a is the workflow diagram of the utility model automatic pressing wave apparatus the second embodiment, represents to press wavefront state;
Fig. 6 b is the workflow diagram of the utility model automatic pressing wave apparatus the second embodiment, represents to press wavy state;
Fig. 6 c is the workflow diagram of the utility model automatic pressing wave apparatus the second embodiment, represents travel condition.
Wherein, description of reference numerals is as follows:
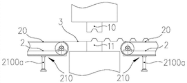
1. punch; 10. upper die head; 11. lower die head; 2. carriage; 20. conveyers; 21. lowering or hoisting gears; 210. lifting legs; 2100. cylinder; 2100a. cylinder body; 2100b. piston rod; 22. bracing or strutting arrangements; 220. fixed supporting leg; 23. drive motors; 24. guiders; 25. lifting keepers; 3. sheet material.
Detailed description of the invention
The exemplary embodiments that embodies the utility model feature & benefits will describe in detail in the following description.Be understood that the utility model can have various variations on different embodiment, it neither departs from scope of the present utility model, and explanation wherein and to be shown in be the use explaining in essence, but not in order to limit the utility model.
The utility model automatic pressing wave apparatus, for sheet material 3 is pressed ripple and formed the corrugated plating with certain depth of convolution, for example, manufactures the end corrugated plating for the production of container.
Embodiment 1
As shown in Figure 1 to Figure 3, the first embodiment of the present utility model, comprises that punch for press ripple on sheet material 31, two carriages 2, two conveyers 20 and two drive the drive motors 23 of these conveyers 20.
As shown in Figure 1 to Figure 3, punch 1 can be selected automatic oil press, but not as limit.The lower die head 11 that punch 1 comprises upper die head 10 and is mated, this upper die head 10 and lower die head 11 can, according to the requirement to corrugated plating waveform, be selected the arc, the rectangle etc. that cooperatively interact, but not as limit.
As depicted in figs. 1 and 2, two carriages 2 are located at respectively feed end and the discharge end of punch 1, these two carriages 2 are being connected in the top ends of a lowering or hoisting gear 21 near one end of this punch 1, in the top ends that is movably connected on a bracing or strutting arrangement 22 away from one end of punch 1, lowering or hoisting gear 21 has two height, i.e. the first height and the second height, and the second height is highly no less than a depth of convolution higher than first.In the present embodiment, this lowering or hoisting gear 21 has two height, and the difference of each height is not less than the depth of convolution of corrugated plating.Each carriage 2 using its bottom two bracing or strutting arrangements 22 and two lowering or hoisting gears 21 as support, fix on the ground or other workbenches on.In working order, these two lowering or hoisting gears 21 taking two bracing or strutting arrangements 22 as axle by this carriage 2 one end jack-up near punch 1, to coordinate the pressure ripple of punch 1.
As depicted in figs. 1 and 2, bracing or strutting arrangement 22 comprises two fixed supporting legs 220, and these two fixed supporting legs 220 are symmetricly set in carriage 2 bottoms.This carriage 2 is articulated and connected in the top ends of this fixed supporting leg 220, but not as limit, for example carriage 2 can also be connected in the top ends of this fixed supporting leg 220 rotationally.
As shown in Figure 4 and Figure 5, lowering or hoisting gear 21 comprises two lifting legs 210, and these two lifting legs 210 are symmetricly set in this carriage 2 bottoms.Each lifting leg 210 comprises a cylinder 2100, and the cylinder body 2100a of this cylinder 2100 and ground or base are fixed, and its piston rod 2100b protrudes upward and is connected in carriage 2 lower surfaces.The stroke of this cylinder 2100 is not less than the depth of convolution of corrugated plating.
By the cooperation of lowering or hoisting gear 21 and bracing or strutting arrangement 22, can realize the adjusting of each carriage 2 on two height., the first height, carriage 2 height in the time that cylinder 2100 does not rise; The second height, carriage 2 height in the time that cylinder 2100 rises.
Further, this first embodiment also comprises synchronous control system, in order to the lifting of pressure ripple and two carriages 2 of Synchronization Control punch 1, makes both cooperatings.Synchronous control system can adopt traditional structure.
As shown in Figure 2, two drive motors 23 are installed on respectively on two carriages, for driving two conveyers 20.
As depicted in figs. 1 and 2, sheet material 3 being pressed in the process of ripple, shrink because the punching press meeting of die head causes the deformation of sheet material 3, therefore can cause pressing the spacing of ripple to occur trickle error.Press wave error to meet the corrugated plating high to required precision in order to reduce, this first embodiment also comprises multiple guiders 24, for example directive wheel, but not as limit.These guiders 24 are arranged on carriage 2, for the input and output direction of sheet material 3 being led in the time pressing ripple.
In addition, as shown in Figure 2, in this first embodiment, conveyer 20 can be selected many feed belts arranged side by side, and multiple lifting keepers 25 are installed on carriage 2, also can be installed on ground, but not as limit.These lifting keepers 25 stretch out the gap of many feed belts and stretch in the wave trough of the corrugated plating of pressing ripple its location, and these lifting keepers 25 are selected cylinder, but not as limit.This kind of structure can, by because punch 1 presses the lateral displacement that ripple produces to be reduced to ideal range to sheet material 3, further be dwindled error.
This first embodiment also comprises two transporters.These two transporters are located at respectively two carriage 2 tops, and this transporter is selected sucking disc lifting frame or absorbing and hoisting machine, but not as limit.Under duty, the transporter of being located at punch 1 feed end transfers to the sheet material of other processing apparatus completion of processing 3 on the conveyer 20 of punch 1 feed end, and sheet material 3 is delivered to punch 1 by this conveyer 20.After punch 1 is pressed ripple, exported by the conveyer 20 of discharge end, and transfer to next station by the transporter of these conveyer 20 tops, further promote automaticity, form complete streamline production model.
As shown in Figure 4, present embodiment is mainly used in, in the time that the lower die head 11 of punch 1 is " protruding " shape, sheet material 3 is pressed to ripple, and its master operation is as follows:
1. press wavefront state, each carriage 2 all rises to the second height near punch 1 one end, makes sheet material 3 on conveyer 20 be not less than the top of the lower die head 11 of punch 1.Drive motors 23 drives two conveyers 20 of both sides to move, transfer sheet materials 3.
2. press wavy state, each carriage 2 is all down to the first height near punch 1 one end, to coordinate the downward punching press of upper die head 10 of punch 1.Punch 1 is pressed ripple to sheet material 3.
3. travel condition, in the time once pressing ripple to finish, after upper die head 10 liftings of punch 1, each carriage 2 all rises to the first height near punch 1 one end, makes sheet material 3 on conveyer 20 be not less than the top of the lower die head 11 of punch 1.Drive motors 23 drives two conveyers 20 of both sides to move, transfer sheet materials 3.
Embodiment 2
As shown in Figure 5 and Figure 6, the general structure of the second embodiment and the first embodiment are basic identical.But in this second embodiment, each carriage 2 has three height, each lowering or hoisting gear 21 can regulate on three height, and the difference of each height is not less than the depth of convolution of corrugated plating.
As shown in Figure 5 and Figure 6, in this second embodiment, the lifting leg 210 of each lowering or hoisting gear 21 includes two cylinders 2100, is different from a cylinder 2100 in the first embodiment.The cylinder body 2100a of every two cylinders 2100 interconnects, and both piston rod 2100b stretch out along contrary direction, connect respectively carriage 2 and ground.Two cylinders 2100 that link together can be realized three adjustings on height, that is, and and the first height, the height in the time that two cylinders 2100 all do not rise; The second height, the height in the time that a cylinder 2100 rises; Third high degree, the height in the time that two cylinders 2100 all rise.
Further, lifting leg 210 also can only include a cylinder 2100.This cylinder 2100 can be selected round trip cylinder, stretches out different length by controlling this cylinder 2100 piston rod 2100b, and three corresponding different height and positions, to replace original two cylinders 2100.
As shown in Figure 6, in the time that the lower die head 11 of punch 1 is " recessed " shape, the pressure ripple operation of present embodiment is as follows:
1. press wavefront state, each carriage 2 all rises to the second height near punch 1 one end, makes sheet material 3 on conveyer 20 be not less than the top of the lower die head 11 of punch 1.Drive motors 23 drives two conveyers 20 of both sides to move, transfer sheet materials 3.
2. press wavy state, the downward punching press of upper die head 10 of punch 1, presses ripple to sheet material 3.For coordinating this action, the carriage 2 of discharge end is down to the first height, and the carriage 2 of feed end keeps the second height.
3. travel condition, in the time once pressing ripple to finish, after upper die head 10 liftings of punch 1, the carriage 2 of being located at feed end rises to third high degree, and the carriage 2 of being located at discharge end rises to the second height.Drive motors 23 drives both sides conveyer 20 to move, transfer sheet materials 3.
Further, this second embodiment also can use in the time that the lower die head of punch 1 11 is " protruding " shape, needs any one cylinder 2100 work in each lifting leg 210.
In sum, the groundwork flow process of the utility model automatic pressing wave apparatus is: press the wavy state → travel condition of the wavy state → travel condition of wavefront state → press → press, as basic circulation until complete the pressure ripple to sheet material 3, and be transported to other equipment by transporter.
According to above embodiment, can carry out multiple conversion to lowering or hoisting gear 210, as directly selected controllable extensible mechanism, for example hydraulically extensible bar, Pneumatic extension bar and controlled multiple-pass cylinder, all do not depart from design of the present utility model or essence.In every case this kind of improvement is all intended to reach the object of adjusting carriage 2 near punch 1 one end height, to realize the function of the pressure ripple that coordinates punch 1, and then improves automaticity.
Though described automatic pressing wave apparatus of the present utility model with reference to several exemplary embodiments, should be understood that term used is explanation and illustrative, and not restrictive.Because the utility model can specifically be implemented in a variety of forms and not depart from its design or essence, therefore, above-described embodiment is not limited to any aforesaid details, and explain widely in the design that should limit in the claim of enclosing and scope, therefore all should be the claim of enclosing, the whole variations in the claim of falling into or its equivalent scope and remodeling contains.

Claims (10)

1.一种自动压波装置,用于对板材(3)压波而形成具有一定波深的波纹板,其特征在于,所述自动压波装置包括:1. An automatic corrugation device, used to form a corrugated plate with a certain wave depth for plate (3) corrugation, it is characterized in that, the automatic corrugation device comprises: 压波机(1),用于在所述板材(3)上压波;A wave pressing machine (1), used for pressing waves on the plate (3); 两个输送架(2),分别设于所述压波机(1)进料端和出料端,所述输送架(2)在靠近所述压波机(1)的一端连接于一升降装置(21)顶端部,在远离所述压波机(1)的一端活动连接于一支撑装置(22),所述升降装置(21)至少具有第一高度和第二高度,且第二高度高于第一高度至少一个波深;Two transport racks (2) are respectively arranged at the feed end and the discharge end of the wave press (1), and the transport rack (2) is connected to a lift at the end close to the wave press (1). The top end of the device (21) is movably connected to a supporting device (22) at an end away from the wave compressor (1), and the lifting device (21) has at least a first height and a second height, and the second height at least one wave depth above the first height; 两个传送装置(20),分别设于所述两个输送架(2)上,用于输送所述板材(3);Two conveying devices (20) are respectively arranged on the two conveying frames (2) for conveying the plates (3); 两个驱动电机(23),分别安装于两个输送架(2)上,用于驱动两个传送装置(20)。Two driving motors (23) are installed on the two conveying frames (2) respectively, and are used to drive the two conveying devices (20). 2.根据权利要求1所述的自动压波装置,其特征在于,所述传送装置(20)为传送带、传送辊。2. The automatic wave pressing device according to claim 1, characterized in that, the conveying device (20) is a conveying belt or a conveying roller. 3.根据权利要求1所述的自动压波装置,其特征在于,所述支撑装置(22)包括两个固定支腿(220),所述两个固定支腿(220)对称设置于所述输送架(2)底部。3. The automatic wave compression device according to claim 1, characterized in that, the support device (22) comprises two fixed legs (220), and the two fixed legs (220) are symmetrically arranged on the The bottom of the conveyor frame (2). 4.根据权利要求3所述的自动压波装置,其特征在于,所述输送架(2)铰接于所述固定支腿(220)顶端部,或者可转动地连接于所述固定支腿(220)顶端部。4. The automatic wave compression device according to claim 3, characterized in that, the transport frame (2) is hinged to the top end of the fixed leg (220), or is rotatably connected to the fixed leg (220) 220) Top end. 5.根据权利要求1所述的自动压波装置,其特征在于,所述升降装置(21)包括两个升降腿(210),所述两个升降腿(210)对称设置于所述输送架(2)底部。5. The automatic wave pressing device according to claim 1, characterized in that, the lifting device (21) includes two lifting legs (210), and the two lifting legs (210) are symmetrically arranged on the conveying frame (2) BOTTOM. 6.根据权利要求5所述的自动压波装置,其特征在于,所述升降腿(210)包括两个气缸(2100),所述两个气缸(2100)的缸体(2100a)连接在一起,两个气缸(2100)的活塞杆(2100b)向相反方向伸出。6. The automatic wave compression device according to claim 5, characterized in that, the lifting leg (210) comprises two air cylinders (2100), and the cylinder bodies (2100a) of the two air cylinders (2100) are connected together , the piston rods (2100b) of the two cylinders (2100) stretch out in opposite directions. 7.根据权利要求5所述的自动压波装置,其特征在于,所述升降腿(21)包括一个气缸(2100)。7. The automatic wave compression device according to claim 5, characterized in that, the lifting leg (21) comprises a cylinder (2100). 8.根据权利要求1所述的自动压波装置,其特征在于,所述每个输送架(2)上方设有一转运装置以转运所述板材(3)。8 . The automatic wave pressing device according to claim 1 , characterized in that, a transfer device is provided above each conveying frame ( 2 ) to transfer the plate ( 3 ). 9.根据权利要求8所述的自动压波装置,其特征在于,所述转运装置为吸盘吊架或吸吊机。9. The automatic wave pressing device according to claim 8, wherein the transfer device is a suction cup hanger or a suction hoist. 10.根据权利要求1-9中任意一项所述的自动压波装置,其特征在于,所述升降装置(21)还具有第三高度,且第三高度高于第二高度至少一个波深。10. The automatic wave compression device according to any one of claims 1-9, characterized in that the lifting device (21) also has a third height, and the third height is higher than the second height by at least one wave depth .
CN201420006919.7U 2014-01-02 2014-01-02 Automatic pressure wave device Expired - Lifetime CN203664434U (en)

Priority Applications (1)

Application Number Priority Date Filing Date Title
CN201420006919.7U CN203664434U (en) 2014-01-02 2014-01-02 Automatic pressure wave device

Applications Claiming Priority (1)

Application Number Priority Date Filing Date Title
CN201420006919.7U CN203664434U (en) 2014-01-02 2014-01-02 Automatic pressure wave device

Publications (1)

Publication Number Publication Date
CN203664434U true CN203664434U (en) 2014-06-25

Family

ID=50960767

Family Applications (1)

Application Number Title Priority Date Filing Date
CN201420006919.7U Expired - Lifetime CN203664434U (en) 2014-01-02 2014-01-02 Automatic pressure wave device

Country Status (1)

Country Link
CN (1) CN203664434U (en)

Cited By (3)

* Cited by examiner, † Cited by third party
Publication number Priority date Publication date Assignee Title
CN104438514A (en) * 2014-11-26 2015-03-25 无锡市元鼎机械制造有限公司 Stamping equipment for transverse ribs of stock bin plate
CN110695189A (en) * 2019-09-27 2020-01-17 扬中市通达电气有限公司 Edge punching device
CN116730006A (en) * 2023-07-18 2023-09-12 上海寰宇物流科技有限公司 Discharging device suitable for refrigerated container production and manufacturing process and processing process thereof

Cited By (3)

* Cited by examiner, † Cited by third party
Publication number Priority date Publication date Assignee Title
CN104438514A (en) * 2014-11-26 2015-03-25 无锡市元鼎机械制造有限公司 Stamping equipment for transverse ribs of stock bin plate
CN110695189A (en) * 2019-09-27 2020-01-17 扬中市通达电气有限公司 Edge punching device
CN116730006A (en) * 2023-07-18 2023-09-12 上海寰宇物流科技有限公司 Discharging device suitable for refrigerated container production and manufacturing process and processing process thereof

Similar Documents

Publication Publication Date Title
CN103737288B (en) A kind of bolt press mounting apparatus
CN106429474A (en) Automatic charging system
CN204713512U (en) A carton forming machine
CN107737850A (en) A kind of chain piece is punched blanking device
CN107521788B (en) Plastic file production line
CN104925513A (en) Automatic unloader for building block forming equipment
CN108454075A (en) Double-chamber Parallel Compression Blister Forming Machine
CN105382918A (en) Automatic molding production line of ceramic blanks
CN201506066U (en) Feeding device for machining operation
CN203664434U (en) Automatic pressure wave device
CN119114737A (en) A beam-type automated punching machine used for photovoltaic frame processing
CN203895482U (en) Automatic battery side edge machining production line
CN112872646A (en) Screen cloth welding production line
CN202317673U (en) Automatic production line of container
CN203209974U (en) General assembling table for tank container
CN201693684U (en) Automatic step-by-step feeding mechanism
CN209867121U (en) Automatic production line for metal plate continuous stamping
CN203994709U (en) High frequency double heat seal machine
CN104097061A (en) General assembly table for tank container
CN203002996U (en) A rail-type cold stamping feeder
CN210677945U (en) Multi-specification die blank cutting equipment
CN205631520U (en) Scute formula carton bight reinforcing apparatus
CN205187103U (en) Plate stacking machine supports conveyor
CN209753749U (en) High-intelligent automatic discharging transverse stamping device
CN209383012U (en) The mechanism of pallet de-stacking

Legal Events

Date Code Title Description
C14 Grant of patent or utility model
GR01 Patent grant
C41 Transfer of patent application or patent right or utility model
TR01 Transfer of patent right

Effective date of registration: 20160324

Address after: 215434 No. 99 Binjiang Avenue, Taicang economic and Technological Development Zone, Suzhou, Jiangsu

Patentee after: TAICANG CIMC REEFER LOGISTICS EQUIPMENT Co.,Ltd.

Address before: 523000 Guangdong province Dongguan Songshan Lake high tech Industrial Development Zone Technology Park Building 1, 3 floor, room 309B

Patentee before: CIMC CONTAINERS HOLDING Co.,Ltd.

Patentee before: CHINA INTERNATIONAL MARINE CONTAINERS (GROUP) Ltd.

Patentee before: TAICANG CIMC REEFER LOGISTICS EQUIPMENT Co.,Ltd.

Patentee before: SHANGHAI CIMC REEFER CONTAINERS Co.,Ltd.

CX01 Expiry of patent term

Granted publication date: 20140625

CX01 Expiry of patent term