CN203661777U - Laboratory mouse rearing cage - Google Patents
Laboratory mouse rearing cage Download PDFInfo
- Publication number
- CN203661777U CN203661777U CN201320222383.8U CN201320222383U CN203661777U CN 203661777 U CN203661777 U CN 203661777U CN 201320222383 U CN201320222383 U CN 201320222383U CN 203661777 U CN203661777 U CN 203661777U
- Authority
- CN
- China
- Prior art keywords
- box
- mouse
- rearing cage
- dung collection
- collection box
- Prior art date
- Legal status (The legal status is an assumption and is not a legal conclusion. Google has not performed a legal analysis and makes no representation as to the accuracy of the status listed.)
- Expired - Fee Related
Links
- 230000000384 rearing effect Effects 0.000 title abstract description 7
- 210000003608 fece Anatomy 0.000 claims abstract description 35
- 238000009395 breeding Methods 0.000 claims abstract description 14
- 230000001488 breeding effect Effects 0.000 claims abstract description 14
- 239000002184 metal Substances 0.000 claims abstract description 7
- 230000035622 drinking Effects 0.000 claims description 12
- 238000000605 extraction Methods 0.000 claims description 7
- 241001465754 Metazoa Species 0.000 abstract description 15
- 239000002023 wood Substances 0.000 abstract description 3
- 239000000463 material Substances 0.000 abstract description 2
- 241000699666 Mus <mouse, genus> Species 0.000 abstract 8
- 241000699670 Mus sp. Species 0.000 abstract 3
- 238000010521 absorption reaction Methods 0.000 abstract 1
- 230000003670 easy-to-clean Effects 0.000 abstract 1
- 238000010171 animal model Methods 0.000 description 3
- 238000005516 engineering process Methods 0.000 description 3
- XLYOFNOQVPJJNP-UHFFFAOYSA-N water Substances O XLYOFNOQVPJJNP-UHFFFAOYSA-N 0.000 description 3
- 238000004140 cleaning Methods 0.000 description 2
- 230000029142 excretion Effects 0.000 description 2
- 238000007726 management method Methods 0.000 description 2
- 238000013019 agitation Methods 0.000 description 1
- 239000010828 animal waste Substances 0.000 description 1
- 239000000645 desinfectant Substances 0.000 description 1
- 239000003651 drinking water Substances 0.000 description 1
- 235000020188 drinking water Nutrition 0.000 description 1
- 238000002474 experimental method Methods 0.000 description 1
- 230000004048 modification Effects 0.000 description 1
- 238000012986 modification Methods 0.000 description 1
- 244000144977 poultry Species 0.000 description 1
- 230000001954 sterilising effect Effects 0.000 description 1
- 239000002699 waste material Substances 0.000 description 1
- 230000003442 weekly effect Effects 0.000 description 1
Images
Landscapes
- Housing For Livestock And Birds (AREA)
Abstract
The utility model discloses a laboratory mouse rearing cage which solves the problem that an existing rearing cage is not easy to clean. The laboratory mouse rearing cage comprises a mouse box. A feces collecting box is arranged in the mouse box. The feces collecting box comprises a box body with the top opened and a metal screen covering the top of the box body. A drawing opening is formed in the bottom of one side face of the mouse box and the feces collecting box is inserted into the mouse box from the drawing opening. A padding layer is arranged at the bottom of the feces collecting box and wood bits or water-absorption paper is placed in the padding layer and used for absorbing the animal excrement. According to the laboratory mouse rearing cage, the drawer type feces collecting box specially used for collecting the feces of mice is additionally arranged, so that when the mouse rearing cage is cleaned, it is only required that the drawer type device is replaced or cleaned every time; the labor intensity of a feeding and management person is greatly relieved and the usage amount of different kinds of consumption materials is reduced. Meanwhile, disturbance to the mice can be reduced and growth, development and breeding of the mice are facilitated.
Description
Technical field
The utility model laboratory animal breeding device particularly, is a kind of experimental mouse breeding cage.
Background technology
Experimental animal feeding is the important foundation of carrying out animal experiment study, annual nearly 5,000,000 ~ 1,000 ten thousand left and right of the large and small mouse number of animals raised that China is current.Traditional large and small mouse cage for rearing poultry is a simple plastic casing, covers a metal net mask above, in order to place animal feed and drinking-water.Need weekly to change the bedding and padding in secondary cage, cage tool is carried out to cleaning and sterilizing simultaneously, cause a large amount of consumption of the amount of labour and a large amount of wastes of water, bedding and padding and disinfectant, make the feeding and management cost up of laboratory animal.
Summary of the invention
Technical problem to be solved in the utility model is to provide the excremental experimental mouse breeding cage of a kind of easy cleaning.
For solving the problems of the technologies described above, the scheme that the utility model adopts is:
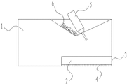
A kind of mouse breeding cage, comprise mouse box, in mouse box, be provided with dung collection box, described dung collection box comprises the box body of open-top and hides in the metal net mask at box body top, side bottom of mouse box offers extraction mouth, and dung collection box inserts in mouse box from this extraction mouth.
Muroid animal is a kind of clever and like cleanly animal, itself has the characteristic at will not voiding excreta, can be in fixed location excretion, and according to this characteristic of muroid animal, the utility model has designed this experimental mouse breeding cage.The similar drawer being contained on mouse box of dung collection box, after large and small mouse drains on dung collection box, excreta falls to box body inside from the grid-gap of metal net mask, only needs to change or clear up dung collection box just to reach the object that cleans breeding cage.
Dung collection box bottom is placed with padding layer, has wood chip or blotting paper in padding layer, is used for adsorbing animal excrements.
Drinking bottle is equipped with at mouse box top, dung collection box upper surface is apart from the delivery port 3-8cm of drinking bottle, the height of this altitude range and common large and small mouse adapts, can make large and small mouse drink the water in drinking bottle at dung collection box upper surface, can also help large and small mouse to form the custom of draining on dung collection box.
Compared with breeding cage of the prior art, the utility model has increased by one and has been specifically designed to the drawer type dung collection box of collecting animal wastes, each object that only needs replacing or clean this drawer type device just can reach clean animal cage tool, reduce significantly feeding and management personnel's labour intensity, reduce the usage amount of various consumable materials.Can also reduce the agitation to animal, be more conducive to growing and breeding of animal simultaneously.
Accompanying drawing explanation
Fig. 1 is the structural representation of the utility model experimental mouse breeding cage.
Fig. 2 is the structural representation of dung collection box.
In figure, 1-mouse box, 2-dung collection box, 3-extraction mouth, 4-padding layer, 5-drinking bottle, 6-food.
201-box body, 202-metal net mask.
Embodiment
Below in conjunction with accompanying drawing, the claimed technical scheme of the utility model is illustrated.
As shown in Figure 1, a kind of experimental mouse breeding cage of the utility model, comprise mouse box 1, in mouse box 1, be provided with dung collection box 2, described dung collection box 2 comprises the box body 201 of open-top and hides in the metal net mask 202 at box body 201 tops, 1 one side bottom of mouse box offer extraction mouth 3, and dung collection box 2 inserts in mouse box 1 from this extraction mouth 3.Mouse box 1 top operated by rotary motion is useful on the guard that holds food 6 and drinking bottle.Muroid animal is a kind of clever and like cleanly animal, can be in mouse box automatic distinguishing behaviour area and living area, living area is the place that muroid is had a rest, behaviour area is the place of feed and excretion.
Further, be placed with padding layer 4 in dung collection box 2 bottoms, in padding layer 4, have wood chip or blotting paper
For making large and small mouse drink the water in drinking bottle at dung collection box upper surface, and help large and small mouse to form the custom of draining on dung collection box.At mouse box 1 top, drinking bottle 5 is housed, dung collection box 2 upper surfaces are apart from the delivery port 3-8cm of drinking bottle 5.The height of this altitude range and common large and small mouse adapts, can
Further distinguishing under the environment of large and small mouse, while raising mouse, dung collection box 2 upper surfaces are apart from the delivery port 3-5cm of drinking bottle 5; When raising rat, dung collection box 2 upper surfaces are apart from the delivery port 5-8cm of drinking bottle 5.
The protection domain that the utility model requires is not limited to above-mentioned embodiment; for art technology; can there be multiple change and distortion, every any modification of making within the utility model spirit and principle, improve or be equal within replacement all should be included in protection domain of the present utility model.
Claims (2)
1. an experimental mouse breeding cage, comprise mouse box (1), it is characterized in that: in mouse box (1), be provided with dung collection box (2), described dung collection box (2) comprises the box body (201) of open-top and hides in the metal net mask (202) at box body (201) top, (1) side bottom of mouse box offers extraction mouth (3), dung collection box (2) inserts in mouse box (1) from this extraction mouth (3), drinking bottle (5) is equipped with at mouse box (1) top, mouse box (1) top of dung collection box (2) top is provided with the inclination guard for placing food and drinking bottle, dung collection box (2) upper surface is apart from the delivery port 3-8cm of drinking bottle (5).
2. experimental mouse breeding cage according to claim 1, is characterized in that: dung collection box (2) bottom is placed with padding layer (4).
Priority Applications (1)
| Application Number | Priority Date | Filing Date | Title |
|---|---|---|---|
| CN201320222383.8U CN203661777U (en) | 2013-04-27 | 2013-04-27 | Laboratory mouse rearing cage |
Applications Claiming Priority (1)
| Application Number | Priority Date | Filing Date | Title |
|---|---|---|---|
| CN201320222383.8U CN203661777U (en) | 2013-04-27 | 2013-04-27 | Laboratory mouse rearing cage |
Publications (1)
| Publication Number | Publication Date |
|---|---|
| CN203661777U true CN203661777U (en) | 2014-06-25 |
Family
ID=50958139
Family Applications (1)
| Application Number | Title | Priority Date | Filing Date |
|---|---|---|---|
| CN201320222383.8U Expired - Fee Related CN203661777U (en) | 2013-04-27 | 2013-04-27 | Laboratory mouse rearing cage |
Country Status (1)
| Country | Link |
|---|---|
| CN (1) | CN203661777U (en) |
Cited By (6)
| Publication number | Priority date | Publication date | Assignee | Title |
|---|---|---|---|---|
| CN104186359A (en) * | 2014-08-23 | 2014-12-10 | 黄雁超 | Mouse cage with padding convenient to replace and method for replacing padding |
| CN105075882A (en) * | 2015-07-28 | 2015-11-25 | 无锡东晟生物科技有限公司 | Separate-type pet raising cage |
| CN106973807A (en) * | 2017-03-30 | 2017-07-25 | 云南中烟工业有限责任公司 | A kind of experimental mouse rearging cage for being convenient for changing bedding and padding |
| CN107751005A (en) * | 2016-08-16 | 2018-03-06 | 中国科学院生物物理研究所 | Drinking-water rhythm and pace of moving things behavior record device |
| CN115735785A (en) * | 2022-11-30 | 2023-03-07 | 斯贝福(北京)生物技术有限公司 | Mouse feeding box |
| CN116982571A (en) * | 2022-04-26 | 2023-11-03 | 中国科学院城市环境研究所 | Non-contact type mouse movement and sleep monitoring equipment and method |
-
2013
- 2013-04-27 CN CN201320222383.8U patent/CN203661777U/en not_active Expired - Fee Related
Cited By (8)
| Publication number | Priority date | Publication date | Assignee | Title |
|---|---|---|---|---|
| CN104186359A (en) * | 2014-08-23 | 2014-12-10 | 黄雁超 | Mouse cage with padding convenient to replace and method for replacing padding |
| CN105075882A (en) * | 2015-07-28 | 2015-11-25 | 无锡东晟生物科技有限公司 | Separate-type pet raising cage |
| CN107751005A (en) * | 2016-08-16 | 2018-03-06 | 中国科学院生物物理研究所 | Drinking-water rhythm and pace of moving things behavior record device |
| CN107751005B (en) * | 2016-08-16 | 2020-02-07 | 中国科学院生物物理研究所 | Drinking rhythm behavior recording device |
| CN106973807A (en) * | 2017-03-30 | 2017-07-25 | 云南中烟工业有限责任公司 | A kind of experimental mouse rearging cage for being convenient for changing bedding and padding |
| CN116982571A (en) * | 2022-04-26 | 2023-11-03 | 中国科学院城市环境研究所 | Non-contact type mouse movement and sleep monitoring equipment and method |
| CN115735785A (en) * | 2022-11-30 | 2023-03-07 | 斯贝福(北京)生物技术有限公司 | Mouse feeding box |
| CN115735785B (en) * | 2022-11-30 | 2024-03-01 | 斯贝福(北京)生物技术有限公司 | Box is raised to mouse |
Similar Documents
| Publication | Publication Date | Title |
|---|---|---|
| CN203661777U (en) | Laboratory mouse rearing cage | |
| CN202773714U (en) | Bird cage convenient for collecting and treating bird dung | |
| CN202958405U (en) | Individual-feeding and group-feeding universal animal feeding cage | |
| CN202456068U (en) | Henhouse | |
| CN203378400U (en) | Novel henhouse for free-ranging laying hens | |
| CN106135139A (en) | A kind of efficiently scale housefly adult flies breeding device | |
| CN206851723U (en) | A kind of poultry metabolism and breeding cage | |
| CN203206910U (en) | Poultry house | |
| CN206078492U (en) | Can automatic separate collection excrement with livestock breeding cage of urine | |
| CN204811424U (en) | Experimental animals raises device | |
| CN203788854U (en) | Chinese bamboo rat imitated original ecological cultivation burrow | |
| CN204317273U (en) | The spherical net cage that a kind of convenient collection is dirty | |
| CN203152236U (en) | Metabolic cage for laying hens | |
| CN106538402A (en) | A kind of three-dimensional pig farm | |
| CN106135059A (en) | A kind of birds cage rearing device | |
| CN206699192U (en) | A kind of vermiculture case | |
| CN206024805U (en) | Pig farm is bred and is used sows farrow fence | |
| CN108207651A (en) | A kind of environmental protection rabbit-hutch | |
| CN204697705U (en) | Integral type pig feed bunk and combined type pig feed bunk | |
| CN201667889U (en) | Externally-crossed rabbit cage of assembled grass groove | |
| CN104430118A (en) | Aquatic life cultivation system | |
| CN203735242U (en) | Fur-bearing animal waterer | |
| CN209732269U (en) | automatic drinking water system of pig house | |
| CN201797833U (en) | Pet toilet | |
| CN209527474U (en) | Metabolic cage for livestock culturing |
Legal Events
| Date | Code | Title | Description |
|---|---|---|---|
| C14 | Grant of patent or utility model | ||
| GR01 | Patent grant | ||
| CF01 | Termination of patent right due to non-payment of annual fee |
Granted publication date: 20140625 Termination date: 20150427 |
|
| EXPY | Termination of patent right or utility model |