CN203659352U - Rapid clamping tool for tag support - Google Patents
Rapid clamping tool for tag support Download PDFInfo
- Publication number
- CN203659352U CN203659352U CN201320831206.XU CN201320831206U CN203659352U CN 203659352 U CN203659352 U CN 203659352U CN 201320831206 U CN201320831206 U CN 201320831206U CN 203659352 U CN203659352 U CN 203659352U
- Authority
- CN
- China
- Prior art keywords
- guide groove
- chip removal
- hole
- mounting blocks
- pad
- Prior art date
- Legal status (The legal status is an assumption and is not a legal conclusion. Google has not performed a legal analysis and makes no representation as to the accuracy of the status listed.)
- Expired - Fee Related
Links
- NJPPVKZQTLUDBO-UHFFFAOYSA-N novaluron Chemical compound C1=C(Cl)C(OC(F)(F)C(OC(F)(F)F)F)=CC=C1NC(=O)NC(=O)C1=C(F)C=CC=C1F NJPPVKZQTLUDBO-UHFFFAOYSA-N 0.000 claims description 20
- 230000005540 biological transmission Effects 0.000 claims description 7
- 230000006978 adaptation Effects 0.000 claims description 3
- 238000009434 installation Methods 0.000 abstract description 7
- 238000005553 drilling Methods 0.000 description 5
- 238000000034 method Methods 0.000 description 3
- 238000003754 machining Methods 0.000 description 2
- 239000002184 metal Substances 0.000 description 2
- 230000009286 beneficial effect Effects 0.000 description 1
- 238000005516 engineering process Methods 0.000 description 1
- 238000011900 installation process Methods 0.000 description 1
Images
Landscapes
- Drilling And Boring (AREA)
Abstract
The utility model discloses a rapid clamping tool for a tag support. The rapid clamping tool can efficiently clamp and disassemble the tag support, and the clamping stability and reliability are high. The rapid clamping tool for the tag support comprises a base, an installation block and a rapid clamping part. A guiding groove is formed in the top face of the base. A first supporting plate perpendicular to the guiding groove is arranged at the position, located at one end of the guiding groove, of the base. A second supporting plate perpendicular to the guiding groove is arranged at the position, located the other end of the guiding groove, of the base. The rapid clamping part comprises a compressing block and a back shoring part, wherein the compressing block is arranged inside the guiding groove in a slidable mode, the back shoring part is arranged on the compressing block in a rotatable mode through a rotating shaft, and the rotating shaft is perpendicular to the guiding groove. A locking screw hole parallel to the guiding groove is formed in the position, located above the guiding groove, of the first supporting plate, and a locking bolt is arranged inside the locking screw hole. The installation block is arranged on the top face of the base and located over the guiding groove, and one side face of the installation block abuts against the second supporting plate.
Description
Technical field
The utility model relates to a kind of clamping tooling, is specifically related to a kind of mark support quick clamping tool.
Background technology
In guideboard installation process, conventionally can use mark support, guideboard is installed to assigned address by mark support.In a kind of prior art as shown in Figure 6, for the mark support of guideboard is installed, mark support 7 comprises body 71 and is arranged on two installation projections 72 on body.After completing, the blank of mark support also need on two installation projections, distinguish processing mounting holes 73.Two mounting holes of installing on projection of mark support adopt bore process to make conventionally, carry out the mounting hole of processing mark support by drilling machine; But at present the frock clamp on drilling machine is difficult to efficient, stable mark support be carried out to clamping, reduce machine work efficiency and mounting hole crudy, thereby how to design one and can carry out clamping, dismounting to mark support efficiently, can ensure again stability and the fixing of clamping, be necessary in this processing of mounting hole at mark support.
Utility model content
The purpose of this utility model is to be difficult to efficient, stable problem of mark support being carried out to clamping in order to overcome frock clamp on drilling machine of the prior art, provide one to carry out clamping, dismounting to mark support efficiently, and the stability of clamping and fixing high; Also help the quick clamping tool of the mark support of the various different models of clamping simultaneously.
The technical solution of the utility model is:
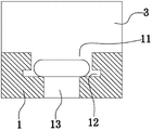
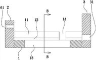
A kind of mark support quick clamping tool, comprise pedestal, mounting blocks and quick-clamping part, described base top surface is provided with guide groove, on pedestal, one end of being positioned at guide groove is provided with first back up pad perpendicular with guide groove, the other end that is positioned at guide groove is provided with second back up pad perpendicular with guide groove; Described quick-clamping part comprises the compact heap being slidably arranged in guide groove and is rotatably arranged on the top bracing member on compact heap by rotating shaft, and this rotating shaft and guide groove perpendicular; In described the first back up pad, be positioned at top of guide slot and be provided with the locking screw holes paralleling with guide groove, and in locking screw holes, be provided with clamping screw; Described mounting blocks is placed in base top surface, and mounting blocks is positioned at directly over guide groove, and a side of mounting blocks is resisted against in the second back up pad; On mounting blocks, towards the side of the first back up pad, be provided with two spacing breach of rectangle of symmetrical distribution, the end face middle part of the spacing breach of two rectangles is respectively equipped with cutter relieving through hole, on the bottom surface of the spacing breach of two rectangles, under being positioned at cutter relieving through hole, is respectively equipped with two chip removal through holes.
The locking stroke of the clamping screw that this programme effectively reduces by quick-clamping part, has improved mark support clamping, removal efficiency greatly; And coordinate stability and the fixing of guarantee mark support clamping with mounting blocks by quick-clamping part.Meanwhile, because mounting blocks is directly placed in base top surface, mounting blocks can be changed easily according to the actual needs, changes according to the difference of mark support model, size; Thereby being conducive to the mark support of the various different models of clamping, its versatility is good.
As preferably, two chip removal through holes are positioned at the relative both sides of guide groove, and the base top surface relative with two chip removal through holes is provided with chip removal breach.Because the smear metal in machining process that is arranged so that of chip removal breach can be discharged smoothly, ensure carrying out smoothly of machining process.
As preferably, top bracing member takes the shape of the letter U, and it is by two supporting arms perpendicular with described rotating shaft and be connected two supporting arms and form with the top bracing plate| of one end, and top bracing plate| and guide groove are perpendicular, two supporting arms are positioned at the relative both sides of compact heap, and are arranged on compact heap by described rotating shaft is rotating.This programme structure is conducive to improve stability and the fixing of mark support clamping.
As preferably, mounting blocks bottom surface is provided with the limited block with guide groove adaptation, and the middle part of this limited block between two chip removal through holes.Because mounting blocks bottom surface is provided with limited block, can ensure that like this mounting blocks can be installed on pedestal accurately, and then ensure the stability of the installation site of workpiece.
As preferably, guide groove runs through pedestal, and the base place of the relative two sides of described guide groove is respectively equipped with transmission groove, and transmission groove runs through pedestal.Because the base place of the relative two sides of guide groove is respectively equipped with transmission groove, can avoid like this compact heap to slide in guide groove time and guide groove interfere.
As preferably, guide groove bottom surface is provided with lower chip removal through hole, and lower chip removal through hole is elongated, and lower chip removal through hole extends along guide groove; In described the second back up pad, position relative to guide groove is provided with side chip removal through hole, and the bottom surface of side chip removal through hole flushes with guide groove bottom surface or is positioned at below guide groove bottom surface.
The beneficial effects of the utility model are: not only can carry out clamping, dismounting to mark support efficiently, and the stability of clamping and fixing high; Also help the mark support of the various different models of clamping simultaneously.
Brief description of the drawings
Fig. 1 is a kind of structural representation of the present utility model.
Fig. 2 is the vertical view of Fig. 1.
Fig. 3 is a kind of cross-sectional view at A-A place in Fig. 1.
Fig. 4 is a kind of structural representation of pedestal of the present utility model.
Fig. 5 is a kind of cross-sectional view at B-B place in Fig. 1.
Fig. 6 is a kind of structural representation of a kind of mark support of the prior art.
Fig. 7 is a kind of structural representation after a kind of mark support quick clamping tool adjustment notch support of the present utility model.
Embodiment
Below in conjunction with accompanying drawing and embodiment, the utility model is described in further detail:
As shown in Figure 1, Figure 2, shown in Fig. 3, Fig. 4, Fig. 5, a kind of mark support quick clamping tool, comprises pedestal 1, mounting blocks 4 and quick-clamping part 5.The rectangular block structure of pedestal 1.Base top surface is provided with guide groove 11, and guide groove runs through pedestal.The base place of guide groove 11 relative two sides is respectively equipped with transmission groove 12, and transmission groove runs through pedestal.Guide groove 11 bottom surfaces are provided with lower chip removal through hole 13.Lower chip removal through hole is elongated, and lower chip removal through hole extends along guide groove.On pedestal 1, one end of being positioned at guide groove 11 is provided with first back up pad 2 perpendicular with guide groove, the other end that is positioned at guide groove is provided with second back up pad 3 perpendicular with guide groove.The first back up pad and the second back up pad are positioned at the opposite end of pedestal, and envelope hides the two-port of guide groove.The first back up pad is connected with pedestal by bolt respectively with the second back up pad.In the second back up pad 3, position relative to guide groove is provided with side chip removal through hole 31.The bottom surface of side chip removal through hole flushes with guide groove bottom surface or is positioned at below guide groove bottom surface.
In the first back up pad 2, be positioned at guide groove 11 tops and be provided with the locking screw holes 61 paralleling with guide groove, and in locking screw holes, be provided with clamping screw 6.Mounting blocks 4 is placed on pedestal 1 end face.Mounting blocks 4 is positioned at directly over guide groove 11, and a side of mounting blocks 4 is resisted against in the second back up pad 3.On mounting blocks 4, towards the side of the first back up pad 2, be provided with the spacing breach 41 of two rectangles of symmetrical distribution.The spacing breach of two rectangles is corresponding with the installation of two on mark support projection.The end face middle part of the spacing breach 41 of two rectangles is respectively equipped with cutter relieving through hole 42.On the bottom surface of the spacing breach of two rectangles, under being positioned at cutter relieving through hole, be respectively equipped with two chip removal through holes 43.Two chip removal through holes 43 are positioned at the relative both sides of guide groove 11, and the base top surface relative with two chip removal through holes is provided with chip removal breach 14.Mounting blocks 4 bottom surfaces are provided with the limited block 44 with guide groove adaptation, and the middle part of this limited block between two chip removal through holes.Limited block 44 is positioned at guide groove 11.
Quick-clamping part 5 comprises the compact heap 51 being slidably arranged in guide groove 11 and is rotatably arranged on the top bracing member 53 on compact heap by rotating shaft 52, and this rotating shaft and guide groove perpendicular.Top bracing member 53 takes the shape of the letter U, and it is by the two supporting arm 53as perpendicular with rotating shaft 52 and be connected two supporting arms and form with the top bracing plate| 53b of one end.Top bracing plate| and guide groove are perpendicular.Two supporting arms are positioned at the relative both sides of compact heap, and are arranged on compact heap by described rotating shaft is rotating.
As shown in Figure 1, Figure 7 shows, the concrete use procedure of quick clamping tool of the present utility model is as follows:
First, two on mark support 7 being installed to projection 71 is inserted in the spacing breach 41 of two rectangles on mounting blocks 4;
Then, compact heap 51 is resisted against on the body of mark support 7, and top bracing member 53 52 is flat on pedestal 1 end face around the shaft;
Follow again, screw clamping screw 6, and be pressed on top bracing plate| 53b, thereby mark support 7 is fixed on to compact heap 51 between mounting blocks 4.
Because top bracing member 53 is rotatably arranged on compact heap by rotating shaft 52, in the time of needs clamping mark support 7, top bracing member 53 52 rotations around the shaft can be flat on pedestal 1 end face, the locking stroke of the clamping screw 6 that can shorten greatly like this, thereby can by clamping screw 6, mark support 7 be fixed on to compact heap 51 between mounting blocks 4 fast; Improve note support clamping efficiency.
In the time of dismounting mark support 7, clamping screw 6 can be unclamped, and 6 of clamping screws need to unclamp the very little distance in one end, just can be by top bracing member 53 52 tops around the shaft, thus compact heap 51 is removed, mark support 7 can be taken out easily; Improve mark support removal efficiency.
In the time of the mounting hole 73 of processing mark support 7, drill bit can be stretched into and be carried out Drilling operation by cutter relieving through hole 42; Smear metal in process can, by discharges such as two chip removal through holes 43, chip removal breach 14, ensure carrying out smoothly of Drilling operation.
Claims (6)
1. a mark support quick clamping tool, it is characterized in that, comprise pedestal (1), mounting blocks (4) and quick-clamping part (5), described base top surface is provided with guide groove (11), on pedestal, one end of being positioned at guide groove is provided with first back up pad (2) perpendicular with guide groove, the other end that is positioned at guide groove is provided with second back up pad (3) perpendicular with guide groove; Described quick-clamping part comprises the compact heap (51) being slidably arranged in guide groove and is rotatably arranged on the top bracing member (53) on compact heap by rotating shaft (52), and this rotating shaft and guide groove perpendicular; In described the first back up pad, be positioned at top of guide slot and be provided with the locking screw holes paralleling with guide groove, and in locking screw holes, be provided with clamping screw (6); Described mounting blocks (4) is placed in base top surface, and mounting blocks is positioned at directly over guide groove, and a side of mounting blocks is resisted against in the second back up pad; On mounting blocks, towards the side of the first back up pad, be provided with two spacing breach of rectangle (41) of symmetrical distribution, the end face middle part of the spacing breach of two rectangles is respectively equipped with cutter relieving through hole (42), on the bottom surface of the spacing breach of two rectangles, under being positioned at cutter relieving through hole, is respectively equipped with two chip removal through holes (43).
2. a kind of mark support quick clamping tool according to claim 1, is characterized in that, two described chip removal through holes (43) are positioned at guide groove (11) both sides relatively, and the base top surface relative with chip removal through hole is provided with chip removal breach (14).
3. a kind of mark support quick clamping tool according to claim 1, it is characterized in that, described top bracing member (53) takes the shape of the letter U, it is by two supporting arms (53a) perpendicular with described rotating shaft and be connected two supporting arms and form with the top bracing plate| (53b) of one end, top bracing plate| and guide groove are perpendicular, two supporting arms are positioned at the relative both sides of compact heap, and are arranged on compact heap by described rotating shaft is rotating.
4. according to a kind of mark support quick clamping tool described in claim 1 or 2 or 3, it is characterized in that, described mounting blocks (4) bottom surface is provided with the limited block (44) with guide groove adaptation, and the middle part of this limited block between two chip removal through holes.
5. according to a kind of mark support quick clamping tool described in claim 1 or 2 or 3, it is characterized in that, described guide groove (11) runs through pedestal, and the base place of the relative two sides of described guide groove is respectively equipped with transmission groove (12), and transmission groove runs through pedestal.
6. according to a kind of mark support quick clamping tool described in claim 1 or 2 or 3, it is characterized in that, described guide groove (11) bottom surface is provided with lower chip removal through hole (12), and lower chip removal through hole is elongated, and lower chip removal through hole extends along guide groove; The upper position relative to guide groove of described the second back up pad (3) is provided with side chip removal through hole (31), and the bottom surface of side chip removal through hole flushes with guide groove bottom surface or is positioned at below guide groove bottom surface.
Priority Applications (1)
| Application Number | Priority Date | Filing Date | Title |
|---|---|---|---|
| CN201320831206.XU CN203659352U (en) | 2013-12-16 | 2013-12-16 | Rapid clamping tool for tag support |
Applications Claiming Priority (1)
| Application Number | Priority Date | Filing Date | Title |
|---|---|---|---|
| CN201320831206.XU CN203659352U (en) | 2013-12-16 | 2013-12-16 | Rapid clamping tool for tag support |
Publications (1)
| Publication Number | Publication Date |
|---|---|
| CN203659352U true CN203659352U (en) | 2014-06-18 |
Family
ID=50925719
Family Applications (1)
| Application Number | Title | Priority Date | Filing Date |
|---|---|---|---|
| CN201320831206.XU Expired - Fee Related CN203659352U (en) | 2013-12-16 | 2013-12-16 | Rapid clamping tool for tag support |
Country Status (1)
| Country | Link |
|---|---|
| CN (1) | CN203659352U (en) |
Cited By (2)
| Publication number | Priority date | Publication date | Assignee | Title |
|---|---|---|---|---|
| CN106327999A (en) * | 2015-07-06 | 2017-01-11 | 国网山东省电力公司潍坊供电公司 | Warning sign rapid installation device for electricity tower |
| CN106327998A (en) * | 2015-07-06 | 2017-01-11 | 国网山东省电力公司潍坊供电公司 | Rapid locking sign rack for electricity sign |
-
2013
- 2013-12-16 CN CN201320831206.XU patent/CN203659352U/en not_active Expired - Fee Related
Cited By (4)
| Publication number | Priority date | Publication date | Assignee | Title |
|---|---|---|---|---|
| CN106327999A (en) * | 2015-07-06 | 2017-01-11 | 国网山东省电力公司潍坊供电公司 | Warning sign rapid installation device for electricity tower |
| CN106327998A (en) * | 2015-07-06 | 2017-01-11 | 国网山东省电力公司潍坊供电公司 | Rapid locking sign rack for electricity sign |
| CN106327998B (en) * | 2015-07-06 | 2020-06-23 | 国网山东省电力公司潍坊供电公司 | Power Sign Quick Lock Holder |
| CN106327999B (en) * | 2015-07-06 | 2020-08-28 | 国网山东省电力公司潍坊供电公司 | Quick installation device of warning sign for electric power tower pole |
Similar Documents
| Publication | Publication Date | Title |
|---|---|---|
| CN101912984B (en) | Equipment for machining side faces and side holes of large-size box type workpiece | |
| CN202964226U (en) | Effective linear cutting and positioning device | |
| CN203659352U (en) | Rapid clamping tool for tag support | |
| CN206263304U (en) | A kind of pipe connection method orchid boring grab | |
| CN203565933U (en) | Milling and drilling integrated positioning fixture | |
| CN203566325U (en) | Special component compressing device | |
| CN102990449A (en) | Positioning device for high-efficiency linear cutting | |
| CN203566324U (en) | Drilling fixture dedicated for abnormal-shape component | |
| CN211477849U (en) | Reinforcing bar repeated bending test machine convenient to press from both sides tight reinforcing bar | |
| CN103639480A (en) | Milling and drilling integrated positioning clamp | |
| CN210677835U (en) | Automobile support machining equipment | |
| CN201848559U (en) | Side surface and side surface hole machining equipment for workpiece like large-sized box body | |
| CN202963533U (en) | Drilling device of hydraulic cylinder | |
| CN206065595U (en) | A kind of linear cutting clamp of panel beating class | |
| CN203527039U (en) | Fixing device used for drilling of supporting pin | |
| CN202964167U (en) | High-precision drilling tool | |
| CN103100898B (en) | High-precision drilling tool | |
| CN202155552U (en) | Multi-station drilling device | |
| CN201960166U (en) | Drilling clamp | |
| CN202964178U (en) | Wire-cutting positioning tooling | |
| CN203566364U (en) | Efficient tool for drilling | |
| CN203599900U (en) | Boring tool for excavator connecting rod | |
| CN102990432A (en) | Positioning fixture for wire-electrode cutting | |
| CN216991558U (en) | Anchor clamps are used in processing of mobile phone motherboard | |
| CN205020880U (en) | Chain link jig |
Legal Events
| Date | Code | Title | Description |
|---|---|---|---|
| C14 | Grant of patent or utility model | ||
| GR01 | Patent grant | ||
| CF01 | Termination of patent right due to non-payment of annual fee | ||
| CF01 | Termination of patent right due to non-payment of annual fee |
Granted publication date: 20140618 Termination date: 20171216 |