CN203630207U - Double-transformer on-line monitoring device of transformer clamping piece grounding current - Google Patents

Double-transformer on-line monitoring device of transformer clamping piece grounding current Download PDF

Info

Publication number
CN203630207U
CN203630207U CN201320685297.0U CN201320685297U CN203630207U CN 203630207 U CN203630207 U CN 203630207U CN 201320685297 U CN201320685297 U CN 201320685297U CN 203630207 U CN203630207 U CN 203630207U
Authority
CN
China
Prior art keywords
transformer
current
clamp
ground
clamping piece
Prior art date
Legal status (The legal status is an assumption and is not a legal conclusion. Google has not performed a legal analysis and makes no representation as to the accuracy of the status listed.)
Expired - Lifetime
Application number
CN201320685297.0U
Other languages
Chinese (zh)
Inventor
俞华
王浩
尉镔
成静
刘杨
黄明
Current Assignee (The listed assignees may be inaccurate. Google has not performed a legal analysis and makes no representation or warranty as to the accuracy of the list.)
Electric Power Research Institute of State Grid Shanxi Electric Power Co Ltd
State Grid Corp of China SGCC
Original Assignee
Electric Power Research Institute of State Grid Shanxi Electric Power Co Ltd
State Grid Corp of China SGCC
Priority date (The priority date is an assumption and is not a legal conclusion. Google has not performed a legal analysis and makes no representation as to the accuracy of the date listed.)
Filing date
Publication date
Application filed by Electric Power Research Institute of State Grid Shanxi Electric Power Co Ltd, State Grid Corp of China SGCC filed Critical Electric Power Research Institute of State Grid Shanxi Electric Power Co Ltd
Priority to CN201320685297.0U priority Critical patent/CN203630207U/en
Application granted granted Critical
Publication of CN203630207U publication Critical patent/CN203630207U/en
Anticipated expiration legal-status Critical
Expired - Lifetime legal-status Critical Current

Links

Images

Landscapes

  • Testing Electric Properties And Detecting Electric Faults (AREA)

Abstract

本实用新型公开了一种变压器夹件接地电流的双互感器在线监测装置,解决了现有技术对变压器夹件接地电流的测试数据偏差大进而影响到变压器安全运行的问题。包括在变压器油箱(1)的箱体外侧固定设置有夹件接地引出线支撑绝缘子(13),夹件接地引出线(8)的一端通过引出线套管(7)与夹件接地连接片(4)连接在一起,夹件接地引出线(8)的另一端与接地端(6)连接在一起,夹件接地引出线(8)设置在第一电流互感器(10)的线圈中,二个电流互感器的二次线圈的两端分别与AD转换接口电路(14)的两个输入接口连接,AD转换接口电路(14)的输出端与单片机(16)连接。本实用新型较准确的接地电流监测值为运维人员采取有效保护措施提供了依据。

The utility model discloses a dual-transformer on-line monitoring device for the grounding current of a transformer clamp, which solves the problem in the prior art that the test data of the grounding current of a transformer clamp has large deviations and thus affects the safe operation of the transformer. Including the support insulator (13) of the clamp grounding lead wire (13) fixed on the outside of the box body of the transformer oil tank (1), and one end of the clamp ground lead wire (8) is connected to the clamp ground connection piece ( 4) connected together, the other end of the clamp ground lead wire (8) is connected with the ground terminal (6), the clamp ground lead wire (8) is set in the coil of the first current transformer (10), the two Both ends of the secondary coils of the current transformers are respectively connected to two input interfaces of the AD conversion interface circuit (14), and the output end of the AD conversion interface circuit (14) is connected to the single chip microcomputer (16). The more accurate ground current monitoring value of the utility model provides a basis for operation and maintenance personnel to take effective protection measures.

Description

变压器夹件接地电流的双互感器在线监测装置Double Transformer On-Line Monitoring Device for Grounding Current of Transformer Clamp

技术领域 technical field

本发明涉及一种变电设备接地电流的监测装置,特别涉及一种对变压器中的夹件接地电流进行监测的装置。 The invention relates to a monitoring device for the grounding current of substation equipment, in particular to a device for monitoring the grounding current of a clip in a transformer.

背景技术 Background technique

变压器运行时,在变压器绕组及引线与油箱之间会形成不均匀的电场,变压器铁心及其夹件等金属构件均处于该电场中。变压器夹件通过电容的藕合作用会产生悬浮电位,当夹件上的悬浮电位与变压器内其他部件的电位差累计达到一定值时,会击穿其间的绝缘,并产生火花放电,严重时还会将变压器烧损。因此,变压器夹件必须进行有效地接地,同时还应避免变压器夹件的多点接地。当变压器夹件发生多点接地时,会使夹件与地之间形成闭合电流回路,由于夹件回路电阻小,形成闭合电流回路的夹件接地电流的数值要比变压器铁芯接地时的铁芯接地电流要大很多,甚至可达上百安培,这么大的接地电流足以造成变压器的损伤。现有运行的变压器上都没有安装夹件接地电流在线监测装置。由于变压器夹件发生多点接地时与其正常运行时的接地电流的最大相差达到上万倍,现有的监测装置要么精度满足不了要求,要么监测范围超限。目前,检测变压器夹件接地电流的主要手段是通过钳形电流表来采样完成的,由于变压器附近漏磁较大,磁场强度也随时在变化,导致测试数据偏差很大,对夹件接地电流的误判,影响到了变压器的安全运行。 When the transformer is running, an uneven electric field will be formed between the transformer winding and the lead wire and the oil tank, and metal components such as the transformer core and its clamps are all in the electric field. The transformer clamp will generate a floating potential through the coupling effect of the capacitor. When the potential difference between the floating potential on the clamp and other components in the transformer reaches a certain value, the insulation between them will be broken down and spark discharge will occur. The transformer will burn out. Therefore, the transformer clamp must be effectively grounded, and multi-point grounding of the transformer clamp should also be avoided. When the transformer clamp is grounded at multiple points, a closed current loop will be formed between the clamp and the ground. Due to the small loop resistance of the clamp, the value of the ground current of the clamp forming the closed current loop is smaller than that of the iron core when the transformer core is grounded. The core grounding current is much larger, even up to hundreds of amperes, such a large grounding current is enough to cause damage to the transformer. There is no on-line monitoring device for clamp grounding current installed on existing transformers. Since the maximum difference between the multi-point grounding of the transformer clamp and the grounding current during normal operation reaches tens of thousands of times, the existing monitoring devices either cannot meet the accuracy requirements, or the monitoring range exceeds the limit. At present, the main means of detecting the ground current of the transformer clamp is to sample through the clamp ammeter. Due to the large magnetic flux leakage near the transformer, the magnetic field strength is also changing at any time, resulting in a large deviation of the test data and the error of the clamp ground current. Judgment, affecting the safe operation of the transformer.

发明内容 Contents of the invention

本发明提供了一种变压器夹件接地电流的双互感器在线监测装置,解决了现有技术对变压器夹件接地电流的测试数据偏差大进而影响到变压器安全运行的技术问题。 The invention provides a dual-transformer on-line monitoring device for the ground current of a transformer clamp, which solves the technical problem in the prior art that the test data deviation of the ground current of the transformer clamp is large, thereby affecting the safe operation of the transformer.

本发明是通过以下技术方案解决以上技术问题的: The present invention solves the above technical problems through the following technical solutions:

一种变压器夹件接地电流的双互感器在线监测装置,包括变压器油箱,在变压器油箱中设置有变压器铁芯,在变压器铁芯的两端分别设置有变压器上夹件和变压器下夹件,在变压器上夹件上分别设置有夹件接地连接片和拉板上连接螺栓,在变压器下夹件上设置有拉板下连接螺栓,在拉板上连接螺栓与拉板下连接螺栓之间设置有拉板,在变压器油箱的箱体外侧固定设置有夹件接地引出线支撑绝缘子,夹件接地引出线的一端通过引出线套管与夹件接地连接片连接在一起,夹件接地引出线的另一端与接地端连接在一起,在夹件接地引出线支撑绝缘子上设置有木制托板,在木制托板上分别固定设置有第一电流互感器和第二电流互感器,夹件接地引出线设置在第一电流互感器的线圈中,第一电流互感器的二次线圈的两端分别与AD转换接口电路的两个输入接口连接,第二电流互感器的二次线圈的两端分别与AD转换接口电路的另两个输入接口连接,AD转换接口电路的输出端与单片机连接。 A dual-transformer on-line monitoring device for the ground current of a transformer clamp, including a transformer oil tank, a transformer iron core is arranged in the transformer oil tank, and a transformer upper clamp and a transformer lower clamp are respectively arranged at both ends of the transformer iron core. The upper clamp of the transformer is respectively provided with the ground connection piece of the clamp and the connecting bolt of the tie plate, the lower connecting bolt of the tie plate is arranged on the lower clamp of the transformer, and the connecting bolt of the tie plate and the lower connection bolt of the tie plate The pull plate, on the outside of the transformer oil tank, is fixedly provided with a clamp ground lead wire supporting insulator, one end of the clip ground lead wire is connected with the clip ground connection piece through the lead wire sleeve, and the other end of the clamp ground lead wire is One end is connected with the ground terminal, and a wooden supporting plate is arranged on the supporting insulator of the grounding lead wire of the clip, and the first current transformer and the second current transformer are respectively fixed on the wooden supporting plate, and the grounding lead out of the clamp is The wire is set in the coil of the first current transformer, the two ends of the secondary coil of the first current transformer are respectively connected with the two input interfaces of the AD conversion interface circuit, and the two ends of the secondary coil of the second current transformer are respectively It is connected with the other two input interfaces of the AD conversion interface circuit, and the output end of the AD conversion interface circuit is connected with the single-chip microcomputer.

在木制托板的上板面上分别设置有第一电流互感器安装凹槽和第二电流互感器安装凹槽,在第一电流互感器安装凹槽与第二电流互感器安装凹槽之间设置有木制压条旋转支撑轴,在旋转木制压条支撑轴上活动设置有旋转木制压条,在木制托板的上板面上设置有夹件接地引出线安装槽。 A first current transformer installation groove and a second current transformer installation groove are respectively arranged on the upper surface of the wooden pallet, between the first current transformer installation groove and the second current transformer installation groove A wooden bead rotating support shaft is arranged between them, a rotating wooden bead is movably arranged on the rotating wooden bead supporting shaft, and a clamp grounding lead wire installation groove is arranged on the upper surface of the wooden pallet.

在单片机上分别连接有LCD电流显示器、夹件多点接地故障电流记录单元、夹件多点接地报警器和后台监控电脑。 An LCD current display, a multi-point grounding fault current recording unit, a multi-point grounding alarm and a background monitoring computer are respectively connected to the single-chip microcomputer.

本发明大大减轻了运行人员的工作强度,在监控后台就能实时地在线地监测到夹件接地电流值的变化情况,较准确的接地电流监测值为运维人员采取有效措施提供了可靠依据,保障了变压器的安全运行。  The invention greatly reduces the working intensity of the operators, and can monitor the change of the clamp grounding current value online in real time in the monitoring background, and the more accurate grounding current monitoring value provides a reliable basis for the operation and maintenance personnel to take effective measures. The safe operation of the transformer is guaranteed. the

附图说明 Description of drawings

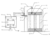
图1是本发明的结构示意图; Fig. 1 is a structural representation of the present invention;

图2是本发明的木制托板12在俯视方向上的结构示意图; Fig. 2 is a schematic structural view of wooden pallet 12 of the present invention in a top view direction;

图3是本发明的木制托板12在主视方向上的结构示意图; Fig. 3 is a schematic structural view of the wooden pallet 12 of the present invention in the front view direction;

图4是本发明的木制托板12安装了两电流互感器后在主视方向上的结构示意图。 FIG. 4 is a schematic view of the structure of the wooden pallet 12 of the present invention in the front view direction after two current transformers are installed.

具体实施方式 Detailed ways

下面结合附图对本发明进行详细说明: The present invention is described in detail below in conjunction with accompanying drawing:

一种变压器夹件接地电流的双互感器在线监测装置,包括变压器油箱1,在变压器油箱1中设置有变压器铁芯2,在变压器铁芯2的两端分别设置有变压器上夹件3和变压器下夹件5,在变压器上夹件3上分别设置有夹件接地连接片4和拉板上连接螺栓21,在变压器下夹件5上设置有拉板下连接螺栓20,在拉板上连接螺栓21与拉板下连接螺栓20之间设置有拉板9,在变压器油箱1的箱体外侧固定设置有夹件接地引出线支撑绝缘子13,夹件接地引出线8的一端通过引出线套管7与夹件接地连接片4连接在一起,夹件接地引出线8的另一端与接地端6连接在一起,在夹件接地引出线支撑绝缘子13上设置有木制托板12,在木制托板12上分别固定设置有第一电流互感器10和第二电流互感器11,夹件接地引出线8设置在第一电流互感器10的线圈中,第一电流互感器10的二次线圈的两端分别与AD转换接口电路14的两个输入接口连接,第二电流互感器11的二次线圈的两端分别与AD转换接口电路14的另两个输入接口连接,AD转换接口电路14的输出端与单片机16连接。 A dual transformer on-line monitoring device for ground current of a transformer clamp, comprising a transformer oil tank 1, a transformer iron core 2 is arranged in the transformer oil tank 1, and a transformer upper clamp 3 and a transformer upper clamp 3 are respectively arranged at both ends of the transformer iron core 2 The lower clamp 5 is respectively provided with the clamp ground connection piece 4 and the connecting bolt 21 on the pull plate on the upper clamp 3 of the transformer. A pull plate 9 is set between the bolt 21 and the lower connecting bolt 20 of the pull plate, and a clamp ground lead wire support insulator 13 is fixedly installed outside the box body of the transformer oil tank 1, and one end of the clamp ground lead wire 8 passes through the lead wire sleeve 7 is connected with the clamp ground connection piece 4, the other end of the clamp ground lead wire 8 is connected with the ground terminal 6, and a wooden supporting plate 12 is arranged on the support insulator 13 of the clamp ground lead wire. The first current transformer 10 and the second current transformer 11 are respectively fixedly arranged on the supporting plate 12, and the grounding lead wire 8 of the clip is arranged in the coil of the first current transformer 10, and the secondary coil of the first current transformer 10 The two ends of the second current transformer 11 are respectively connected with two input interfaces of the AD conversion interface circuit 14, and the two ends of the secondary coil of the second current transformer 11 are respectively connected with the other two input interfaces of the AD conversion interface circuit 14, and the AD conversion interface circuit 14 The output terminal of is connected with single-chip microcomputer 16.

在木制托板12的上板面上分别设置有第一电流互感器安装凹槽22和第二电流互感器安装凹槽23,在第一电流互感器安装凹槽22与第二电流互感器安装凹槽23之间设置有木制压条旋转支撑轴24,在旋转木制压条支撑轴24上活动设置有旋转木制压条25,在木制托板12的上板面上设置有夹件接地引出线安装槽26。 A first current transformer installation groove 22 and a second current transformer installation groove 23 are respectively arranged on the upper surface of the wooden pallet 12, and the first current transformer installation groove 22 and the second current transformer installation groove A wooden bead rotating support shaft 24 is arranged between the installation grooves 23, a rotating wooden bead 25 is movable on the rotating wooden bead supporting shaft 24, and a clip is provided on the upper surface of the wooden pallet 12 for grounding Outlet installation groove 26.

在单片机16上分别连接有LCD电流显示器15、夹件多点接地故障电流记录单元17、夹件多点接地报警器19和后台监控电脑18。 The single-chip microcomputer 16 is respectively connected with an LCD current display 15 , a multi-point ground fault current recording unit 17 , a multi-point ground alarm 19 and a background monitoring computer 18 .

在木制托板12上设置二只电流互感器的目的是准确监测变压器夹件的接地电流。第二电流互感器11是监测由于变压器漏磁而产生的电流,第一电流互感器10是监测夹件接地电流和漏磁产生的电流之和,变压器夹件接地电流为这两只电流互感器检测电流之差。在现有技术中,用钳形电流表来采样完成对夹件接地电流的检测,导致检测数值不准确的原因是变压器附近的漏磁大,漏磁在平面上呈不均匀分布,钳形电流表的取样位置不同,漏磁大小也不同,况且钳形电流表测得的值除了夹件接地电流外还包括漏磁所产生的感应电流。本发明应用两只电流互感器检测夹件接地电流,极大提高了夹件接地电流检测的准确性,通过两只电流互感器消除了漏磁的干扰,解决了现场电流测试数据偏大的问题。 The purpose of setting two current transformers on the wooden pallet 12 is to accurately monitor the grounding current of the transformer clip. The second current transformer 11 is to monitor the current generated due to transformer magnetic flux leakage, and the first current transformer 10 is to monitor the sum of the clamp ground current and the current generated by magnetic flux leakage, and the transformer clamp ground current is the sum of the two current transformers detect the difference in current. In the prior art, clamp-on ammeters are used to sample the ground current of the clamp. The reason for the inaccurate detection value is that the magnetic flux leakage near the transformer is large, and the magnetic flux leakage is unevenly distributed on the plane. The clamp-on ammeter The magnitude of the magnetic flux leakage varies with the different sampling locations, and the value measured by the clamp ammeter includes the induced current generated by the magnetic flux leakage in addition to the clamp ground current. The present invention uses two current transformers to detect the clamp grounding current, which greatly improves the accuracy of the clamp grounding current detection, eliminates the interference of magnetic flux leakage through the two current transformers, and solves the problem that the field current test data is too large .

电流互感器安装位置不同,数据检测会有偏差。当二只电流互感器不在一个水平面时,容易导致漏磁不同而给电流检测结果带来一定的误差,并且电流互感器工作时会有一定的振动,长时间工作还容易引起电流互感器脱落。本发明通过木制托板12和旋转木制压条25使两电流互感器处于同一平面上,提高了装置的稳定性和测试精度。 The installation position of the current transformer is different, and the data detection will have deviation. When the two current transformers are not on the same level, it is easy to cause different magnetic flux leakage, which will bring certain errors to the current detection results, and the current transformer will vibrate to a certain extent when working, and it is easy to cause the current transformer to fall off after working for a long time. In the present invention, the two current transformers are placed on the same plane through the wooden supporting board 12 and the rotating wooden bead 25, thereby improving the stability and testing accuracy of the device.

本发明可自动记录夹件发生多点接地时的故障电流大小和时间,为运维人员提高参考信息。此外,还设置了当地及远程报警信号功能,使运维人员实时了解故障信息。当夹件接地电流大于0.1A时,就地报警指示灯亮,并将报警信号传至后台,供运维人员参考。 The invention can automatically record the magnitude and time of the fault current when the clips are grounded at multiple points, so as to improve reference information for operation and maintenance personnel. In addition, local and remote alarm signal functions are also set up to enable operation and maintenance personnel to understand fault information in real time. When the grounding current of the clip is greater than 0.1A, the local alarm indicator light is on, and the alarm signal is transmitted to the background for reference by operation and maintenance personnel.

本发明的夹件接地电流显示范围宽,能满足不同范围的精度要求。本发明通过计算机软件程序的设置采用分段显示算法,在程序上设计不同检测范围而采用不同精度,解决了现场测试超限和显示精度不足的问题。在电流最大范围100A内,按不同范围进行分段显示,当接地电流小于0.1A时,显示精度级别为0.1mA;当接地电流在0.1A至1A之间时,显示精度级别为0.001A;当接地电流为1A至100A时,显示精度级别为0.01A。 The clamping piece grounding current display range of the invention is wide, and can meet precision requirements in different ranges. The present invention adopts a segment display algorithm by setting a computer software program, designs different detection ranges and adopts different precisions in the program, and solves the problems of field test overrun and insufficient display precision. Within the maximum current range of 100A, it is displayed in segments according to different ranges. When the grounding current is less than 0.1A, the display accuracy level is 0.1mA; when the grounding current is between 0.1A and 1A, the display accuracy level is 0.001A; when When the ground current is 1A to 100A, the display accuracy level is 0.01A.

Claims (3)

1. two mutual inductor on-Line Monitor Device of an apparatus for fixing transformer ground current, comprise oil tank of transformer (1), in oil tank of transformer (1), be provided with transformer core (2), be respectively arranged with transformer upper clamping piece (3) and transformer lower clamping piece (5) at the two ends of transformer core (2), it is characterized in that, on transformer upper clamping piece (3), be respectively arranged with coupling bolt (21) on folder grounding connection sheet (4) and arm-tie, on transformer lower clamping piece (5), be provided with coupling bolt under arm-tie (20), under coupling bolt on arm-tie (21) and arm-tie, between coupling bolt (20), be provided with arm-tie (9), casing outside at oil tank of transformer (1) is fixedly installed folder ground outlet supporting insulator (13), one end of folder ground outlet (8) links together by extension line sleeve pipe (7) and folder grounding connection sheet (4), the other end of folder ground outlet (8) and earth terminal (6) link together, on folder ground outlet supporting insulator (13), be provided with wooden supporting plate (12), on wooden supporting plate (12), be fixedly installed respectively the first current transformer (10) and the second current transformer (11), folder ground outlet (8) is arranged in the coil of the first current transformer (10), the two ends of the secondary coil of the first current transformer (10) are connected with two input interfaces of AD conversion interface circuit (14) respectively, the two ends of the secondary coil of the second current transformer (11) are connected with another two input interfaces of AD conversion interface circuit (14) respectively, the output terminal of AD conversion interface circuit (14) is connected with single-chip microcomputer (16).
2. two mutual inductor on-Line Monitor Device of a kind of apparatus for fixing transformer ground current according to claim 1, it is characterized in that, on the upper face of wooden supporting plate (12), be respectively arranged with the first current transformer groove (22) and the second current transformer installation groove (23) are installed, install between groove (22) and the second current transformer installation groove (23) and be provided with wooden press strip rotating support shaft (24) at the first current transformer, on the wooden press strip back shaft of rotation (24), be movably set with the wooden press strip of rotation (25), on the upper face of wooden supporting plate (12), be provided with folder ground outlet mounting groove (26).
3. two mutual inductor on-Line Monitor Device of a kind of apparatus for fixing transformer ground current according to claim 1 and 2, it is characterized in that, on single-chip microcomputer (16), be connected with respectively LCD Current Display (15), multipoint earthing of clamping piece fault current record cell (17), multipoint earthing of clamping piece alarm (19) and background monitoring computer (18).
CN201320685297.0U 2013-11-02 2013-11-02 Double-transformer on-line monitoring device of transformer clamping piece grounding current Expired - Lifetime CN203630207U (en)

Priority Applications (1)

Application Number Priority Date Filing Date Title
CN201320685297.0U CN203630207U (en) 2013-11-02 2013-11-02 Double-transformer on-line monitoring device of transformer clamping piece grounding current

Applications Claiming Priority (1)

Application Number Priority Date Filing Date Title
CN201320685297.0U CN203630207U (en) 2013-11-02 2013-11-02 Double-transformer on-line monitoring device of transformer clamping piece grounding current

Publications (1)

Publication Number Publication Date
CN203630207U true CN203630207U (en) 2014-06-04

Family

ID=50816669

Family Applications (1)

Application Number Title Priority Date Filing Date
CN201320685297.0U Expired - Lifetime CN203630207U (en) 2013-11-02 2013-11-02 Double-transformer on-line monitoring device of transformer clamping piece grounding current

Country Status (1)

Country Link
CN (1) CN203630207U (en)

Cited By (2)

* Cited by examiner, † Cited by third party
Publication number Priority date Publication date Assignee Title
CN103558449A (en) * 2013-11-02 2014-02-05 国家电网公司 On-line monitoring device of double mutual inductors of grounding current of clamp of transformer
CN114660429A (en) * 2022-05-19 2022-06-24 保定天威保变电气股份有限公司 Device and method for testing insulation strength between transformer coil sections

Cited By (3)

* Cited by examiner, † Cited by third party
Publication number Priority date Publication date Assignee Title
CN103558449A (en) * 2013-11-02 2014-02-05 国家电网公司 On-line monitoring device of double mutual inductors of grounding current of clamp of transformer
CN103558449B (en) * 2013-11-02 2016-01-20 国家电网公司 Two mutual inductor on-Line Monitor Device of apparatus for fixing transformer ground current
CN114660429A (en) * 2022-05-19 2022-06-24 保定天威保变电气股份有限公司 Device and method for testing insulation strength between transformer coil sections

Similar Documents

Publication Publication Date Title
CN103728481B (en) Method and device for detecting metal oxide arrester resistive current
CN102928673A (en) Method for acquiring impulse grounding resistance
CN203164332U (en) Transformer DC magnetic bias characteristic testing apparatus
CN104914392A (en) Distribution network fault indicator intelligent tester
CN205248761U (en) Single core cable cross -bonding case
CN103558450B (en) Three mutual inductor on-Line Monitor Device of apparatus for fixing transformer ground current
CN203630207U (en) Double-transformer on-line monitoring device of transformer clamping piece grounding current
JP7461568B2 (en) Apparatus and method for evaluating the degree of deformation of transformer windings based on uninterruptible power failure detection
CN202471806U (en) On-line monitoring sensing device for transformer-core earth current
CN205429680U (en) Cable cross -bonding case
CN106199164B (en) A kind of measurement method of transformer iron core grounding current
CN206832975U (en) High voltage electric energy on-site calibration device
CN203630206U (en) Three-mutual-inductor online monitoring device for grounding current of transformer clamping piece
CN203759170U (en) Detecting device for winding insulation states of electromagnetic current transformer
CN103558449A (en) On-line monitoring device of double mutual inductors of grounding current of clamp of transformer
CN204964744U (en) On --spot calibration system of portable electric energy meter
CN204945352U (en) A kind of distribution network failure indicator intelligent tester
CN203825111U (en) Zinc oxide lightning arrester on-line monitoring device
CN203178474U (en) Intelligent electric-energy-meter fast transient pulse group test equipment
CN203216999U (en) Capacitive equipment dielectric loss live line measurement sampling device
CN207964994U (en) Grounding net of transformer substation health status detection device
CN105891613A (en) Method for measuring phase sequence of power transmission line by using power frequency parameter tester
CN206930699U (en) A kind of normalized current output device for Transformer Core Grounding electric current live detection
CN104360299A (en) On-site wireless inspection device and method for capacitive type device on-line monitoring system
CN103941098A (en) A large-scale substation grounding resistance measurement device and measurement method

Legal Events

Date Code Title Description
C14 Grant of patent or utility model
GR01 Patent grant
AV01 Patent right actively abandoned

Granted publication date: 20140604

Effective date of abandoning: 20160120

C25 Abandonment of patent right or utility model to avoid double patenting