CN203600539U - Flow division plate cushion block - Google Patents
Flow division plate cushion block Download PDFInfo
- Publication number
- CN203600539U CN203600539U CN201320604453.6U CN201320604453U CN203600539U CN 203600539 U CN203600539 U CN 203600539U CN 201320604453 U CN201320604453 U CN 201320604453U CN 203600539 U CN203600539 U CN 203600539U
- Authority
- CN
- China
- Prior art keywords
- cushion block
- plate cushion
- flow distribution
- division plate
- flow division
- Prior art date
- Legal status (The legal status is an assumption and is not a legal conclusion. Google has not performed a legal analysis and makes no representation as to the accuracy of the status listed.)
- Expired - Lifetime
Links
- 238000005452 bending Methods 0.000 abstract description 3
- 230000003292 diminished effect Effects 0.000 abstract 1
- 238000005516 engineering process Methods 0.000 description 4
- 238000010276 construction Methods 0.000 description 2
- 238000001125 extrusion Methods 0.000 description 1
- 238000002347 injection Methods 0.000 description 1
- 239000007924 injection Substances 0.000 description 1
- 238000001746 injection moulding Methods 0.000 description 1
- 230000004048 modification Effects 0.000 description 1
- 238000012986 modification Methods 0.000 description 1
- 238000007789 sealing Methods 0.000 description 1
Images
Landscapes
- Actuator (AREA)
Abstract
The utility model discloses a flow division plate cushion block which comprises a column body, wherein a cavity is formed in the column body to form a hollow structure; a supporting baffle is arranged on the middle part of the cavity; and a thread hole is formed in the supporting baffle, and the supporting baffle is used for fixing the flow division plate cushion block on a flow division plate or an upper cover plate. The baffle serving as a supporting structure is arranged on the middle part of the flow division plate cushion block, so that the bending torque is diminished when two ends of the flow division plate cushion block are applied with high pressure; and therefore, the overall structural intensity is high, and the flow division plate cushion block is difficult to crack and deform.
Description
Technical field
The utility model relates to injection molding technology field, relates in particular to a kind of flow distribution plate cushion block.
Background technology
In injection mold, for the heat that prevents flow distribution plate is siphoned away by upper cover plate, usually between flow distribution plate and upper cover plate, be encased inside flow distribution plate cushion block, make both not directly contacts.Existing flow distribution plate cushion block is designed to the column structure of hollow, its one end sealing or semiclosed, and other end opening, pillar two ends contact respectively flow distribution plate and upper cover plate.Such structure under the long-time extrusion of weight, the easy craze and transfiguration of openend.
Summary of the invention
The technical problems to be solved in the utility model is that how to solve existing flow distribution plate cushion block structure intensity not high, easily the problem of craze and transfiguration.
For solving the problems of the technologies described above, the utility model provides a kind of needle fixed head, comprise: cylinder, described column body is provided with cavity, to form the structure of hollow, described cavity middle part is provided with supporting clapboard, and described supporting clapboard is provided with screwed hole, for described flow distribution plate cushion block and flow distribution plate or upper cover plate are fixed.
Preferably, described pole section is annular.
Preferably, described supporting clapboard thickness is 10 to 15mm.
This flow distribution plate cushion block has been provided with the dividing plate of supporting construction at middle part, the bending moment while making flow distribution plate cushion block two ends receive weight diminishes, thereby the structural strength of entirety is larger, is not easy craze and transfiguration.
Accompanying drawing explanation
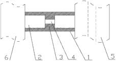
Fig. 1 is the structural representation of flow distribution plate cushion block of the present utility model.
Fig. 2 is the side view of the flow distribution plate cushion block in Fig. 1.
The specific embodiment
Below in conjunction with drawings and Examples, the specific embodiment of the present utility model is described in further detail.Following examples are used for illustrating the utility model, but are not used for limiting scope of the present utility model.
Flow distribution plate cushion block as shown in Figure 1 to Figure 2, comprising: cylinder 1, its cross section is annular.Cylinder 1 inside is provided with cavity 2, and to form the structure of hollow, cavity 2 middle parts are provided with supporting clapboard 3, and supporting clapboard 3 thickness are 10 to 15mm.Supporting clapboard 3 is provided with screwed hole 4, for flow distribution plate cushion block and flow distribution plate 5 or upper cover plate 6 are bolted.
This flow distribution plate cushion block has been provided with the dividing plate of supporting construction at middle part, the bending moment while making needle fixed head two ends receive weight diminishes, thereby the structural strength of entirety is larger, is not easy craze and transfiguration.
Above embodiment is only for illustrating the utility model; and be not limitation of the utility model; the those of ordinary skill in relevant technologies field; in the situation that not departing from spirit and scope of the present utility model; can also make a variety of changes and modification; therefore all technical schemes that are equal to also belong to category of the present utility model, and scope of patent protection of the present utility model should be defined by the claims.
Claims (3)
1. a flow distribution plate cushion block, is characterized in that, comprising: cylinder, described column body is provided with cavity, and to form the structure of hollow, described cavity middle part is provided with supporting clapboard, described supporting clapboard is provided with screwed hole, for described flow distribution plate cushion block and flow distribution plate or upper cover plate are fixed.
2. flow distribution plate cushion block as claimed in claim 1, is characterized in that, described pole section is annular.
3. flow distribution plate cushion block as claimed in claim 1, is characterized in that, described supporting clapboard thickness is 10 to 15mm.
Priority Applications (1)
| Application Number | Priority Date | Filing Date | Title |
|---|---|---|---|
| CN201320604453.6U CN203600539U (en) | 2013-09-27 | 2013-09-27 | Flow division plate cushion block |
Applications Claiming Priority (1)
| Application Number | Priority Date | Filing Date | Title |
|---|---|---|---|
| CN201320604453.6U CN203600539U (en) | 2013-09-27 | 2013-09-27 | Flow division plate cushion block |
Publications (1)
| Publication Number | Publication Date |
|---|---|
| CN203600539U true CN203600539U (en) | 2014-05-21 |
Family
ID=50713237
Family Applications (1)
| Application Number | Title | Priority Date | Filing Date |
|---|---|---|---|
| CN201320604453.6U Expired - Lifetime CN203600539U (en) | 2013-09-27 | 2013-09-27 | Flow division plate cushion block |
Country Status (1)
| Country | Link |
|---|---|
| CN (1) | CN203600539U (en) |
Cited By (2)
| Publication number | Priority date | Publication date | Assignee | Title |
|---|---|---|---|---|
| CN103496100A (en) * | 2013-09-27 | 2014-01-08 | 苏州好特斯模具有限公司 | Cushion block of splitter plate |
| CN104482356A (en) * | 2014-12-24 | 2015-04-01 | 苏州景联精密机械有限公司 | Heat insulation pad block |
-
2013
- 2013-09-27 CN CN201320604453.6U patent/CN203600539U/en not_active Expired - Lifetime
Cited By (2)
| Publication number | Priority date | Publication date | Assignee | Title |
|---|---|---|---|---|
| CN103496100A (en) * | 2013-09-27 | 2014-01-08 | 苏州好特斯模具有限公司 | Cushion block of splitter plate |
| CN104482356A (en) * | 2014-12-24 | 2015-04-01 | 苏州景联精密机械有限公司 | Heat insulation pad block |
Similar Documents
| Publication | Publication Date | Title |
|---|---|---|
| CN203061723U (en) | Die guide post | |
| CN203600539U (en) | Flow division plate cushion block | |
| CN103496100A (en) | Cushion block of splitter plate | |
| CN203160460U (en) | Shower room glass fixing base provided with protective gaskets | |
| CN102847910A (en) | Cylindrical-tooth mould | |
| CN203160459U (en) | Shower room glass fixing clamp provided with protective gaskets | |
| CN202921895U (en) | Center pull-back device for replacing die-casting mould fast | |
| CN202418107U (en) | Locking device of oil cylinder | |
| CN202180200U (en) | Stopper | |
| CN203189443U (en) | Three-way mounting body | |
| CN202684028U (en) | Column tooth mould | |
| CN203902658U (en) | Integrated forging formed spherical shell | |
| CN202828452U (en) | a rubber stopper | |
| CN202500337U (en) | Three-section type screw | |
| CN202810366U (en) | Lock body | |
| CN204200764U (en) | Relay guide ring | |
| CN202877485U (en) | Protective cover die for automotive engine | |
| CN202070741U (en) | Integral material cylinder structure | |
| CN202812365U (en) | Valve body of spray regulating and control valve | |
| CN202875346U (en) | Blood sampling needle | |
| CN201866374U (en) | Valve cap for valve body | |
| CN203347455U (en) | Anti-vibration sliding door waistline upglide structure | |
| CN202867535U (en) | Connecting rod of filling machine | |
| CN202824413U (en) | Novel stamping die | |
| CN202507442U (en) | Mould with X-shaped mould cavity |
Legal Events
| Date | Code | Title | Description |
|---|---|---|---|
| C14 | Grant of patent or utility model | ||
| GR01 | Patent grant | ||
| CX01 | Expiry of patent term | ||
| CX01 | Expiry of patent term |
Granted publication date: 20140521 |