CN203595638U - 高温持久试验机 - Google Patents

高温持久试验机 Download PDF

Info

Publication number
CN203595638U
CN203595638U CN201320796494.XU CN201320796494U CN203595638U CN 203595638 U CN203595638 U CN 203595638U CN 201320796494 U CN201320796494 U CN 201320796494U CN 203595638 U CN203595638 U CN 203595638U
Authority
CN
China
Prior art keywords
connecting rod
constant temperature
force transferring
temperature oven
stress
Prior art date
Legal status (The legal status is an assumption and is not a legal conclusion. Google has not performed a legal analysis and makes no representation as to the accuracy of the status listed.)
Expired - Lifetime
Application number
CN201320796494.XU
Other languages
English (en)
Inventor
李大印
赵迪
高义涛
胡斌
曹芬
李韦
赵超
韩鲁豪
Current Assignee (The listed assignees may be inaccurate. Google has not performed a legal analysis and makes no representation or warranty as to the accuracy of the list.)
SHANDONG YUXI INSTRUMENT Co Ltd
Original Assignee
SHANDONG YUXI INSTRUMENT Co Ltd
Priority date (The priority date is an assumption and is not a legal conclusion. Google has not performed a legal analysis and makes no representation as to the accuracy of the date listed.)
Filing date
Publication date
Application filed by SHANDONG YUXI INSTRUMENT Co Ltd filed Critical SHANDONG YUXI INSTRUMENT Co Ltd
Priority to CN201320796494.XU priority Critical patent/CN203595638U/zh
Application granted granted Critical
Publication of CN203595638U publication Critical patent/CN203595638U/zh
Anticipated expiration legal-status Critical
Expired - Lifetime legal-status Critical Current

Links

Images

Landscapes

  • Investigating Strength Of Materials By Application Of Mechanical Stress (AREA)

Abstract

一种高温持久试验机,包括为试验提供规定温度环境的恒温箱,传力杠杆,传力杠杆的外端用于悬挂砝码,传力杠杆的内端连接上拉杆,上拉杆吊入所述恒温箱内用于悬吊串联在一起的一组试样;其特征是:所述传力杠杆上设有用于调整杠杆水平平衡的平衡调节装置。它解决现有技术存在的问题,在减轻整机重量、增加检测试样数量的同时,又能保证检测的准确性。

Description

高温持久试验机
技术领域
本实用新型涉及一种材料力学测试用设备,尤其是一种铝合金隔热型材横向抗拉试验用设备。 
背景技术
GB/T28289-2012国标中对建筑铝合金隔热型材检测标准的规定,要求通过对铝合金隔热型材试样在一定温度下施加横向载荷,保持1000小时后,检测隔热材料是否符合国家标准的要求。
但标准中所示出的检测用试验设备,采用原始力学检测方法,砝码重量过重,增加了整机的重量;此外,每组试样对应着一定重量的砝码,而整机承受砝码重量有限,不可能承受太重的砝码,因此使得检测试样数量收到限制。每次最多检验40个试样。
专利号ZL200920277951.8公开了一种铝合金隔热型材横向抗拉试验机,其采用传力杠杆的方式,减轻了每组试样所对应的砝码的重量,从而减轻了整机重量,而且也增多了检测样品质量。但其检测准确性不如国标中公开的设备高。
如何既能减轻整机重量、增加检测试样数量,又能保证检测准确性,成为了一个技术难题。 
实用新型内容
为了克服上述现有技术存在的缺点,本实用新型的目的在于提供一种高温持久试验机,它在减轻整机重量、增加检测试样数量的同时,又能保证检测的准确性。
本实用新型提供的高温持久试验机,包括为试验提供规定温度环境的恒温箱,传力杠杆,传力杠杆的外端用于悬挂砝码,传力杠杆的内端连接上拉杆,上拉杆吊入所述恒温箱内用于悬吊串联在一起的一组试样;其特别之处是:所述传力杠杆上设有用于调整杠杆水平平衡的平衡调节装置。
进一步的:所述平衡调节装置包括加载螺栓和平衡调节手轮;所述平衡调节手轮螺纹配合的装配在所述加载螺栓上,且平衡调节手轮位于所述传力杠杆的上方对传力杠杆施加压力;所述加载螺栓的底端与所述上拉杆的顶端通过吊环连接。
进一步的:所述传力杠杆的内端设置有一通孔,该通孔的内径大于所述加载螺栓的外径,加载螺栓穿过该通孔。
进一步的:还包括串联的一组试样底端与恒温箱连接用的下连接杆,下连接杆的底端设有挂钩,所述恒温箱内底部相对固定连接有一根固定连接杆,该固定连接杆的顶端设有与下连接杆的挂钩配合的倒钩,所述倒钩一一对应的位于所述上拉杆的正下方。
进一步的:还包括支撑所述恒温箱的支撑架,所述支撑架的底部设置有移动轮。
进一步的:所述的恒温箱上设有用于实时监测恒温箱内测试过程的观察窗。
本实用新型的有益效果是:它既能减轻整机重量、增加检测试样数量,又能保证检测准确性;此外,配有观察窗,便于测试过程中的实时监测;该试验机设有移动轮,整机移动灵活方便。
附图说明
下面结合附图和实施例对本实用新型做进一步的说明:
图1为本实用新型高温持久试验机实施例的结构及使用状态示意图;
图2为图1实施例中平衡调节装置的结构示意图;
图3为检测试验过程中试样长时间在高温环境中加载产生变形时,杠杆的状态,
图4为图1实施例中恒温箱内底部挂环与下拉杆连接的结构示意图;
图5为试样串联成一组的结构示意图; 
图6为图1实施例中多根杠杆的排列示意图(俯视);
图7为平衡调节装置另一种实施方式的结构示意图;
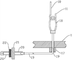
图中:1恒温箱,2传力杠杆,3砝码,4上拉杆,5试样,6支点支架,7加载螺栓,8平衡调节手轮,9吊环,10下连接杆,11挂钩,12固定连接杆,121倒钩,13支撑架,14移动轮,15横梁,16观察窗,17下横梁,18挂环,19钢丝绳,20水平调节螺栓,21侧横梁,22手轮。
具体实施方式
如图1所示,高温持久试验机包括为试验提供规定温度环境的恒温箱1,传力杠杆2,传力杠杆2的外端用于悬挂砝码3,传力杠杆2的内端连接上拉杆4,上拉杆4吊入恒温箱1内用于悬吊串联在一起的一组试样5(如图5所示);公知的还具有传力杠杆的支点支架6等,所述支点支架6与恒温箱1相对固定连接。
该高温持久试验机的特别之处是:所述传力杠杆2上设有用于调整杠杆水平平衡的平衡调节装置。
基于上述高温持久试验机实现提高试验准确性的方法是:当试样长时间在高温环境中加载产生变形时,传力杠杆2发生倾斜,通过所述的平衡调节装置,调节传力杠杆重新达到水平。避免上拉杆与恒温箱的孔侧壁发生接触而影响受力状态;也避免砝码与支撑架或恒温箱发生接触而影响受力状态;从而保证试验力的准确。
该实施例采用的优选的平衡调节装置:包括加载螺栓7和平衡调节手轮8;所述平衡调节手轮8螺纹配合的装配在加载螺栓7上,且平衡调节手轮8位于传力杠杆2的上方对传力杠杆2施加压力;加载螺栓7的底端与上拉杆4的顶端通过吊环9连接,从而保证试样保持垂直状态,以保证试验力的准确。该吊环9与加载螺栓7之间采用的是销轴铰接,保证试样保持垂直状态。
基于该上述试验机实现的提高试验准确性的方法是:当试样长时间在高温环境中加载,产生变形时,传力杠杆2内端上移,传力杠杆2外端下移,传力杠杆2发生倾斜,如图3所示;此时,转动平衡调节手轮8,平衡调节手轮8沿加载螺栓7向下运动,平衡调节手轮对传力杠杆2内端施加压力,使传力杠杆2重新达到水平,保证试验力的准确。
该高温持久试验机中,进一步的改进:所述传力杠杆2的内端设置有一通孔21,该通孔21的内径大于所述加载螺栓7的外径,加载螺栓7穿过该通孔2。
试验机的平衡调节装置本身的结构可以有多种方式实现,而且平衡调节装置的设置位置也可以是多种位置,并不仅仅局限于在传力杠杆的内端。
采用上述结构形式的平衡调节装置结构,可以使得设备结构简单紧凑,容易生产制作,而且杠杆倾斜时微调平平衡调节手轮操作简便;此外,该种方式使得设备检测精度更高和效率更高,因此优选该方式。只要是能达到对倾斜杠杆调整到水平位置的目的,无论作出什么样的结构上的变形,都属于上述方式的等同替换。
进一步的,该试验机还包括串联的一组试样底端与恒温箱连接用的下连接杆10,如图5所示,下连接杆10的底端设有挂钩11,所述恒温箱1内底部相对固定设有一根固定连接杆12,该固定连接杆12的顶端设有与下连接杆10的挂钩11配合的倒钩121,如图4所示,所述倒钩121一一对应的位于所述上拉杆4的正下方;这样可以进一步保证串联的试样保持垂直状态。该固定连接杆的底部穿过恒温箱后与一下横梁17螺纹连接。下横梁位于恒温箱下方并与恒温箱相对固定。该固定连接杆12与下横梁之间的连接方式,也可以作为平衡调节装置的一种实现方式,通过转动固定连接杆12的方式,使固定连接杆12升降,也可以实现平衡调节作用,只是生产及操作都不方便,因此一般只作为下连接杆10的连接部件。
此外,如图7所示,平衡调节装置的另一种实施方式:上述实施例中的固定连接杆12由钢丝绳19代替,倒钩121由钢丝绳端部形成的挂环18代替;该钢丝绳穿过恒温箱、穿过下横梁后水平延伸穿过侧横梁21后在端部连接水平调节螺栓20,该水平调节螺栓20与手轮22螺纹配合;转动手轮22使得水平调节螺栓20水平移动,从而拉动钢丝绳19移动,钢丝绳另一端的挂环18拉动试样,最终使得传力杠杆2实现水平平衡。其中侧横梁21是构成支撑架13的一部分。
进一步的:还包括支撑所述恒温箱1的支撑架13,所述支撑架13的底部设置有移动轮14。该实施例中,下横梁17是构成支撑架13的一部分。
该实施例中,支点支架6固设在横梁15上,横梁15为构成所述支撑架13的一部分,位于支撑架13的顶部,如图2所示。支点支架6可以直接与恒温箱1固定连接,也可以通过类似支撑架这种方式间接相对固定连接,不局限于本实施例中的设置方式。
进一步的:所述的恒温箱1上设有用于实时监测恒温箱1内测试过程的观察窗16。
该试验机的传力杠杆设有两列,每一列平行设置多根杠杆,如图6所示,根据需要及恒温箱的承载能力而定。

Claims (6)

1.高温持久试验机,包括为试验提供规定温度环境的恒温箱,传力杠杆,传力杠杆的外端用于悬挂砝码,传力杠杆的内端连接上拉杆,上拉杆吊入所述恒温箱内用于悬吊串联在一起的一组试样;其特征是:所述传力杠杆上设有用于调整杠杆水平平衡的平衡调节装置。
2.根据权利要求1所述的高温持久试验机,其特征是:所述平衡调节装置包括加载螺栓和平衡调节手轮;所述平衡调节手轮螺纹配合的装配在所述加载螺栓上,且平衡调节手轮位于所述传力杠杆的上方对传力杠杆施加压力;所述加载螺栓的底端与所述上拉杆的顶端通过吊环连接。
3.根据权利要求2所述的高温持久试验机,其特征是:所述传力杠杆的内端设置有一通孔,加载螺栓穿过该通孔。
4.根据权利要求1或2或3所述的高温持久试验机,其特征是:还包括串联的一组试样底端与恒温箱连接用的下连接杆,下连接杆的底端设有挂钩,所述恒温箱内底部相对固定设有一根固定连接杆,该固定连接杆的顶端设有与下连接杆的挂钩配合的倒钩,所述倒钩一一对应的位于所述上拉杆的正下方。
5.根据权利要求1或2或3所述的高温持久试验机,其特征是:还包括支撑所述恒温箱的支撑架,所述支撑架的底部设置有移动轮。
6.根据权利要求1或2或3所述的高温持久试验机,其特征是:所述的恒温箱上设有用于实时监测恒温箱内测试过程的观察窗。
CN201320796494.XU 2013-12-06 2013-12-06 高温持久试验机 Expired - Lifetime CN203595638U (zh)

Priority Applications (1)

Application Number Priority Date Filing Date Title
CN201320796494.XU CN203595638U (zh) 2013-12-06 2013-12-06 高温持久试验机

Applications Claiming Priority (1)

Application Number Priority Date Filing Date Title
CN201320796494.XU CN203595638U (zh) 2013-12-06 2013-12-06 高温持久试验机

Publications (1)

Publication Number Publication Date
CN203595638U true CN203595638U (zh) 2014-05-14

Family

ID=50676508

Family Applications (1)

Application Number Title Priority Date Filing Date
CN201320796494.XU Expired - Lifetime CN203595638U (zh) 2013-12-06 2013-12-06 高温持久试验机

Country Status (1)

Country Link
CN (1) CN203595638U (zh)

Cited By (3)

* Cited by examiner, † Cited by third party
Publication number Priority date Publication date Assignee Title
CN103616297A (zh) * 2013-12-06 2014-03-05 山东玉玺仪器有限公司 高温持久试验机及提高试验准确性的方法
CN104458436A (zh) * 2014-12-24 2015-03-25 太原理工大学 锚固材料高温拉拔实验装置及其实验方法
CN110608955A (zh) * 2019-10-22 2019-12-24 中国工程物理研究院化工材料研究所 一种针对圆柱状试样的串联压缩加载装置

Cited By (4)

* Cited by examiner, † Cited by third party
Publication number Priority date Publication date Assignee Title
CN103616297A (zh) * 2013-12-06 2014-03-05 山东玉玺仪器有限公司 高温持久试验机及提高试验准确性的方法
CN104458436A (zh) * 2014-12-24 2015-03-25 太原理工大学 锚固材料高温拉拔实验装置及其实验方法
CN110608955A (zh) * 2019-10-22 2019-12-24 中国工程物理研究院化工材料研究所 一种针对圆柱状试样的串联压缩加载装置
CN110608955B (zh) * 2019-10-22 2024-06-11 中国工程物理研究院化工材料研究所 一种针对圆柱状试样的串联压缩加载装置

Similar Documents

Publication Publication Date Title
CN105856205A (zh) 一种并联柔索悬吊模拟系统及其方法
CN103616297A (zh) 高温持久试验机及提高试验准确性的方法
CN203595638U (zh) 高温持久试验机
CN109163982A (zh) 一种热环境双向加载试验设备和试验方法
CN107843502A (zh) 一种基于多场耦合的动力扰动岩石蠕变试验机及试验方法
CN207964442U (zh) 杠杆式长期荷载试验加载架
CN103267698A (zh) 连接金具摆动磨损试验机
CN201569611U (zh) 铝合金隔热型材横向抗拉试验机
CN87211269U (zh) 钢丝绳张紧力检测装置
CN204286971U (zh) 一种混凝土试样在应力作用下腐蚀试验的加载装置
CN204101379U (zh) 材料拉伸蠕变试验装置
CN110031394A (zh) 一种落锤式冲滑复合摩擦试验机
CN203275225U (zh) 连接金具摆动磨损试验机
CN212621833U (zh) 一种复合横担结构试验装置
CN110389078A (zh) 一种纤维绳索拉拉疲劳试验仪及其测试方法
CN201569614U (zh) 铝合金隔热型材纵向剪切试验机
CN116223236A (zh) 一种建筑用遮阳篷抗风性能测试设备
CN204903153U (zh) 承载力测试装置
CN102661831A (zh) 换向装置、减震器示功机拉向力值校准装置及校准方法
CN202403986U (zh) 一种超高分子量聚乙烯定伸应力测试装置
CN109238833A (zh) 横卧型机械式蠕变试验装置系统及使用方法
CN217277424U (zh) 一种大型风轮叶片静力试验多方位侧拉试验装置
CN109781558B (zh) 一种程控式机械应力试验装置
CN209387238U (zh) 一种用于塑料桶的跌落试验装置
RU89227U1 (ru) Стенд для исследования стержней на устойчивость при сжатии с кручением

Legal Events

Date Code Title Description
C14 Grant of patent or utility model
GR01 Patent grant
CX01 Expiry of patent term

Granted publication date: 20140514

CX01 Expiry of patent term